патент
№ RU 2646946
МПК H01Q7/00

ИЗЛУЧАЮЩАЯ АНТЕННА

Авторы:
Шабанов Роберт Иванович
Номер заявки
2017103722
Дата подачи заявки
06.02.2017
Опубликовано
12.03.2018
Страна
RU
Как управлять
интеллектуальной собственностью
Чертежи 
4
Реферат

Изобретение относится к области радиотехники, а именно к рамочным антеннам, используемым в качестве источника магнитного поля. Излучающая антенна содержит две идентичные рамки, каждая из которых представляет собой металлическую трубку, имеющую поперечный разрез, делящий трубку на две изолированные друг от друга равные части, внутри которой расположен проводник, и электрически связанное с рамками согласующее устройство. Согласующее устройство имеет металлический корпус, на котором закреплены указанные металлические трубки, с расположенным внутри его цилиндрическим резистором, ось симметрии которого совпадает с осью симметрии корпуса, а к каждому из торцов присоединена сборка параллельно соединенных и радиально расположенных чип-конденсаторов. При этом резистор, указанные сборки и рамки антенны электрически соединены между собой с образованием моста, в диагональ которого включен резистор, в одну пару плеч включены указанные сборки чип-конденсаторов, а в другую - проводники рамок антенны. Технический результат заключается в расширении диапазона рабочих частот излучающей антенны. 3 н.п. ф-лы, 4 ил.

Формула изобретения

1. Излучающая антенна, содержащая рамку, представляющую собой металлическую трубку, имеющую поперечный разрез, делящий трубку на две изолированные друг от друга равные части, внутри которой расположен проводник, и электрически связанное с рамкой согласующее устройство, отличающаяся тем, что она снабжена дополнительной рамкой, идентичной первой, электрически связанной с согласующим устройством, имеющим металлический корпус, на котором закреплены металлические трубки, с расположенным внутри него цилиндрическим резистором, ось симметрии которого совпадает с осью симметрии корпуса, а к каждому из торцов присоединена сборка параллельно соединенных и радиально расположенных чип-конденсаторов, при этом резистор, упомянутые сборки чип-конденсаторов и проводники рамок антенны электрически соединены между собой с образованием моста, в диагональ которого включен резистор, в одну пару плеч - упомянутые сборки чип-конденсаторов, а в другую - проводники рамок антенны.

2. Антенна по п. 1, отличающаяся тем, что корпус согласующего устройства снабжен торцевыми крышками.

3. Антенна по п. 2, отличающаяся тем, что содержит прижимной винт, соединенный с одной из торцевых крышек, обеспечивающий механический и электрический контакт резистора и сборок параллельно соединенных чип-конденсаторов.

4. Антенна по п. 1, отличающаяся тем, что рамки расположены под углом 120°.

Описание

[1]

Изобретение относится к области радиотехники, а именно к рамочным антеннам, используемым в качестве источника магнитного поля.

[2]

Известна излучающая антенна, содержащая рамку, представляющую собой металлическую трубку, имеющую поперечный разрез, делящий трубку на две изолированные друг от друга равные части, внутри которой расположен проводник, и электрически связанное с рамкой согласующее устройство, включающее в себя отрезки коаксиальных линий (см. US 4083006, Н04В 1/04, 04.04.1978).

[3]

Недостаток известной антенны состоит в том, что, вследствие наличия в согласующем устройстве отрезков коаксиальных линий, волновое сопротивление которых равно активному сопротивлению нагрузки, входное сопротивление антенны зависит от частоты входного сигнала. В результате согласование линии передачи сигнала с излучающей антенной в широком диапазоне частот (в частности, от 10 кГц до 30 МГц) невозможно, что делает невозможным эффективную работу излучающей антенны в данных условиях.

[4]

Известная излучающая антенна принята в качестве ближайшего аналога заявленной антенны.

[5]

Технической проблемой, решаемой настоящим изобретением, является создание излучающей антенны, лишенной указанных недостатков.

[6]

В результате достигается технический результат, заключающийся в расширении диапазона рабочих частот излучающей антенны.

[7]

Указанный технический результат достигается созданием излучающей антенны, содержащей две идентичные рамки, каждая из которых представляет собой металлическую трубку, имеющую поперечный разрез, делящий трубку на две изолированные друг от друга равные части, внутри которой расположен проводник, и электрически связанное с рамками согласующее устройство. Согласующее устройство имеет металлический корпус, на котором закреплены металлические трубки, с расположенным внутри его цилиндрическим резистором, ось симметрии которого совпадает с осью симметрии корпуса, а к каждому из торцов присоединена сборка параллельно соединенных и радиально расположенных чип-конденсаторов, при этом резистор, упомянутые сборки чип-конденсаторов и рамки антенны электрически соединены между собой с образованием моста, в диагональ которого включен резистор, в одну пару плеч - упомянутые сборки чип-конденсаторов, а в другую - проводники рамок антенны.

[8]

Согласно частному варианту выполнения, корпус согласующего устройства снабжен торцевыми крышками, что дополнительно позволяет обеспечить удобство установки, извлечения и пайки конструктивных элементов согласующего устройства.

[9]

Согласно другому частному варианту выполнения, одна из торцевых крышек содержит прижимной винт, обеспечивающий механический и электрический контакт резистора и сборок параллельно соединенных чип-конденсаторов.

[10]

Согласно еще одному частному варианту выполнения, рамки расположены под углом 120°, что дополнительно повышает интенсивность поля, создаваемого антенной.

[11]

На фиг. 1 представлено схематичное изображение антенны.

[12]

На фиг. 2 представлено схематичное изображение согласующего устройства.

[13]

На фиг. 3 представлена электрическая схема согласующего устройства.

[14]

На фиг. 4 представлено схематичное изображение антенны в рабочем состоянии.

[15]

Излучающая антенна, представленная на фиг. 1, содержит две идентичные рамки 1 и 2 и согласующее устройство 3.

[16]

Каждая из рамок 1 и 2 представляет собой металлическую трубку (выполняющую функцию электрического экрана), внутри которой расположен проводник 4а и 4b, отделенный от металлической трубки диэлектриком. Металлическая трубка каждой из рамок 1 и 2 имеет поперечный разрез, делящий трубку на две изолированные друг от друга равные части. Образовавшиеся в результате разрезов зазоры 5а и 5b обеспечивают компенсацию электрической составляющей поля каждой из рамок 1 и 2 и не влияют на магнитную составляющую поля. В качестве проводника с диэлектриком может быть, например, использован радиочастотный кабель РК 50-9-11, с которого снята оболочка и экранная оплетка.

[17]

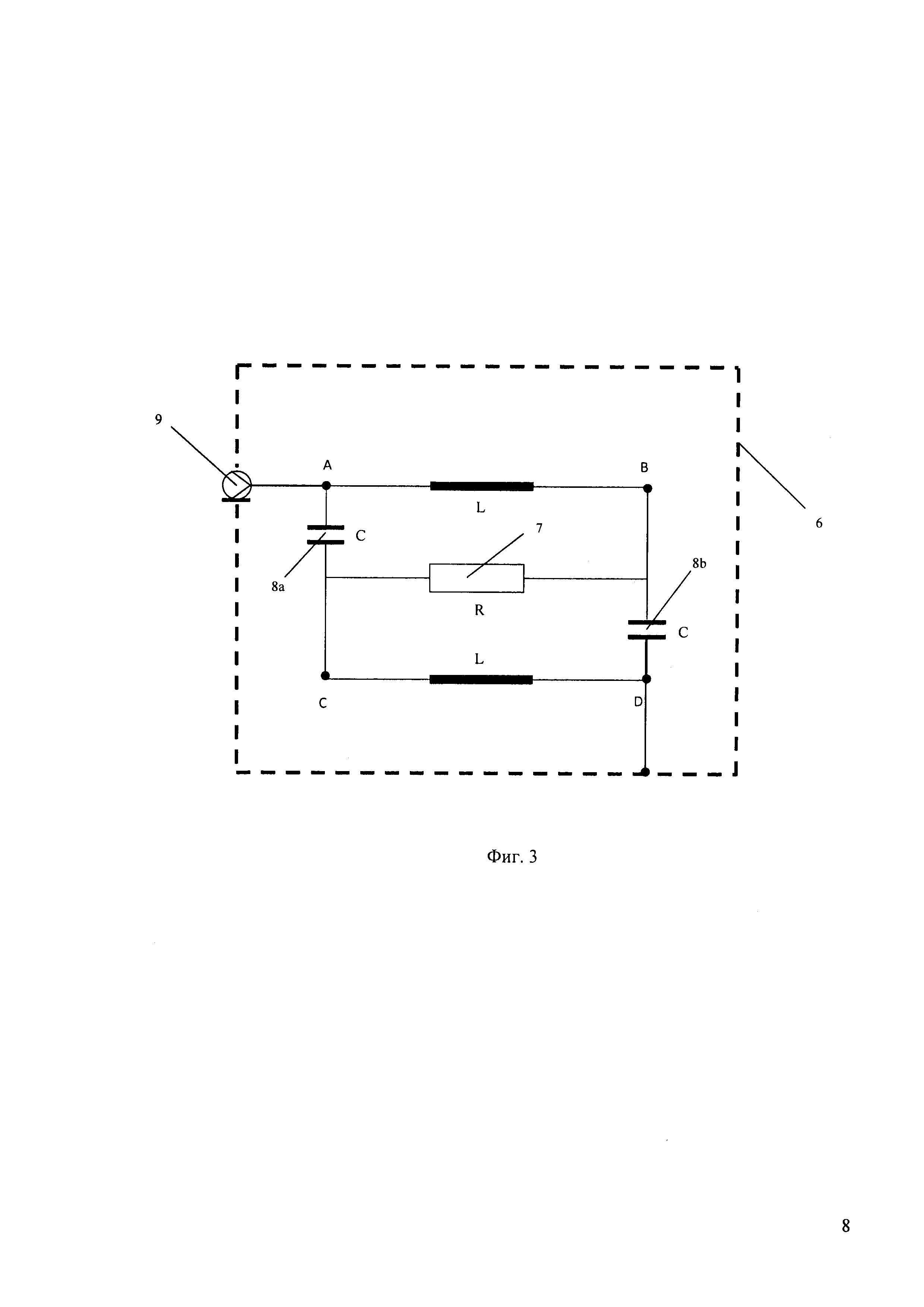
Согласующее устройство 3, представленное на фиг. 2, содержит корпус 6, на котором закреплены упомянутые металлические трубки (концами А, В, С, D, вставленными в соответствующие сквозные отверстия в боковой стенке корпуса 6). Внутри корпуса 6 расположен цилиндрический резистор 7, ось симметрии которого совпадает с осью симметрии корпуса 6. К каждому из торцов резистора 7 присоединена сборка 8а (или 8b) параллельно соединенных и радиально расположенных чип-конденсаторов.

[18]

Резистор 7, сборки чип-конденсаторов 8а и 8b и проводники 4а и 4b рамок 1 и 2 антенны, как показано на фиг.3, соединены между собой с образованием моста. В диагональ моста включен резистор 7, в одну пару плеч включены сборки чип-конденсаторов 8а и 8b, а в другую - проводники 4а и 4b рамок 1 и 2 антенны.

[19]

В корпусе 6 согласующего устройства 3 имеется радиочастотный разъем 9, через который подают сигнал на вход антенны.

[20]

В частном варианте выполнения, представленном на фиг. 2, корпус 6 согласующего устройства 3 снабжен торцевыми крышками 10а и 10b. С одной из торцевых крышек (в частности, 10b) соединен прижимной винт 11, обеспечивающий механический и электрический контакт резистора 7 и сборок параллельно соединенных чип-конденсаторов 8а и 8b.

[21]

В частном варианте, представленном на фиг. 4, рамки 1 и 2 антенны расположены под углом 120°, что повышает суммарную напряженность магнитного поля на оси симметрии излучающей антенны Н в раза по сравнению с напряженностью поля Н0, создаваемого одной рамкой.

[22]

Параметры элементов согласующего устройства выбирают следующим образом. Сопротивление R резистора 7 выбирают таким образом, чтобы оно соответствовало сопротивлению источника сигнала. После изготовления рамок 1 и 2 антенны измеряют их индуктивность L и через соотношение рассчитывают значение емкостей С, которые необходимо включить в соответствующие плечи моста. С учетом того, что используются сборки 8а и 8b параллельно соединенных чип-конденсаторов, емкость каждого отдельного чип-конденсатора Сn может быть вычислена по формуле , где N - количество чип-конденсаторов в каждой сборке 8а и 8b.

[23]

Заявленная антенна может быть, например, использована в качестве излучающей антенны для создания магнитного поля при проведении испытаний технических средств на устойчивость к воздействию магнитного поля.

[24]

Для этого на радиочастотный разъем 9 согласующего устройства 3 подают сигнал заданной мощности и частоты от генератора сигналов, обеспечивающий заданный уровень магнитного поля в области размещения испытуемых технических средств.

[25]

Использование чип-конденсаторов, объединенных в сборки 8а и 8b, расположенных симметрично относительно резистора 7, а также двух идентичных рамок 1 и 2 антенны позволяет значительно снизить паразитную индуктивность общей распределенной емкости чип-конденсаторов. В результате предотвращается нарушение симметричности мостовой схемы согласующего устройства 3 на всем диапазоне частот и рассогласование между сопротивлением линии передачи сигнала и входным сопротивлением антенны, и, тем самым, обеспечивается широкая полоса рабочих частот антенны.

Как компенсировать расходы
на инновационную разработку
Похожие патенты