патент
№ RU 2098310
МПК B62M27/00

ДВИЖИТЕЛЬ

Авторы:
Каримов А.Х. Швилкин В.А. Чилингаров А.Р.
Все (4)
Номер заявки
96119700/11
Дата подачи заявки
30.09.1996
Опубликовано
10.12.1997
Страна
RU
Как управлять
интеллектуальной собственностью
Чертежи 
3
Реферат

[14]

Использование: изобретение относится к транспорту /самолеты, аэросани, аппарат на воздушной подушке и т.п./. Сущность изобретения: движитель содержит аэродинамическое кольцо, выполненное в виде торообразной оболочки, и размещенный в канале внутренней части оболочки воздушный винт, оболочка усилена кольцевыми шпангоутами, плоскости которых параллельны плоскости вращения винта, средний шпангоут, размещенный в плоскости вращения винта, выполнен герметичным и соединен герметично с внутренней и наружной частями оболочки, а два шпангоута, размещенные спереди и сзади от среднего шпангоута, также выполнены герметичными и соединены герметично с внутренней и наружной частями оболочки, образуя вместе с наружной частью оболочки и средним шпангоутом замковые полости сообщающиеся с каналом через перфорацию во внутреннюю часть оболочки. 4 ил.

Формула изобретения

Движитель, содержащий защитное аэродинамическое кольцо с обтекаемой внутренней поверхностью, и размещенный в канале, образованном внутренней поверхностью кольца, воздушный винт с плоскостью вращения, перпендикулярной оси кольца, отличающийся тем, что защитное аэродинамическое кольцо выполнено в виде полой торообразной оболочки с обтекаемым профилем, причем оболочка усилена кольцевыми шпангоутами, плоскости которых параллельны плоскости вращения винта, при этом средний шпангоут, размещенный в плоскости вращения винта, выполнен герметичным и соединен герметично с внутренней и наружной частями оболочки, а два шпангоута, размещенные спереди и сзади от среднего шпангоута, также выполнены герметичными и соединены герметично с внутренней и наружной частями оболочки, образуя вместе с наружной частью оболочки и средним шпангоутом замкнутые полости, сообщающиеся с каналом через перфорацию во внутренней части оболочки.

Описание

[1]

Изобретение относится к транспорту (самолеты, аэросани, аппараты на воздушной подушке и т. п.), использующего в качестве движителя винт, размещенный в защитном аэродинамическом кольце.

[2]

Известно устройство по патенту США N 358842, кл. B 62 H 7/00, 1968, представляющее собой движитель, содержащий защитное аэродинамическое кольцо с обтекаемой внутренней поверхностью и размещенный в канале, образованной внутренней поверхностью кольца, воздушный винт с плоскостью вращения, перпендикулярной оси кольца.

[3]

Недостатком такого конструктивного решения является высокий уровень высокочастотных вибраций и аэродинамического шума, создаваемых быстровращающимся винтом. Это приводит к вибрационному и акустическому дискомфорту в кабине аэросаней, а также высокому уровню шума на местности. Наибольший вклад в дискомфорт пассажиров и повреждаемость конструкции вносят гармонические составляющие вибраций и шума, кратные по частоте оборотам винта, в первую очередь первая "лопастная" гармоника (частота равна оборотам винта, умноженным на число лопастей).

[4]

Задачей изобретения является уменьшение уровня шума и высокочастотных вибраций, вызванных вращающимся воздушным винтом винтокольцевого движителя, в первую очередь уменьшение уровня "лопастных" гармоник.

[5]

Это решается тем, что в движителе, содержащем защитное аэродинамическое кольцо, выполненное в виде торообразной оболочки с обтекаемым профилем, и размещенный в канале, образованным внутренней частью оболочки, воздушный винт с плоскостью вращения, перпендикулярной оси кольца, причем оболочка усилена шпангоутами, лопасти которых параллельны плоскости вращения винта, средний шпангоут, размещенный в плоскости вращения винта, выполнен герметичным и соединен герметично с внутренней и наружной частями оболочки, а два шпангоута, размещенные спереди и сзади от среднего шпангоута, также выполнены герметичными и соединены герметично с внутренней и наружной частями оболочки, образуя вместе с наружной частью оболочки и средним шпангоутом замкнутые полости, сообщающиеся с каналом через перфорацию во внутренней части оболочки.

[6]

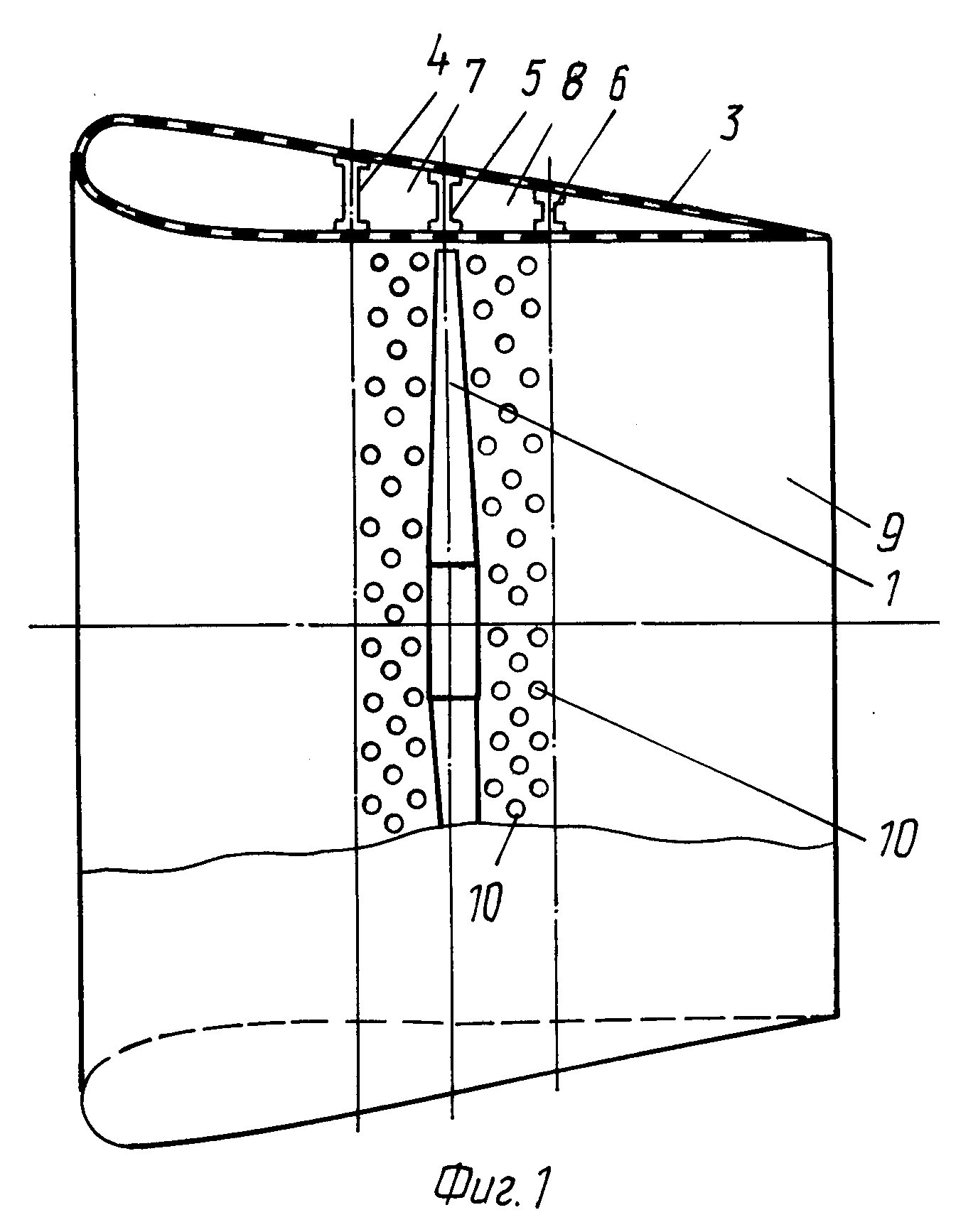
На фиг. 1 показан движитель в разрезе вид сбоку (двигатель условно не показан); на фиг. 2 вид спереди; на фиг. 3 вид на внутреннюю часть оболочки по стрелке А фиг.2; на фиг. 4 зависимости максимального динамического заброса давления вблизи передней и задней поверхности лопасти от радиуса сечения для прототипа и предлагаемой конструкции.

[7]

Движитель представляет собой воздушный винт 1, размещенный в защитном аэродинамическом кольце 2, выполненным в виде торообразной оболочки 3 с обтекаемым профилем, усиленной кольцевыми шпангоутами 4-6. Средний шпангоут 5 установлен в плоскости вращения винта, выполнен герметичным и соединен герметично с внутренней и наружной частями оболочки 3. Шпангоуты 4 и 6, размещенные спереди и сзади от среднего шпангоута 5, выполнены герметичными и соединены герметично с внутренней и наружной частями оболочки 3, образуя вместе с наружной частью оболочки 3 и средним шпангоутом 5 замкнутые полости 7 и 8, сообщающиеся с каналом 9 через перфорацию 10 во внутренней части оболочки 3.

[8]

Статическое разряжение, создающееся в канале 9 перед вращающимся нагруженным винтом, будет распространяться через перфорацию на переднюю полость 7. Статический подпор, создающийся в канале 9 позади винта, будет распространяться через перфорацию на заднюю полость 8. Разница этих давлений составляет сотые доли атмосферного давления. Разница давлений, умноженная на площадь круга, ометаемого лопастями, дает тягу винта.

[9]

Суммарная площадь перфорации составляет от 5 до 10 процентов площади внутренней части оболочки между шпангоутами 4 и 6. При выборе площади перфорации менее 10 процентов, основное движение воздуха в канале, в промежутках (подвижных) между вращающимися лопастями, практически не отличается от такого же движения у прототипа. Большая площадь перфорации приводит к нарушению ламинарности основного течения воздуха в канале.

[10]

Вблизи лопастей при вращении нагруженного винта образуются динамические забросы давления, составляющие уже не сотые, а десятые доли атмосферы (разряжение вблизи передней и сжатие вблизи задней поверхности лопасти). В каждом сечении r r/R Const (r текущий радиус сечения, R радиус винта) максимальные значения этих заборов достигаются вблизи передней кромки лопасти. Типичный характер зависимости этих максимумов от радиуса представлен на фиг. 4 для прототипа; линия 11 максимум разряжения на передней поверхности и линия 12 максимум сжатия на передней поверхности лопасти, и предлагаемой конструкции: пунктирные линии 13 и 14, соответственно. Максимум динамического давления p в каждом сечении отнесен к скоростному напору, соответствующего окружной скорости концевого сечения лопасти. Максимальных значений эти забросы давления достигают в концевых частях лопастей. Известно, что основной вклад в уровень аэродинамического шума дают одновременно концевые части лопастей.

[11]

Предлагаемая конструкция аэродинамического кольца (при выбранной площади перфорации) позволяет "распрямить" кривую зависимости максимального динамического заброса давления от радиуса, уменьшить абсолютный максимум этого динамического давления как на передней поверхности лопасти (разряжение), так и на задней (сжатие). Расчетный анализ показывает, что уменьшение площади перфорации менее 5 процентов не позволяет добиться заметного снижения динамических забросов на концах лопастей.

[12]

Уменьшение максимального динамического заброса давления (положительного и отрицательного) для предлагаемой конструкции прямо приводит к снижению уровня дискретных составляющих аэродинамического шума и вибраций конструкции, и, следовательно, к улучшению вибро- и акустического комфорта экипажа и пассажиров транспортного средства, на котором установлен движитель.

[13]

Кроме того, за счет перфорации уменьшается коэффициент передачи динамических сил, приходящих на защитное кольцо от лопасти, и, следовательно, уменьшается уровень высокочастотных вибраций кольца и уровень шума, переизлучаемого колеблющейся конструкцией кольца наружу, что уменьшает уровень внешнего шума, создаваемого транспортным средством.

Как компенсировать расходы
на инновационную разработку
Похожие патенты