патент
№ RU 2630938
МПК E21B43/25

Способ очистки и обработки призабойной зоны горизонтальной скважины в залежи битума

Авторы:
Зиятдинов Радик Зяузятович
Номер заявки
2016131133
Дата подачи заявки
27.07.2016
Опубликовано
14.09.2017
Страна
RU
Как управлять
интеллектуальной собственностью
Чертежи 
2
Реферат

Изобретение относится к нефтяной промышленности и может найти применение при обработке призабойной зоны в горизонтальных стволах скважин, пробуренных в залежи битумов. Способ очистки и обработки призабойной зоны горизонтальной скважины в залежи битума включает спуск в скважину колонны гибких труб (ГТ) и фиксацию глубины спуска, закачивание по колонне ГТ аэрированной промывочной жидкости, очистку призабойной зоны от кольматирующих отложений промывкой и транспортирование их циркуляцией в желобную емкость. При этом спуск колонны ГТ, оснащенной грушевидной насадкой на конце, осуществляют в скважину до глубины на 50 м ниже устья скважины. Запускают азотный компрессор в линию колонны ГТ и проводят аэрирование промывочной жидкости, находящейся в скважине, с одновременным доспуском колонны ГТ до глубины начала фильтровой части хвостовика. После чего запускают насосный агрегат с подачей промывочной жидкости в линию ГТ. Затем производят очистку призабойной зоны скважины промывкой аэрированной жидкостью в четыре цикла. Причем каждый цикл состоит из перемещения колонны ГТ со скоростью 1 м/с до забоя с одновременной промывкой аэрированной жидкостью. По достижении забоя перемещение колонны ГТ прекращают. Промывают скважину аэрированной жидкостью в течение 30 мин. Затем отключают насосный агрегат и азотный компрессор. Выдерживают технологическую паузу в течение 30 мин. При этом отбивают уровень жидкости в скважине эхолотом. Далее производят подъем колонны ГТ до глубины на 50 м ниже устья скважины. После чего вышеописанный цикл повторяют три раза. Затем производят обработку призабойной зоны пласта закачкой 8% соляной кислоты в интервале горизонтальной части ствола от начала фильтровой части хвостовика до забоя по 0,2 мна каждые 50 м с последующей продавкой соляной кислоты в пласт пресной водой. Техническим результатом является повышение качества очистки призабойной зоны горизонтальной скважины и повышение эффективности очистки призабойной зоны скважины. 2 ил.

Формула изобретения

Способ очистки и обработки призабойной зоны горизонтальной скважины в залежи битума, включающий спуск в скважину колонны гибких труб - ГТ и фиксацию глубины спуска, закачивание по колонне ГТ аэрированной промывочной жидкости, очистку призабойной зоны от кольматирующих отложений промывкой и транспортирование их циркуляцией в желобную емкость, отличающийся тем, что спуск колонны ГТ, оснащенной грушевидной насадкой на конце, осуществляют в скважину до глубины на 50 м ниже устья скважины, запускают азотный компрессор в линию колонны ГТ и проводят аэрирование промывочной жидкости, находящейся в скважине, с одновременным доспуском колонны ГТ до глубины начала фильтровой части хвостовика, после чего запускают насосный агрегат с подачей промывочной жидкости в линию ГТ, затем производят очистку призабойной зоны скважины промывкой аэрированной жидкостью в четыре цикла, причем каждый цикл состоит из перемещения колонны ГТ со скоростью 1 м/с до забоя с одновременной промывкой аэрированной жидкостью, по достижении забоя перемещение колонны ГТ прекращают, промывают скважину аэрированной жидкостью в течение 30 мин, затем отключают насосный агрегат и азотный компрессор, выдерживают технологическую паузу в течение 30 мин, при этом отбивают уровень жидкости в скважине эхолотом, далее производят подъем колонны ГТ до глубины на 50 м ниже устья скважины, после чего вышеописанный цикл повторяют три раза, затем производят обработку призабойной зоны пласта закачкой 8%-ной соляной кислоты в интервале горизонтальной части ствола от начала фильтровой части хвостовика до забоя по 0,2 м3 на каждые 50 м с последующей продавкой соляной кислоты в пласт пресной водой.

Описание

[1]

Изобретение относится к нефтяной промышленности и может найти применение при обработке призабойной зоны в горизонтальных стволах скважин, пробуренных в залежи битумов.

[2]

Известен способ обработки призабойной зоны горизонтальной скважины в залежи битума (патент RU №2520989, МПК E21B 43/27, опубл. 27.06.2014, бюл №18), включающий спуск в обрабатываемый интервал скважины гидроперфоратора с колонной труб одностороннего действия с направлением сопел вверх, струйное воздействие через него углеводородным растворителем, затем раствором кислоты, проведение технологической выдержки на реагирование кислоты, извлечение оборудования из скважины, свабирование и пуск скважины в эксплуатацию. На устье горизонтальной скважины до спуска в скважину нижний конец колонны труб оснащают снизу вверх: центратором-патрубком, гидроперфоратором одностороннего действия с направлением сопел вверх, импульсным пульсатором жидкости, клапаном, состоящим из седла и корпуса с отверстиями, герметично перекрытыми седлом, зафиксированным срезным штифтом относительно корпуса. Спускают колонну труб до упора центратора-патрубка в забой горизонтальной скважины. Далее в два этапа в импульсном режиме через гидроперфоратор производят струйное воздействие на призабойную зону пласта сначала углеводородным растворителем, а затем соляной кислотой, при реализации двух этапов с одновременной закачкой углеводородного растворителя или соляной кислоты перемещают колонну труб от забоя к устью с постоянной скоростью на длину фильтра горизонтальной скважины. По окончании закачки соляной кислоты размещают гидроперфоратор в конце фильтра со стороны устья скважины. Далее на устье скважины в колонну труб устанавливают пробку и продавливают ее по колонне труб технологической жидкостью до посадки пробки на седло клапана и разрушения срезного штифта под действием избыточного давления в колонне труб. Далее проводят технологическую выдержку в течение 1 ч, при этом в процессе технологической выдержки доспускают колонну труб до упора гидроперфоратора в забой горизонтальной скважины. Затем в три цикла поочередно то в колонну труб, то в межколонное пространство скважины закачивают по 0,5 м3 технологической жидкости. По окончании времени выдержки вымывают продукты реакции обратной круговой циркуляцией в полуторакратном объеме скважины.

[3]

Недостатки способа:

[4]

- во-первых, низкая эффективность кислотной обработки призабойной зоны горизонтальной части скважины вследствие наличия кольматационных отложений в призабойной зоне;

[5]

- во-вторых, сложная технология реализации, связанная с несколькими спуско-подъемами колонны труб в скважину с использованием гидроперфоратора, импульсного пульсатора жидкости, а также с одновременной закачкой углеводородного растворителя или соляной кислоты;

[6]

- в-третьих, высокая продолжительность реализации способа, связанная с тем, что все технологические операции производятся на колонне труб;

[7]

- в-четвертых, неконтролируемая депрессия на пласт из-за освоения скважины свабированием, которая не позволяет произвести плавное освоение скважины.

[8]

Наиболее близким по технической сущности и достигаемому результату является способ очистки призабойной зоны горизонтальной скважины (патент RU №2165007, МПК E21B 43/25, опубл. 10.04.2001, бюл №10), включающий закачивание очищающего агента и его продавливание, создание в стволе скважины депрессии, вынос кольматирующих отложений и транспортирование их на дневную поверхность циркуляцией промывочного агента. Дополнительно спускают в скважину колонну гибких труб (ГТ) и фиксируют глубину спуска. В качестве очищающего агента используют инертный газ, закачиваемый через колонну ГТ под давлением, не превышающем давление опрессовки эксплуатационной колонны, и пенообразующую жидкость, закачиваемую через затрубное пространство, объем порции которой определяют расчетным путем. Причем продавливание осуществляют инертным газом до фиксации скачка давления на устье скважины. Депрессию в стволе скважины создают снижением давления на устье до величины, определяемой расчетным путем. Причем транспортирование кольматирующих отложений в желобную емкость осуществляют с помощью циркуляции дополнительной порции аэрированной промывочной жидкости, подаваемой с устья скважины через колонну ГТ. Затем при закрытом затрубном пространстве продавливают аэрированную промывочную жидкость инертным газом в очищенный интервал продуктивного пласта под давлением, не превышающим давление опрессовки эксплуатационной колонны. Производят доспуск колонны ГТ на длину очищенного интервала и при открытом затрубном пространстве продувают забой инертным газом. По установленной длине доспуска труб определяют цикличность процесса и при необходимости повторяют операции.

[9]

Недостатки способа:

[10]

- во-первых, низкое качество очистки (выноса кольматанта) призабойной зоны скважины промывкой аэрированной жидкостью, так как в процессе реализации способа продавливают аэрированную промывочную жидкость в пласт под давлением опрессовки эксплуатационной колонны, что приводит к поглощению промывочной аэрированной жидкости пластом, создается неконтролируемая депрессия, при этом давление в затрубном пространстве не контролируется;

[11]

- во-вторых, низкая эффективность очистки призабойной зоны горизонтальной скважины, пробуренной в залежи битума, связанная с отсутствием кислотной обработки после выноса кольматанта из призабойной зоны горизонтальной скважины с целью повышения приемистости пласта;

[12]

- в-третьих, высокая продолжительность очистки призабойной зоны горизонтальной скважины от кольматанта, связанная с поинтервальной очисткой призабойной зоны горизонтальной скважины промывкой, причем при реализации способа по установленной длине доспуска колонны ГТ определяют цикличность процесса и интервалы очистки (каждый раз колонну ГТ спускают до определенного интервала горизонтального ствола) с постепенным доведением колонны труб до забоя.

[13]

Техническими задачами изобретения являются повышение качества и эффективности очистки призабойной зоны горизонтальной скважины, пробуренной в залежи битума, сокращение продолжительности очистки призабойной зоны горизонтальной скважины от кольматанта.

[14]

Поставленные задачи решаются способом очистки и обработки призабойной зоны горизонтальной скважины в залежи битума, включающим спуск в скважину колонны гибких труб - ГТ и фиксацию глубины спуска, закачивание по колонне ГТ аэрированной промывочной жидкости, очистку призабойной зоны от кольматирующих отложений промывкой и транспортирование их циркуляцией в желобную емкость.

[15]

Новым является то, что спуск колонны ГТ, оснащенной грушевидной насадкой на конце, осуществляют в скважину до глубины на 50 м ниже устья скважины, запускают азотный компрессор в линию колонны ГТ и проводят аэрирование промывочной жидкости, находящейся в скважине, с одновременным доспуском колонны ГТ до глубины начала фильтровой части хвостовика, после чего запускают насосный агрегат с подачей промывочной жидкости в линию ГТ, затем производят очистку призабойной зоны скважины промывкой аэрированной жидкостью в четыре цикла, причем каждый цикл состоит из перемещения колонны ГТ со скоростью 1 м/с до забоя с одновременной промывкой аэрированной жидкостью, по достижении забоя перемещение колонны ГТ прекращают, промывают скважину аэрированной жидкостью в течение 30 мин, затем отключают насосный агрегат и азотный компрессор, выдерживают технологическую паузу в течение 30 мин, при этом отбивают уровень жидкости в скважине эхолотом, далее производят подъем колонны ГТ до глубины на 50 м ниже устья скважины, после чего вышеописанный цикл повторяют три раза, затем производят обработку призабойной зоны пласта закачкой 8%-ной соляной кислоты в интервале горизонтальной части ствола от начала фильтровой части хвостовика до забоя по 0,2 м3 на каждые 50 м с последующей продавкой соляной кислоты в пласт пресной водой.

[16]

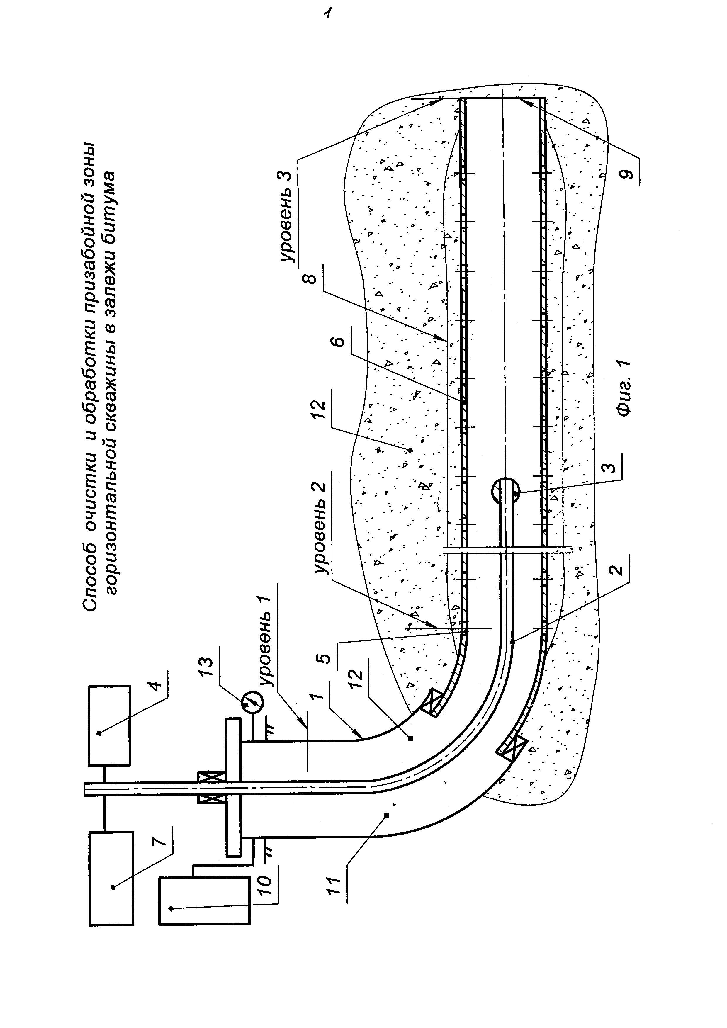
На фиг. 1 и 2 схематично изображен способ очистки и обработки призабойной зоны горизонтальной скважины в залежи битума.

[17]

Способ очистки и обработки призабойной зоны горизонтальной скважины в залежи битума реализуют следующим образом

[18]

С целью очистки горизонтальной скважины (далее скважины) 1 (см. фиг. 1), пробуренной в залежи битума, от кольматанта (глинистой корки, шлама, песка) на устье скважины 1 нижний конец колонны ГТ 2, например, диаметром 38 мм оснащают грушевидной насадкой 3 диаметром 55 мм и осуществляют спуск колонны ГТ 2 в скважину 1 до глубины на 50 м ниже устья скважины 1 (уровень 1), фиксируют глубину спуска колонны ГТ 2 в скважине 1.

[19]

Запускают азотный компрессор 4 в линию колонны ГТ 2 и начинают аэрирование жидкости, находящейся в скважине 1, с одновременным доспуском колонны ГТ 2 до глубины начала фильтровой части 5 (перфорационных отверстий) хвостовика 6, например до глубины 450 м (уровень 2).

[20]

Далее запускают насосный агрегат 7, закачивающий промывочную жидкость, в качестве которой применяют сточную теплую воду с температурой 40-50°C с добавкой 0,3% по объему раствора поверхностно-активного вещества (ПАВ), например МЛ-81, при этом закачку азота азотным компрессором 4 по колонне ГТ 2 продолжают.

[21]

Производят очистку призабойной зоны 8 скважины 1 промывкой аэрированной жидкостью в четыре цикла.

[22]

Каждый цикл состоит из перемещения колонны ГТ 2 со скоростью 1 м/с до забоя 9 (уровень 3, глубина 1000 м) с одновременной промывкой аэрированной жидкостью. При достижении забоя 9 грушевидная насадка 3 упирается в забой 9, о чем свидетельствует увеличение нагрузки на колонну ГТ 2, перемещение колонны ГТ 2 прекращают и промывают скважину 1 аэрированной жидкостью в течение 30 мин с выносом кольматанта (глинистой корки, шлама, мех. примесей) из призабойной зоны 9 в желобную емкость 10 через затрубное пространство 11.

[23]

В процессе промывки расход промывочной жидкости насосным агрегатом 7 составляет 2 л/с=2,0⋅10-3 м3/с для исключения ее поглощения пластом 12. Давление закачки насосного агрегата - 4,0-6,0 МПа. Расход азота - 10 м3/мин=0,166 м3/с. Давление закачки азота - 6,0-8,0 МПа.

[24]

Также в процессе промывки давление в затрубном пространстве 11 не должно превышать давления поглощения жидкости пластом 12. Например, давление поглощения пласта 11 составляет 2,0 МПа, тогда давление в затрубном пространстве 11 не должно быть выше 2,0 МПа, что контролируют с помощью манометра 13. По истечении 30 мин промывки производят остановку закачки (отключают насосный агрегат 7 и азотный компрессор 4) с целью выхода кольматанта из призабойной зоны в желобную емкость 10.

[25]

Выдерживают технологическую паузу в течение 30 мин. В это время отбивают уровень жидкости в скважине 1 с помощью эхолота, например, уровень после первого цикла составил 400 м. После чего производят подъем колонны ГТ 2 до уровня 1, фиксируют глубину спуска колонны ГТ 2 в скважине 1 и осуществляют второй цикл.

[26]

При реализации второго цикла весь процесс повторяют заново, начиная с запуска азотного компрессора 4 в линию колонны ГТ 2 и заканчивая отбивкой уровня жидкости в скважине 1. Например, уровень жидкости в скважине после второго цикла составил 300 м. После чего производят подъем колонны ГТ 2 до уровня 1 (см. фиг. 1) и фиксируют глубину спуска колонны ГТ 2 в скважине 1 и осуществляют третий цикл.

[27]

При реализации третьего цикла весь процесс повторяют заново, начиная с запуска азотного компрессора 4 в линию колонны ГТ 2 и заканчивая отбивкой уровня жидкости в скважине 1. Например, уровень жидкости в скважине после третьего цикла составил 200 м. После чего производят подъем колонны ГТ 2 до уровня 1, фиксируют глубину спуска колонны ГТ 2 в скважине 1 и осуществляют четвертый цикл.

[28]

При реализации четвертого цикла весь процесс повторяют заново, начиная с запуска азотного компрессора 4 в линию колонны ГТ 2 и заканчивая отбивкой уровня жидкости в скважине 1. Например, уровень жидкости в скважине после четвертого цикла составил 100 м. При этом по окончании четвертого цикла происходит выход чистой воды, что определяется визуально в желобной емкости 10, поэтому очистку призабойной зоны 9 горизонтальной скважины 1 аэрированной промывочной жидкостью от кольматирующих отложений прекращают.

[29]

Увеличение уровня в скважине 1 с каждым циклом (400 м, 300 м, 200 м, 100 м) свидетельствует о наличии притока из пласта.

[30]

Перемещают колонну ГТ 2 (см. фиг. 2) с насадкой 3 в начало фильтровой части 5 хвостовика 6, т.е. до глубины 450 м (уровень 2) скважины 1.

[31]

Производят обработку призабойной зоны пласта 9 закачкой 8%-ной соляной кислоты в интервале горизонтальной части 15 скважины 1 по 0,2 м3 на каждые 50 м с последующей продавкой 8%-ной соляной кислоты в пласт 12 пресной водой плотностью 1000 кг/м3.

[32]

Например, при забое 1000 м длина хвостовика 6 от его начала до конца составляет 1000 м-450 м=650 м. Таким образом, ступенчатым перемещением колонны ГТ по 50 м со скоростью 1 м/с: от интервала 450 м; 500 м; 550 м; 600 м; 650 м; 750 м; 800 м; 850 м, 900 м; 950 м; 1000 м, в каждом из этих интервалов производят закачку по 0,2 м3 8%-ной соляной кислоты. Итого 10 интервалов: 10⋅0,2 м3=2 м3. Таким образом, в горизонтальную часть скважины 1 в процессе ступенчатого перемещения колонны ГТ 2 закачивают 2 м3. Далее производят продавку закачанного в горизонтальную часть 14 скважины 1 объема 8%-ной кислоты в призабойную зону 9 пласта 12 пресной воды в объеме 2 м3.

[33]

Таким образом, обеспечивается равномерная обработка призабойной зоны 9 кислотой по всей длине горизонтальной части 14 скважины 1, что повышает эффективность обработки и позволяет повысить в 2 раза в сравнении с прототипом приемистость нагнетательной горизонтальной скважины 1.

[34]

Повышается качество очистки от кольматанта в призабойной зоне горизонтальной скважины путем поочередного запуска сначала компрессора, который аэрирует жидкость, находящуюся в скважине, а затем насосного агрегата для подачи промывочной жидкости, что позволяет создать плавную депрессию на пласт, при этом контролируется как объем жидкости на выходе в желобную емкость, так и давление в затрубном пространстве манометром.

[35]

Закачка промывочной жидкости насосным агрегатом с расходом 2 л/с минимизирует поглощение жидкости пластом. Все это по сравнению с прототипом позволяет произвести плавное освоение горизонтальной скважины, пробуренной в залежи битума, без поглощения аэрированной жидкости пластом или с ее минимальными потерями.

[36]

Повышается эффективность очистки призабойной зоны горизонтальной скважины за счет того, что после выноса кольматанта из призабойной зоны горизонтальной скважины производят кислотную обработку, при этом объем закачиваемой кислоты равномерно распределяют по всей длине горизонтального ствола с целью повышения приемистости пласта.

[37]

Сокращается продолжительность очистки призабойной зоны горизонтальной скважины от кольматанта, так как очистка происходит циклически, не поинтервально, как описано в прототипе, а по всей длине горизонтальный части скважины, это сокращает время проведения спуско-подъемных операций.

[38]

Предлагаемый способ очистки и обработки призабойной зоны горизонтальной скважины в залежи битума позволяет:

[39]

- повысить качество очистки призабойной зоны горизонтальной скважины, пробуренной в залежи битума, за счет промывки аэрированной промывочной жидкостью в несколько циклов по всей длине горизонтальной части скважины;

[40]

- повысить эффективность очистки призабойной зоны скважины за счет проведения обработки призабойной зоны соляной кислотой;

[41]

- сократить продолжительность очистки призабойной зоны горизонтальной скважины от кольматанта.

Как компенсировать расходы
на инновационную разработку
Похожие патенты