патент
№ RU 2668376
МПК A61L2/04

РЕАКТОР ДЛЯ СТЕРИЛИЗАЦИИ

Авторы:
Арофикин Николай В.
Номер заявки
2015143109
Дата подачи заявки
13.03.2014
Опубликовано
28.09.2018
Страна
RU
Дата приоритета
27.12.2025
Номер приоритета
Страна приоритета
Как управлять
интеллектуальной собственностью
Чертежи 
4
Реферат

Изобретение относится к системам для снижения количества микроорганизмов в жидкости. Представлен реактор для снижения количества патогенных микроорганизмов в жидкости, включающий внутреннюю полость, вход во внутреннюю полость, по меньшей мере две расположенные на расстоянии одна от другой стенки, при этом каждая из расположенных на расстоянии одна от другой стенок характеризуется наличием внутренней поверхности, и указанные внутренние поверхности стенок выполнены параллельными, при этом часть или вся внутренняя полость ограничена по меньшей мере двумя параллельными внутренними поверхностями указанных стенок, а параллельные внутренние поверхности указанных стенок и внутренняя полость характеризуются вертикальной ориентацией. Также реактор содержит один или несколько нагревательных элементов, предназначенных для нагрева внутренних поверхностей каждой из расположенных на расстоянии одна от другой стенок; и сопловый аппарат с выходом, через который жидкость поступает во внутреннюю полость, при этом указанный сопловый аппарат выполнен с возможностью выпуска плоского потока жидкости во внутреннюю полость, который перемещается между внутренними поверхностями стенок по существу параллельно указанным поверхностям. Достигается повышение производительности и эффективности обработки жидкости. 6 з.п. ф-лы, 4 ил.

Формула изобретения

1. Реактор для снижения количества патогенных микроорганизмов в жидкости, причем указанный реактор включает:

(a) внутреннюю полость;

(b) вход во внутреннюю полость;

(c) по меньшей мере две расположенные на расстоянии одна от другой стенки, при этом каждая из расположенных на расстоянии одна от другой стенок характеризуется наличием внутренней поверхности, и указанные внутренние поверхности стенок выполнены по существу параллельными,

при этом часть или вся внутренняя полость ограничена по меньшей мере двумя по существу параллельными внутренними поверхностями указанных стенок,

а параллельные внутренние поверхности указанных стенок и внутренняя полость характеризуются вертикальной ориентацией,

(d) один или несколько нагревательных элементов, предназначенных для нагрева внутренних поверхностей каждой из расположенных на расстоянии одна от другой стенок; и

(e) сопловый аппарат, причем указанный сопловый аппарат характеризуется наличием выхода, через который жидкость поступает во внутреннюю полость, при этом указанный сопловый аппарат выполнен с возможностью выпуска плоского потока жидкости во внутреннюю полость, который перемещается между внутренними поверхностями стенок по существу параллельно указанным поверхностям.

2. Реактор по п. 1, отличающийся тем, что сопловый аппарат расположен по центру между внутренними поверхностями по меньшей мере двух расположенных на расстоянии одна от другой стенок.

3. Реактор по п. 1, отличающийся тем, что включает

(a) дополнительные внутренние полости с входом,

(b) дополнительные стенки, характеризующиеся наличием внутренней поверхности, при этом внутренние поверхности стенок выполнены параллельными друг другу

причем дополнительные внутренние полости образованы каждой парой внутренних поверхностей стенок.

4. Реактор по п. 3, отличающийся тем, что каждая дополнительная внутренняя полость содержит дополнительный сопловый аппарат на входе в полость, выполненный с возможностью выпуска плоского потока жидкости в соответствующую внутреннюю полость между по существу параллельными внутренними поверхностями стенок

5. Реактор по п. 4, отличающийся тем, что сопловый аппарат расположен так, что плоский поток, выходящий из него, проходит по существу по центру внутренней полости равноудаленно от каждой поверхности стенки.

6. Реактор по любому из пп. 1-5, отличающийся тем, что дополнительно содержит емкость в нижней части реактора для сбора жидкости.

7. Реактор по любому из пп. 1 и 2, 4 и 5, отличающийся тем, что сопловый аппарат содержит входное отверстие и выполнен с возможностью преобразования цилиндрического или конического потока жидкости, поступающего во входное отверстие, в плоский поток жидкости.

Описание

[1]

Область техники, к которой относится настоящее изобретение

[2]

Настоящее изобретение относится к системам и способам снижения количества микроорганизмов в жидкости; более конкретно, настоящее изобретение относится к системам и способам, которые используют изменение в давлении и/или температуре жидкости для уничтожения или подавления роста микроорганизмов, таких как бактерии. Система и способ могут быть использованы для жидких продуктов или веществ в любой отрасли промышленности, такой как пищевая или фармакологическая отрасли промышленности.

[3]

Предшествующий уровень техники настоящего изобретения

[4]

Известен способ тепловой обработки жидкого продукта с целью истребления или уменьшения количества вредных микроорганизмов (также называемых в настоящем документе микроорганизмами), согласно которому микроорганизмы уничтожают путем смешения жидкого продукта с нагревательной средой (например, стерильным водяным паром), тем самым нагревая жидкий продукт, и выдержки его при температуре, которая обеспечивает пастеризацию или стерилизацию.

[5]

Недостатком этого известного способа является то, что жидкий продукт смешивается с водой, когда пар конденсируется в процессе охлаждения продукта. Это увеличивает массу продукта в среднем приблизительно на 30% и в результате приводит к необходимости удаления воды. Удаление воды обычно требует дополнительного оборудования, технологических операций, времени и издержек. Другим недостатком этого известного способа является потенциальное ухудшение качества продукта и вкуса после пастеризации из-за разрушения витаминов и свертывания белков из-за температуры, до которой нагревают продукт.

[6]

Другим известным способом с подобными техническими характеристиками является способ, согласно которому жидкий продукт смешивают с нагревательной средой на основе конденсирующегося пара, при этом жидкий продукт нагревают со скоростью, равной приблизительно 1400°С/сек или более для пастеризации и приблизительно 7600°С/сек или более для стерилизации, до температуры, не превышающей температуру, при которой имеют место качественные изменения в жидком продукте (такие качественные изменения и значения температуры известны специалисту в данной области техники). Продукт распыляют в виде капель, характеризующихся диаметром предпочтительно не более 0,3 мм (этот процесс описан в патенте России №2,052,967, раскрытие которого, не противоречащее раскрытию в настоящем документе, включено посредством ссылки). Этот способ обеспечивает эффективную тепловую обработку жидкого продукта, достаточное уничтожение микроорганизмов и отсутствие неблагоприятного воздействия на показатели качества жидкого продукта, благодаря тому, что он предусматривает увеличение скорости нагревания жидкого продукта и только кратковременное сохранение продукта при высокой температуре. Жидкий продукт нагревают только до температуры, которая ниже температуры, вызывающей качественные изменения в жидком продукте. Этот способ выполняют в пастеризаторе, который содержит распылитель жидкого продукта, камеру пастеризации, сопловый аппарат для подачи пара, парогенератор, камеру охлаждения и вакуумный насос.

[7]

Недостатком этого способа является то, что он не исключает смешивание продукта с конденсатом пара, что может неблагоприятно влиять на стабильность органолептических и физико-химических свойств (таких как вкус, запах, цвет и консистенция) жидких продуктов, таких как, например, соки прямого отжима («NFC») и молочные продукты, и не гарантирует уничтожение термоустойчивых микроорганизмов.

[8]

Краткое раскрытие настоящего изобретения

[9]

Задачей настоящего изобретения является создание эффективного способа и устройства для обработки под давлением и/или тепловой обработки жидкого продукта, обеспечивающих органолептическую и физико-химическую стабильность жидких продуктов. Было установлено, что обеспечение плоского потока (или «плоской струи») жидкости между по существу параллельными, нагретыми поверхностями внутренней полости реактора увеличивает эффективность и производительность способа и системы обработки, при этом обеспечивается снижение общих эксплуатационных расходов по сравнению с подобными устройствами и способами.

[10]

Согласно различным вариантам осуществления настоящего изобретения реактор для стерилизации, обработки, пастеризации и/или другого снижения количества микроорганизмов в жидкости, такой как жидкий пищевой продукт, содержит внутреннюю полость, которая предпочтительно ограничена двумя по существу параллельными поверхностями (в контексте настоящего документа под термином «параллельный» следует понимать по существу параллельный), вход во внутреннюю полость, один или несколько нагревательных источников для каждой из параллельных поверхностей и сопловый аппарат на входе внутренней полости для обеспечения подачи плоской струи жидкости во внутреннюю полость между параллельными поверхностями. Параллельные поверхности и внутренняя полость предпочтительно характеризуются вертикальной ориентацией для того, чтобы во время процесса обработки струя жидкости оставалась по существу между указанными поверхностями. Реактор также может содержать насос для снижения давления во внутренней полости и одно или несколько отверстий для ввода нагревательной среды (такой как пар или горячий воздух).

[11]

Реактор согласно аспектам настоящего изобретения может содержать более двух нагретых параллельных поверхностей. В этом случае, внутренняя полость может быть ограничена между каждыми двумя смежными параллельными поверхностями, и по меньшей мере один сопловый аппарат, который создает плоскую струю жидкости, расположен на входе каждой внутренней полости. Согласно различным аспектам этих вариантов осуществления внутренние поверхности предпочтительно характеризуется вертикальной ориентацией, в результате чего плоская струя жидкости перемещается внутри внутренней полости между внутренним поверхностям и по существу параллельно указанным поверхностям. Согласно дополнительным аспектам один или несколько сопловых аппаратов подают плоскую струю в каждый вход и предпочтительно в центр каждой внутренней полости.

[12]

Реактор согласно настоящему изобретению может дополнительно содержать емкость для сбора обработанной жидкости. Согласно предпочтительному варианту осуществления емкость расположена в нижней части реактора.

[13]

Дополнительно, другой аспект настоящего изобретения представляет собой сопловый аппарат, который преобразует по существу цилиндрический поток текучей среды в плоский поток. Сопловый аппарат предпочтительно содержит внутреннюю конструкцию (например, плоскую дискообразную пластину) для преобразования цилиндрического или конического потока в плоскую струю, которая входит во внутреннюю полость между параллельными внутренними поверхностями. Согласно особо предпочтительному варианту осуществления цилиндрический поток жидкости, поступающий в одном направлении, преобразуют в плоский поток, движущийся в другом направлении.

[14]

Согласно дополнительным вариантам осуществления настоящего изобретения способ обработки (например, пастеризации, стерилизации или другого снижения количества микроорганизмов в) жидкости, такой как жидкий пищевой продукт, предусматривает предоставление реактора, характеризующегося наличием полости предпочтительно между двумя параллельными поверхностями, создание вакуума в полости, нагрев двух параллельных поверхностей и подачу плоской струи жидкости в полость между параллельными поверхностями. Согласно иллюстративным аспектам этих вариантов осуществления две параллельные стенки нагревают по существу до одинаковой температуры для того, чтобы обеспечить равномерный нагрев жидкости, проходящей через внутреннюю полость. Согласно дополнительным аспектам перепад давления жидкости, поступающей в сопловый аппарат, относительно жидкости, поступающей во внутреннюю полость, предпочтительно варьирует приблизительно от 105 Па/сек до 1010 Па/сек. Согласно дополнительным аспектам способ предпочтительно предусматривает распыление жидкости в виде капель (предпочтительно капель, характеризующихся диаметром не более приблизительно 0,3 мм) и воздействие на жидкость скоростью изменения давления приблизительно 105 Па/сек или от 105 Па/сек до 1010 Па/сек, или приблизительно 1010 Па/сек, или более. Согласно дополнительным аспектам скорость выхода капель из соплового аппарата может составлять приблизительно 105 м/сек или более, и перепад давления происходит во время распыления жидкости во внутреннюю полость при выходе из соплового аппарата. Жидкость распыляют с использованием соплового аппарата, при этом указанную жидкость могут поддерживать при одном давлении (значение которого предпочтительно измеряют и регулируют с использованием насоса) на одной стороне соплового аппарата, а затем осуществить сброс указанного давления при распылении жидкости во внутренней полости на другой стороне соплового аппарата. Кроме того, следует отметить, что предусмотрена возможность регулировки давления внутри реактора, при этом вакуумный насос может быть использован для такой регулировки давления.

[15]

Согласно различным аспектам иллюстративных устройства и способа, изложенным в настоящем документе, жидкий продукт могут подвергать дополнительному нагреву. В таком случае дополнительный нагрев могут осуществлять в полости реактора или камере при распылении жидкого продукта, при этом указанный нагрев могут осуществлять с использованием ненасыщенного пара или любого другого подходящего способа нагрева или среды (другие варианты предусматривают применение ультразвуковой частоты, инфракрасного излучения и горячего воздуха). При использовании пара или другой среды, он может быть введен в камеру через отдельное отверстие и выпущен в том же направлении, что и жидкий продукт или в противоположном направлении, или любом направлении. Дополнительно, скорость нагрева жидкого продукта предпочтительно не превышает 1100°С/сек, однако может быть использована любая скорость нагрева, которой достаточно для уничтожения необходимого количества микроорганизмов и которая не обеспечивает повышение значения температуры жидкого продукта до значения, отрицательно влияющего на его качественные характеристики.

[16]

Согласно другому варианту осуществления внутреннюю камеру поддерживают при температуре приблизительно от 48°С до 82°С и предпочтительно приблизительно 50°С-75°С, и наиболее предпочтительно приблизительно 56°С-72°С. Такие наиболее предпочтительные температуры являются недостаточными для обеспечения нагрева до температур, необходимых для высокотемпературной кратковременной (HTST) пастеризации жидкости. Согласно предпочтительным вариантам осуществления температура жидкости перед ее входом в сопловый аппарат приблизительно на 10°С-20°С меньше температуры жидкости при ее входе во внутреннюю полость.

[17]

Вариант осуществления настоящего изобретения также содержит сопловый аппарат для преобразования высоконапорного цилиндрического или конического потока жидкости, протекающего в первом направлении, в плоский поток жидкости, протекающий во втором направлении. Сопловый аппарат содержит входное отверстие на первом конце, конический конец, канал между ними и внутреннюю конструкцию возле конического конца, являющуюся по существу плоской и содержащую вырез для формирования плоской струи из жидкости, поступающей из конического конца. Второе направление может быть перпендикулярным первому направлению.

[18]

Настоящее изобретение обеспечивает высокоэффективный, экономичный способ и устройство для обработки жидких продуктов без существенных изменений присущих им органолептических или физико-химических характеристик.

[19]

Краткое описание фигур

[20]

Иллюстративные варианты осуществления настоящего изобретения будут описаны с использованием приложенных фигур, на которых:

[21]

на фиг. 1 представлен реактор для обработки жидкости согласно иллюстративным вариантам осуществления настоящего изобретения;

[22]

на фиг. 2 представлена часть реактора, изображенного на фиг. 1;

[23]

на фиг. 3 представлен сопловый аппарат для использования при обработке жидкости согласно дополнительным вариантам осуществления настоящего изобретения; и

[24]

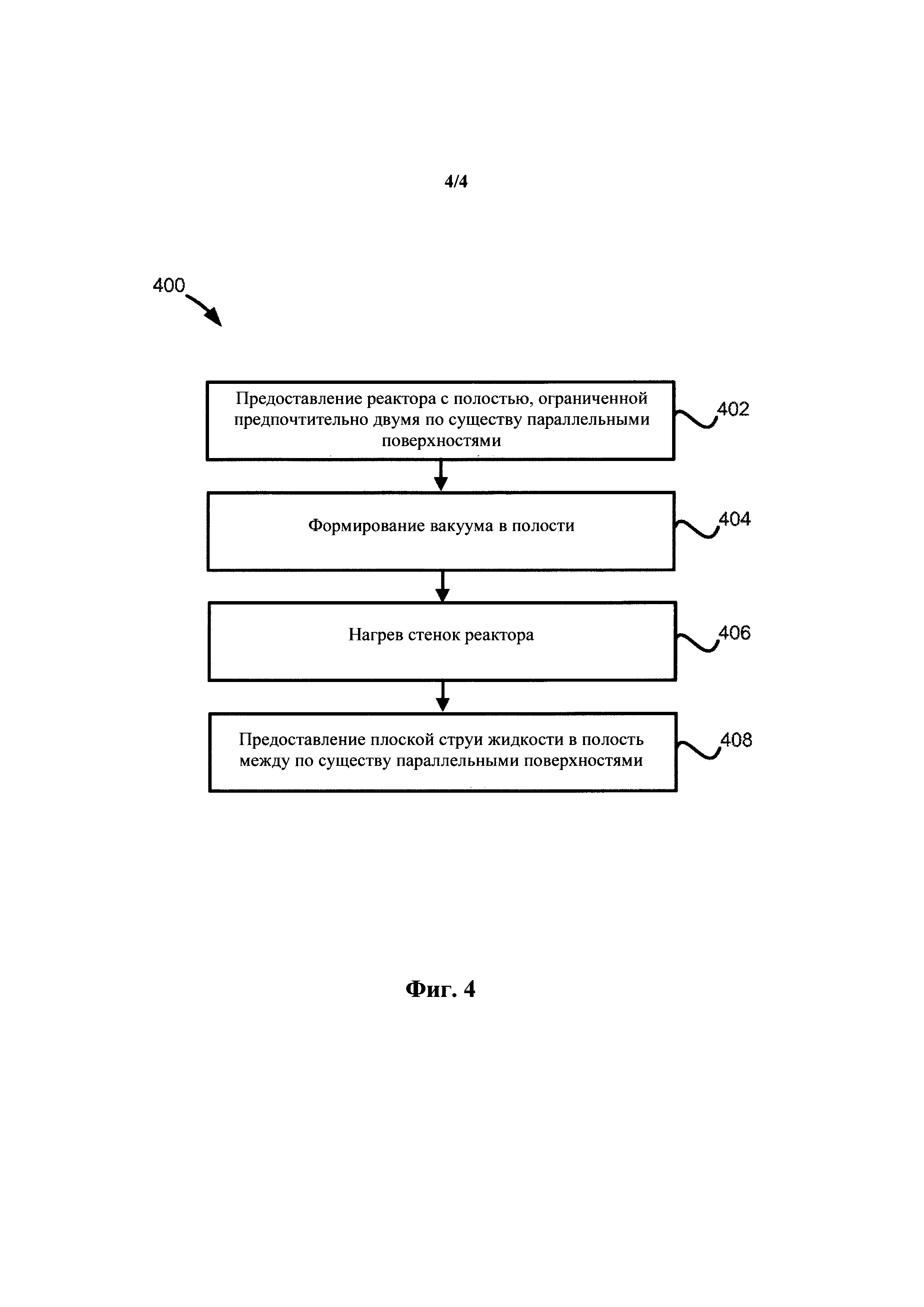
на фиг. 4 представлен способ обработки жидкости согласно дополнительным вариантам осуществления настоящего изобретения.

[25]

Следует принять во внимание, что фигуры необязательно выполнены с соблюдением масштаба. Например, размеры некоторых элементов на фигурах могут быть выполнены увеличенными относительно других элементов, чтобы способствовать лучшему пониманию изображенных вариантов осуществления настоящего изобретения.

[26]

Подробное раскрытие предпочтительных вариантов осуществления

[27]

Представленное ниже описание иллюстративных вариантов осуществления настоящего изобретения приводится исключительно в качестве примера и предназначено для иллюстративных целей; при этом следует отметить, что представленное ниже описание не предназначено для ограничения объема раскрытого в настоящем документе изобретения.

[28]

Как более подробно изложено ниже, приводимые в качестве примера реактор и способ могут быть использованы для обработки жидкости, такой как пищевой продукт, пастеризации, стерилизации или другого снижения количества микроорганизмов в жидкости экономичным и эффективным методом. Реактор и способ характеризуются относительно высокой производительностью в сравнении с подобными устройствами и способами обработки, так как описанные в настоящем документе устройство и способ выполнены с возможностью эффективного нагрева плоского потока жидкости. За счет выполнения стенок реактора плоскими и создания между ними внутренней полости, гораздо большее количество внутренних полостей может быть сформировано в заданном объеме, чем в предыдущих реакторах, которые как правило представляют собой большие, открытые сосуды. Кроме того, так как внутренние поверхности реактора предпочтительно выполнены по существу параллельными и плоскую струю обрабатываемой жидкости предпочтительно вводят между ними, тепло от внутренних поверхностей более эффективно нагревает жидкость. Например, если существующий на данный момент реактор характеризуется объемом размером с комнату, большое количество реакторов согласно аспектам настоящего изобретения может быть размещено в таком же пространстве и значительно больше жидкости может быть обработано в течение заданного периода времени в таком же пространстве.

[29]

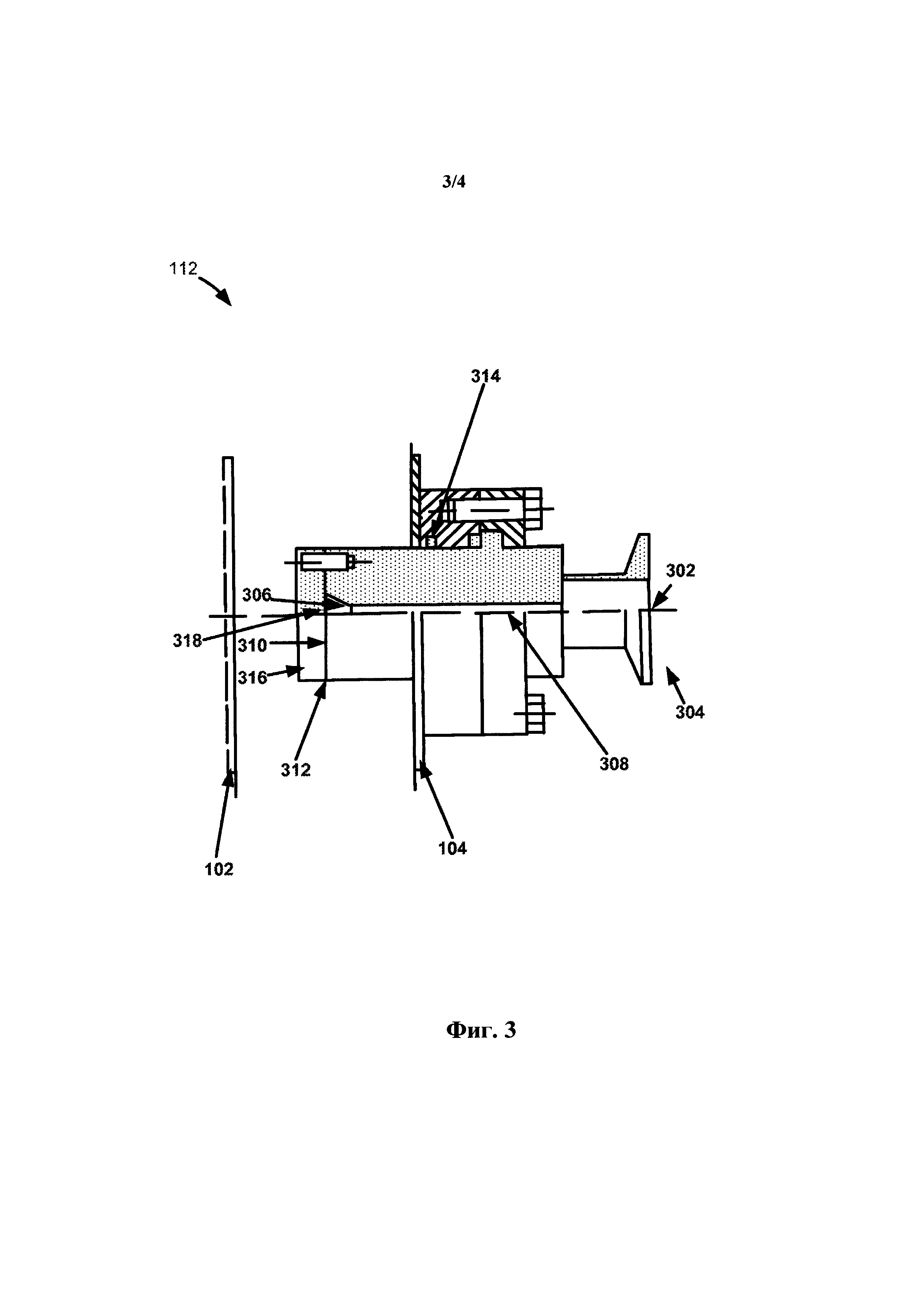
Описанные в настоящем документе реактор и способ могут быть использованы для обработки различных жидкостей и могут особенно хорошо подходить для обработки пищевых продуктов, таких как молочные продукты, соки прямого отжима и т.п. В настоящем контексте «плоский поток» или «плоская струя» означает по существу двухмерную струю. В качестве примеров, струя может быть по существу двухмерной в первом направлении, а угол струи в направлении, перпендикулярном первому направлению, может составлять приблизительно двадцать градусов или менее, приблизительно десять градусов или менее, приблизительно пять градусов или менее или приблизительно два градуса или менее. Толщина струи предпочтительно составляет приблизительно от 5 мм до 30 мм.

[30]

На фиг. 1 представлен реактор 100 согласно иллюстративным вариантам осуществления настоящего изобретения. Как показано, стенки, поверхности и внутренняя полость этого варианта осуществления характеризуются вертикальной ориентацией. Реактор 100, как показано, содержит две нагретые параллельные поверхности 102, 104, источник нагрева и сопловый аппарат 112. Реактор 100 может содержать дополнительные стенки (не показаны) для формирования в реакторе внутренней полости 110. Внутренняя полость может быть герметичной. Реактор 100 может также в некоторых случаях содержать емкость 116 для сбора жидкости. Реактор 100 может дополнительно содержать одно или несколько отверстий для ввода пара или другой нагретой текучей среды, такой как воздух, во внутреннюю полость 110. Факультативно, он может также содержать источник вакуума 114, который предпочтительно представляет собой вакуумный насос.

[31]

Во время работы реактора 100 жидкость под повышенным давлением подают на вход реактора 100, выполненный, например, возле или в верхней части реактора 100, посредством соплового аппарата 112, и жидкость направляется сверху вниз в виде плоской струи между внутренними поверхностями 106, 108 соответственно стенок 102, 104. Когда жидкость входит во внутреннюю полость 110 через вход 110A, жидкость подвергается резкому изменению давления и/или температуры. Жидкость предпочтительно нагревают посредством теплового излучения, испускаемого поверхностями 106, 108. Подача плоской струи жидкости во внутреннюю полость 110 позволяет осуществить быстрый нагрев жидкости, что снижает или исключает необходимость в любой дополнительной нагретой текучей среде, такой как воздух или пар, добавляемой для нагрева жидкости. Так как для нагрева обрабатываемой жидкости необходимо меньшее количество или вовсе не требуется дополнительной текучей среды, в сравнении с другими использующими пар системами, для обработки жидкости необходимо меньшее количество капиталовложений, поскольку меньшее количество воды необходимо удалить из обработанной жидкости по сравнению с количеством воды, подлежащим удалению при нагреве с использованием пара.

[32]

Хотя это не показано, система, содержащая реактор 100, может содержать дополнительный факультативный источник тепла, такой как парогенератор, источник горячего воздуха, источник инфракрасного нагрева или любое другое подходяще средство нагрева. Приведенная в качестве примера система, содержащая дополнительный источник тепла и камеру охлаждения, раскрыта в патенте США №7,708,941, содержание которого ссылкой включено в настоящий документ в степени, не противоречащей настоящему изобретению.

[33]

Рассмотрим опять фиг. 1, каждая стенка 102, 104 характеризуется наличием внутренней поверхности 106, 108 соответственно. Внутренняя полость ПО между внутренними поверхностями 106, 108 ограничивает по меньшей мере часть внутренней полости в реакторе 100. Нагретые стенки и/или ненагретые стенки могут ограничивать любую оставшуюся часть внутренней полости 110. Стенки могут быть соединены с использованием любой подходящей технологии, такой как сварка, или же стенки могут быть сформированы как одно целое. В качестве одного из примеров стенки 102, 104 могут характеризоваться размерами 1200 мм ×1200 мм, а расстояние между стенками может составлять приблизительно 60 мм. Стенки 102, 104 могут быть сформированы из любого подходящего материала, такого как нержавеющая сталь, и характеризоваться любым подходящим размером или пространством между ними.

[34]

В показанном примере стенка 102 и стенка 104 характеризуются вертикальной ориентацией, и обрабатываемая жидкость перемещается сверху вниз от входа между стенками 102, 104 к нижней части реактора 100 и может быть собрана в емкости 116. Так как жидкость предпочтительно перемещается по существу в вертикальном направлении, она имеет тенденцию оставаться по центру внутренней полости, при этом обеспечивается равномерный нагрев указанной жидкости.

[35]

Согласно другому варианту осуществления (не показан) стенки могут не быть параллельными, при этом они могут быть выполнены в форме перевернутой буквы V, максимально сближаясь друг с другом в верхней части, где подают плоскую струю жидкости. Альтернативно, они могут характеризоваться V-образной формой, максимально отдаляясь друг от друга в верхней части, где подают плоскую струю жидкости.

[36]

Внутренние поверхности 106, 108 стенок 102, 104 могут быть нагреты до одинаковой температуры или различных температур при помощи различных технологий. Например, стенки 102, 104 могут быть нагреты при помощи одного или нескольких нагревательных элементов, таких как нагревательные элементы 150, которые могут быть нагревательными рубашками (например, паровыми рубашками или рубашками с другой нагретой текучей средой) вокруг одной или нескольких из наружной или внутренней поверхностей стенок. Альтернативно, стенки 102, 104 могут быть нагреты с использованием электрообогрева или посредством прохождения нагретой текучей среды через внутреннюю часть стенок. Согласно иллюстративным вариантам осуществления настоящего изобретения стенки 102, 104 нагревают до температуры приблизительно 150°F-200°F, однако они могут быть нагреты до любой подходящей температуры.

[37]

Хотя реактор 100 представлен на фигурах с двумя параллельными вертикальными стенками, реактор согласно настоящему изобретению может содержать более двух стенок и несколько внутренних полостей, при этом одна полость ограничена между каждыми двумя поверхностями стенок. Каждая внутренняя полость, ограниченная двумя поверхностями стенок, может содержать один или несколько сопловых аппаратов на входе в полость, так что плоский поток, выходящий из одного или нескольких сопловых аппаратов, проходит по существу по центру внутренней полости, равноудалено от каждой поверхности стенки.

[38]

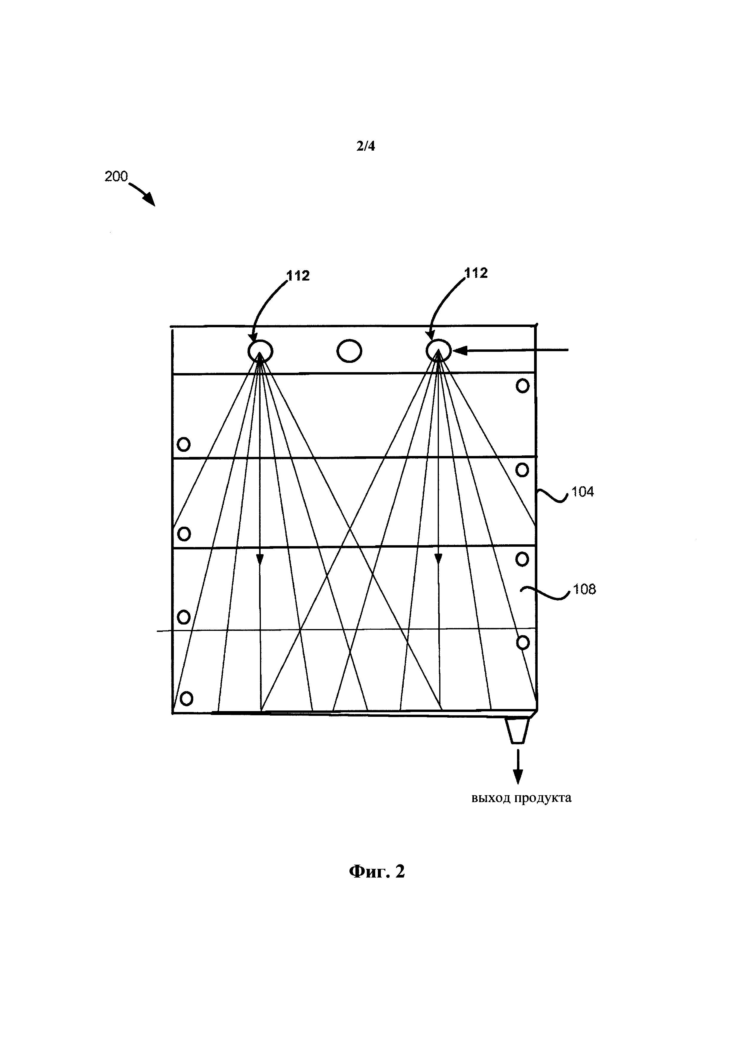
Сопловый аппарат 112 расположен на входе во внутреннюю полость 110. Сопловый аппарат 112 преобразует входящий поток жидкости (например, цилиндрический или конический поток), протекающий в первом направлении, в плоский поток, протекающий во втором направлении. Согласно изображенному примеру второе направление перпендикулярно первому направлению. На фиг. 3 более подробно представлен иллюстративный сопловый аппарат 112. Сопловый аппарат 112 содержит входное отверстие 302 на первом конце 304, конический конец 306 на конце канала 308 между первым концом 302 и коническим концом 306. Входное отверстие 302 и канал 308 могут характеризоваться диаметром приблизительно 1-3 мм. Сопловый аппарат 112 также содержит внутреннюю конструкцию 310, которая принимает жидкость из канала 308 или конического конца 306 (например, в виде струи, характеризующейся цилиндрической или конической формой) и преобразует жидкость в струю плоской формы, как представлено на фиг. 2, которая выходит из конца 312 внутренней конструкции 310. Толщина плоской струи, выходящей из соплового аппарата, может составлять не более чем 5 мм, не более чем 10 мм, не более чем 20 мм или не более чем 30 мм.

[39]

Внутренняя конструкция 310 может содержать, например, плоскую пластину, которая может быть выполнена в форме диска. Внутренняя конструкция 310 содержит переднюю кромку 318, удаленную от конца 312. Согласно иллюстративным аспектам этих вариантов осуществления скорость изменения давления от передней кромки до задней кромки составляет по меньшей мере приблизительно от 105 Па/сек до 1010 Па/сек. Объем жидкости, выходящей из соплового аппарата 112 может составлять, например, приблизительно от 500 литр/час до 1000 литр/час или более. Сопловый аппарат 112 может быть выполнен из любого подходящего материала, такого как пищевая нержавеющая сталь.

[40]

Сопловый аппарат 112 может быть прикреплен к одной или нескольким стенкам 102, 104 при помощи любой подходящей технологии. В качестве примера, сопловый аппарат 112 может содержать кольцевую прокладку 314, зажимной диск 316 и крепежный механизм, такой как винт 318, для прикрепления соплового аппарата 112 к стенке 104. Сопловый аппарат 112 может быть закреплен таким образом, чтобы струя из соплового аппарата 112 была выровнена по центру между поверхностями 106, 108 соответственно стенок 102 и 104, как представлено на фиг. 1-2.

[41]

Согласно иллюстративным вариантам осуществления настоящего изобретения сопловый аппарат 112 сконструирован таким образом, чтобы создавать капли, характеризующиеся диаметром в целом не более приблизительно 0,3 мм (хотя возможно, что некоторые капли будут превышать этот диаметр даже в предпочтительном варианте осуществления). Скорость капель в реакторе может составлять приблизительно 10 м/сек или более, хотя она может меняться согласно требуемым рабочим параметрам.

[42]

Источник вакуума 114 может содержать любой подходящий вакуумный насос. Источник вакуума или насос 114 может быть выполнен для обеспечения давления во внутренней полости 110, характеризующегося любой подходящей величиной, предпочтительно от менее одной атмосферы до приблизительно 0,25 Па. Давление во внутренней полости 110 выбирают для обеспечения быстрого перепада давления за единицу времени для уничтожения микроорганизмов, когда жидкость выходит из соплового аппарата и входит во внутреннюю полость.

[43]

Скорость перепада давления, которому подвергается жидкость, может колебаться в широких пределах. Например, скорость перепада давления может составлять приблизительно 105 Па/сек или более, или приблизительно 109 Па/сек или более, или от 105 Па/сек до 1010 Па/сек. Для того чтобы обеспечить необходимый перепад давления, поступающая в сопловый аппарат 112 жидкость может быть под повышенным давлением.

[44]

На фиг. 4 представлен способ 400 обработки жидкости согласно дополнительным вариантам осуществления настоящего изобретения. Способ 400 предусматривает стадии предоставления реактора, характеризующегося наличием полости между двумя параллельными стенками (стадия 402), нагрева каждой из двух параллельных стенок (стадия 406) и подачи плоской струи жидкости (например, жидкого пищевого продукта) в полость (стадия 408). Хоть это и не показано на фигурах, способ 400 может также предусматривать создание вакуума во внутренней полости, обработку жидкого продукта химически активными газами или компонентами, или веществами, такими как один или несколько химически активных газов, включающих один или более газов, выбранных из группы, состоящей из кислорода, хлора и фтора, которые уничтожают бактерии.

[45]

Стадия 402 включает стадию предоставления реактора, характеризующегося наличием по меньшей мере двух параллельных стенок. Реактор может представлять собой реактор 100, описанный выше, и может содержать более двух параллельных стенок.

[46]

На стадии 406 осуществляют нагрев параллельных стенок реактора. Как отмечалось выше, стенки могут быть нагреты, например, с использованием одной или нескольких нагревательных рубашек вокруг одной или нескольких из наружной или внутренней поверхностей стенок, или они могут быть нагреты любым другим подходящим способом, таким как пропускание горячей текучей среды через внутреннюю часть стенок.

[47]

Во время стадии 408 плоскую струю жидкости подают в полость. Жидкость может поступать в сопловый аппарат при температуре от приблизительно 10°С до приблизительно 100°С или от приблизительно 50°С до приблизительно 75°С, и жидкий продукт могут распылять в виде капель, характеризующихся диаметром в целом не более приблизительно 0,3 мм (хотя возможно, что некоторые капли будут превышать этот диаметр даже в предпочтительном варианте осуществления). Жидкость могут также подавать под повышенным давлением на первом конце соплового аппарата перед входом в полость. Воздействие скорости изменения давления вместе с нагревом от стенок является достаточным для уничтожения заданных микроорганизмов или снижения количества микроорганизмов до заданного уровня, который часто установлен государственным стандартом. Скорость изменения давления, воздействующая на жидкость, может широко варьировать, и предпочтительные значения скорости изменения давления указаны выше. Предпочтительная скорость капель в полости также указана выше и варьирует согласно требуемым рабочим параметрам.

[48]

Стадии согласно настоящему способу могут быть выполнены в любом порядке, подходящем для получения требуемого конечного продукта.

[49]

Жидкость нагревают до температуры, которая не вызывает в ней качественных изменений, при этом такие температуры присущи индивидуально каждому жидкому продукту и известны специалисту в данной области техники.

[50]

Хоть это и не показано на фигурах, способ 400 может предусматривать дополнительную стадию добавления нагревающей текучей среды, такой как воздух или пар, во внутреннюю полость для дополнительного нагрева обрабатываемой жидкости. При использовании нагрева в дополнение к нагретым стенкам, жидкость могут нагревать с использованием перегретого водяного пара или горячего воздуха. Дополнительно или альтернативно, в случае применения к жидкости дополнительного нагрева, жидкость могут нагревать с использованием любого другого подходящего способа, такого как нагрев при помощи инфракрасного излучения или ультразвуковой частоты.

[51]

Обрабатываемая жидкость вместе с любым паром, который может быть использован, могут быть направлены в охлаждающую камеру, в которой избыток воды необязательно удаляют при помощи конденсатора и вакуумного насоса, известного из уровня техники, и жидкий продукт охлаждают до заданной температуры.

[52]

Использование настоящего изобретения обеспечивает микробиологическую стабильность обработанного жидкого продукта при сохранении качественных характеристик жидкого продукта на их первоначальных уровнях или близко к их первоначальным уровням. Это является особенно значимым при промышленном производстве жидких продуктов, таких как молоко, соки (например, восстановленные соки или соки прямого отжима (NFC)), нектары и другие продукты.

[53]

Дополнительно, после того как жидкость прошла обработку с использованием устройства и способа согласно настоящему изобретению, она может быть повторно обработана с использованием стандартного способа пастеризации или стерилизации.

[54]

Ниже представлены иллюстративные сочетания элементов аспектов настоящего изобретения:

[55]

1. Реактор для снижения количества патогенных микроорганизмов в жидкости, причем указанный реактор содержит:

[56]

(a) внутреннюю полость;

[57]

(b) вход во внутреннюю полость;

[58]

(c) две расположенные на расстоянии одна от другой стенки, при этом каждая стенка характеризуется наличием внутренней поверхности, и указанные внутренние поверхности ограничивают пространство, причем указанное пространство ограничивает часть или всю внутреннюю полость;

[59]

(d) один или несколько нагревательных элементов, предназначенных для нагрева каждой из внутренних поверхностей стенок; и

[60]

(e) сопловый аппарат на входе, причем указанный сопловый аппарат характеризуется наличием входного отверстия, в которое поступает жидкий пищевой продукт, и выходного отверстия во внутреннюю полость, через которое жидкий пищевой продукт поступает в полость, при этом указанный сопловый аппарат выполнен с возможностью выпуска плоского потока жидкости во внутреннюю полость.

[61]

2. Реактор согласно примеру 1, в котором внутренние поверхности стенок выполнены параллельными.

[62]

3. Реактор согласно примеру 2, в котором параллельные внутренние поверхности стенок характеризуются вертикальной ориентацией.

[63]

4. Реактор согласно примерам 1-3, в котором сопловый аппарат расположен по центру между внутренними поверхностями каждой стенки.

[64]

5. Реактор согласно любому из примеров 1-4, в котором в верхней части реактора выполнен вход, и плоская струя направлена сверху вниз.

[65]

6. Реактор согласно любому из примеров 1 или 4, в котором внутренние поверхности выполнены непараллельными.

[66]

7. Реактор согласно примеру 6, в котором внутренние поверхности характеризуются вертикальной ориентацией.

[67]

8. Реактор согласно примеру 7, в котором внутренние поверхности расположены ближе одна к другой в верхней части, чем в нижней части.

[68]

9. Реактор согласно примеру 7, в котором внутренние поверхности расположены ближе одна к другой в нижней части, чем в верхней части.

[69]

10. Реактор согласно любому из примеров 1-9, который содержит несколько внутренних поверхностей, причем между каждой парой смежных внутренних поверхностей ограничена внутренняя полость, и сопловый аппарат расположен на входе каждой внутренней полости.

[70]

11. Реактор согласно примеру 10, который содержит несколько сопловых аппаратов и по меньшей мере один сопловый аппарат расположен по центру каждой внутренней полости.

[71]

12. Реактор согласно примеру 11, в котором каждый сопловый аппарат расположен на входе в верхней части реактора, причем сопловый аппарат выполнен с возможностью выпуска плоской струи сверху вниз во внутреннюю полость.

[72]

13. Реактор согласно примеру 11, в котором по меньшей мере один из нескольких сопловых аппаратов расположен по центру каждой внутренней полости.

[73]

14. Реактор согласно любому из примеров 1-13, который дополнительно содержит емкость в нижней части реактора для сбора жидкости.

[74]

15. Реактор согласно примеру 1, который содержит одно или несколько отверстий для ввода пара или горячего воздуха во внутреннюю полость.

[75]

16. Реактор согласно примеру 3, который содержит одно или несколько отверстий для ввода пара или горячего воздуха во внутреннюю полость.

[76]

17. Реактор согласно примеру 10, который содержит одно или несколько отверстий для ввода пара или горячего воздуха в каждую из внутренних полостей.

[77]

18. Реактор согласно любому из примеров 1-17, в котором каждая внутренняя поверхность нагрета до 160°F-200°F.

[78]

19. Реактор согласно любому из примеров 1-18, в котором температура каждой внутренней полости составляет 48°С-82°С.

[79]

20. Реактор согласно любому из примеров 1-18, в котором температура каждой внутренней полости составляет 50°С-72°С.

[80]

21. Реактор согласно любому из примеров 1-18, в котором температура каждой внутренней полости ниже температуры пастеризации жидкости.

[81]

22. Реактор согласно любому из примеров 1-21, в котором давление жидкости изменяется со скоростью от 105 до 1010 Па/сек при перемещении жидкости через сопловый аппарат и во внутреннюю полость.

[82]

23. Реактор согласно любому из примеров 1-21, в котором давление жидкости изменяется со скоростью от 109 Па/сек или более при перемещении жидкости через сопловый аппарат и во внутреннюю полость.

[83]

24. Реактор согласно любому из примеров 1-23, в котором струя жидкости состоит из капель диаметром 0,3 мм или менее.

[84]

25. Реактор согласно любому из примеров 1-24, в котором скорость струи жидкости составляет 103 м/сек или более.

[85]

26. Реактор согласно любому из примеров 1-25, в котором жидкость нагрета до входа в сопловый аппарат.

[86]

27. Реактор согласно любому из примеров 1-26, в котором скорость нагрева жидкого продукта, выходящего из соплового аппарата, не превышает 1100°С/сек.

[87]

28. Реактор согласно любому из примеров 1-27, в котором сопловый аппарат характеризуется наличием полости, при этом сопловый аппарат связан по текучей среде с полостью, и сопловый аппарат предназначен для создания плоской струи из цилиндрического или конического потока жидкости, причем указанный реактор содержит блок для регулирования вакуума, связанный с полостью, и блок для регулирования вакуума и сопловый аппарат вызывают изменение давления в жидком продукте, поступающем во внутреннюю полость.

[88]

29. Реактор согласно любому из примеров 1-28, в котором температура жидкости, поступающей в сопловый аппарат, на 10°С-20°С меньше температуры жидкости, выходящей из соплового аппарата.

[89]

30. Реактор согласно любому из примеров 1-29, в котором сопловый аппарат прикреплен к стенке, внутренняя поверхность которой участвует в ограничении внутренней полости.

[90]

31. Реактор согласно любому из примеров 1-30, в котором сопловый аппарат содержит входное отверстие, центральную часть и выходное отверстие, расположенное под углом 45°-90° от входного отверстия.

[91]

32. Реактор согласно примерам 30-31, в котором сопловый аппарат содержит внутреннюю конструкцию, которая содержит плоскую пластину, которая преобразует в целом цилиндрический поток жидкости в плоскую струю.

[92]

33. Сопловый аппарат для применения в реакторе для стерилизации жидкости, причем указанный сопловый аппарат содержит входное отверстие, внутреннюю конструкцию, которая содержит плоскую пластину, которая преобразует цилиндрический поток в плоскую струю, и выходное отверстие, расположенное под углом относительно входного отверстия.

[93]

34. Сопловый аппарат согласно примеру 33, в котором плоская пластина выполнена в форме диска.

[94]

35. Способ стерилизации жидкого пищевого продукта, причем указанный способ предусматривает стадии:

[95]

(a) предоставления реактора с полостью между двумя параллельными стенками;

[96]

(b) создания вакуума в полости;

[97]

(c) нагрева каждой из двух параллельных стенок; и

[98]

(d) подачи плоской струи жидкого пищевого продукта в полость.

[99]

36. Способ согласно примеру 35, в котором каждую из двух параллельных стенок нагревают до одинаковой температуры.

[100]

37. Способ согласно примеру 35, в котором давление вакуума составляет 0,25 Па.

[101]

38. Способ согласно примеру 35, в котором жидкий пищевой продукт находится под повышенным давлением перед выпуском в полость.

[102]

39. Способ согласно примеру 35, в котором струя состоит из капель.

[103]

40. Способ согласно примеру 35, в котором цилиндрический или конический поток жидкого пищевого продукта преобразуют в плоскую струю перед подачей в полость.

[104]

41. Способ обработки жидкого продукта, в котором жидкий продукт распыляют в полость реактора в виде плоской струи, при этом скорость изменения давления в жидкости является достаточной для снижения количества предварительно выбранных микроорганизмов до заданного уровня.

[105]

42. Способ согласно примеру 35, в котором скорость изменения давления в жидком продукте составляет приблизительно 105 Па/сек или более.

[106]

43. Способ согласно примеру 39, в котором скорость капель составляет приблизительно 10 м/сек или более.

[107]

44. Способ согласно примеру 35, дополнительно предусматривающий стадию нагрева жидкого продукта с использованием нескольких вертикальных нагретых стенок.

[108]

45. Способ согласно примеру 35, в котором стадию нагрева выполняют при давлении ниже внешнего давления.

[109]

46. Способ согласно примеру 35, дополнительно предусматривающий стадию добавления нагретой текучей среды в жидкий продукт.

[110]

47. Способ согласно примеру 35, в котором скорость нагрева жидкого продукта не превышает 1100°С/сек.

[111]

48. Устройство для осуществления способа обработки жидкого продукта под давлением, причем указанное устройство содержит полость, сопловый аппарат, связанный по текучей среде с полостью, при этом указанный сопловый аппарат предназначен для создания плоской струи из цилиндрического или конического потока жидкости, блок для регулирования вакуума, связанный с полостью, причем блок для регулирования вакуума и сопловый аппарат вызывают изменение давления в жидком продукте, поступающем камеру, составляющее 105 Па/сек или более, и две или более нагретых стенок, которые нагревают жидкость при поступлении жидкости в полость.

[112]

49. Устройство согласно примеру 48, дополнительно содержащее камеру охлаждения.

[113]

50. Устройство согласно примеру 49, отличающееся тем, что стенка состоит из нержавеющей стали.

[114]

51. Устройство согласно примеру 50, отличающееся тем, что сопловый аппарат состоит из нержавеющей стали.

[115]

52. Реактор согласно примеру 1, в котором выходное отверстие соплового аппарата характеризуется диаметром от 1 мм до 3 мм.

[116]

53. Способ согласно примеру 28, дополнительно предусматривающий стадию обработки жидкого продукта химически активными газами или компонентами, или веществами, которые уничтожают бактерии.

[117]

54. Способ согласно примеру 53, в котором один или несколько химически активных газов включают один или более газов, выбранных из группы, состоящей из кислорода, хлора и фтора.

[118]

55. Реактор согласно любому из примеров 1-30, в котором жидкость выбрана из группы, состоящей из (a) пищевого продукта, (b) фармацевтической продукции и (c) вакцины.

[119]

56. Реактор согласно любому из примеров 1-30 или 55, в котором патогенный микроорганизм выбран из одного или более из группы, состоящей из (a) одной или нескольких бактерий или других микроорганизмов, (b) одного или нескольких вирусов и (c) одного или нескольких грибков.

[120]

57. Способ согласно любому из примеров 35-47, в котором жидкость выбирают из группы, состоящей из (a) пищевого продукта, (b) фармацевтической продукции и (c) вакцины.

[121]

58. Способ согласно любому из примеров 35-47 или 57, в котором патогенный микроорганизм выбирают из одного или более из группы, состоящей из (a) одной или нескольких бактерий или других микроорганизмов, (b) одного или нескольких вирусов и (c) одного или нескольких грибков.

[122]

Настоящее изобретение было описано выше со ссылкой на ряд иллюстративных вариантов осуществления и примеров. Следует понимать, что конкретные варианты осуществления, представленные и описанные в настоящем документе, дают представление об иллюстративных вариантах осуществления настоящего изобретения и не направлены на ограничение объема настоящего изобретения. Следует также отметить, что в описанные в настоящем документе варианты осуществления могут быть внесены изменения и модификации без выхода за пределы объема настоящего изобретения. Эти и другие изменения или модификации должны быть включены в объем заявляемого изобретения и его имеющих законную силу эквивалентов.

Как компенсировать расходы
на инновационную разработку
Похожие патенты