Лазерный интерферометр включает источник когерентного монохроматического излучения, коллиматор, светоделитель, разделяющий луч на объектный и опорный пучки. В опорном и объектном пучках установлены акустооптические модуляторы. Опорный и отраженный от исследуемого объекта пучки направляются на общий фотоприемник. Интерферометр содержит линию регулируемой задержки сигнала генератора, которая выполнена в виде ступенчатого фазосдвигателя. Технический результат заключается в повышении точности измерения и помехоустойчивости. 3 з.п. ф-лы, 7 ил.
1. Лазерный интерферометр, включающий источник когерентного монохроматического излучения, коллиматор, светоделитель, установленный с возможностью разделения лазерного луча на объектный и опорный пучки и направления объектного пучка на исследуемый объект, а опорного пучка - через модулятор, с последующим направлением опорного и отраженного от исследуемого объекта объектного пучков на общий фотоприемник, при этом модулятор оснащен генератором, соединенным с блоком управления, отличающийся тем, что интерферометр снабжен вторым модулятором, идентичным первому и установленным между светоделителем и исследуемым объектом с возможностью прохождения через него объектного пучка, оба модулятора выполнены в виде акустооптических модуляторов и соединены с общим генератором, выполненным в виде частотного генератора, а блок управления снабжен линией регулируемой задержки сигнала генератора, установленной между генератором и одним из модуляторов. 2. Лазерный интерферометр по п. 1, отличающийся тем, что линия регулируемой задержки сигнала генератора выполнена в виде ступенчатого фазосдвигателя. 3. Лазерный интерферометр по п. 1, отличающийся тем, что линия регулируемой задержки сигнала генератора установлена между генератором и модулятором опорного пучка. 4. Лазерный интерферометр по п. 1, отличающийся тем, что линия регулируемой задержки сигнала генератора установлена между генератором и модулятором объектного пучка.
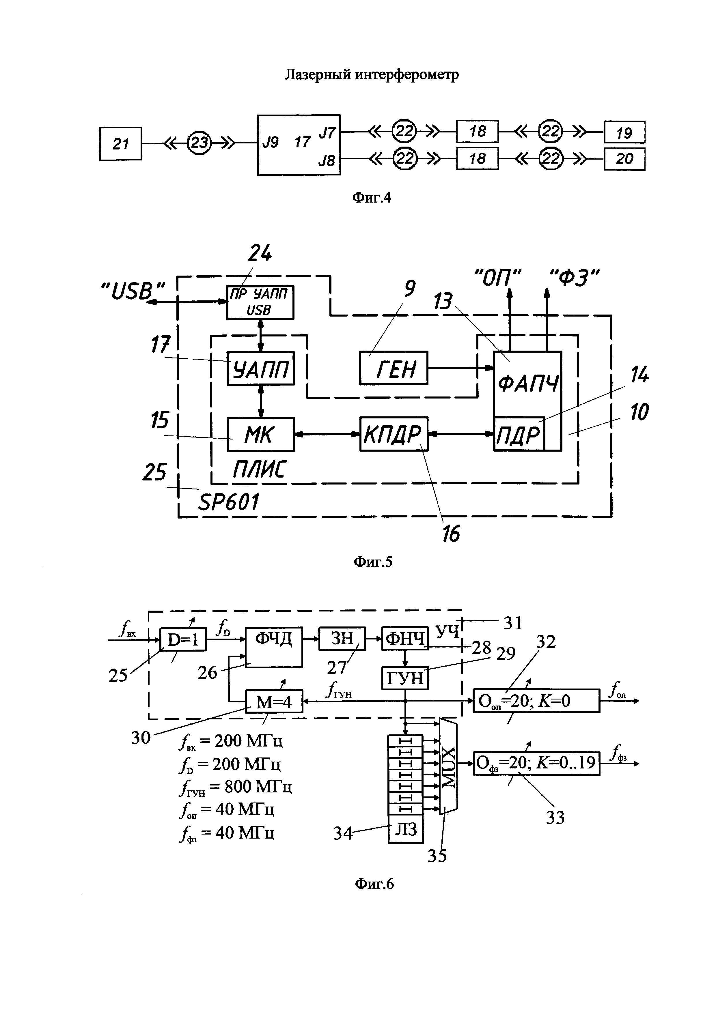
Изобретение относится к измерительной технике, в частности к лазерным интерферометрам с управляемым фазовым сдвигом между двумя когерентными монохроматическими световыми волнами. Устройства управления фазовым сдвигом широко применяются в лазерных интерферометрах, построенных по разнообразным оптическим схемам (интерферометры с управляемым фазовым сдвигом (УФС) по схеме Линника [см., например, Григорьев С.Н., Телешевский В.И., Андреев А.Г., Игнатьев П.С., Индукаев К.В., Кольнер Л.С., Осипов П.А. Метрологическая аттестация лазерных микроскопов на основе принципов модуляционной интерферометрии с управляемым фазовым сдвигом // Вестник МГТУ «СТАНКИН», 2015, №3(34), с. 67-75], по схеме Кестерса [см., например, G. Michalecki, Automatic Calibration of Gange blocks Measured by Optical Interferometry, Measurement Science Review, 2001, Vol. 1, №1, p. 93-96], по схеме Физо и Тваймана-Грина [P. de Groot, Jim Biegen et. al. Optical Interferometry for measurement of the geometric dimensions of industrial parts // Applied Optics. 2002, vol. 41, №19, p. 3853-3860] и др.). Отметим, что модуляционный интерференционный микроскоп с УФС обеспечивает восстановление объекта с разрешением 0,1 нм по вертикали и до 10 нм в латеральной плоскости. Интерферометр Кестерса с УФС восстанавливает поверхность прецизионной концевой меры с разрешением до 10 нм. Известно устройство механико-оптического управления фазовым сдвигом в интерференционных системах (Патент US 20150304616 A1, опубл. 22.10.2015). Приведенная выше установка содержит подвижную стеклянную пластину со ступенчато переменными плоскопараллельными поверхностями образуемыми с помощью специальной формы покрытия, через которые свет в объектном пучке проходит с различными фазовыми задержками. К недостаткам известного технического решения следует отнести: - сложность получения большого количества фазовых шагов (более трех); - снижение интенсивности лазерного излучения после прохождения разных участков фазосдвигающей маски, ведущее к более сложным алгоритмам интерпретации получаемых данных. Известно устройство фазовой компенсации дрейфа частоты в интерференционных системах (Патент WO 2013056726, опубл. 25.04.2013). Изобретение относится к области оптических измерений и реализует способ компенсации дрейфа частоты опорного источника энергии в спектрометрическом приборе на основе FT-интерферометра. Устройство включает в себя арифметический блок данных, сравнивающий сигнал, который был сгенерирован для отражения положения движущегося оптического элемента интерферометра, и представляющий собой опорную интерферограмму, с сигналами, представляющими собой целевую интерферограмму, записанную FT-интерферометром в ответ на запускающий сигнал, который был сгенерирован для отражения положения подвижного оптического элемента интерферометра. Опорная и целевая интерферограммы сравниваются в арифметическом блоке для определения сдвига по фазе между интерферограммами по меньшей мере в одной области вдали от центрального всплеска. На основе полученных данных в арифметическом блоке генерируется математическое преобразование, зависящие от величины фазового сдвига или сдвигов. Математическое преобразование используется для управления действием спектрометрического прибора для получения интерферограммы неизвестного образца. К недостаткам известного технического решения следует отнести малое число реализуемых сдвигов (от 2 до 4); Наиболее близким к заявленному техническому решению как по технической сути, так и по достигаемому результату - прототипом - является реализованный в рамках устройства для получения изображения микрорельефа объекта лазерный интерферометр, включающий источник когерентного монохроматического излучения, оптическую схему для его разделения на опорный и предметный световые пучки и их направления на объект измерения и опорную поверхность с формированием в них за счет пьезоэлектрического механического перемещения опорного зеркала фазового сдвига Δϕ, предназначенного для интерпретации интерференционной картины при отражении опорного и предметного световых пучков на фотоприемнике (Патент РФ №2495372 С1, опубл. 10.10.2013). Техническое решение по прототипу характеризуется тем, что: - для определения фазы объектного пучка на пикселе фотоприемника определяют не менее трех значений энергии, воспринятой пикселем фотоприемника за время экспозиции, при различных значениях фазы опорного пучка; - для определения не менее одного значения воспринятой пикселем энергии получают зависимость освещенности пикселя от времени при изменении положения фазового модулятора и интегрируют полученную зависимость на интервале времени экспозиции; - для каждого пикселя получают серию промежуточных значений фазы объектного пучка при различном текущем сдвиге фазы опорного пучка; - сдвиг фаз реализуется управляемым сдвигом фазы опорного пучка (возможно также - объектного пучка), который осуществляют путем изменения длины оптического пути опорного пучка при механическом перемещении опорного зеркала. Анализ прототипа и ряда сходных с ним технических решений, описанных выше, позволяет выявить несколько общих недостатков. Во-первых, указанные технические решения не позволяют реализовывать фазовые сдвиги высокой точности с дискретностью 1 нм и ниже. Так, несмотря на разнообразие применений в различных интерференционных схемах, само осуществление фазового сдвига реализуется одним известным способом-установкой в одно из плеч двухлучевого интерферометра (как правило, в опорное плечо) электромеханического двигателя (актуатора), на котором закреплено одно из зеркал интерферометра. Электромеханический актуатор под действием электрического напряжения или тока осуществляет смещение зеркала на определенную величину в пространстве, т.е. сдвигает пространственную фазу опорной волны и, следовательно, всей интерференционной картины. Применяются разнообразные актуаторы: пьезоэлектрические на основе пьезострикции, возникающей при обратном пьезоэффекте, магнитострикционные, использующие эффект гигантской магнитострикции, электродинамические на обратном эффекте электромагнитной индукции. Наибольшее распространение в современной интерферометрии управляемого фазового сдвига получили пьезоэлектрические актуаторы на основе пьезокерамики. Широкое разнообразие таких пьезодвигателей и платформ демонстрирует фирма Physik Instrumente (Германия) [http://www.physikinstrumente.com/products.html], к продукции которой относятся актуаторы с нанометровым разрешением по позиционированию и субмиллисекундным временем отклика (в частности, модель актуатора Р-602 обладает диапазоном перемещений 1 мм и минимальным гарантированным шагом дискретизации 6 нм, а Р-842 - диапазоном перемещений 90 мкм, минимальным гарантированным шагом дискретизации 1 нм). Однако точность позиционирования пьезокерамических актуаторов недостаточна и количество реализуемых управляемых сдвигов обычно составляет от 3-7 до 11. На этот факт также обращается внимание на стр.159 в вышеназванном источнике [В. Васильев, И. Гуров. Компьютерная обработка сигналов в приложении к интерференционным системам. - Спб.: БХВ-Санкт-Петербург, 1998 - 240 с. (глава 5, стр. 153-167)], где указывается, что для повышения точности и помехоустойчивости обработки результатов измерений число управляемых фазовых сдвигов должно быть увеличено. Известны также такие свойства пьезокерамики, как наличие гистерезиса, старение, что также приводит к дополнительным погрешностям во времени и пространстве. Ограничение по числу сдвигов является препятствием для более точного восстановления структуры поверхности объекта. Увеличение числа управляемых сдвигов до десятков-сотен и более в пределах длины световой волны позволит создать новые алгоритмы обработки интерференционной картины, уменьшающие погрешности, связанные с нелинейными искажениями, шумами и другими факторами, обусловленными амплитудно-фазовым характером обработки интерференционных изображений. Во-вторых, важным фактором, ограничивающим развитие метода управляемого фазового сдвига, является недостаточное быстродействие. Этот фактор в пьезоэлектрических актуаторах связан с тем, что смещение интерференционной картины достигается механическим перемещением опорного зеркала в пространстве от электрически возбуждаемого пьезоэлемента, то есть электромеханически. При этом сигнал управления фазовым сдвигом представляет собой либо постоянное напряжение (для пьезоэлектрического актуатора), либо постоянный ток (для магнитострикционных или электродинамических актуаторов), значения которых задаются контроллером управления. Таким образом, управление механическим перемещением опорного (или объектного) зеркала интерферометра в пространстве осуществляется наименее помехоустойчивым амплитудным способом. Это обстоятельство принципиально, а возможности пьезокерамики с ее высокой диэлектрической проницаемостью не беспредельны. Механическому перемещению зеркала свойственна инерционность, что ограничивает распространение метода управляемого фазового сдвига на динамические измерения объектов с переменным во времени и пространстве профилем, структурой, положением и т.д. К недостаткам стрикционных пьезоэлектрических актуаторов следует отнести свойственный им гистерезис, нелинейности функции преобразования напряжения при перемещении, необходимость высокой стабилизации постоянного электрического сигнала сдвига в широком диапазоне значений (до десятков и сотен вольт). С учетом изложенного задача изобретения - исключение из состава действий, управляющих фазовым сдвигом в интерференционных системах, механических перемещений. Для этого требуется создать систему управления, реализуемую не за счет колебаний амплитуды электрического сигнала, а за счет контролируемого сдвига электрической фазы управляющего сигнала. Технический результат - повышение надежности за счет повышения точности и помехоустойчивости. Поставленная задача решается, а заявленный технический результат достигается тем, что в лазерном интерферометре, включающем источник когерентного монохроматического излучения, коллиматор, светоделитель, установленный с возможностью разделения лазерного луча на объектный и опорный пучки и направления объектного пучка на исследуемый объект, а опорного пучка - через модулятор, с последующим направлением опорного и отраженного от исследуемого объекта объектного пучков на общий фотоприемник, при этом модулятор оснащен генератором, соединенным с блоком управления, интерферометр снабжен вторым модулятором, идентичным первому и установленным между светоделителем и исследуемым объектом с возможностью прохождения через него объектного пучка, оба модулятора выполнены в виде акустооптических модуляторов и соединены с общим генератором, выполненным в виде частотного генератора, а блок управления снабжен линией регулируемой задержки сигнала генератора, установленной между генератором и одним из модуляторов: модулятором опорного пучка или модулятором объектного пучка, при этом оптимально линию регулируемой задержки сигнала генератора выполнять в виде ступенчатого фазосдвигателя. Изобретение иллюстрируется графическими материалами, где: - на Фиг. 1 представлена реализованная в изобретении схема управления акустооптическим взаимодействием - дефракцией света на ультразвуке; - на Фиг. 2 представлен акустооптический модулятор; - на Фиг. 3 представлена схема управления фазовым сдвигом; - на Фиг. 4 представлено подключение комплекта «SP601 Evaluation Kit», на основе которого реализован фазосдвигатель, к компьютеру и АОМ; - на Фиг. 5 представлена укрупненная структурная схема фазосдвигателя, реализованная в ПЛИС комплекта SP601; - на Фиг. 6 представлена структура подсистемы ФАПЧ, реализованная в ПЛИС семейства Spartan-6 компании Xilinx; - на Фиг. 7 представлена схема преобразования сигналов на выходе умножителя частоты УЧ. В основе заявленного лазерного интерферометра лежит явление акустооптического взаимодействия - дефракции света на ультразвуке [Магдич Л.Н., Молчанов В.Я. Акустооптические устройства и их применение // Советское радио, М., 1978, с. 5-с. 8]. Сущность этого явления иллюстрируется на Фиг. 1. Исходное излучение лазера 1 посредством коллиматора 2 направляется на светоделитель 3 и зеркало 4, формирующие параллельные световые пучки 5 и 6. Пучки 5 и 6 направляются на/через акустооптические модуляторы (АОМ) 7 и 8, установленные таким образом, чтобы на выходе из них образовались одинаковые дифракционные спектры. В этом случае свет дифрагирует в 0 и +1 порядки дифракции как на модуляторе 7, так и на модуляторе 8. Дифракционные максимумы +1 порядков на модуляторе 7 - плоская световая волна E1 - и на модуляторе 8 - плоская световая волна E2 - вводятся в оптическую схему интерферометра как интерферирующие световые волны в ЛИИС. Возбуждение АОМ 7 и АОМ 8 осуществляется генератором 9, однако между сигналами, поступающими на АОМ от общего генератора 9, установлено фазосдвигающее устройство (ФС) 10, дискретно управляемое электронным способом от блока управления (БУ) 11. Особенностью акустооптического взаимодействия является перенос фазы электрического возбуждения модулятора в фазу оптической световой волны в дифракционном порядке. Проиллюстрируем эту особенность (Фиг. 2). При брэгговской дифракции возможны две схемы акустооптического взаимодействия. На Фиг. 2 слева представлен акустооптический модулятор 7, в котором от электронного генератора 9 на частоте Из теории связанных волн [Kogelnik Н. Coupled wave theory for thick hologram gratings // Bell System Technical Journal, 1969, p. 2909-2949] вытекает важное свойство брэгговской дифракции: в нулевом дифракционном порядке E(0)=E` exp[-i(ω0t+ψ0)], где E` - амплитуда световой волны, ω0=2πν0, ψ0 - постоянный фазовый сдвиг, фаза световой волны не зависит от фазы возбуждающего ультразвукового напряжения. В то же время фаза световой волны в +1 порядке дифракции зависит от фазы электрического гармонического колебания U(t)=U0cos(Ωt+ϕ), где U0 - амплитуда, Содержащаяся в (1) и (2) фаза ϕ есть фаза электрического возбуждающего ультразвук напряжения U1 (предметный пучок) и U2 (опорный пучок): U0 - амплитуда опорных колебаний. Значение сдвига фаз в возбуждающем напряжении U1 можно изменять в ФС 10 (Фиг. 1) шагами программно от блока управления БУ 11. По существу устройство ФС10 должно быть сформировано как цепь линий задержек Δtk, подключаемых от системы управления по заданной программе. Тогда каждая элементарная линия задержки создает фазовый сдвиг между интерферирующими в ЛИИС световыми волнами E1 и E2 (Фиг. 1) где k=0, 1, …, n - число произведенных фазовых шагов. Возбуждение ультразвука на акустооптических модуляторах, как правило, предусматривается на частоте, равной десяткам-сотням МГц, а скорость ультразвука в АОМ (например, на парателлурите) составляет порядка 700 м/с, максимальное время отклика составит не более 10 мкс, что не менее чем на порядок меньше времени отклика известных пьезоэлектрических актуаторов. Это означает существенное повышение быстродействия интерферометрии с электронно управляемым фазовым сдвигом. Количество фазовых сдвигов, реализуемых в предлагаемом лазерном интерферометре, не ограничено, так как число задержек может быть велико (десятки, сотни и более). Так, приведенный ниже фазосдвигатель на основе оценочного комплекта «SP601 Evaluation Kit» обеспечивает генерацию двух цифровых сигналов частотой 40 МГц с управляемым фазовым сдвигом, которые используются для возбуждения акустооптических модуляторов. Управление фазовым сдвигом осуществляется по интерфейсу USB. Дискретность задания фазового сдвига составляет Δϕk=360°/160=2,25°, что в пересчете на длину волны для гелий-неонового лазера (632,8 нм) дает дискретность сдвига оптических фаз порядка 3,96 нм, эксимерных лазеров на парах фтора (длина волны 157 нм) - дискретность сдвига фаз 0,98 нм.. Это обстоятельство позволит существенно повысить точность восстановления 3D-структуры поверхности контролируемого объекта и разрешающую способность при использовании заявленного устройства. При этом управляемый фазовый сдвиг осуществляется не изменением амплитуды постоянного напряжения в десятки-сотни вольт (как это имеет место в вышерассмотренных аналогах и прототипе), а дискретно-низковольтными сигналами с постоянной амплитудой от компьютера, что гарантирует многократное (на порядок и выше) повышение помехоустойчивости. Ниже представлены возможные средства для реализации заявленного технического решения. Схема управления фазовым сдвигом представлена на Фиг. 3. АОМ 7 и АОМ 8 (Фиг. 1) идентичны и возбуждаются от общего генератора 9 с той лишь разницей, что в цепь возбуждения одного из АОМ включен фазосдвигатель 10. Основным элементом фазосдвигателя, осуществляющим фазовый сдвиг между опорным сигналом «ОП», который возбуждает опорный АОМ (например, АОМ 7 на Фиг. 1), и фазовым сигналом «ФЗ», который возбуждает фазосдвигающий АОМ (на Фиг. 1 - АОМ 8), является подсистема фазовой автоподстройки частоты 13 (ФАПЧ). Входной сигнал на подсистему ФАПЧ подается с генератора 9 (ГЕН). Управление параметрами ФАПЧ осуществляется через порт динамической реконфигурации 14 (ПДР). В качестве управляющего устройства фазосдвигателя выступает микроконтроллер 15 (МК), который управляет параметрами ФАПЧ с помощью контроллера порта динамической реконфигурации 16 (КПДР), подключенного к ПДР ФАПЧ. МК принимает команды и выдает признаки подтверждения выполнения команд и диагностическую информацию от компьютера через универсальный асинхронный приемопередатчик 17 (УАПП). В качестве примера приводится реализация фазосдвигателя с большим числом управляемых шагов, построенная на основе оценочного комплекта «SP601 Evaluation Kit». Фазосдвигатель предназначен для применения в измерительных системах на основе интерферометрии фазового сдвига. Фазосдвигатель обеспечивает генерацию двух цифровых сигналов частотой 40 МГц с управляемым фазовым сдвигом, которые используются для возбуждения акустооптических модуляторов (АОМ). Управление фазовым сдвигом осуществляется по интерфейсу USB. Дискретность задания фазового сдвига составляет Δϕk=360°/160=2,25°. Подключение комплекта «SP601 Evaluation Kit» (далее - комплект SP601), на основе которого реализован фазосдвигатель, к компьютеру и АОМ показано на Фиг. 4. Цифрами на Фиг. 4 отмечены следующие позиции: 17 - комплект SP601; 18 - усилители-драйверы АОМ; 19 - АОМ опорный; 20 - АОМ фазосдвигающий; 21 - компьютер (управляющий блок БУ1 на Ошибка! Источник ссылки не найден.); 22 - кабельные сборки SMA; 23 - кабель USB. Фазосдвигатель реализован на программируемой логической интегральной схемы (ПЛИС) XC6SLX16-2CSG324 семейства Spartan-6 [http://www.xilinx.com/support/documentation/data_sheets/ds160.pdf]. В качестве элемента управляемого фазового сдвига служит подсистема ФАПЧ. Укрупненная структурная схема фазосдвигателя, реализованная в ПЛИС комплекта SP601, представлена на Фиг. 5. Основным элементом фазосдвигателя, осуществляющим фазовый сдвиг между опорным сигналом «ОП», который возбуждает опорный АОМ, и фазовым сигналом «ФЗ», который возбуждает фазосдвигающий АОМ, является подсистема фазовой автоподстройки частоты 13 (ФАПЧ). Входной сигнал на подсистему ФАПЧ подается с генератора 9 (ГЕН), размещенного на печатной плате 25 комплекта SP601. Управление параметрами ФАПЧ осуществляется через порт динамической реконфигурации 14 (ПДР). В качестве управляющего устройства фазосдвигателя выступает микроконтроллер 15 (МК), который управляет параметрами ФАПЧ с помощью контроллера порта динамической реконфигурации 16 (КПДР), подключенного к ПДР ФАПЧ. МК принимает команды и выдает признаки подтверждения выполнения команд и диагностическую информацию от компьютера через универсальный асинхронный приемопередатчик 17 (УАПП) и преобразователь интерфейсов 24 (ПР УАПП USB). Подсистема ФАПЧ является встроенным в ПЛИС примитивом. Структура подсистемы ФАПЧ, реализованная в ПЛИС семейства Spartan-6 компании Xilinx, представлена на Фиг. 6. На рисунке указаны значения частот сигналов, обрабатываемых ФАПЧ. Входной цифровой сигнал Параметры фазосдвигателя: - номинальная частота сигналов возбуждения опорного АОМ и фазосдвигающего АОМ: 40 МГц; - дискретность фазового сдвига фазового выхода относительно опорного: 2,25°; - уровень электрических сигналов на выходе фазосдвигателя: цифровые сигналы LVCMOS 2,5 В; - выходное сопротивление опорного сигнала и фазового сигнала: номинал 50 Ом (min 32 Ом; max 74 Ом). На Фиг. 7 приведена схема преобразования сигналов на выходе умножителя частоты (УЧ). Для формирования опорного сигнала Фазосдвигающий канал фазосдвигателя устроен следующим образом. Сигнал с выхода ГУН fГУН сначала пропускается через стабилизированную линию задержки 34 (ЛЗ) с параллельными отводами, состоящую из 8 звеньев. Современные технологические возможности микроэлектроники позволяют изготавливать линии задержки с равными задержками звеньев. Однако величина задержка сильно зависит от партии микросхем, напряжения питания и температуры (величина задержки может изменяться в разы). Для стабилизации величины задержки используется схема автоподстройки задержек 36 (АПЗ). На вход АПЗ поступает сигнал непосредственно с выхода ГУН и сигнал На вход счетчика-делителя 41 (Офз) можно подать сигнал с любого отвода ЛЗ путем изменения трехбитного кода S мультиплексора 35 (MUX). Каждый элемент задержки соответствует изменению фазы Таким образом, заявленный лазерный интерферометр может быть реализован на существующей компонентной базе. При этом дискретность задания фазового сдвига составляет Δϕk=360°/160=2,25°, что в пересчете на длину волны для гелий-неонового лазера (632,8 нм) дает дискретность сдвига оптических фаз порядка 3,96 нм, а для эксимерных лазеров на парах фтора (длина волны 157 нм) - дискретность сдвига фаз 0,98 нм. Применение фазосдвигателя не с 160, а с 256 разрядами позволит, в частности, получить дискретность Δϕk=1,4°, что в пересчете на длину волны для эксимерных лазеров на парах фтора дает дискретность сдвига фаз 0,61 нм. Это позволяет существенно повысить точность восстановления 3D-структуры поверхности контролируемого объекта и разрешающую способность лазерного интерферометра, а управляемый фазовый сдвиг осуществляется не изменением амплитуды постоянного напряжения в десятки-сотни вольт (как это имеет место в вышерассмотренных аналогах и прототипе), а дискретно-низковольтными сигналами с постоянной амплитудой от компьютера, что гарантирует повышение помехоустойчивости. Изложенное позволяет сделать вывод о том, что поставленная задача - создание лазерного интерферометра с электронно-управляемым фазовым сдвигом в интерференционных системах, позволяющее исключить из состава управляющих воздействий механические перемещения, - решена, а заявленный технический результат - повышение надежности (достоверности) за счет повышения точности и помехоустойчивости - достигнут. Анализ заявленного технического решения на соответствие условиям патентоспособности показал, что указанные в независимом пункте формулы признаки являются существенными и взаимосвязаны между собой с образованием устойчивой совокупности неизвестных на дату приоритета из уровня техники необходимых признаков, достаточной для получения требуемого синергетического (сверхсуммарного) технического результата. Следовательно, заявленный объект соответствует требованиям условий патентоспособности «новизна», «изобретательский уровень» и «промышленная применимость» по действующему законодательству.
возбуждается бегущая гармоническая ультразвуковая волна посредством пьезопреобразователя 12. Лазерное излучение с оптической частотой ν0 под углом Вульфа-Брэгга
где λ - длина волны света, Λ - длина волны звука, проходит через оптически прозрачный модулятор 7 и дифрагирует на два порядка: 0-й с частотой ν0 и +1-й с частотой
На Фиг. 2 справа представлена аналогичная картина брэгговской дефракции при падении света под отрицательным углом Вульфа-Брэгга. В этом случае, помимо 0-го порядка с частотой ν0, формируется 1-й порядок с частотой
Важно отметить, что регулировкой амплитуды напряжения на электронном генераторе 9 можно добиться перекачки всей энергии падающего лазерного напряжения в +1 или -1 порядки дифракции, что обеспечивает эффективное использование в способе излучательной энергии.
- круговая частота ультразвука, ϕ - фазовый сдвиг возбуждающего ультразвук сигнала от генератора. Аналогично и в -1 порядке дифракции


что соответствует одному шагу фазового сдвига. Величина ϕ - разность фаз между интерферирующими в ЛИИС световыми волнами Е1 и Е2 определяется как
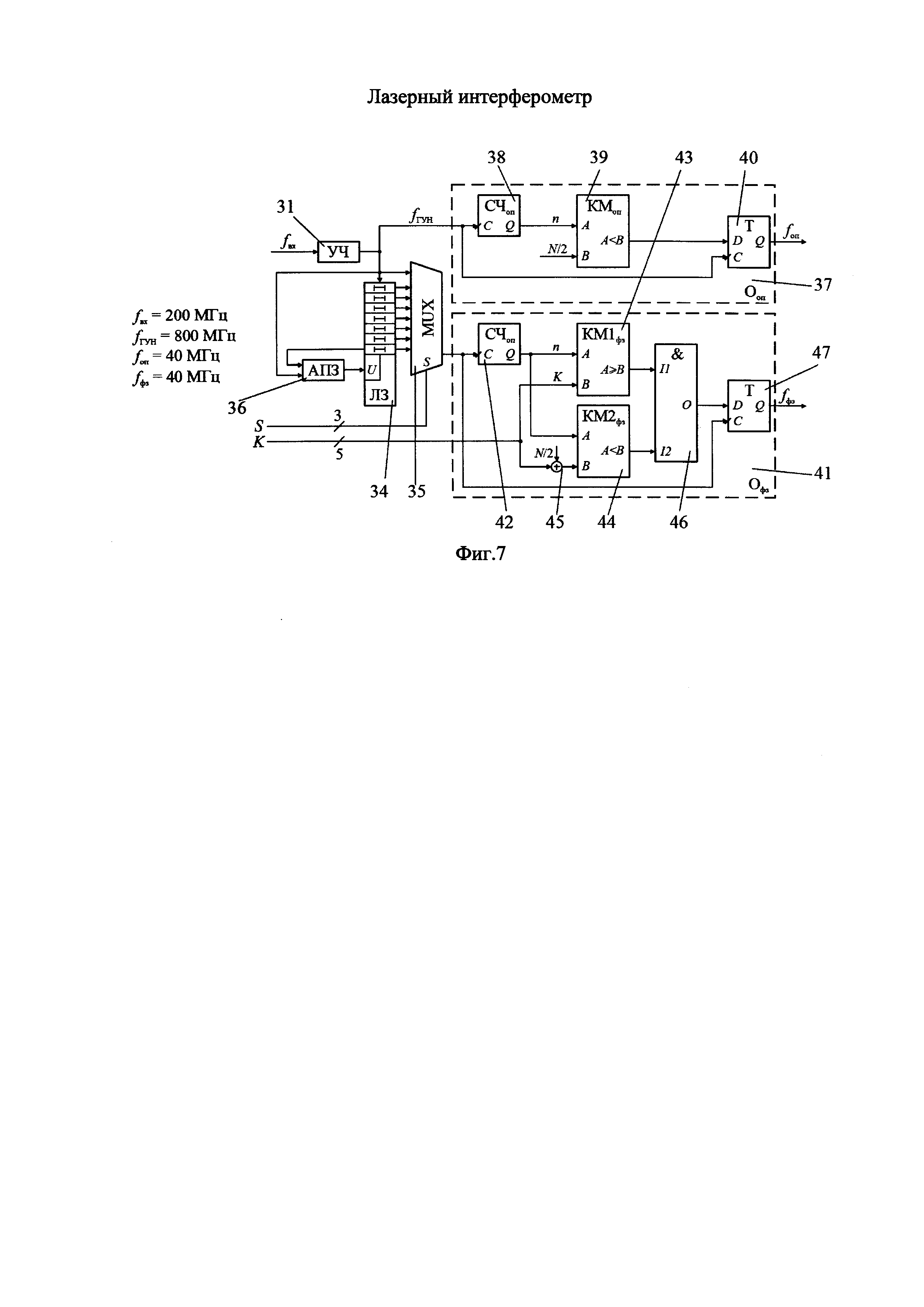
частотой 200 МГц от генератора ГЕН поступает на вход ФАПЧ через цифровой делитель 25 с коэффициентом деления D=1, на выходе которого формируется сигнал
Подсистема ФАПЧ содержит стандартные элементы - фазочастотный детектор 26 (ФЧД); зарядовый насос 27 (ЗН); фильтр нижних частот 28 (ФНЧ); генератор управляемый напряжением 29 (ГУН). Частота сигнала на выходе ГУН
определяется делителем 30 с коэффициентом деления М=4 и составляет 800 МГц. Пунктиром на Фиг. 6 выделен умножитель частоты 31 (УЧ). Для получения опорного сигнала
возбуждения опорного АОМ и фазового сигнала
возбуждения фазосдвигающего АОМ сигнал с выхода ГУН проходит через счетчики-делители 32 и 33 соответственно, обладающие одинаковым коэффициентом деления Ооп=Офз=20. Особенностью счетчиков-делителей является возможность задать не только целочисленный коэффициент деления, но и фазовую задержку сигнала на выходе в единицах периода сигнала ГУН (коэффициент K=0…19). Эта возможность используется для счетчика 33 и определяет грубое разрешение фазосдвигателя, равное 360°/Офз. Для получения прецизионного разрешения фазы в пределах периода сигнала ГУН можно использовать стабилизированную по периоду сигнала ГУН линию задержки 34 (ЛЗ) с отводами в составе подсистемы ФАПЧ. Выбор отвода ЛЗ осуществляется посредством мультиплексора 35 (MUX). Количество звеньев линии задержки равно kлз=8, что позволяет обеспечить разрешение Δϕk=360°/(Офзkлз)=360°/160=2,25°. Наклонными стрелками на Фиг. 6 показаны элементы с изменяемыми параметрами.
опорного канала сигнал с выхода ГУН
поступает на описанный ранее счетчик-делитель 37 с коэффициентом деления Ооп, который состоит из двоичного счетчика 38 (СЧоп) с модулем счета N=Ооп=20; арифметического компаратора 39 (КМоп) и выходного триггера 40 (Т). Компаратор осуществляет формирование меандра, сравнивая состояние выхода счетчика 38 (n) с половиной модуля счета N/2. Выходной триггер обеспечивает фиксированную задержку между фронтами сигналов
и 
прошедший всю линию задержки. АПЗ путем изменения напряжения питания ЛЗ изменяет суммарную задержку ЛЗ так, чтобы разность фаз сигналов на входе АПЗ была равной нулю. Таким образом, суммарная задержка ЛЗ в точности равна периоду сигнала 
на 45°. Счетчик-делитель Офз состоит из двоичного счетчика 42 (СЧФЗ) с модулем счета Nфз=2N=2Ооп=2Офз=40; двух арифметических компараторов 43 (КМ1фз) и 44 (КМ2фз); сумматора 45, логической схемы сложения 46 (&) и выходного триггера 47 (Т). Наличие двух компараторов с изменяемым кодом сравнения К позволяет не только формировать меандр
требуемой частоты 40 МГц, но и обеспечивать в процессе работы смещение фазы сигнала
на целое число периодов сигнала
относительно опорного сигнала
Увеличение в два раза по сравнению с опорным каналом модуля счета СЧфз связано с возможным смещением активной фазы сигнала
за пределы периода
(при этом (K+N/2)>N). Число битов для кодирования двоичного числа K, имеющего максимальное значение Kmax=N-1=19, равно 5.