Изобретение относится к области радиотехники и может быть использовано в многоканальных моноимпульсных обнаружителях-пеленгаторах систем радиомониторинга для решения задач радиоконтроля источников радиоизлучений. Достигаемый технический результат - повышение эффективности контроля излучения нескольких источников частотно-неразделимых сигналов. Указанный результат достигается за счет стабилизации уровня правильной идентификации и снижения уровня ложной идентификации источников радиоизлучения, расположенных вблизи заданных направлений, в реальных условиях при неизвестной интенсивности шума и различии амплитуд принятых сигналов с выходов антенн с произвольными характеристиками направленности антенных элементов. Способ справедлив для антенной системы с произвольной структурой и характеристиками направленности антенных элементов, в результате чего обеспечивается инвариантность решающей статистики к изменению соотношений уровней сигналов в каналах, в том числе обусловленных взаимными влияниями в антенной системе. 4 ил.
Способ контроля излучения нескольких источников частотно-неразделимых сигналов, включающий прием радиоизлучения с помощью N антенн и N-канального приемного устройства, где N>2, вычисление максимального значения углового спектра по возможным направлениям прихода радиоволны, вычисление значения углового спектра принятых радиосигналов с заданных направлений, формирование решающей статистики в виде отношения разности следа от произведения матрицы взаимных энергий на обратную матрицу коэффициентов корреляции шума и максимального значения углового спектра к разности следа от произведения матрицы взаимных энергий на обратную матрицу коэффициентов корреляции шума и значения углового спектра принятых радиосигналов с заданного направления и сравнение ее с порогом, выбираемым исходя из критерия Неймана-Пирсона и обеспечивающим требуемую вероятность правильной идентификации, по результатам чего судят о приходе радиоизлучений с заданных направлений, отличающийся тем, что формируют многосигнальный угловой спектр, максимальное значение которого вычисляют как квадратный корень следа квадрата произведения матрицы взаимных энергий на обратную матрицу коэффициентов корреляции шума; вычисляют значения углового спектра принятых радиосигналов с заданных направлений как след от произведения двух матриц, при этом одну матрицу формируют как произведение матрицы комплексных коэффициентов направленности антенной системы и обратной матрицы Фишера оценок комплексных амплитуд напряженностей электрического поля принимаемых радиоволн на эрмитово сопряженную матрицу комплексных коэффициентов направленности антенной системы, а другую матрицу формируют как произведение трех матриц: обратной матрицы коэффициентов корреляции шума, матрицы взаимных энергий, обратной матрицы коэффициентов корреляции шума; матрицу Фишера оценок комплексных амплитуд напряженностей электрического поля принимаемых радиоволн вычисляют как произведение эрмитово сопряженной матрицы комплексных коэффициентов направленности антенной системы и обратной матрицы коэффициентов корреляции шума и матрицы комплексных коэффициентов направленности антенной системы, при этом решающая статистика инвариантна к структуре и характеристикам направленности антенных элементов антенной системы; обеспечивают одновременный контроль в текущей полосе мгновенного анализа нескольких источников радиоизлучения в реальных условиях функционирования многоканального обнаружителя-пеленгатора, характеризующихся различными уровнями принимаемых сигналов и наличием межканальной корреляции аддитивного шума с неизвестной интенсивностью.
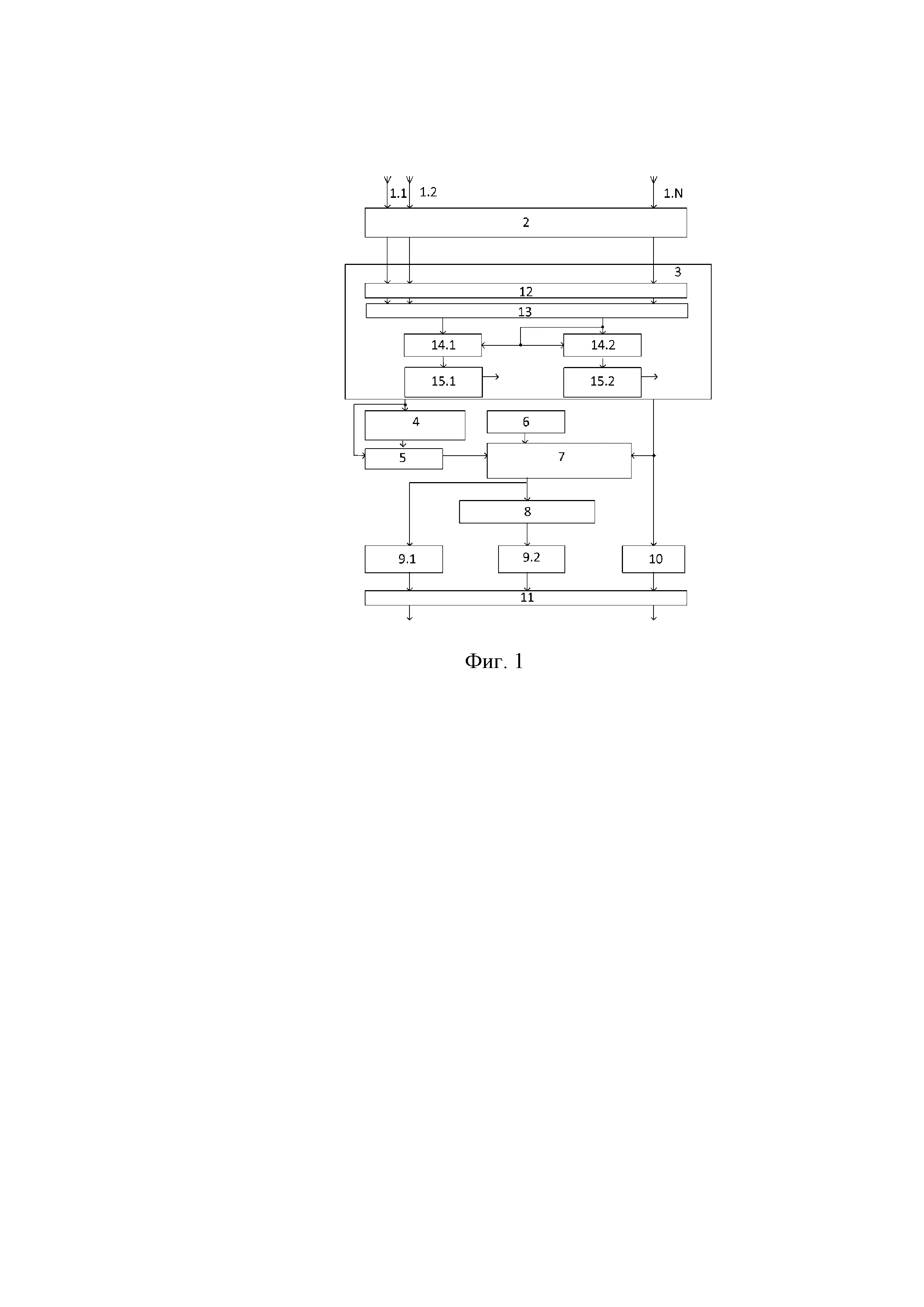
Изобретение относится к области радиотехники и может быть использовано в многоканальных моноимпульсных обнаружителях-пеленгаторах (ОП) систем радиомониторинга для решения задач радиоконтроля источников радиоизлучений (ИРИ). В реальных условиях имеет место многолучевое распространение сигнала. Для повышения показателей эффективности радиомониторинга задача контроля нескольких источников частотно-неразделимых сигналов при наличии преднамеренных помех является весьма актуальной. В общем случае будем считать, что если спектральные компоненты радиоволн попадают в один и тот же элемент разрешения ОП по частоте (например, элементарный частотный канал преобразования Фурье), то такие источники радиосигналов частотно-неразделимые для данного ОП. Известны способы радиоконтроля пеленгования источников радиоизлучения, основанные на азимутальном пеленговании ИРИ и представленные в [1], в которых рассматривается задача идентификации в одноэтапном варианте непосредственно по сигналам антенн где Z(θ0) – значения углового спектра принятых радиосигналов с заданного направления, θ – направление азимута на ИРИ, E – суммарная энергия принятых радиосигналов, h – порог, выбираемый исходя из критерия Неймана-Пирсона и обеспечивающий требуемую вероятность правильной идентификации. Однако указанные способы контроля излучения источника в заданном направлении предполагают выполнение процедуры пеленгования, что сопряжено с использованием значительных объемов памяти, приводящим к снижению быстродействия систем радиоконтроля. Наиболее близким к предлагаемому способу является [2], используемый далее в качестве прототипа и предполагающий оценивание значения глобального максимума углового спектра, измерение значения углового спектра принятых радиосигналов с заданного направления и сравнение с порогом, по результатам чего судят о приходе радиоизлучения с заданного направления. Данный способ предполагает выполнение следующих процедур: 1. Прием радиоизлучения с помощью N антенн и N-канального приемного устройства. 2. Синхронное преобразование радиосигналов всех каналов приема с получением их квадратурных составляющих, перемножение отсчетов радиосигналов на их сопряженные значения, накопление результатов перемножения за время наблюдения по совокупности антенн. Мгновенное значение радиосигнала n-й антенны, n = 0…N-1 в момент времени τ = 0,1,2,… представляет собой смесь принятого радиосигнала источника радиоизлучения и шума: где θn, βn – азимут и угол места направления на источник излучения соответственно, 1. Вычисление значений энергий и взаимной энергий радиосигналов, принятых антеннами по формулам 2. Измерение значений углового спектра принятых радиосигналов с заданного направления путем взвешенного суммирования энергии и взаимной энергии с весами, определяемыми характеристиками направленности антенн по формуле где En – энергия радиосигнала, принятого n-й антенной, 1. Вычисление максимального значения углового спектра Z(θmax,βmax) по возможным направлениям прихода радиоволны по формуле 2. Вычисление значения углового спектра Z(θ0,β0) с заданного направления прихода радиоволны по формуле 2. Формирование решающей статистики Λ как отношения разности суммарной энергии сигналов (E) и максимального значения углового спектра Z(θmax,βmax) к разности суммарной энергии и значения углового спектра принятых радиосигналов с заданного направления Z(θ0,β0): где E – суммарная энергия принятых радиосигналов, Z(θmax,βmax) – максимальное значение углового спектра принятых сигналов, Z(θ0,β0) – значения углового спектра принятых радиосигналов с заданного направления. 1. Сравнение решающей статистики Λ с порогом h. 2. Принятие решения о наличии радиоизлучения с заданного направления в случае выполнения неравенства Λ > h (10) Если порог h превышен, принимают решение о наличии радиоизлучения с заданного (эталонного) направления, в противном случае – о приходе радиоизлучения с направления, отличного от эталонного. Основными недостатками аналога и прототипа является: 1. Предполагается решение задачи контроля одного источника излучения в заданном направлении. В реальных условиях функционирования обнаружителя-пеленгатора, в сложной электромагнитной обстановке при наличии нескольких источников частотно-неразделимых сигналов актуальной является задача одновременного контроля излучения нескольких источников. 2. Решающая статистика (9) прототипа справедлива, когда антенны обнаружителя-пеленгатора являются идентичными и ненаправленными, а их диаграммы направленности имеют единичную амплитуду, не зависящую от направления прихода радиоволны ИРИ, и описываются функциями вида где R – радиус антенной системы, λn – длина волны излучения, ϕl(θ,β) – фазирующая функция, зависящая от параметров конфигурации антенной системы, θ – азимут направления на источник, i – мнимая единица. В общем случае при наличии взаимных влияний в антенной системе обнаружителя-пеленгатора, а также в случае использования амплитудно-направленных антенных элементов другого типа использование решающей статистики (9) становится несправедливым и приводит к ухудшению показателей эффективности способа-прототипа. 1. Выражение (9) для решающей статистики обнаружения не учитывает наличие межканальной корреляции спектральных отсчетов временных реализаций, обусловленных наличием в реальных условиях внешних помех. 2. Для технической реализации способа-прототипа необходимо обеспечить согласованный прием сигнала контролируемых ИРИ с шириной их спектра, однако большинство современных обнаружителей-пеленгаторов являются широкополосными, с полосой мгновенного анализа, на несколько порядков превышающей ширину сигнала, что требует выполнение дополнительной процедуры обнаружения сигнала в спектральной области. Использование дополнительного узкополосного приемника для решения задачи контроля приводит к существенному усложнению аппаратуры. 3. Способ не обеспечивает контроль источников частотно-неразделимых сигналов. Задачей, на решение которой направлено данное изобретение, является повышение эффективности контроля излучения нескольких источников частотно-неразделимых сигналов с помощью многоканальных моноимпульсных обнаружителей-пеленгаторов с произвольной структурой и характеристиками направленности антенной системы. Достигаемый технический результат – повышение эффективности идентификации нескольких источников частотно-неразделимых сигналов за счет стабилизации уровня правильной идентификации и снижения уровня ложной идентификации источников радиоизлучения, расположенных вблизи заданных направлений в реальных условиях, при неизвестной интенсивности шума и различии амплитуд принятых сигналов с выходов антенн с произвольными характеристиками направленности антенных элементов. В результате решения поставленной задачи предлагаемый способ контроля излучения нескольких источников частотно-неразделимых сигналов включает выполнение следующих процедур: 1. Прием радиоизлучения с помощью N антенн и N-канального приемного устройства. 2. Синхронное преобразование радиосигналов всех каналов приема с получением их квадратурных составляющих, перемножение отсчетов радиосигналов на их сопряженные значения, накопление результатов перемножения за время наблюдения по совокупности антенн. Мгновенное значение радиосигнала n-й антенны, где (θ β)T – оператор транспонирования, 1. Формирование матрицы взаимных энергий, накопленных по спектральным компонентам радиосигнала в каждом измерении комплексных амплитуд сигналов и последующее суммирование матриц по формуле где 2. Для каждого контролируемого частотного участка выделяемой полосы мгновенного анализа выполняется измерение значений многосигнального углового спектра с учетом межканальной корреляции спектральных отсчетов временных реализаций по формуле: где 1. Вычисление максимального значения многосигнального углового спектра 2. Вычисление значения многосигнального углового спектра 3. Формирование решающей статистики как отношения разности следа от произведения матрицы взаимных энергий на обратную матрицу коэффициентов корреляции шума, где 1. Сравнение решающей статистики Λ с порогом h. 2. Принятие решения о наличии радиоизлучения с заданного направления в случае выполнения неравенства Λ > h. Если порог h превышен, принимают решение о наличии радиоизлучения с заданного (эталонного) направления, в противном случае – о приходе радиоизлучения с направления, отличного от эталонного. Предлагаемый способ контроля излучения нескольких источников частотно-неразделимых сигналов лишен перечисленных выше недостатков прототипа, а именно: 1. Предлагаемый способ позволяет решить задачу идентификации нескольких источников радиоизлучения. 2. Решающая статистика (17) предлагаемого способа справедлива в случае антенной системы с произвольной структурой и характеристиками направленности антенных элементов, в частности, в используемом в прототипе предположении, что антенны обнаружителя-пеленгатора являются идентичными и ненаправленными. Это позволяет использовать предлагаемый способ в реальных условиях функционирования обнаружителей-пеленгаторов, когда имеют место взаимные влияния антенн друг на друга. 3. Выражение (17) для решающей статистики контроля излучения нескольких источников частотно-неразделимых сигналов предлагаемого способа учитывает наличие межканальной корреляции спектральных отсчетов временных реализаций, обусловленных наличием в реальных условиях внешних помех, что позволяет при разработке обнаружителей-пеленгаторов проводить анализ достижимых показателей эффективности обнаружения сигналов ИРИ в условиях насыщенной электромагнитной обстановки, а также учитывать наличие корреляции помех в реальных условиях функционирования обнаружителей-пеленгаторов. 1. Прием сигнала осуществляется в широкой полосе частот мгновенного анализа, что дает возможность одновременного контроля нескольких ИРИ в заданном направлении. 2. В случае выполнения неравенства (10) (принятие решения о наличии излучения нескольких источников частотно-неразделимых сигналов) накопление матрицы взаимных энергий в каждом измерении комплексных амплитуд сигналов выполнятся по правилу Предложенный способ обеспечивает возможность одновременного контроля нескольких источников частотно-неразделимых сигналов с обеспечением стабилизации уровня правильной идентификации и снижение уровня ложной идентификации источников радиоизлучения, расположенного вблизи заданных направлений, а так же при неизвестной интенсивности шума. Схема для реализации предлагаемого способа представлена на фиг. 1. Устройство, реализующее предложенный способ, содержит: 1.1-1.N – многоканальная антенная система, 2 – радиоприемное устройство, 3 – измеритель энергии, 4 – блок определения модуля, 5 – коммутатор, 6 – запоминающее устройство (ЗУ), 7 – анализатор многосигнального углового спектра, 8 – устройство определения максимума, 9.1, 9.2 – запоминающие ячейки, 10 – накапливающий сумматор, 11 – решающее устройство, 12 – аналого-цифровой преобразователь (АЦП), 13 – оперативное запоминающее устройство, 14.1, 14.2 – умножители, 15.1, 15.2 – накапливающие сумматоры. Устройство работает следующим образом. Антенны 1.1…1.N подключены к входам радиоприемного устройства 2 и через его выход к входам измерителя энергии 3, первый выход которого через блок определения модуля 4 соединен с первым входом коммутатора 5 и непосредственно со вторым его входом. Выход коммутатора 5 подключен к первому входу анализатора многосигнального углового спектра 7, ко второму входу которого подключен второй выход измерителя энергии 3, а к третьему входу – выход запоминающего устройства 6. Выход анализатора многосигнального углового спектра 7 соединен с входом устройства определения максимума 8 и входом запоминающей ячейки 9.1. Устройство определения максимума 8 своим выходом подключено к входу запоминающей ячейки 9.2. Второй выход измерителя энергии 3 соединен с входом накапливающего сумматора 10. Выходы запоминающей ячейки 9.1, запоминающей ячейки 9.2 и накапливающего сумматора 10 подключены соответственно к первому, второму и третьему входам решающего устройства 11. Аналого-цифровой преобразователь 12 в составе измерителя энергии 3 со стороны выходов соединен с соответствующими входами оперативного запоминающего устройства 13, первый выход которого подключен к первому входу умножителя 14.1, а второй – ко второму входу умножителя 14.1, первому и второму входу умножителя 14.2, выход умножителя 14.1 соединен с входом накапливающего сумматора 15.1, а выход умножителя 14.2 – с входом накапливающего сумматора 15.2. Выходы накапливающих сумматоров 15.1, 15.2 являются первым и вторым выходами измерителя энергии 3, а выходы решающего устройства 11 – выходом устройства в целом. Еще по одному выходу накапливающих сумматоров 15.1 и 15.2 могут использоваться дополнительно. Число антенн 1.1, 1.2 … 1.N составляет N ≥ 3. Радиоприемное устройство 2 многоканальное, число каналов равно числу антенн N. Измеритель энергии 3 обеспечивает измерение энергии радиосигналов, принятых каждой антенной, и взаимной энергии радиосигналов пар различных антенн. Аналого-цифровой преобразователь 12 в составе измерителя энергии 3 рассчитан на синхронное преобразование радиосигналов всех каналов приема с получением их квадратурных составляющих с записью результатов в оперативное запоминающее устройство 13. Анализатор углового спектра 7 обеспечивает измерение значений углового спектра по формуле (14). Устройством определения максимума 8 вычисляется максимальное по возможным направлениям прихода радиоволн значение РЕАЛИЗАЦИЯ На фиг. 2-4 представлены результаты статистического моделирования для семиэлементной эквидистантной кольцевой антенной решетки при отношении радиуса ЭКАР к длине волны, равном единице, и отношении сигнал/шум 10 дБ в пакете моделирования Matlab. Рассмотрен случай контроля излучения двух некогерентных источников частотно-неразделимых сигналов. При статистическом моделировании характеристик контроля излучения двух источников частотно-неразделимых сигналов число статистических испытаний выбиралось равным 108, количество накоплений матрицы взаимных энергий полагалось равным 3. Азимутальные направления принимались равными 0 градусов на первый источник, 15 градусов на второй источник, угол места 0 градусов. Матрица, характеризующая направления на источники излучения, имеет вид В случае наличия двух направлений (J = 2), матрица Фишера (оценок амплитуд напряженностей комплексных амплитуд электрического поля принимаемых частотно-неразделимых сигналов) примет вид а обратная ей матрица корреляции данных оценок Двухсигнальный пеленгационный рельеф (14) записывается как где введена функция пространственной корреляции двух плоских волн В том случае, когда внутренние шумы приемных каналов независимы и одинаковы по интенсивности, матрица корреляции В каждом статистическом эксперименте по одинаковым исходным данным вычислялись величины, соответствующие решающей статистике предложенного способа, формула (17): В качестве примера, при проведении моделирования формировался коррелированный вектор гауссовского шума с матрицей корреляции, элементы которой имеют вид Матрица На фиг. 2 приведены зависимости вероятности На фиг. 3 приведены зависимости вероятности P идентификации двух источников частотно-неразделимых сигналов к эталонам от угловых расстояний до него, при этом На фиг. 4 приведены зависимости вероятности Порог принятия решения об отождествлении двух источников частотно-неразделимых сигналов с контролируемыми, для обеспечения вероятности правильной идентификации 0,98 равен 0,9. Из представленных зависимостей (фиг. 2, 3) видно, что вероятность идентификации двух источников частотно-неразделимых сигналов мене 0,1 достигается при угловых расстояниях более 16 градусов. При рассмотрении зависимости (фиг. 4) вероятности идентификации двух источников частотно-неразделимых сигналов при влиянии матрицы коэффициентов межканальной корреляции аддитивного шум (24), вероятность правильной идентификации менее 0,1 достигается при угловых расстояниях более 30 градусов. Предлагаемый способ контроля излучения нескольких источников частотно-неразделимых сигналов обеспечивает повышение эффективности идентификации нескольких источников частотно-неразделимых сигналов за счет стабилизации уровня правильной идентификации и снижения уровня ложной идентификации источников радиоизлучения, расположенных вблизи заданных направлений, в реальных условиях неизвестной интенсивности шума и различии амплитуд принятых сигналов с выходов антенн с произвольными характеристиками направленности антенных элементов. Способ справедлив для АС с произвольной структурой и характеристиками направленности антенных элементов, в результате чего обеспечивается инвариантность решающей статистики к изменению соотношений уровней сигналов в каналах, в том числе обусловленных взаимными влияниями в антенной системе. ИСТОЧНИКИ ИНФОРМАЦИИ 1. Уфаев В.А. Способы определения местоположения и пространственной идентификации источников радиоизлучений, М.: Воронеж, 2017. с.235-239. 2. Патент РФ №2294546 «Способ идентификации радиоизлучения» / Уфаев В.А., 2005.































































