патент
№ RU 2695907
МПК E21B19/00

УСТРОЙСТВО ДЛЯ ЗАВОРОТА КОЛОННЫХ ГОЛОВОК

Авторы:
Ковальчук Александр Павлович
Номер заявки
2018126708
Дата подачи заявки
19.07.2018
Опубликовано
29.07.2019
Страна
RU
Как управлять
интеллектуальной собственностью
Чертежи 
1
Реферат

Изобретение относится к нефтегазодобывающей и геологоразведочной отраслям промышленности и предназначено для заворота и отворота колонной головки. Устройство включает устанавливаемое на фланце колонной головки основание с отверстиями для крепежных элементов, гнездо, закрепленное к основанию, элемент для передачи крутящего момента основанию и привод для вращения основания. Гнездо выполнено из двух одинаковых равнополочных уголков, соединенных друг к другу продольными кромками с помощью сварки. Основание состоит из четырех одинаковых полос, имеющих на одних концах цилиндрическое отверстие для крепежных элементов, а на других концах V-образный вырез, наклонные кромки которого расположены симметрично относительно продольной оси симметрии полосы и под прямым углом друг к другу. В V-образный вырез полосы входит острая часть гнезда, наклонные кромки этого выреза приварены к боковым стенкам гнезда. Полосы основания соединяются с фланцем колонной головки с помощью гаек и болтов/шпилек, пропущенных через отверстия основания и фланца. Во внутреннюю полость гнезда, образованную двумя уголками, с возможностью осевого перемещения установлена нижняя часть элемента для передачи крутящего момента основанию. Указанный элемент выполнен из отрезка цилиндрической трубы, нижнюю часть которого обхватывают своими полками четыре одинаковых равнополочных уголка, удаленных друг от друга на прямой угол относительно оси отрезка трубы. Продольные кромки этих уголков приварены сваркой к наружной боковой стенке отрезка трубы, а сверху на отрезок трубы надет плоский фланец, который закреплен сваркой к верхним торцам четырех уголков, обхватывающих отрезок трубы. На верхнем конце отрезка трубы выполнена наружная коническая резьба, куда завернута соответствующей резьбой муфта для соединения устройства к элеватору. Приводом для вращения основания служит подвесной гидравлический ключ. В предложенном устройстве упрощается конструкция за счет использования стандартных изделий, снижения количества деталей и применения подвесного гидравлического ключа, предназначенного для свинчивания и развинчивания бурильных и насосно-компрессорных труб. 4 ил.

Формула изобретения

Устройство для заворота колонных головок, включающее устанавливаемое на фланце колонной головки основание с отверстиями для крепежных элементов, гнездо, закрепленное к основанию, элемент для передачи крутящего момента основанию и привод для вращения основания, отличающееся тем, что гнездо выполнено из двух одинаковых равнополочных уголков, соединенных друг к другу продольными кромками с помощью сварки, при этом основание состоит из четырех одинаковых полос, имеющих на одних концах цилиндрическое отверстие для крепежных элементов, а на других концах V-образный вырез, наклонные кромки которого расположены симметрично относительно продольной оси симметрии полосы и под прямым углом друг к другу, причем в V-образный вырез полосы входит острая часть гнезда, при этом наклонные кромки этого выреза приварены к боковым стенкам гнезда, при этом полосы основания соединяются с фланцем колонной головки с помощью гаек и болтов/шпилек, пропущенных через отверстия основания и фланца, причем во внутреннюю полость гнезда, образованную двумя уголками, с возможностью осевого перемещения установлена нижняя часть элемента для передачи крутящего момента основанию, причем указанный элемент выполнен из отрезка цилиндрической трубы, нижнюю часть которого обхватывают своими полками четыре одинаковых равнополочных уголка, удаленных друг от друга на прямой угол относительно оси отрезка трубы, причем продольные кромки этих уголков приварены сваркой к наружной боковой стенке отрезка трубы, причем сверху на отрезок трубы надет плоский фланец, который закреплен сваркой к верхним торцам четырех уголков, обхватывающих отрезок трубы, причем на верхнем конце отрезка трубы выполнена наружная коническая резьба, куда завернута соответствующей резьбой муфта для соединения устройства к элеватору, причем приводом для вращения основания служит подвесной гидравлический ключ, применяемый для свинчивания и развинчивания бурильных и насосно-компрессорных труб.

Описание

[1]

Изобретение относится к нефтегазодобывающей и геологоразведочной отраслям промышленности и предназначено для заворота и отворота колонной головки.

[2]

Известно устройство для заворота колонных головок (Заявка на изобретение RU 2008107190, МПК Е21В 43/00, дата публ. 10.09.2009), состоящее из основания, гнезда, цилиндра, зубчатого колеса, плиты, гайки, гидроцилиндра одностороннего действия, двух плунжерных гидроцилиндров двустороннего действия, узла подключения гидролиний, четырех пальцев для фланцев, при этом за счет приложения крутящего момента гидроцилиндрами непосредственно к фланцу, отсутствует изгибающий момент на резьбовое соединение между обсадной колонной и наворачиваемым колонным фланцем, а контроль величины крутящего момента может осуществляться по прямой зависимости от величины давления рабочей жидкости в гидросистеме устройства. Недостатком аналога является сложность конструкции.

[3]

Также известно устройство для заворота колонных головок (Патент RU 2376448, МПК Е21В 19/06, В25В 21/00, опубл. 20.12.2009, Бюл. №35), выбранное в качестве прототипа и включающее устанавливаемое на фланце колонной головки основание с отверстиями для крепежных элементов, гнездо, закрепленное к основанию, элемент для передачи крутящего момента основанию и привод для вращения основания. Прототип содержит узел подключения гидролиний и значительное количество деталей - основание в форме диска с резьбовыми отверстиями, пальцы, гнездо, закрепленное болтами к основанию, цилиндр, зубчатое колесо с «юбкой», где выполнены отверстия, плита, три гидроцилиндра с поршнями и плунжерами, пружина, четыре трубки с накидными гайками и ниппелями. Приводом для вращения основания служит связанное с ним зубчатое колесо, зубья которой находятся в зацеплении с зубьями двух зубчатых реек, выполненных в средней части двух плунжеров гидроцилиндров. Для перемещения плунжеров с зубчатыми рейками в гидроцилиндры жидкость подается по рукавам высокого давления от гидравлической насосной станции. В резьбовые отверстия основания ввертываются пальцы. Гнездо имеет форму фланца с цилиндрическим выступом, где выполнена расточка для зубчатого колеса и выступ для гидроцилиндра. Фланец гнезда крепится к основанию болтовым соединением. Гнездо сложной формы, болтовое крепление гнезда к основанию, узел подключения гидролиний, значительное количество деталей, привод с гидроцилиндрами и зубчатым колесом для вращения основания и резьбовые отверстия в основании усложняют конструкцию устройства.

[4]

Технической задачей изобретения является упрощение конструкции устройства.

[5]

Поставленная задача решается тем, что в устройстве для заворота колонных головок, включающем устанавливаемое на фланце колонной головки основание с отверстиями для крепежных элементов, гнездо, закрепленное к основанию, элемент для передачи крутящего момента основанию и привод для вращения основания, новым является то, что гнездо выполнено из двух одинаковых равнополочных уголков, соединенных друг к другу продольными кромками с помощью сварки, при этом основание состоит из четырех одинаковых полос, имеющих на одних концах цилиндрическое отверстие для крепежных элементов, а на других концах V-образный вырез, наклонные кромки которого расположены симметрично относительно продольной оси симметрии полосы и под прямым углом друг к другу, причем в V-образный вырез полосы входит острая часть гнезда, при этом наклонные кромки этого выреза приварены к боковым стенкам гнезда, при этом полосы основания соединяются с фланцем колонной головки с помощью гаек и болтов/шпилек, пропущенных через отверстия основания и фланца, причем во внутреннюю полость гнезда, образованную двумя уголками, с возможностью осевого перемещения установлена нижняя часть элемента для передачи крутящего момента основанию, причем указанный элемент выполнен из отрезка цилиндрической трубы, нижнюю часть которого обхватывают своими полками четыре одинаковых равнополочных уголка, удаленных друг от друга на прямой угол относительно оси отрезка трубы, причем продольные кромки этих уголков приварены сваркой к наружной боковой стенке отрезка трубы, причем сверху на отрезок трубы одет плоский фланец, который закреплен сваркой к верхним торцам четырех уголков, обхватывающих отрезок трубы, причем на верхнем конце отрезка трубы выполнена наружная коническая резьба, куда завернута соответствующей резьбой муфта для соединения устройства к элеватору, причем приводом для вращения основания служит подвесной гидравлический ключ, применяемый для свинчивания и развинчивания бурильных и насосно-компрессорных труб.

[6]

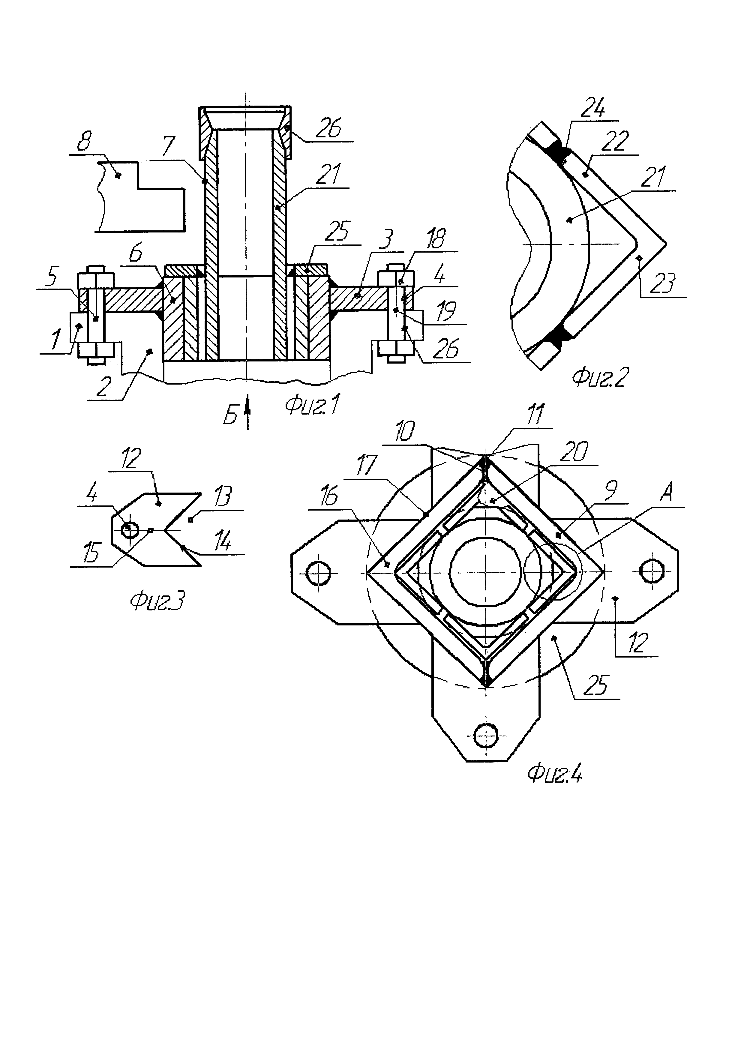
На фиг. 1 изображено предлагаемое устройство в продольном разрезе; на фиг. 2 изображен вид А фиг. 4; на фиг. 3 - вид сверху на полосу основания; на фиг. 4 - вид Б фиг. 1. Устройство для заворота колонных головок включает устанавливаемое на фланце 1 колонной головки 2 основание 3 с отверстиями 4 для крепежных элементов 5, гнездо 6, закрепленное к основанию 3, элемент 7 для передачи крутящего момента основанию 3 и привод 8 для вращения основания 3. Гнездо 6 выполнено из двух одинаковых равнополочных уголков 9, соединенных друг к другу продольными кромками 10 с помощью сварки (сварочный шов 11). Эти уголки 9 после соединения друг к другу образуют внутреннюю полость в форме призмы. Основание 3 состоит из четырех одинаковых полос 12, имеющих на одних концах цилиндрическое отверстие 4 для крепежных элементов 5, а на других концах V-образный вырез 13. Наклонные кромки 14 V-образного выреза расположены симметрично относительно продольной оси симметрии 15 полосы 12 и под прямым углом друг к другу. В V-образный вырез 13 полосы 12 входит острая часть 16 гнезда 6. Наклонные кромки 14 этого выреза приварены к боковым стенкам 17 гнезда. За счет выполнения V-образного выреза 13 на полосах, обеспечивается плотное прилегание их кромок 14 к боковым стенкам 17 гнезда 7. Этим обеспечивается прочное сварочное соединение этих полос 12 к уголкам 9 гнезда 7. Полосы 12 основания 3 соединяются с фланцем 1 колонной головки 2 с помощью гаек 18 и болтов/шпилек 19, пропущенных через отверстия 4 полос 12 и фланца 1. Во внутреннюю полость 20 гнезда, образованную двумя равнополочными уголками 9, с возможностью осевого перемещения, установлена нижняя часть элемента 7 для передачи крутящего момента основанию 3. Указанный элемент 7 выполнен из отрезка цилиндрической трубы 21, нижнюю часть которого обхватывают своими полками 22 четыре одинаковых равнополочных уголка 23, удаленных друг от друга на прямой угол относительно оси отрезка трубы 21. При таком расположении уголков 23 их наружные стенки в поперечном сечении уголков образуют квадрат (как изображено на фиг. 4) и нижняя часть гнезда 7 имеет форму правильной призмы. Продольные кромки 24 этих уголков 23 приварены сваркой к наружной боковой стенке отрезка трубы 21. Сверху на отрезок трубы 21 одет плоский фланец 25, который закреплен сваркой к верхним торцам четырех уголков 23, обхватывающих отрезок трубы 21. На верхнем конце отрезка трубы 21 выполнена наружная коническая резьба, куда завернута соответствующей резьбой муфта 26 для соединения устройства к элеватору. Приводом 8 для вращения основания 3 служит подвесной гидравлический ключ, применяемый для свинчивания и развинчивания бурильных и насосно-компрессорных труб, например, описанный в авторском свидетельстве SU 1184922, МПК Е21В 19/16, 15.10.1985, Бюл. №38 или, выпускаемые заводами ключи ГКШ-1200, ГКШ-1500.

[7]

Устройство для заворота колонных головок работает следующим образом. Вначале грузоподъемным механизмом на фланец 1 колонной головки 2 устанавливаются полосы 12, которые сваркой соединены с двумя уголками 9 гнезда 6. Поворотом этих полос их отверстия 4 совмещают с отверстиями 26 фланца 1. Далее соединяют полосы 12 основания 3 с фланцем 1 с помощью болтов/шпилек 19 с гайками 18. После закрепления основания 3 к фланцу 1 колонной головки, во внутреннюю полость гнезда 6 вводят нижнею часть отрезка трубы 21. При этом плоский фланец 25 упирается на верхние торцы двух уголков 9 и отрезок трубы 21 фиксируется от перемещения вниз. Далее с помощью подвесного гидравлического ключа, например типа ГКШ-1200, производят поворот отрезка трубы 21. Связанные с этим отрезком трубы четыре уголка 23, взаимодействуя своими полками 22 с внутренними стенками полок двух уголков 9, поворачивают полосы 12 основания 3. Полосы 12 поворачивают фланец 1 колонной головки 2. Снятие колонной головки с обсадной колонны производится при нарушении герметичности их соединения, замене пакера, исследовании скважины или при гидроразрыве пласта. Снятие устройства с колонной головки производится в порядке, обратном установке. Предложенное устройство было изготовлено из двух уголков 100×100×16 мм, четырех уголков 30×30×5 мм (ГОСТ 8509), четырех полос 100×30 мм (ГОСТ 2591), отрезка трубы Д нар. 89 мм с толщиной стенки 22 мм (ГОСТ 8732) и плоского фланца Ду100 мм, PN 0,6 Мпа (ГОСТ 12820). Устройство, изготовленное с такими стандартными изделиями, было испытано на скважине. Испытания показали работоспособность устройства.

[8]

В предложенном устройстве в отличии от прототипа основание соединяется с фланцем колонной головки с помощью стандартных крепежных деталей: болтов или шпилек с гайками. Основание, гнездо, элемент для передачи крутящего момента основанию выполнены из стандартных изделий: равнополочных уголков, полосы, цилиндрической трубы и плоского фланца. Также в предложенном устройстве отсутствуют: узел подключения гидролиний, резьбовые отверстия в основании, пальцы, зубчатое колесо с «юбкой», где выполнены отверстия, плита, три гидроцилиндра с поршнями и плунжерами с зубчатой рейкой, пружина, трубки с накидными гайками и ниппелями. Приводом для вращения основания служит подвесной гидравлический ключ, выпускаемый отечественной промышленностью. Из вышеотмеченного вытекает, что в предложенном устройстве упрощается конструкция.

[9]

Перечень использованной информации: 1. Заявка на изобретение RU 2008107190, МПК Е21В 43/00, дата публ. 10.09.2009

[10]

2. Патент RU 2376448, МПК Е21В 19/06, В25В 21/00, опубл. 20.12.2009, Бюл. №35

Как компенсировать расходы
на инновационную разработку
Похожие патенты