патент
№ RU 2661170
МПК E21B28/00

ГИДРАВЛИЧЕСКИЙ ВИБРАТОР

Авторы:
Ханнанов Марс Талгатович Вафин Ильдус Закеевич Кадыров Данис Задитович
Все (5)
Номер заявки
2017129003
Дата подачи заявки
14.08.2017
Опубликовано
12.07.2018
Страна
RU
Как управлять
интеллектуальной собственностью
Чертежи 
1
Реферат

Изобретение относится к нефтегазодобывающей промышленности и может быть использовано для интенсификации отбора нефти или закачки воды. Гидравлический вибратор содержит золотник и ствол с донным отверстием. Ствол и золотник выполнены с щелевыми прорезями, расположенными под углом к их образующей. Щелевые прорези золотника расположены в противоположном направлении к щелевым прорезям ствола. На обоих торцах золотника имеется цилиндрический выступ, наружная и внутренняя стенки которого примыкают к соответствующим стенкам золотника. С открытых торцов каждого выступа напротив щелевых прорезей золотника выполнены канавки. С торца ствола, расположенного напротив верхнего выступа золотника, выполнены углубления. Каждое углубление расположено напротив щелевых прорезей ствола и направление каждого из них совпадает с направлением этих прорезей ствола. С вертикально расположенной стенки каждого углубления ствола просверлено отверстие. С наружной боковой стенки ствола напротив углублений выполнена цилиндрическая расточка, снабженная кольцом. Наружный диаметр кольца выбран равным наружному диаметру золотника, а высота равна глубине углубления ствола. Нижний конец ствола под золотником выполнен с наружной боковой цилиндрической стенкой, примыкающей к наружной стенке ствола, куда посажен золотник. На нижнем конце ствола имеется опора для золотника, выполненная в виде втулки, которая своим отверстием неподвижно с помощью стопорных винтов посажена на нижний конец ствола. С верхнего торца втулки напротив каждой щелевой прорези ствола выполнены углубления, расположенные по направлению щелевых прорезей ствола. Каждое углубление втулки не доходит до наружной стенки втулки и открыто к внутренней стенке втулки. Напротив каждого углубления втулки просверлено отверстие, расположенное по направлению углубления втулки. Золотник между кольцом ствола и втулкой установлен в стволе с возможностью вращения. Обеспечивается повышение работоспособности. 4 ил.

Формула изобретения

Гидравлический вибратор, содержащий золотник и ствол с донным отверстием, причем ствол и золотник выполнены с щелевыми прорезями, расположенными под углом к их образующей, причем щелевые прорези золотника расположены в противоположном направлении к щелевым прорезям ствола, отличающийся тем, что на обоих торцах золотника имеется цилиндрический выступ, наружная и внутренняя стенки которого примыкают к соответствующим стенкам золотника, при этом с открытых торцов каждого выступа напротив щелевых прорезей золотника выполнены канавки, причем с торца ствола, расположенного напротив верхнего выступа золотника, выполнены углубления, каждое из которых расположено напротив щелевых прорезей ствола и направление каждого из них совпадает с направлением этих прорезей ствола, причем с вертикально расположенной стенки каждого углубления ствола просверлено отверстие, причем с наружной боковой стенки ствола напротив углублений выполнена цилиндрическая расточка, снабженная кольцом, наружный диаметр которого выбран равным наружному диаметру золотника, а высота равна глубине углубления ствола, причем нижний конец ствола под золотником выполнен с наружной боковой цилиндрической стенкой, примыкающей к наружной стенке ствола, куда посажен золотник, причем на нижнем конце ствола имеется опора для золотника, выполненная в виде втулки, которая своим отверстием неподвижно с помощью стопорных винтов посажена на нижний конец ствола, причем с верхнего торца втулки напротив каждой щелевой прорези ствола выполнены углубления, расположенные по направлению щелевых прорезей ствола, причем каждое углубление втулки не доходит до наружной стенки втулки и открыто к внутренней стенке втулки, причем напротив каждого углубления втулки просверлено отверстие, расположенное по направлению углубления втулки, причем золотник между кольцом ствола и втулкой установлен в стволе с возможностью вращения.

Описание

[1]

Изобретение относится к нефтегазодобывающей промышленности и может быть использовано для интенсификации отбора нефти или закачки воды.

[2]

Известен скважинный гидравлический вибратор ([1] Патент RU №2161237, МПК Е21В 28/00, Е21В 43/25, опубл. 27.12.2000), содержащий корпус и установленный в корпусе ствол с центральным осевым каналом, выполненным в виде расширяющегося диффузорного сопла, и щелевыми прорезями, причем к стволу коаксиально установлен золотник с щелевыми прорезями, выполненными под углом к образующей, но в противоположном направлении щелевым прорезям ствола, причем корпус снизу выполнен заглушенным и с радиальными отверстиями для выхода рабочей жидкости в затрубное пространство, при этом напротив радиальных отверстий установлен отражатель. Недостатком известного вибратора является сложность конструкции, обусловленная значительным количеством деталей и установкой ствола и золотника на подшипниках.

[3]

Наиболее близким к заявляемому является гидравлический вибратор [2], содержащий золотник и ствол с донным отверстием, причем ствол и золотник выполнены с щелевыми прорезями, расположенными под углом к их образующей, причем щелевые прорези золотника расположены в противоположном направлении к щелевым прорезям ствола. В прототипе золотник установлен на подшипниках, которые изнашиваются и снижают срок исправной работы устройства. Механические примеси закачиваемой жидкости интенсивно изнашивают трущиеся стенки подшипника, в результате чего устройство выходит из строя. Также большие частицы механических примесей могут заклинить шарики в подшипнике и тем самым остановить вращение золотника.

[4]

Задачей изобретения является повышение работоспособности.

[5]

Поставленная задача решается тем, что в гидравлическом вибраторе, содержащем золотник и ствол с донным отверстием, причем ствол и золотник выполнены с щелевыми прорезями, расположенными под углом к их образующей, причем щелевые прорези золотника расположены в противоположном направлении к щелевым прорезям ствола, новым является то, что на обоих торцах золотника имеется цилиндрический выступ, наружная и внутренняя стенки которого примыкают к соответствующим стенкам золотника, при этом с открытых торцов каждого выступа напротив щелевых прорезей золотника выполнены канавки, причем с торца ствола, расположенного напротив верхнего выступа золотника, выполнены углубления, каждое из которых расположено напротив щелевых прорезей ствола и направление каждого из них совпадает с направлением этих прорезей ствола, причем с вертикально расположенной стенки каждого углубления ствола просверлено отверстие, причем с наружной боковой стенки ствола напротив углублений выполнена цилиндрическая расточка, снабженная кольцом, наружный диаметр которого выбран равным наружному диаметру золотника, а высота равна глубине углубления ствола, причем нижний конец ствола под золотником выполнен с наружной боковой цилиндрической стенкой, примыкающей к наружной стенке ствола, куда посажен золотник, причем на нижнем конце ствола имеется опора для золотника, выполненная в виде втулки, которая своим отверстием неподвижно с помощью стопорных винтов посажена на нижний конец ствола, причем с верхнего торца втулки напротив каждой щелевой прорези ствола выполнены углубления, расположенные по направлению щелевых прорезей ствола, причем каждое углубление втулки не доходит до наружной стенки втулки и открыто к внутренней стенке втулки, причем напротив каждого углубления втулки просверлено отверстие, расположенное по направлению углубления втулки, причем золотник между кольцом ствола и втулкой установлен в стволе с возможностью вращения.

[6]

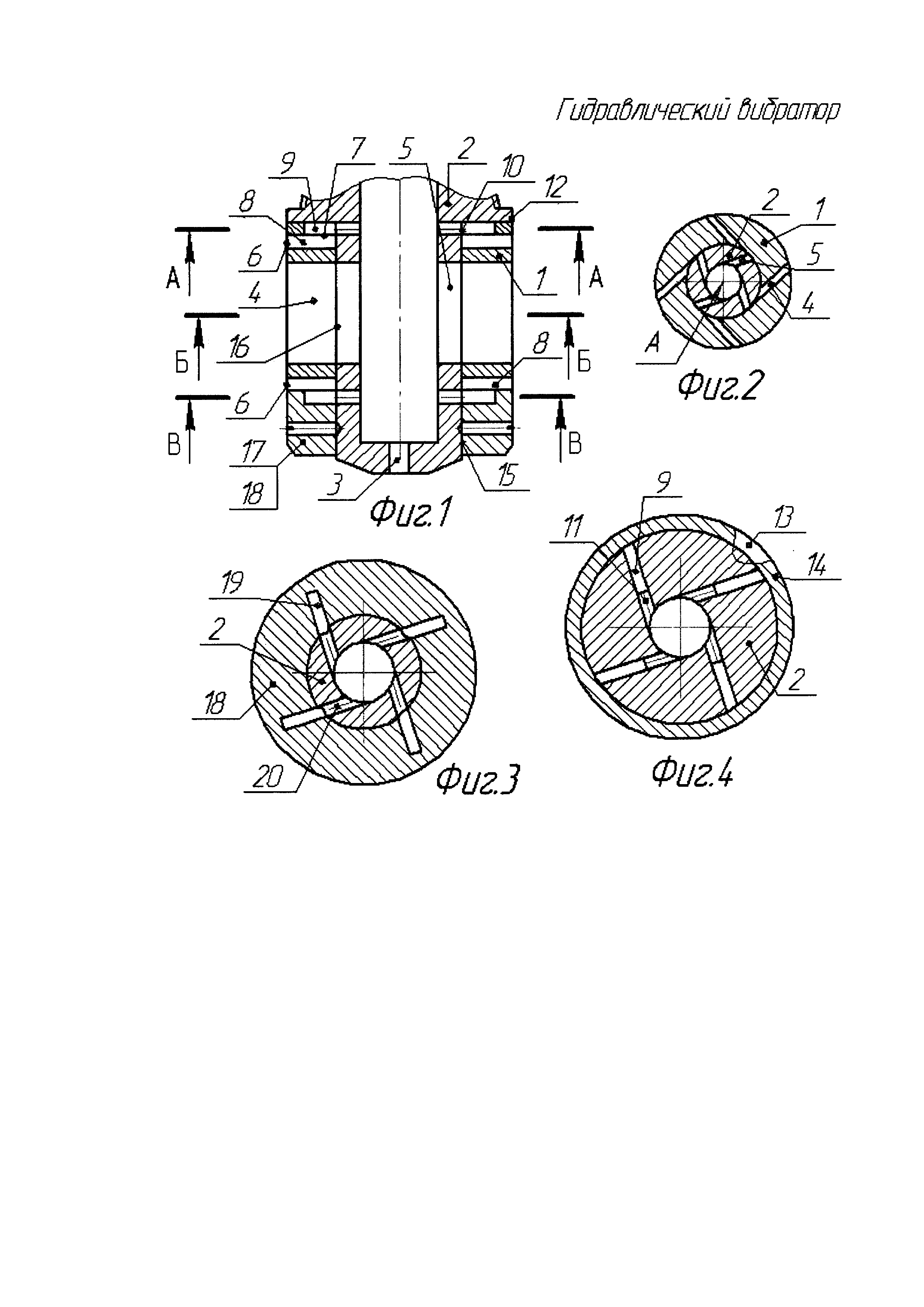
На фиг. 1 изображен гидравлический вибратор в разрезе, наклонные канавки, углубления, отверстия и щелевые прорези в разрезе условно показаны по всей длине; на фиг. 2 - разрез Б-Б на фиг. 1; на фиг. 3 - разрез В-В на фиг. 1; на фиг. 4 - разрез А-А на фиг. 1.

[7]

Гидравлический вибратор содержит золотник 1 и ствол 2 с донным отверстием 3. Ствол и золотник выполнены с щелевыми прорезями, расположенными под углом к их образующей. Щелевые прорези 4 золотника 1 расположены в противоположном направлении к щелевым прорезям 5 ствола 2. На обоих торцах золотника 1 имеется цилиндрический выступ 6, наружная и внутренняя стенки которого примыкают к соответствующим стенкам золотника. При этом с открытых торцов 7 каждого выступа 6 напротив щелевых прорезей 4 золотника выполнены канавки 8. С торца ствола 2, расположенного напротив верхнего выступа 6 золотника, выполнены углубления 9. Каждое углубление 9 расположено напротив щелевых прорезей 5 ствола и направление каждого из них совпадает с направлением этих прорезей 5 ствола. С вертикально расположенной стенки 10 каждого углубления 9 ствола просверлено отверстие 11 (фиг. 4). С наружной боковой стенки 12 ствола напротив углублений 9 выполнена цилиндрическая расточка 13, снабженная кольцом 14. Благодаря этому кольцу при работе устройства жидкость не сразу выходит наружу ствола 2, а давит на торец 7 верхнего выступа 6 золотника. Наружный диаметр кольца 14 выбран равным наружному диаметру золотника 1, чтобы она не ударялась на грани торцов обсадной колонны при спуске вибратора в скважину. Высота кольца 14 равна глубине углубления 9 ствола, чтобы между нижним торцом этого кольца и торцом ствола 2, расположенного напротив верхнего выступа 6, не было ступеньки. Нижний конец ствола 2 под золотником выполнен с наружной боковой цилиндрической стенкой 15, примыкающей к наружной стенке 16 ствола, куда посажен золотник. При таком выполнении нижнего конца ствола обеспечивается установка золотника на ствол 2. На нижнем конце ствола имеется опора 17 для золотника 1, выполненная в виде втулки 18, которая своим отверстием неподвижно с помощью стопорных винтов посажена нижний конец ствола. С верхнего торца втулки 18 напротив каждой щелевой прорези 5 ствола выполнены углубления 19, расположенные по направлению щелевых прорезей 5 ствола. Каждое углубление 19 втулки не доходит до наружной стенки втулки и открыто к внутренней стенке втулки. Напротив каждого углубления 19 втулки просверлено отверстие 20 (фиг. 3), расположенное по направлению углубления втулки. Золотник между кольцом 14 ствола и втулкой 18 установлен в стволе 2 с возможностью вращения. Для этого между торцом 7 верхнего выступа 8 и нижним торцом кольца 14 имеется незначительный зазор.

[8]

Принцип работы гидравлического вибратора заключается в следующем. В колонну насосно-компрессорных труб соединяют с помощью переводника верхний конец вибратора. После спуска вибратора на необходимый интервал скважины в полости А ствола 2 создают избыточное давление жидкости. Жидкость, вытекая через щелевые прорези 4 и 5 ствола 2 и золотника 1, вращает золотник по часовой стрелки (по фиг. 2). Жидкость также проходит через отверстия 11 и 20 ствола 2 и поступает в углубления 9 ствола 2 и углубления 19 втулки 18. С этих углублений 9 и 19 жидкость периодически давит на верхний и нижний торец 7 золотника и незначительно (в пределах зазора между верхним торцом втулки 18 и нижним торцом 7 золотника) передвигает вращающийся золотник вверх. При этом из-за давления жидкости между верхним торцом втулки 18 и нижним торцом 7 золотника образуется зазор, через который жидкость выходит наружу вибратора. Одновременно, когда канавки 8 нижнего выступа 6 золотника при вращении золотника совмещаются с углублениями 19 втулки 18, жидкость выходит наружу золотника через канавки 8 нижнего выступа 6. Также жидкость проходит через зазор между торцом 7 верхнего выступа 6 и торцом ствола 2, расположенного напротив верхнего выступа 6 золотника. Далее жидкость выходит наружу золотника через зазор между торцом 7 верхнего выступа 6 и нижним торцом кольца 14. При совмещении канавок 8 верхнего выступа 6 золотника с углублениями 9 ствола 2 жидкость выходит наружу золотника через канавки 8 верхнего выступа 6.

[9]

При работе предложенного гидравлического вибратора под действием давления жидкости между перемещающимися относительно друг друга стенками кольца и золотника, ствола и золотника, а также втулки и золотника образуются зазоры. Через эти зазоры проходит жидкость, которая предотвращает трение стенок посадочных мест друг к другу. Поэтому предложенный гидравлический вибратор работает в исправном состоянии дольше, чем прототип. Благодаря этому повышается работоспособность предложенного устройства.

[10]

Источники информации

[11]

1. Патент RU №2161237, МПК Е21В 28/00, Е21В 43/25, опубл. 27.12.2000.

[12]

2. Справочное руководство по проектированию, разработки и эксплуатации нефтяных месторождений. Добыча нефти. Под общей ред. Ш.К. Гиматудинова. – М.: Недра, 1983, с. 365.

Как компенсировать расходы
на инновационную разработку
Похожие патенты