патент
№ RU 2617459
МПК G01S17/88

МНОГОКАНАЛЬНАЯ ОПТИКО-ЛОКАЦИОННАЯ СИСТЕМА

Авторы:
Ямуков Виктор Кириллович Иванов Владимир Петрович Нигматуллина Наталья Геннадьевна
Все (9)
Номер заявки
2015145968
Дата подачи заявки
26.10.2015
Опубликовано
25.04.2017
Страна
RU
Как управлять
интеллектуальной собственностью
Чертежи 
1
Реферат

Многоканальная оптико-локационная система содержит тепловизионный, телевизионный и инфракрасный коротковолновый каналы наблюдения с общим зеркальным телескопом, излучающий и приемный лазерные каналы, широкоспектральный и два узкоспектральных излучателя, приемо-передающий телескоп, спектроделители, а также вычислительно-управляющий блок. Приемо-передающий телескоп является общим для приемного лазерного канала и широкоспектрального излучателя. Кроме того, инфракрасный коротковолновый канал содержит узкополосный фильтр, который вводится в оптический тракт во время процедуры проверки соосности оптических каналов во время полета носителя, на котором установлена система. Технический результат заключается в повышении надежности обнаружения объектов, наведения и удержания на них лазерного излучения и достигается за счет осуществления в полете оперативного контроля и коррекции взаимной привязки оптических осей каналов. 3 з.п. ф-лы, 1 ил.

Формула изобретения

1. Многоканальная оптико-локационная система, содержащая тепловизионный и телевизионный каналы с оптической системой и фотоприемным устройством в каждом, приемный телескоп, сопряженный с телевизионным каналом, передающий лазерный канал с лазерным излучателем и передающим телескопом, приемный лазерный канал, содержащий оптическую систему и фотоприемное устройство, коллиматор с широкоспектральным излучателем, первый спектроделитель и вычислительно-управляющий блок, подключенный к фотоприемным устройствам телевизионного, тепловизионного и приемного лазерного каналов, лазерному и широкоспектральному излучателям, отличающаяся тем, что в нее дополнительно введены инфракрасный коротковолновый канал наблюдения с оптической системой, включающей узкополосный фильтр, установленный с возможностью ввода-вывода в оптический тракт с помощью привода, и фотоприемным устройством, подключенным к вычислительно-управляющему блоку, приемо-передающий телескоп, сопряженный с помощью дополнительно введенного второго спектроделителя с приемным лазерным каналом и коллиматором, при этом приемный телескоп выполнен зеркальным, является общим для тепловизионного, телевизионного и инфракрасного коротковолнового каналов и сопряжен с их оптическими системами с помощью последовательно установленных первого и дополнительно введенного третьего спектроделителей, при этом привод узкополосного фильтра подключен к вычислительно-управляющему блоку.

2. Многоканальная оптико-локационная система по п. 1, отличающаяся тем, что вычислительно-управляющий блок содержит устройство управления, подключенное к широкоспектральному излучателю, приводу узкополосного фильтра и лазерному излучателю передающего лазерного канала, анализатор лазерных сигналов, подключенный к устройству управления и фотоприемному устройству приемного лазерного канала, а также анализатор сигналов изображений, подключенный к фотоприемным устройствам тепловизионного, телевизионного и инфракрасного коротковолнового каналов и устройству управления, при этом управляющий вход устройства управления и выходы анализатора лазерных сигналов и анализатора сигналов изображений являются управляющим входом-выходом вычислительно-управляющего блока, выполненного с возможностью подключения к бортовой информационной системе.

3. Многоканальная оптико-локационная система по п. 2, отличающаяся тем, что в передающем лазерном канале установлен узкоспектральный излучатель, сопряженный с помощью дополнительно введенных объектива и светоделителя с передающим телескопом и подключенный к устройству управления вычислительно-управляющего блока.

4. Многоканальная оптико-локационная система по п. 2, отличающаяся тем, что в приемном лазерном канале установлен узкоспектральный излучатель, сопряженный с помощью второго спектроделителя с фотоприемным устройством приемного лазерного канала и подключенный к устройству управления вычислительно-управляющего блока.

Описание

[1]

Изобретение относится к приборостроению, в частности к оптико-электронным приборам, предназначенным для поиска и обнаружения объектов в видимом и инфракрасном диапазонах спектра с последующим наведением на них лазерного излучения для дальнометрирования, целеуказания и маркировки, и может найти применение в авиации.

[2]

К системам такого назначения предъявляются требования, во-первых, обнаружения объектов различных типов по их собственному и отраженному излучениям в дневных и ночных условиях, в простой и сложной фоновой обстановке и во-вторых, высокоточного наведения и удержания на них лазерного излучения.

[3]

Известна многофункциональная оптико-локационная система (см. патент на изобретение РФ №2292566, МПК G01S 17/00, опубл. 27.01.2007 г.), содержащая передающий лазерный канал с лазерным излучателем и передающим телескопом, а также теплопеленгационный и приемный лазерный каналы, имеющие общие объектив и фотоприемное устройство с двумя параллельными линейками фоточувствительных элементов. Одна линейка служит для приема теплового излучения от объекта, а вторая - для приема отраженного лазерного излучения. Поиск теплоизлучающих объектов осуществляется путем оптико-механического сканирования зоны обзора системой из трех зеркал. Для сохранения ориентации изображений линеек фоточувствительных элементов в пространстве объектов, а также направленности лазерного излучения при всех положениях сканирующих зеркал в оптические тракты передающего лазерного и теплопеленгационного каналов введены соответствующие вращающиеся компенсаторы поворота изображения, снабженные приводами и датчиками углового положения. Недостатком данной системы является высокая вероятность рассогласования оптических осей каналов из-за наличия погрешностей синхронизации подвижных элементов, вращающихся с различными угловыми скоростями. Кроме того, работа системы в пассивном и активном режимах осуществляется в одном спектральном диапазоне. Это снижает информативность оптико-локационной системы по поиску и обнаружению объектов, не обеспечивает их надежного распознавания. В результате эффективность работы системы снижается.

[4]

Известна многофункциональная оптико-локационная система (см. патент на изобретение РФ №2372628, МПК G01S 17/00, опубл. 10.11.2009 г.), содержащая теплопеленгационный и телевизионный каналы с оптической системой и фотоприемным устройством в каждом, передающий лазерный канал с лазерным излучателем и передающим телескопом, приемный лазерный канал с оптической системой и фотоприемным устройством, многоспектральный излучатель, блоки обработки сигналов и центральный блок управления. Поиск теплоизлучающих объектов осуществляется путем оптико-механического сканирования зоны обзора системой из трех зеркал, имеющих возможность вращения относительно двух осей. Фотоприемное устройство теплопеленгационного канала выполнено в виде линейки фоточувствительных элементов. В процессе просмотра поля обзора выходные сигналы с фотоприемного устройства поступают в соответствующий блок обработки сигналов, где происходит выделение приоритетного объекта, определение его координат и выдача заданий на угломестный привод вращения сканирующих зеркал для совмещения угломестных координат объекта и оптической оси теплопеленгационного канала. Помимо поисковой системы сканирования оптико-локационная система содержит два вращающихся компенсатора поворота изображения и однокоординатный дефлектор. Каждый из этих элементов снабжен приводом и датчиком углового положения. Запуск лазерного излучателя осуществляется при равномерном вращении системы сканирования и при совпадении вектора движения оптической оси теплопеленгационного канала с координатами объекта с учетом требуемого упреждения по времени. Недостатком описанной оптико-локационной системы является снижение надежности из-за погрешностей синхронизации большого числа подвижных элементов, которые в процессе работы могут привести к рассогласованию оптических осей каналов и к потере информации о наблюдаемом объекте. Кроме того, использование оптико-механического сканирования влечет за собой снижение надежности системы по сравнению с устройствами смотрящего типа, а также увеличение ее массогабаритных параметров, инерционности и энергопотребления.

[5]

Известна многоканальная оптико-локационная система (см. Адаптация в оптико-локационных системах // Оптический журнал. 2004. Т. 71. №2. С. 51-53, рис. 11), принятая в качестве прототипа, которая содержит тепловизионный и телевизионный каналы с оптической системой и фотоприемным устройством в каждом, приемный линзовый телескоп, сопряженный с телевизионным каналом, передающий лазерный канал с лазерным излучателем и передающим телескопом, приемный лазерный канал с оптической системой и фотоприемным устройством, коллиматор с широкоспектральным излучателем, первый спектроделитель и вычислительно-управляющий блок, подключенный к фотоприемным устройствам телевизионного, тепловизионного и приемного лазерного каналов, лазерному и широкоспектральному излучателям. Кроме того, прототип содержит в передающем лазерном канале фильтр-ослабитель, два зеркала для сопряжения передающего лазерного канала и коллиматора с широкоспектральным излучателем, а также котировочный оптический блок с двумя призмами световозвращения, одна из которых служит для сопряжения коллиматора с тепловизионным каналом, а вторая - для сопряжения коллиматора и излучающего лазерного канала с телевизионным каналом и приемным лазерным каналом. Фильтр-ослабитель и оптический блок с призмами имеют возможность ввода-вывода из оптического тракта каналов с помощью приводов. Спектр широкоспектрального излучателя перекрывает спектральные диапазоны тепловизионного и телевизионного каналов, а спектральный диапазон телевизионного канала включает длину волны лазерного излучателя. Оптико-локационная система устанавливается на гиростабилизированную поворотную платформу, размещаемую на авиационном носителе. Проверка параллельности оптических осей всех каналов системы и их взаимная привязка осуществляются в режиме "юстировка". При этом в оптический тракт приемных каналов вводится котировочный оптический блок с призмами световозвращения, а в передающий лазерный канал - фильтр-ослабитель. Затем включаются широкоспектральный и лазерный излучатели. Излучение из коллиматора направляется первой призмой световозвращения в тепловизионный канал, а второй призмой - в телевизионный канал, в результате чего на матрицах соответствующих фотоприемных устройств от широкоспектрального излучателя формируются реперные метки. Кроме того, на матрице телевизионного канала формируется реперная метка от лазерного излучателя. Координаты реперных меток относительно центров матриц соответствующих фотоприемных устройств определяются в вычислительно-управляющем блоке. Их несовпадение с центрами матриц фотоприемных устройств указывает на взаимную непараллельность оптических осей тепловизионного, телевизионного и излучающего лазерного каналов, но при этом может быть осуществлена электронная юстировка, при которой прицельные электронные перекрестия каналов совмещаются с реперными метками путем цифровой коррекции в вычислительно-управляющем блоке. После завершения процедуры взаимной привязки оптических осей каналов фильтр-ослабитель и котировочный оптический блок с призмами световозвращения выводятся из оптического тракта каналов, и оптико-локационная система может работать в штатном режиме. Поиск объектов-целей осуществляется по изображениям пространства объектов, полученным в телевизионном и/или тепловизионном каналах. Изображение выбранного объекта совмещается с прицельными электронными перекрестиями каналов поворотами платформы. Затем включается лазерный передатчик, и по времени прохождения отраженного от объекта лазерного излучения определяется его дальность.

[6]

Недостатком прототипа является наличие значительной базы между тепловизионным и телевизионным каналами, имеющими большие диаметры входных элементов для обеспечения требуемой дальности обнаружения, что вызывает высокую вероятность рассогласования в полете их оптических осей в результате внешних воздействий и может привести к потере информации о наблюдаемом объекте. Использование оптического блока с призмами световозвращения с приводом ввода-вывода для периодической проверки параллельности оптических осей каналов в полете ведет к увеличению массы оптико-электронной системы и возрастанию нагрузки на гиростабилизированную платформу, а это может вызвать недопустимое ухудшение точности ее стабилизации и даже к сбою в работе.

[7]

Кроме того, прототип не обладает достаточной информативностью, так как имеет только телевизионный и тепловизионный каналы наблюдения, что затрудняет или делает невозможным обнаружение объектов при слабой естественной ночной освещенности, а также в условиях дымки, дыма и тумана, когда преимущество имеют системы, работающие в инфракрасном коротковолновом диапазоне спектра.

[8]

Задачей, на решение которой направлено изобретение, является повышение надежности обнаружения объектов, наведения и удержания на них лазерного излучения путем снижения вероятности рассогласования оптических осей каналов в процессе эксплуатации, обеспечения в полете возможности осуществления оперативного контроля и коррекции взаимной привязки оптических осей каналов без ввода в систему громоздкого оптического блока юстировки, а также за счет повышения информативности системы путем обнаружения объектов при слабой естественной ночной освещенности, в условиях дымки, дыма и тумана.

[9]

Поставленная задача решается тем, что в многоканальной оптико-локационной системе, содержащей тепловизионный и телевизионный каналы с оптической системой и фотоприемным устройством в каждом, приемный телескоп, сопряженный с телевизионным каналом, передающий лазерный канал с лазерным излучателем и передающим телескопом, приемный лазерный канал, содержащий оптическую систему и фотоприемное устройство, коллиматор с широкоспектральным излучателем, первый спектроделитель и вычислительно-управляющий блок, подключенный к фотоприемным устройствам телевизионного, тепловизионного и приемного лазерного каналов, лазерному и широкоспектральному излучателям, дополнительно введены инфракрасный коротковолновый канал наблюдения с оптической системой, включающей узкополосный фильтр, установленный с возможностью ввода-вывода в оптический тракт с помощью привода, и фотоприемным устройством, подключенным к вычислительно-управляющему блоку, приемо-передающий телескоп, сопряженный с помощью дополнительно введенного второго спектроделителя с приемным лазерным каналом и коллиматором, при этом приемный телескоп выполнен зеркальным, является общим для тепловизионного, телевизионного и инфракрасного коротковолнового каналов и сопряжен с их оптическими системами с помощью последовательно установленных первого и дополнительно введенного третьего спектроделителей, при этом привод узкополосного фильтра подключен к вычислительно-управляющему блоку.

[10]

А также тем, что вычислительно-управляющий блок содержит устройство управления, подключенное к широкоспектральному излучателю, приводу узкополосного фильтра и лазерному излучателю передающего лазерного канала, анализатор лазерных сигналов, подключенный к устройству управления и фотоприемному устройству приемного лазерного канала, а также анализатор сигналов изображений, подключенный к фотоприемным устройствам тепловизионного, телевизионного и инфракрасного коротковолнового каналов и устройству управления, при этом управляющий вход устройства управления и выходы анализатора лазерных сигналов и анализатора сигналов изображений являются управляющим входом-выходом вычислительно-управляющего блока, выполненного с возможностью подключения к бортовой информационной системе.

[11]

А также тем, что в передающем лазерном канале установлен узкоспектральный излучатель, сопряженный с помощью дополнительно введенных объектива и светоделителя с передающим телескопом и подключенный к устройству управления вычислительно-управляющего блока.

[12]

А также тем, что в приемном лазерном канале установлен узкоспектральный излучатель, сопряженный с помощью второго спектроделителя с фотоприемным устройством приемного лазерного канала и подключенный к устройству управления вычислительно-управляющего блока.

[13]

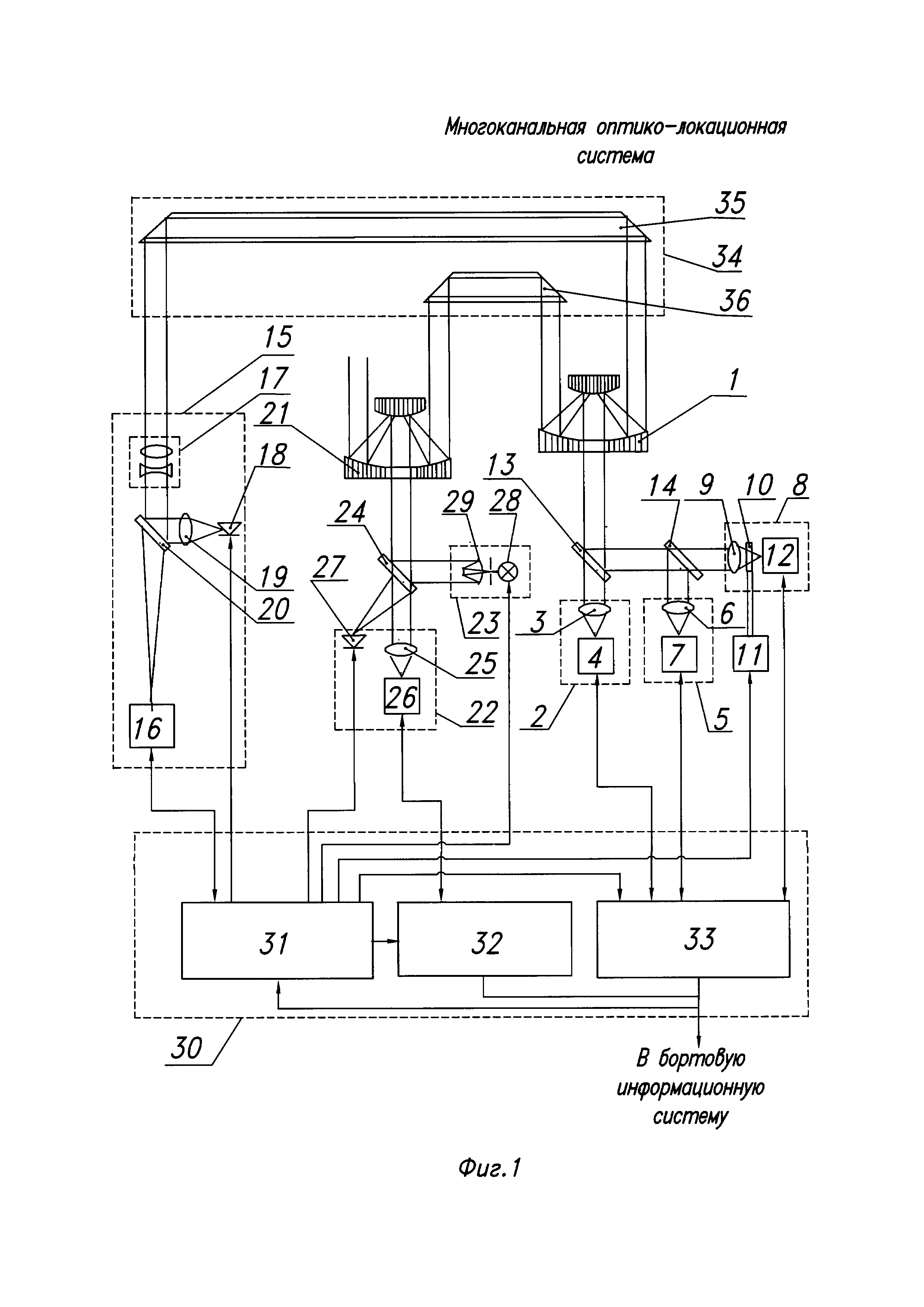
Блок-схема заявляемого устройства приведена на фиг. 1.

[14]

Многоканальная оптико-локационная система содержит приемный зеркальный телескоп 1, являющийся общим для трех информационных каналов: тепловизионного канала 2 с оптической системой 3 и фотоприемным устройством 4, телевизионного канала 5 с оптической системой 6 и фотоприемным устройством 7 и инфракрасного коротковолнового канала наблюдения 8 с объективом 9, узкополосным фильтром 10, имеющим возможность ввода-вывода с помощью привода 11, и фотоприемным устройством 12. Телевизионный канал 5 и инфракрасный коротковолновый канал 8 сопряжены с телескопом 1 с помощью последовательно установленных спектроделителей 13 и 14. Оптико-локационная система также содержит передающий лазерный канал 15 с лазерным излучателем 16, передающим телескопом 17, узкоспектральным излучателем 18, имитирующим излучение лазерного излучателя 16, и объективом 19, сопряженным с телескопом 17 с помощью светоделителя 20. Кроме того, оптико-локационная система содержит приемо-передающий зеркальный телескоп 21, являющийся общим для приемного лазерного канала 22 и для коллиматора 23, сопряженных с помощью спектроделителя 24. Приемный лазерный канал 22 включает объектив 25, фотоприемное устройство 26 и сопряженный с ним узкоспектральный излучатель 27. Передающий 15 и приемный 22 лазерные каналы представляют собой лазерный дальномер. Коллиматор 23 включает широкоспектральный излучатель 28 с диафрагмой и зеркальный объектив 29. Коллиматор 23 и приемо-передающий телескоп 21 в совокупности представляют широкоспектральный излучающий канал. Узкополосный фильтр 10 в инфракрасном коротковолновом канале 8 пропускает излучение с длиной волны, соответствующей длине волны лазерного излучателя 16. Длина волны узкоспектральных излучателей 18 и 27, в качестве которых могут быть использованы полупроводниковые светодиоды, также соответствует длине волны лазерного излучателя 16. Спектральный диапазон фотоприемного устройства 12 инфракрасного коротковолнового канала 8 включает длину волны лазерного излучателя 16. Вычислительно-управляющий блок 30 содержит устройство управления 31, подключенное к лазерному излучателю 16, узкоспектральным и широкоспектральному излучателям 18, 27 и 28 и к приводу 11, анализатор лазерных сигналов 32, подключенный к фотоприемному устройству 26 приемного лазерного канала 22 и устройству управления 31, а также анализатор сигналов изображений 33, подключенный к фотоприемным устройствам 4, 7 и 12 тепловизионного 2, телевизионного 5 и инфракрасного коротковолнового 8 каналов соответственно и устройству управления 31. Устройство управления 31, анализатор лазерных сигналов 32 и анализатор сигналов изображений 33 имеют связь с бортовой информационной системой. Кроме того, на фиг. 1 в качестве примера показан котировочный оптический блок 34, используемый при предполетной наземной юстировке и содержащий два световозвращающих элемента 35, 36. Юстировка может быть осуществлена и с помощью других известных средств.

[15]

Многоканальная оптико-локационная система работает следующим образом. В наземных условиях осуществляется предварительный процесс юстировки, заключающийся в выставлении параллельности оптических осей информационных каналов 2, 5, 8, передающего лазерного канала 15 и широкоспектрального излучающего канала (23, 21) с помощью юстировочного оптического блока 34, устанавливаемого во время юстировки перед оптико-локационной системой. Световозвращающий элемент 35 направляет излучение из передающего лазерного канала 15 в приемный телескоп 1, а элемент 36 - из широкоспектрального излучающего канала (23, 21) в этот же телескоп 1. На данном этапе сначала включается узкоспектральный излучатель 18, и в оптический тракт инфракрасного коротковолнового канала 8 вводится узкополосный фильтр 10 с помощью привода 11. Поток энергии от излучателя 18, выходящий из передающего телескопа 17 передающего лазерного канала 15, после отражения от световозвращающего элемента 35 поступает в приемный телескоп 1, затем отражается от спектроделителя 13, проходит через спектроделитель 14, направляется в объектив 9 инфракрасного коротковолнового канала 8, проходит через узкополосный фильтр 10 и фокусируется на фотоприемном устройстве 12. Таким образом формируется первая реперная метка, координаты которой определяются с помощью анализатора сигналов изображений 33. Введение узкоспектрального излучателя 18, обладающего значительно меньшей мощностью излучения по сравнению с лазерным излучателем 16, позволяет предотвратить выход из строя фотоприемных устройств 7 и 12. Затем узкоспектральный излучатель 18 выключается, а включается широкоспектральный излучатель 28. Поток энергии от излучателя 28 проходит через зеркальный объектив 29 коллиматора 23, отражается от спектроделителя 24, проходит приемо-передающий зеркальный телескоп 21, после отражения от световозвращающего элемента 36 поступает в приемный телескоп 1 и таким же путем, как и поток от узкоспектрального излучателя 18, направляется в объектив 9 инфракрасного коротковолнового канала 8, проходит через узкополосный фильтр 10 и фокусируется на фотоприемном устройстве 12, на матрице которого формируется вторая реперная метка, а ее координаты также определяются с помощью анализатора сигналов изображений 33. Разница в координатах двух последовательно полученных на матрице фотоприемного устройства 12 реперных меток свидетельствует о рассогласовании осей передающего лазерного канала 15 и широкоспектрального излучающего канала. При недопустимой величине рассогласования необходимо произвести подъюстировку передающего лазерного канала 15, например с помощью оптических клиньев (на схеме не показаны), и добиться совпадения координат реперных меток. Поскольку поле зрения приемного лазерного канала 22 в несколько раз превышает угловую зону возможных ошибок рассогласования осей передающего лазерного канала 15 и коллиматора 23, эта подъюстировка не ухудшит работу лазерного дальномера. После устранения рассогласования осей передающего лазерного канала 15 и широкоспектрального излучающего канала (23, 21) необходимо совместить прицельное электронное перекрестие инфракрасного коротковолнового канала 8 с центром второй реперной метки путем цифровой коррекции в анализаторе сигналов изображений 33.

[16]

Часть потока энергии от широкоспектрального излучателя 28, поступающая в приемный телескоп 1, проходит через спектроделитель 13 и поступает в тепловизионный канал 2, а часть - отражается от него, затем отражается от спектроделителя 14 и поступает в телевизионный канал 5. Поскольку спектр излучателя 28 перекрывает рабочие спектральные диапазоны этих каналов, то на матрицах соответствующих фотоприемных устройств формируются реперные метки, с которыми необходимо совместить прицельные электронные перекрестия тепловизионного канала 2 и телевизионного канала 5 с помощью анализатора сигналов изображений 33.

[17]

Узкоспектральный излучатель 27 служит для проверки правильности функционировании фотоприемного устройства 26 приемного лазерного канала 22. В устройстве управления 31 генерируются два сигнала с временным интервалом dt. Первый сигнал имитирует опорный импульс лазерного излучателя и подается в анализатор лазерных сигналов 32, а второй сигнал подается на узкоспектральный излучатель 27 для генерации импульса излучения, имитирующего сигнал, возникающий на фотоприемном устройстве 26 в результате воздействия отраженного лазерного излучения от объекта. В анализаторе лазерных сигналов 32 определяется дальность до объекта, соответствующая интервалу времени dt, и сравнивается с величиной дальности, внесенной в его память.

[18]

При работе в штатном режиме в полете гиростабилизированная платформа, на которой установлена оптико-локационная система, поворачивается в соответствии с направлением, заданным бортовой информационной системой. Излучение от пространства объектов принимается приемным телескопом 1, проходит через спектроделители 13, 14 и создает изображения одновременно в трех информационных каналах 2, 5 и 8. В результате анализа этих изображений определяется объект-цель. При этом узкополосный фильтр 10 выведен из оптического тракта инфракрасного коротковолнового канала 8. Поворотами платформы изображение цели совмещается с прицельными электронными перекрестиями информационных каналов 2, 5 и 8. Затем включается лазерный излучатель 16, и по величине временного интервала от опорного импульса от передающего лазерного канала 15 до сигнала, зарегистрированного на фотоприемном устройстве 26 приемного лазерного канала 22 в результате воздействия отраженного от цели лазерного излучения, в анализаторе лазерных сигналов 32 определяется дальность до цели.

[19]

Взаимная привязка осей каналов в режиме полета осуществляется следующим образом. В оптический тракт инфракрасного коротковолнового канала 8 вводится узкополосный фильтр 10. Отраженные от земли или какого-либо объекта лазерные сигналы от передающего лазерного канала 15 через приемный зеркальный телескоп 1, спектроделители 13, 14 поступают в инфракрасный коротковолновый канал 8 и регистрируются фотоприемным устройством 12. Координаты центра лазерного пятна на матрице фотоприемного устройства 12 в анализаторе сигналов изображений 33 сравниваются с координатами реперной метки, полученными в режиме предполетной юстировки. На основании сравнения полученных координат вводятся соответствующие поправки в положение прицельных электронных перекрестий информационных каналов 2, 5 и 8. Затем узкополосный фильтр 10 выводится из оптического тракта инфракрасного коротковолнового канала 8, после чего оптико-локационная система может продолжать работать в штатном режиме.

[20]

Использование общего приемного телескопа 1, выполненного из двух зеркал, позволяет уменьшить диаметры входных линз оптических систем 3, 6 и объектива 9 информационных каналов 2, 5 и 8, разместить их более компактно, следовательно, уменьшить вероятность рассогласования оптических осей каналов в процессе эксплуатации, а также уменьшить их массу и нагрузку на гиростабилизированную платформу. Вместе с тем зеркальный телескоп по сравнению с линзовым имеет меньшую осевую длину, не вносит хроматических аберраций, поэтому позволяет работать в широком спектральном диапазоне, перекрывающем рабочие спектральные диапазоны всех информационных каналов. Также использование общего приемо-передающего телескопа 21 для приемного лазерного канала 22 и коллиматора 23 позволяет создать более компактную конструкцию и вместе с тем увеличить фокусное расстояние широкоспектрального излучающего канала и, тем самым, повысить точность сведения оптических осей каналов.

[21]

Введение инфракрасного коротковолнового канала позволяет не только повысить информативность системы за счет обнаружения объектов при слабой естественной ночной освещенности, в условиях дымки, дыма и тумана, но и обеспечивает во время полета возможность осуществления контроля и коррекции взаимной привязки оптических осей каналов путем приема этим каналом отраженных лазерных сигналов без ввода в систему громоздкого оптического блока юстировки.

[22]

Таким образом, предлагаемое изобретение позволяет повысить надежность обнаружения объектов, наведения и удержания на них лазерного излучения за счет снижения вероятности рассогласования оптических осей, повышения информативности системы и точности взаимной привязки оптических осей каналов системы в режиме полета при упрощении процесса юстировки и снижении нагрузки на гиростабилизированную платформу носителя.

Как компенсировать расходы
на инновационную разработку
Похожие патенты