патент
№ RU 2647399
МПК B64C1/26

Крыло самолёта со съёмными нижними панелями, устройство для крепления нижних панелей и узел соединения подкоса с крылом

Авторы:
Озерицкий Кирилл Владимирович
Номер заявки
2016152058
Дата подачи заявки
28.12.2016
Опубликовано
15.03.2018
Страна
RU
Как управлять
интеллектуальной собственностью
Реферат

Крыло самолета состоит из двух соединенных с фюзеляжем консолей, каждая из которых подкреплена подкосом, и содержит верхнюю панель, передний, центральный и задний лонжероны, балочные и рамные нервюры, а также съемные нижние панели. Нижние панели соединяются с нижними поясами лонжеронов и нервюр при помощи креплений, обеспечивающих ограниченную подвижность панелей в направлении вдоль крыла. Рамные нервюры имеют съемные нижние ветви, центральный лонжерон разветвляется в направлении фюзеляжа на переднюю и заднюю ветви. Устройство для крепления нижних панелей крыла содержит болты, проходящие через отверстия в нижних панелях крыла, и сквозные пазы в нижних поясах лонжеронов и нервюр, соединенные с плавающими гайками, размещенными в обоймах прищепках, установленных в углублениях на нижних поясах лонжеронов и нервюр. Узел соединения подкоса с крылом содержит опорную балку с цапфами, закрепленными в передней, центральной и задней опорах на лонжеронах крыла, переднее и заднее внешние звенья, центральное звено, переднее и заднее внутренние звенья. Группа изобретений направлена на снижение массы крыла, обеспечение надежности и прочности конструкции крыла. 3 н. и 16 з.п. ф-лы, 20 ил.

Формула изобретения

1. Крыло самолета, состоящее из двух соединенных с фюзеляжем консолей, каждая из которых подкреплена подкосом, шарнирно соединенным с лонжеронами крыла и с фюзеляжем, и содержит верхнюю панель, состоящую из несущей обшивки, подкрепленной стрингерами, передний, центральный и задний лонжероны, балочные и рамные нервюры, а также съемные нижние панели, соединенные с нижними поясами лонжеронов и нервюр и выполненные таким образом, что полная жесткость съемных нижних панелей при растяжении или сжатии в продольном направлении крыла летательного аппарата ниже, чем полная жесткость нижних поясов лонжеронов при растяжении или сжатии в указанном направлении, отличающееся тем, что рамные нервюры имеют съемные нижние ветви, а съемные нижние панели соединяются с нижними поясами лонжеронов и нервюр при помощи креплений, обеспечивающих ограниченную подвижность панелей в направлении вдоль крыла и работают на восприятие сдвиговых усилий от кручения крыла, центральный лонжерон крыла имеет Y-образную форму, разветвляется в направлении фюзеляжа на переднюю и заднюю ветви, которые соединяются с передним и задним лонжеронами соответственно.

2. Крыло самолета по п. 1, отличающееся тем, что съемные нижние ветви рамных нервюр выполнены в виде двутавровых балок с волнообразной стенкой.

3. Крыло самолета по п. 1, отличающееся тем, что консоли крепятся к центроплану.

4. Крыло самолета по п. 1, отличающееся тем, что верхняя панель, и/или нижние съемные панели, и/или передний, и/или центральный, и/или задний лонжероны, и/или балочные, и/или рамные нервюры, и/или подкосы выполнены из полимерных композиционных материалов.

5. Крыло самолета по п. 1, отличающееся тем, что верхняя панель, и/или нижние съемные панели и/или передний и/или центральный и/или задний лонжероны и/или балочные и/или рамные нервюры имеют сотовую конструкцию.

6. Устройство для крепления нижних панелей крыла, содержащее крепежные элементы в виде болтов, проходящих через сквозные цилиндрические отверстия в нижних панелях крыла и соединенных резьбовой частью с гайками, установленными на нижних поясах лонжеронов и нервюр, отличающееся тем, что гайки размещены в обоймах-прищепках, установленных в углублениях прямоугольной формы, выполненных в нижних поясах лонжеронов и нервюр со стороны нижних панелей; между щеками обойм-прищепок и поверхностями нижних поясов лонжеронов и нервюр установлены шайбы из металлофторопластовой ленты таким образом, что шайбы располагаются фторопластовым слоем к поверхности пояса лонжерона (нервюры) и металлической стороной к поверхности обоймы-прищепки; углубления, выполненные в поясах лонжеронов и нервюр, имеют глубину не менее суммарной толщины лапки обоймы-прищепки и металло-фторопластовой шайбы, установленной между лапкой обоймы-прищепки и поверхностью углубления на нижнем поясе лонжерона (нервюры), обращенной к нижней панели крыла, гайки, размещенные в обоймах-прищепках, выполнены плавающими и самоконтрящимися; сквозные цилиндрические отверстия в съемных нижних панелях выполнены с зенковкой с нижней стороны панелей, а болты, проходящие через сквозные цилиндрические отверстия в нижних панелях, выполнены с потайной головкой; в нижних поясах лонжеронов и нервюр выполнены сквозные пазы прямоугольной, скругленной на концах формы в плане, ориентированные длинной стороной перпендикулярно плоскостям нервюр; в пазы между щеками обойм-прищепок вложены распорные втулки; на нижние пояса лонжеронов и нервюр и на съемные панели в зонах их контакта с поясами лонжеронов и нервюр наклеены ленты из оргалона.

7. Узел соединения подкоса с крылом, содержащий сферический шарнир, отличающийся тем, что подкос крепится к лонжеронам крыла с помощью опорной балки, состоящей из передней и задней траверс, соединенных с цапфами, закрепленными в передней, центральной и задней опорах, смонтированных на лонжеронах крыла и содержащих сферические шарниры, центры которых расположены на одной оси; переднего внешнего и заднего внешнего звеньев, соединенных верхними концевыми частями с траверсами с помощью осевых шарниров, а нижними концевыми частями соединенных с подкосом при помощи как минимум одного осевого шарнира, проходящего через нижние концевые части переднего и заднего внешних звеньев и через проушины, выполненные в верхней части подкоса; центрального звена, соединенного с передним и задним внешними звеньями осевыми шарнирами, оси которых параллельны осям шарниров на концевых частях звеньев и выполненного из двух частей, неподвижно скрепленных между собой и образующих внутри отверстие ромбовидной формы в плане, при этом верхняя часть центрального звена проходит через отверстие, выполненное в стенке центрального лонжерона; переднего внутреннего и заднего внутреннего звеньев, соединенных осевыми шарнирами с траверсами опорной балки и передним и задним внешними звеньями соответственно.

8. Узел соединения подкоса с крылом по п. 7, отличающийся тем, что сферические шарниры в передней, центральной и задней опорах, смонтированных на лонжеронах крыла, выполнены в виде подшипниковых узлов, состоящих каждый из одного радиального сферического и двух упорных сферических подшипников;

9. Узел соединения подкоса с крылом по п. 7, отличающийся тем, что опорная балка содержит устройства для регулировки своего положения относительно каждого лонжерона, выполненные в виде трех пар гаек, имеющих возможность перемещения по резьбовым частям передней, центральной и задней цапф опорной балки.

10. Узел соединения подкоса с крылом по п. 7, отличающийся тем, что каждая опора балки имеет устройство для регулировки положения сферических шарниров относительно лонжерона, выполненные в виде резьбовых упорных крышек, имеющих возможность перемещения по резьбе на корпусе опоры.

11. Узел соединения подкоса с крылом по п. 7, отличающийся тем, что переднее и заднее внешние звенья, а также переднее и заднее внутренние звенья, выполнены в виде двутавровых балок переменного сечения с проушинами на концах.

12. Узел соединения подкоса с крылом по п. 7, отличающийся тем, что отверстия, выполненные в передних внешних и внутренних и задних внешних и внутренних звеньях, а также в проушинах центрального звена и подкоса, служащие для шарнирного соединения этих элементов между собой, оснащены втулками.

13. Узел соединения подкоса с крылом по п. 7, отличающийся тем, что части центрального звена неподвижно скреплены между собой разъемным болтовым соединением.

14. Узел соединения подкоса с крылом по п. 7, отличающийся тем, что передняя и задняя половины центрального звена, выполнены в виде двутавровых балок переменного сечения с проушинами на концах.

15. Узел соединения подкоса с крылом по п. 7, отличающийся тем, что ось жесткости переднего внешнего звена проходит через центр сферического шарнира, установленного на переднем лонжероне, а ось жесткости заднего внешнего звена проходит через центр сферического шарнира, установленного на заднем лонжероне.

16. Узел соединения подкоса с крылом по п. 7, отличающийся тем, что оси жесткости переднего и заднего внутренних звеньев проходят через центр сферического шарнира, установленного на центральном лонжероне.

17. Узел соединения подкоса с крылом по п. 7, отличающийся тем, что передняя и задняя траверсы опорной балки выполнены каждая из двух частей, соединенных между собой и с цапфами болтами, при этом траверсы имеют отверстия с запрессованными в них втулками для шарнирных соединений с передними и задними внешними и внутренними звеньями.

18. Узел соединения подкоса с крылом по п. 7, отличающийся тем, что переднее и заднее внешние звенья, соединены с подкосом нижними концевыми частями при помощи двух осевых шарниров, проходящих соответственно через нижние концевые части переднего и заднего внешних звеньев и через проушины, выполненные в верхней части подкоса.

19. Узел соединения подкоса с крылом по п. 7, отличающийся тем, что центральное звено выполнено неразборным и проходит через отверстие, выполненное в стенке центрального лонжерона или под центральным лонжероном.

Описание

[1]

Область техники

[2]

Группа изобретений относится к авиации, а именно к конструкции крыльев самолетов и узлов крепления крыльев.

[3]

Уровень техники

[4]

Задача снижения себестоимости и увеличения дальности авиаперевозок продиктована современными требованиями, предъявляемыми к коммерческой авиации. Решением данной задачи является повышение качества весового проектирования и улучшение аэродинамики самолета, в том числе за счет применения аэродинамических профилей с ламинарным обтеканием.

[5]

Известно, что в дозвуковом скоростном диапазоне полета самолета наибольшую выгоду дает применение под косного крыла с удлинением более 15-ти (описание патента US 2643076, www.uspto.gov). Однако для крыла с удлинением более 15-ти затруднительно обеспечить достаточную жесткость и прочность конструкции.

[6]

Известна подкосная схема крыла самолета, в которой лонжероны работают как консольные балки, защемленные или шарнирно закрепленные у фюзеляжа. Сравнение подкосного и свободнонесущего монопланного крыльев с одинаковой площадью несущей поверхности показывает, что коэффициент сопротивления подкосной схемы на 10-11% больше, зато удельный вес подкосного крыла на 17-20% меньше. Кроме того, подкосное крыло вследствие присущей ему высокой жесткости более благополучно в отношении флаттера, чем свободнонесущее, у которого необходимая виброустойчивость достигается обычно за счет увеличения веса конструкции. К этому нужно добавить, что уменьшение веса планера самолета при применении подкосов позволяет, сохраняя нагрузку на 1 м2, уменьшить площадь крыла. Необходимо отметить, что в схеме с одним подкосом для каждой консоли, крыло самостоятельно воспринимает весь крутящий момент, а подкосы разгружают его при изгибе. При этом необходимо применение жесткой обшивки, работающей при кручении. Защемление концов подкосов вследствие их малой жесткости позволяет лишь незначительно разгрузить крыло от крутящего момента, поэтому, а также для облегчения монтажа и устранения возможности появления дополнительных усилий при наличии перекосов, концы подкосов крепятся с помощью шаровых шарниров. (Фомин Н.А., «Конструкция крыла современного самолета», ОБОРОНГИЗ НКАП, Главная редакция авиационной литературы, Москва, 1946 г., стр. 58, 59, 80-85).

[7]

Другим решением, позволяющим повысить жесткость крыла, является применение конструктивно-силовой схемы (КСС) крыла с тремя лонжеронами. Известно трехлонжеронное крыло, конструктивно представляющее собой каркас из продольного и поперечного наборов, покрытый гладкой обшивкой (Шульженко М.Н., «Сборник иллюстраций по курсу конструкций самолетов», Оборонгиз, Москва, 1954 г., стр. 21, фиг. 34). Продольный набор такого крыла состоит из трех лонжеронов и системы стрингеров. Поперечный набор образован нервюрами. Нижние стрингеры и обшивка в между-лонжеронной зоне на большей части размаха вырезаны и образуют люки для монтажа топливных баков. Эти вырезы закрываются крышками, которые воспринимают все нагрузки, приходящиеся на вырезанные элементы центроплана. Размещение топливных баков в крыле выгодно в весовом отношении, так как приводит к разгрузке крыла. Верхние части рамных нервюр служат опорами для баков и установлены с небольшим шагом для обеспечения необходимой устойчивости обшивки верхней панели крыла при сдвиге и для сохранения формы профиля крыла.

[8]

Наиболее близким к заявляемому крылу самолета является крыло самолета Юнкерс Ju-88 с люками на нижней поверхности для размещения баков, вооружения, осмотра проводки и управления, объединенными в съемные работающие панели, которые имеют поперечные, а иногда и продольные подкрепления, подобно несъемным участкам обшивки. Панели прикреплены по всему контуру к лонжеронам и усиленным нервюрам на быстроразъемных соединениях. В подобной конструкции обшивка работает преимущественно на кручение, т.е. имеет слабый продольный набор. (Сутугин Л.Н. «Проектирование частей самолета», ОБОРОНГИЗ, Главная редакция авиационной литературы, Москва, 1947 г., стр. 163-164).

[9]

Известно также, что при стыковке крыла к силовым шпангоутам 1 фюзеляжа (фиг. 1) только по лонжеронам моментными узлами и по стенкам шарнирными узлами, обшивка и стрингеры прерываются у борта фюзеляжа на усиленной бортовой нервюре 2 и, не имея опоры в меж-лонжеронном пространстве, практически "выключаются" из работы крыла на изгиб в зоне А, т.е. потоки усилий с обшивки и стрингеров перераспределяются на пояса лонжеронов 3 на расстоянии по размаху, примерно равном межлонжеронному расстоянию (Егер С.М., Матвеенко A.M., Шаталов И.А., «Основы авиационной техники», Москва, ФГУП изд-во Машиностроение, 2003 г., стр. 284).

[10]

Наиболее близким к заявленному решению соединения подкоса с крылом является решение по патенту (RU 2297947, www1.fips.ru), содержащее крыло и поддерживающие его профилированные подкосы, прикрепленные к подкосам крыла при помощи сферических шарниров. Недостатком данной конструкции является неприменимость ее для трехлонжеронных крыльев.

[11]

Известно «Крепежное устройство» (RU 2567128, www1.fips.ru) для свободного закрепления встраиваемых элементов на несущей конструкции самолета, содержащее крепежный элемент в виде болта, проходящего через сквозные отверстия встраиваемых элементов и соединенного резьбовой частью с гайкой установленной на несущей конструкции.

[12]

Недостатком данного устройства является очень малая степень демпфирования взаимных перемещений элементов, пропорциональная толщине эластомерных прокладок.

[13]

Технической задачей, решаемой заявляемой конструкцией крыла является повышение экономической и технической эффективности самолета за счет применения крыла большого удлинения, выполненного по трехлонжеронной КСС с подкосом.

[14]

Технической задачей, решаемой заявляемым устройством для крепления нижних панелей крыла является создание крепления, позволяющего обеспечить возможность выключения съемных нижних панелей из работы на восприятие усилий растяжения-сжатия, сохранив их участие в работе на восприятие сдвиговых усилий от закручивания крыла.

[15]

Технической задачей, решаемой заявляемым узлом соединения подкоса с крылом, является создание надежного узла минимальной массы, обеспечивающего передачу расчетных нагрузок с каждого лонжерона крыла на подкос.

[16]

Раскрытие изобретения.

[17]

Сущность технического решения заявляемого подкосного крыла самолета заключается в том, что крыло самолета выполнено в виде двух консолей, соединенных с фюзеляжем, каждая из которых содержит: верхнюю панель, передний, центральный и задний лонжероны, балочные и рамные нервюры, съемные нижние панели, соединенные с нижними поясами лонжеронов и нервюр. Подкосы крыла соединены с лонжеронами крыла с помощью узлов, содержащих сферические шарниры. Верхняя панель состоит из несущей обшивки подкрепленной стрингерами и соединена с лонжеронами, имеющими ослабленные поперечные сечения верхних поясов. Съемные нижние панели соединяются с нижними поясами лонжеронов и нервюр при помощи креплений, обеспечивающих ограниченную подвижность панелей в направлении вдоль размаха крыла и работают на восприятие сдвиговых усилий от кручения крыла, но не работают на восприятие усилий растяжения-сжатия. Рамные нервюры имеют съемные нижние ветви. Центральный лонжерон имеет Y-образную форму, разветвляется в направлении фюзеляжа на переднюю и заднюю ветви, которые соединяются с передним и задним лонжеронами соответственно.

[18]

Технический результат, на достижение которого направлена заявляемая конструкция крыла, заключается в снижении массы крыла, при одновременном обеспечении надежности, прочности и удобного доступа во внутренние объемы крыла.

[19]

Сущность технического решения заявляемого устройства крепления нижних панелей состоит в том, что оно содержит крепежные элементы в виде болтов, проходящих через сквозные цилиндрические отверстия в нижних панелях крыла и соединенных резьбовой частью с гайками, установленными на нижних поясах лонжеронов и нервюр. При этом гайки размещены в обоймах-прищепках, установленных в углублениях прямоугольной формы, выполненных в нижних поясах лонжеронов и нервюр со стороны нижних панелей, в которых выполнены сквозные пазы прямоугольной, скругленной на концах формы в плане, ориентированные длинной стороной перпендикулярно плоскостям нервюр, а в пазы между щеками обойм-прищепок вложены распорные втулки.

[20]

Технический результат, на достижение которого направлена заявляемая конструкция устройства крепления нижних панелей состоит в обеспечении ограниченной подвижности съемных нижних панелей относительно лонжеронов и нервюр.

[21]

Сущность технического решения заявляемого узла соединения подкоса с крылом заключается в том, что подкос крепится к лонжеронам крыла с помощью опорной балки, состоящей из передней и задней траверс, соединенных с цапфами, закрепленными в передней, центральной и задней опорах, смонтированных на лонжеронах крыла и содержащих сферические шарниры, центры которых расположены на одной оси. Переднее и заднее внешние звенья соединены верхними концевыми частями с траверсами с помощью осевых шарниров, а нижними концевыми частями соединены с подкосом при помощи осевого шарнира, проходящего через нижние концевые части переднего и заднего внешних звеньев и через проушины, выполненные в верхней части подкоса. Центральное звено выполнено из двух частей, неподвижно скрепленных между собой, и соединено с передним и задним внешними звеньями осевыми шарнирами, оси которых параллельны осям шарниров на концевых частях звеньев, при этом верхняя часть центрального звена проходит через отверстие, выполненное в стенке центрального лонжерона. Переднее и заднее внутренние звенья соединены осевыми шарнирами с траверсами опорной балки и передним и задним внешними звеньями соответственно. Сферические шарниры узлов крепления опорной балки к лонжеронам выполнены в виде подшипниковых узлов, каждый из которых состоит из одного радиального сферического и двух упорных сферических подшипников. Опорная балка содержит устройство для регулировки своего положения относительно каждого лонжерона, выполненное в виде трех пар гаек, имеющих возможность перемещения по резьбовым частям соответственно передней, центральной и задней цапф опорной балки, кроме того, каждая опора балки имеет устройство для регулировки положения сферических шарниров относительно лонжерона, выполненное в виде трех пар резьбовых упорных крышек, имеющих возможность перемещения по резьбе, выполненной на корпусах сферических шарниров. Переднее и заднее внешние звенья, а также переднее и заднее внутренние звенья, выполнены в виде двутавровых балок переменного сечения с проушинами на концах. Отверстия, выполненные в траверсах, передних, внешних и внутренних и задних, внешних и внутренних звеньях, а также в проушинах центрального звена и подкоса, служащие для соединения этих элементов между собой, оснащены втулками. Центральное звено выполнено с внутренним отверстием ромбовидной формы в плане, при этом части центрального звена неподвижно скреплены между собой разъемным болтовым соединением, а передняя и задняя части центрального звена, выполнены в виде двутавровых балок переменного сечения с проушинами на концах. Ось жесткости переднего внешнего звена проходит через центр сферического шарнира, установленного на переднем лонжероне, а ось жесткости заднего внешнего звена проходит через центр сферического шарнира, установленного на заднем лонжероне.

[22]

Техническим результатом, достигаемым за счет применения заявляемого узла соединения подкоса с крылом, является обеспечение оптимальных массовых характеристик данного узла.

[23]

Краткое описание чертежей

[24]

Сущность предлагаемого устройства поясняется нижеследующим описанием и прилагаемыми иллюстрациями, на которых показано:

[25]

фиг. 1 - схема стыковки лонжеронного крыла с фюзеляжем (Егер С.М., Матвеенко A.M., Шаталов И.А., «Основы авиационной техники», Москва, ФГУП изд-во Машиностроение, 2003 г., стр. 287, рис. 11.);

[26]

фиг. 2 - общий вид крыла самолета со снятыми правой и левой внутренними нижними панелями;

[27]

фиг. 3 - общий вид отсека консоли крыла со снятой нижней панелью;

[28]

фиг. 4 - поперечный разрез консоли крыла;

[29]

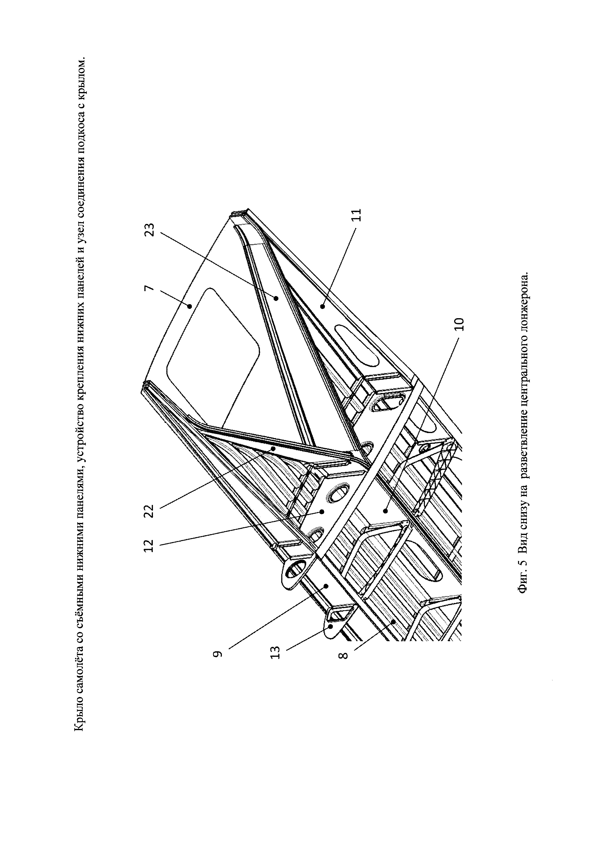
фиг. 5 - вид снизу на разветвление центрального лонжерона;

[30]

фиг. 6 - конструкция нижних поясов лонжеронов и нервюр;

[31]

фиг. 7 - съемная нижняя ветвь рамной нервюры;

[32]

фиг. 8 - продольный разрез съемной нижней ветви рамной нервюры;

[33]

фиг. 9 - общий вид креплений нижних панелей;

[34]

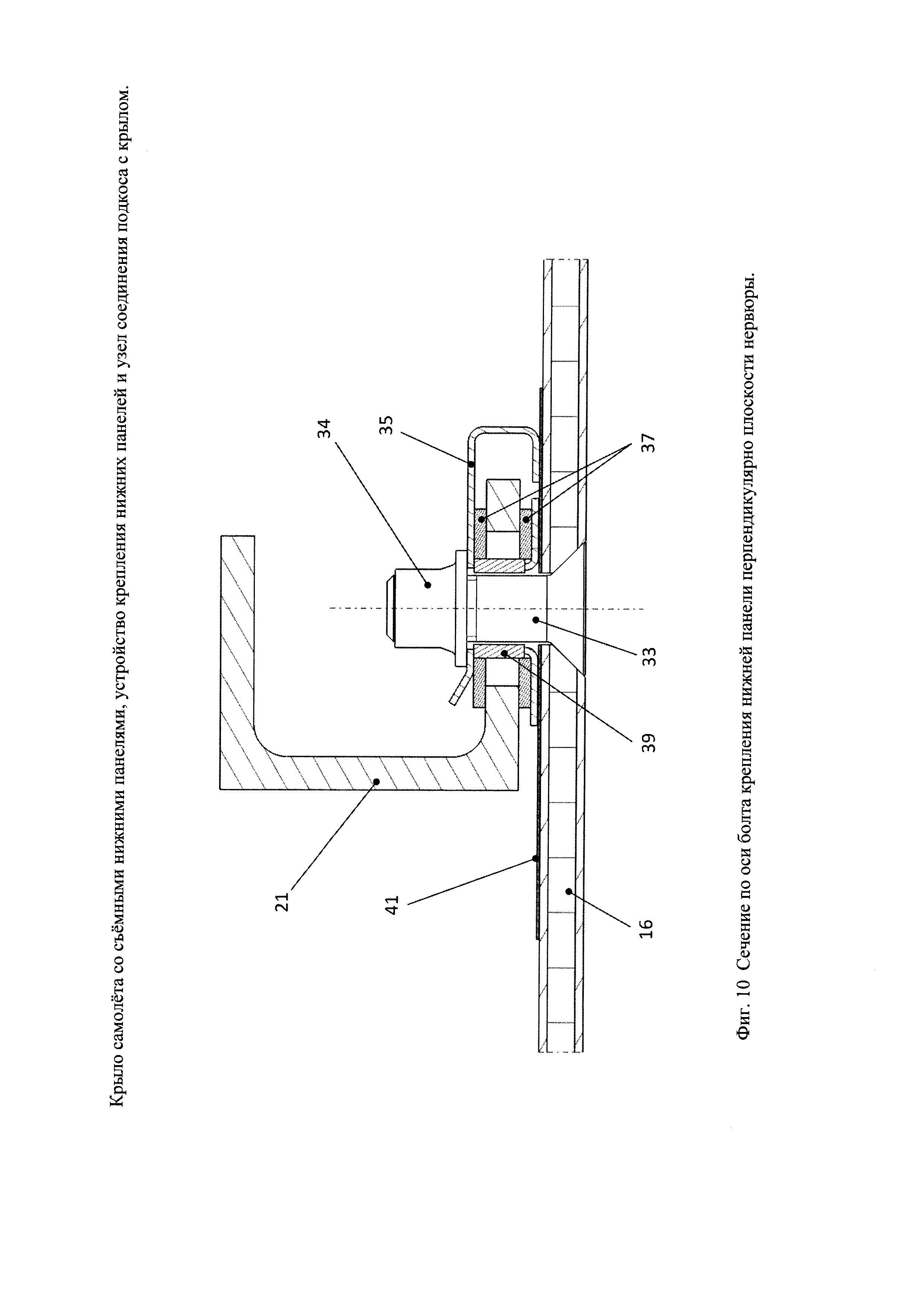
фиг. 10 - сечение по оси болта крепления нижней панели перпендикулярно плоскости нервюры;

[35]

фиг. 11 - крепление крыла к шпангоутам фюзеляжа самолета;

[36]

фиг. 12 - крепление крыла к центроплану самолета;

[37]

фиг. 13 - узел соединения подкоса с крылом, вид сверху;

[38]

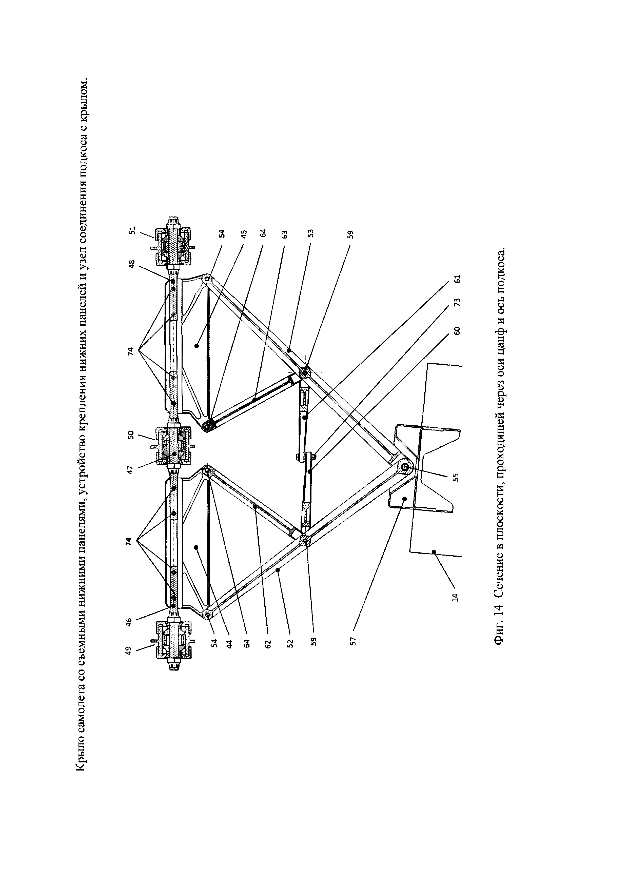
фиг. 14 - сечение в плоскости, проходящей через оси цапф и ось подкоса;

[39]

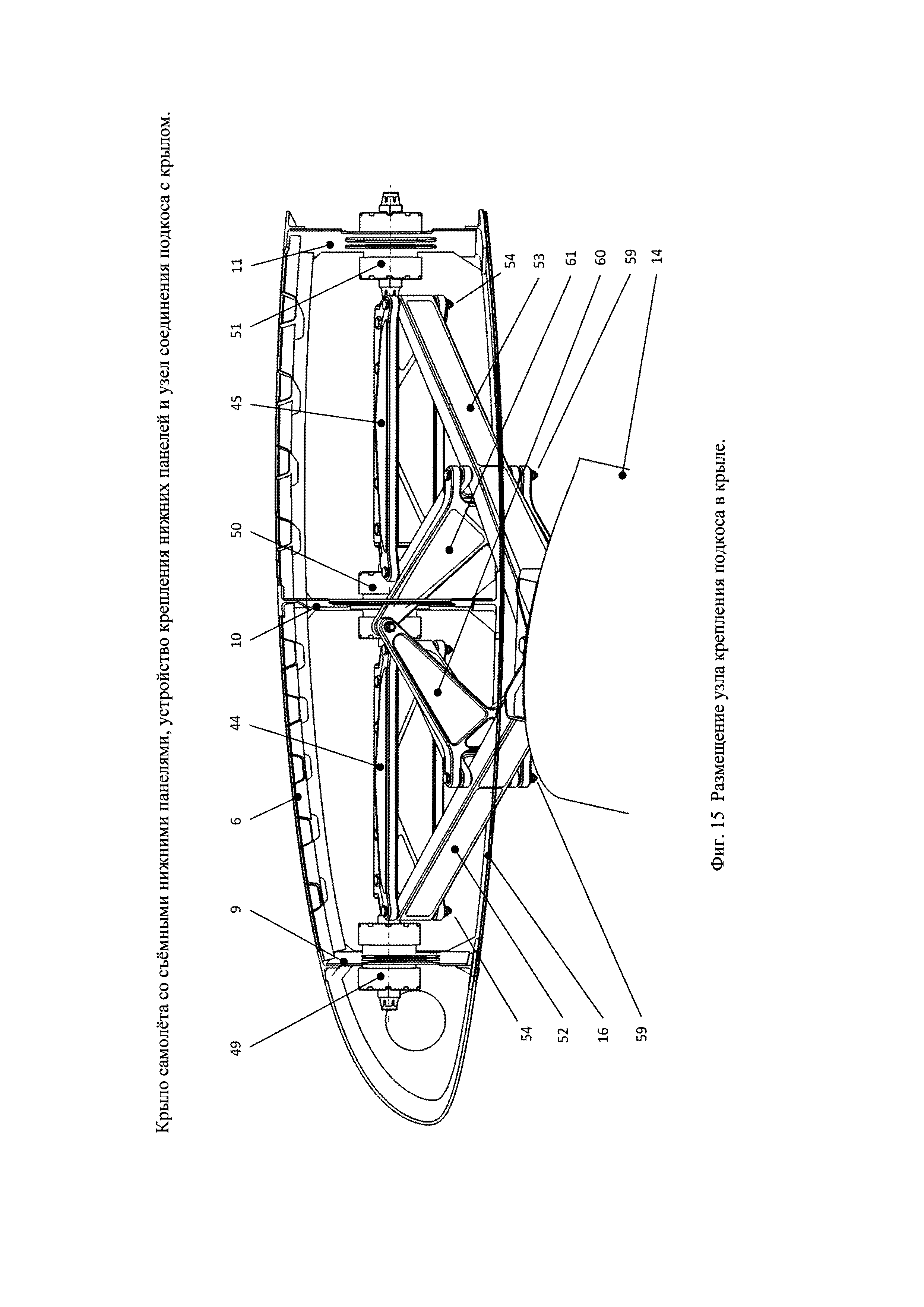
фиг. 15 - размещение узла крепления подкоса в крыле;

[40]

фиг. 16 - вид сверху в изометрии на узел соединения подкоса с крылом;

[41]

фиг. 17 - сечение в плоскости, проходящей через ось цапфы перпендикулярно оси подкоса;

[42]

фиг. 18 - сечение места соединения внешних звеньев с проушинами на верхней части подкоса плоскостью, проходящей через ось цапфы перпендикулярно оси подкоса;

[43]

фиг. 19 - вид узла соединения подкоса с крылом, вариант с неразъемным центральным звеном и двумя осевыми шарнирами в верхней части подкоса;

[44]

фиг. 20 - сечение осевого шарнира, соединяющего внешнее, внутреннее и центральное звенья;

[45]

где:

[46]

1 - шпангоуты фюзеляжа;

[47]

2 - нервюры бортовые;

[48]

3 - лонжероны;

[49]

4 - консоль правая;

[50]

5 - консоль левая;

[51]

6 - панель крыла верхняя;

[52]

7 - обшивка панели верхней;

[53]

8 - стрингеры;

[54]

9 - лонжерон передний;

[55]

10 - лонжерон центральный;

[56]

11 - лонжерона задний;

[57]

12 - нервюра балочная;

[58]

13 - нервюра рамная;

[59]

14 - подкос крыла правый;

[60]

15 - подкос крыла левый;

[61]

16 - панели крыла нижние съемные;

[62]

17 - пояс нижний лонжерона переднего;

[63]

18 - пояс нижний лонжерона центрального;

[64]

19 - пояс нижний лонжерона заднего;

[65]

20 - пояс нижний нервюры балочной;

[66]

21 - ветвь нижняя нервюры рамной;

[67]

22 - ветвь передняя лонжерона центрального;

[68]

23 - ветвь задняя лонжерона центрального;

[69]

24 - центроплан;

[70]

25 - стенка лонжерона переднего;

[71]

26 - стенка лонжерона центрального;

[72]

27 - стенка лонжерона заднего,

[73]

28 - пояс верхний лонжерона переднего;

[74]

29 - пояс верхний лонжерона центрального;

[75]

30 - пояс верхний лонжерона заднего;

[76]

31 - стенка нервюры балочной;

[77]

32 - ветвь верхняя нервюры рамной;

[78]

33 - болты с потайной головкой крепления нижних панелей;

[79]

34 - гайки плавающие;

[80]

35 - обоймы-прищепки;

[81]

36 - углубления на суммарную толщину лапки обоймы-прищепки и металлофторопластовой шайбы;

[82]

37 - шайбы из металло-фторопластовой ленты;

[83]

38 - сквозные пазы прямоугольной, скругленной на концах формы в плане;

[84]

39 - втулки распорные;

[85]

40 - полосы из оргалона, наклеенные на нижние поверхности нижних поясов нервюр и лонжеронов;

[86]

41 - ленты из оргалона, наклеенные на нижние панели крыла;

[87]

42 - узел соединения крыла с подкосом;

[88]

43 - балка опорная;

[89]

44 - траверса передняя;

[90]

45 - траверса задняя;

[91]

46 - цапфа передняя;

[92]

47 - цапфа центральная;

[93]

48 - цапфа задняя;

[94]

49 - опора передняя;

[95]

50 - опора центральная;

[96]

51 - опора задняя;

[97]

52 - звено переднее внешнее;

[98]

53 - звено заднее внешнее;

[99]

54 - осевые шарниры для соединения внешних звеньев с траверсами;

[100]

55 - осевой шарнир для соединения внешних звеньев с проушинами в верхней части подкоса;

[101]

56 - проушина в верхней части подкоса верхняя;

[102]

57 - проушина в верхней части подкоса нижняя;

[103]

58 - звено центральное;

[104]

59 - осевые шарниры для соединения центрального звена с внешними звеньями;

[105]

60 - часть передняя звена центрального;

[106]

61 - часть задняя звена центрального;

[107]

62 - звено переднее внутреннее;

[108]

63 - звено заднее внутреннее;

[109]

64 - осевые шарниры для соединения внутренних звеньев с траверсами;

[110]

65 - подшипник радиальный сферический;

[111]

66 - подшипник упорный сферический;

[112]

67 - гайка регулировки положения опорной балки;

[113]

68 - крышка резьбовая упорная;

[114]

69 - корпус опоры;

[115]

70 - втулки осевых шарниров;

[116]

71 - втулки в сферических шарнирах центральные;

[117]

72 - втулки в сферических шарнирах боковые;

[118]

73 - болтовое соединение частей центрального звена;

[119]

74 - болтовое соединение цапф с траверсами;

[120]

75 - вкладные топливные баки;

[121]

76 - узел крепления крыла к фюзеляжу передний;

[122]

77 - узел крепления крыла к фюзеляжу задний;

[123]

78 - узел крепления крыла к центроплану передний;

[124]

79 - узел крепления крыла к центроплану задний;

[125]

80 - болтовое соединение внешнего, внутреннего и центрального звеньев.

[126]

На фиг. 2-5 приведена предлагаемая конструкция крыла. Крыло самолета состоит из двух, соединенных с фюзеляжем консолей 4 и 5, каждая из которых содержит верхнюю панель 6, состоящую из обшивки 7, подкрепленной стрингерами 8; нижний пояс 17, стенку 25 и верхний пояс 28 лонжерона переднего 9; нижний пояс 18, стенку 26, верхний пояс 29, переднюю ветвь 22 и заднюю ветвь 23 лонжерона центрального 10; нижний пояс 19, стенку 27 и верхний пояс 30 лонжерона заднего 11; стенки 31 и нижние пояса 20 балочных нервюр 12, верхние 32 и нижние 21 ветви рамных нервюр 13, съемные нижние панели 16 крыла.

[127]

На фиг. 6 приведена конструкция нижних поясов лонжеронов и нервюр, где: 18 - нижний пояс лонжерона; 26 - стенка лонжерона; 21 - нижняя ветвь нервюры; 36 - углубления для размещения элементов крепления нижней панели крыла; 38 - пазы прямоугольной формы; 40 - лента из оргалона, наклеенная на нижний пояс лонжерона.

[128]

На фиг. 7-8 показана съемная нижняя ветвь 21 рамной нервюры 13, выполненная в виде двутавровой балки с волнообразной стенкой, на нижнем поясе которой выполнены сквозные пазы 38 прямоугольной формы, скругленной на концах, ориентированные длинной стороной перпендикулярно плоскостям нервюр, углубления 36 прямоугольной формы и наклеены ленты 40 из оргалона.

[129]

На фиг. 9-10 показано крепление нижних панелей крыла. Съемные панели 16 крепятся к нижним поясам 17, 18, 19 лонжеронов 9, 10, 11 и нервюр 12 и 13 на болтах 33 с потайной головкой, для которых в панелях 16 выполнены сквозные цилиндрические отверстия с зенковкой с нижней стороны панелей. В нижних поясах лонжеронов и нервюр выполнены ответные сквозные пазы 38 прямоугольной, скругленной на концах формы в плане, ориентированные длинной стороной перпендикулярно плоскостям нервюр. В углубления 36 на нижних поверхностях лонжеронов и нервюр вставлены обоймы прищепки 35 с самоконтрящимися плавающими гайками 34. Для обеспечения требуемого зазора между поверхностями обойм-прищепок и поясов лонжеронов, в пазы 38, между щеками обойм-прищепок 35 вложены распорные втулки 39. Для снижения трения скольжения между щеками обойм-прищепок 35 установлены шайбы 37 из металлофторопластовой ленты. Шайбы устанавливаются фторопластовым слоем к поверхности пояса лонжерона (нервюры) и металлической стороной к поверхности обоймы-прищепки. В поясах лонжеронов и нервюр со стороны нижних панелей выполнены углубления 36 на суммарную толщину лапки обоймы-прищепки 35 и металлофторопластовой шайбы 37. Для снижения трения скольжения между нижними панелями 16 и нижними поясами лонжеронов и нервюр, на поверхности поясов лонжеронов и нервюр, соприкасающиеся с панелями 16, наклеены полосы 40 из оргалона. Для предотвращения истирания на нижние панели 16 в зонах контакта с поясами лонжеронов и нервюр наклеены ленты 41 из оргалона.

[130]

На фиг. 11 показано крепление крыла предлагаемой конструкции к узлам 76 и 77 на шпангоутах 1 фюзеляжа самолета. При этом крыло соединяется с подкосами 14, 15 с помощью узлов 42.

[131]

На фиг. 12 показано крепление крыла предлагаемой конструкции к узлам 78 и 79 центроплана 24 самолета.

[132]

На фиг. 13-20 приведена предлагаемая конструкция узла соединения подкоса с крылом. Узел 42 соединения крыла с подкосом содержит опорную балку 43, состоящую из передней 46, центральной 47 и задней 48 цапф, закрепленных в передней 49, центральной 50 и задней 51 опорах, смонтированных на лонжеронах крыла и содержащих сферические шарниры, центры которых расположены на одной оси, а также соединяющих цапфы передней 44 и задней 45 траверс, выполненных каждая из двух частей, соединенных с цапфами болтами 75, при этом траверсы имеют отверстия с запрессованными в них втулками 70 для шарнирных соединений 54, 64 с верхними концевыми частями звеньев, переднее внешнее 52 и заднее внешнее 53 звенья, выполненные в виде двутавровых балок переменного сечения с отверстиями на концах и в средней части с запрессованными в отверстия втулками 70, при этом звенья соединены с подкосом при помощи болтов 75, проходящих через нижние концевые части переднего и заднего звеньев и проушин 56, 57 в верхних частях подкосов 14, 15, а верхними концевыми частями соединены с траверсами, при этом ось жесткости переднего звена проходит через центр сферического шарнира, установленного на переднем лонжероне, а ось жесткости заднего звена проходит через центр сферического шарнира, установленного на заднем лонжероне; центрального звена 58 ромбовидной формы в плане, выполненного из передней 60 и задней 61 частей, неподвижно скрепленных между собой разъемным болтовым соединением 73, при этом передняя и задняя части центрального звена, выполненные в виде двутавровых балок переменного сечения с проушинами на концах, в которые запрессованы втулки 70, соединены соответственно с передним и задним звеньями осевыми шарнирами 59 в виде болтовых соединений 80, оси которых параллельны осям отверстий на траверсах и в проушинах на верхней части подкоса, переднего внутреннего 62 и заднего внутреннего 63 звеньев, соединенных осевыми шарнирами в виде болтовых соединений с траверсами опорной балки и передним и задним звеньями соответственно, выполненных в виде двутавровых балок переменного сечения с проушинами на концах, в которые запрессованы втулки, при этом ось жесткости переднего внутреннего звена проходит через ось отверстия, находящегося в середине пролета переднего звена и через центр сферического шарнира, установленного на центральном лонжероне, а ось жесткости заднего внутреннего звена проходит через ось отверстия, находящегося в середине пролета заднего звена и через центр сферического шарнира, установленного на центральном лонжероне; сферические шарниры в опорах балки на лонжеронах выполнены в виде подшипниковых узлов, состоящих каждый из одного радиального сферического подшипника 65, двух упорных сферических подшипников 66, втулки центральной 71, втулок боковых 72, гаек 67, корпуса опоры 69 и резьбовых упорных крышек 68.

[133]

Осуществление изобретения.

[134]

В заявляемой конструкции крыла технический результат достигается за счет применения подкосного крыла, позволяющего снизить удельный вес по сравнению со свободнонесущим крылом, за счет съемных нижних панелей, обеспечивающих удобный доступ к внутренним объемам крыла, за счет Y-образной формы центрального лонжерона, позволяющей уменьшить количество узлов крепления консолей крыла к фюзеляжу, а также за счет выполнения рамных нервюр со съемными нижними ветвями, выполненными в виде профилированных двутавровых балок с волнообразной стенкой. В предлагаемой конструкции крыла нижняя поверхность крыла образована съемными нижними панелями 16, жесткость которых в направлении вдоль крыла при растяжении-сжатии ниже, чем жесткость смежных с ними нижних поясов лонжеронов при растяжении-сжатии в указанном направлении. Такая конструкция позволяет уменьшить массу элементов крепления нижних панелей к конструктивным элементам каркаса крыла из-за того, что растягивающая нагрузка, действующая на нижние панели, меньше нагрузки действующей на нижние пояса 17, 18, 19 лонжеронов 9, 10, и 11 (фиг. 1). Кроме того обеспечивается удобный доступ во внутренние объемы крыла для монтажа и обслуживания систем самолета, в том числе топливных баков 75 (фиг. 4). Для обеспечения монтажа, демонтажа топливных баков 75 рамные нервюры 13 выполнены со съемными нижними ветвями 21. Кроме того, нижние ветви 21 рамных нервюр 13 для повышения жесткости выполнены в виде двутавровых балок с волнообразной стенкой (фиг. 7). При такой конфигурации стенки, болты 33 соединения рамных нервюр 13 с нижними панелями 16 крыла расположены ближе к оси жесткости ветви 21, за счет чего поперечный габарит нижней ветви рамной нервюры меньше и, таким образом, уменьшена масса ветви (фиг. 8). Ввиду того, что количество рамных нервюр в крыле достаточно велико, достигается существенная экономия массы крыла.

[135]

Другой, особенностью предлагаемой конструкции является разветвление центрального лонжерона 10 на переднюю 22 и заднюю 23 части, в направлении к фюзеляжу до слияния их с передним 9 и задним 11 лонжеронами (фиг. 5). Данное решение позволяет: крепить крыло к фюзеляжу с помощью шарнирных стыковых узлов 76 и 77 (фиг. 11), или с помощью моментных стыковых узлов 78 и 79 (фиг. 12); повысить живучесть самолета за счет применения 3-х лонжеронной схемы крыла; снизить массу крыла за счет отсутствия силовых элементов в зоне А верхней панели (фиг. 1), работающих на передачу нагрузок от изгиба крыла; обеспечить возможность размещения в зоне А на верхней поверхности крыла воздухозаборников двигателей для режимов взлета и посадки при эксплуатации с неподготовленных или грунтовых взлетно-посадочных полос.

[136]

Из условия обеспечения работы верхней панели 6 на восприятие внешних аэродинамических нагрузок, усилий растяжения-сжатия от изгиба крыла и потока сил от закручивания крыла, обшивка 7 верхней панели 6 имеет увеличенную толщину, что позволяет обеспечить технологически более высокое качество внешней поверхности обшивки верхней панели и таким образом, снизить вредное аэродинамическое сопротивление, а также обеспечить ламинарное обтекание крыла при применении ламинарных профилей.

[137]

В заявляемом устройстве крепления нижних панелей технический результат достигается за счет того, что съемные нижние панели 16 крепятся к нижним поясам 17, 18, 19 лонжеронов 9, 10, 11 и нервюр 12 и 13 с помощью на болтов 33, проходящих через сквозные цилиндрические отверстия в панелях и ответные сквозные пазы 38 в нижних поясах лонжеронов и нервюр, и с помощью самоконтрящихся гаек 34, плавающих в обоймах-прищепках 35. Для обеспечения требуемого зазора между поверхностями обойм-прищепок и поясов лонжеронов и нервюр между щеками обойм-прищепок установлены распорные втулки 39. Для снижения трения скольжения между щеками обойм-прищепок 35 установлены шайбы 37 из металлофторопластовой ленты таким образом, что фторопластовый слой обращен к поверхности пояса лонжерона (нервюры), а металлическая сторона - к поверхности обоймы-прищепки, на поверхности поясов лонжеронов и нервюр, соприкасающиеся с панелями 16, наклеены полосы 40 из оргалона, а на нижние панели 16 в зонах контакта с поясами лонжеронов и нервюр наклеены ленты 41 из оргалона. В поясах лонжеронов и нервюр со стороны нижних панелей выполнены углубления 36 на суммарную толщину лапки обоймы-прищепки 35 и металлофторопластовой шайбы 37. В собранном виде съемные нижние панели, вместе с прикрепленными к ним неподвижно посредством болтов 33 и гаек 34 в обоймах-прищепках 35 распорными втулками 39, могут перемещаться в пределах, ограниченных свободным ходом втулок 39 в пазах 38. При изгибе крыла под нагрузкой совместная деформация лонжеронов и верхней панели, благодаря предложенному решению, не вызывает деформации нижних панелей, что позволяет выполнить конструкцию и крепеж нижних панелей работающими на восприятие нагрузок только от кручения крыла и от аэродинамических сил и, как следствие, минимальной массы.

[138]

В заявляемом узле соединения подкоса с крылом технический результат достигается за счет наличия опорной балки 43 и опор 49, 50, 51, смонтированных на лонжеронах 9, 10, 11 крыла и содержащих сферические шарниры, усилия с которых через систему звеньев передаются на подкос. Ось жесткости переднего внешнего звена 52 проходит через центр сферического шарнира, установленного на переднем лонжероне 9, ось жесткости заднего внешнего звена 53 проходит через центр сферического шарнира, установленного на заднем лонжероне 11, оси жесткости внутренних переднего 62 и заднего 63 звеньев проходят через центр сферического шарнира, установленного на центральном лонжероне. Таким образом, передача нагрузок от лонжеронов на подкос производится по кратчайшему пути, что позволяет выполнить детали узла соединения подкоса с крылом наименьшей массы. Размещение центров сферических шарниров в опорах 50, 51, 52 вблизи центров жесткости сечений лонжеронов минимизирует величину момента от реакции опоры, закручивающего лонжерон, и таким образом, позволяет выполнить минимальное по массе усиление лонжерона в месте установки опоры. Регулировка положения центра сферического шарнира в каждой опоре относительно стенки лонжерона производится посредством двух резьбовых крышек 68. Условия закрепления всех звеньев узла соединения подкоса с крылом определяют работу каждого звена на изгиб в плоскостях, проходящих через оси жесткости звеньев перпендикулярно плоскости подкоса и на растяжение-сжатие. Данному виду нагружения лучше всего противостоит двутавровая балка со стенкой, лежащей в плоскости изгибающего момента. Таким образом, звенья, выполненные в виде двутавровых балок переменного сечения, будут иметь наименьшую массу. Крепление переднего 52 и заднего 53 внешних звеньев к верхней части подкоса помощью двух расположенных рядом осевых шарниров позволяет увеличить строительную высоту каждого звена, не увеличивая габарит узла, и таким образом, повысить несущую способность каждого звена. Втулки 70, запрессованные в проушины звеньев и траверс позволяют выполнить осевые шарнирные соединения разборными, а звенья изготовить из легких сплавов. Опорная балка 43, выполненная из передней 44 и задней 45 траверс, состоящих каждая из двух частей, соединенных с цапфами 46, 47, 48 разборным болтовым соединением, позволяет производить многократную сборку и разборку узлов соединения подкосов с крылом. Сферические шарниры в опорах балки на лонжеронах, выполненные в виде подшипниковых узлов, состоящих каждый из одного радиального сферического подшипника 65, двух упорных сферических подшипников 66, втулки центральной 71, двух втулок боковых 72, двух гаек 67, корпуса опоры 69 и двух резьбовых упорных крышек 68, воспринимают все виды нагрузок.

[139]

Предложенное техническое решение разработано для транспортного самолета, предназначенного для выполнения грузопассажирских перевозок на местных воздушных авиалиниях.

Как компенсировать расходы
на инновационную разработку
Похожие патенты