патент
№ RU 2516632
МПК C30B23/02

СПОСОБ ПОЛУЧЕНИЯ АЛМАЗОПОДОБНЫХ ПОКРЫТИЙ КОМБИНИРОВАННЫМ ЛАЗЕРНЫМ ВОЗДЕЙСТВИЕМ

Авторы:
Мисюров Александр Иванович
Номер заявки
2012158032/05
Дата подачи заявки
28.12.2012
Опубликовано
20.05.2014
Страна
RU
Как управлять
интеллектуальной собственностью
Чертежи 
1
Реферат

Изобретение относится к технологиям повышения износостойких, прочностных и антифрикционных свойств металлорежущего инструмента, внешних поверхностей обшивки авиационных и космических летательных аппаратов, оптических приборов и нанотехнологиям. Алмазоподобные покрытия получают в вакууме путем распыления материала мишени импульсным лазером. На материал мишени, выполненной из графита высокой степени чистоты (более 99.9%), воздействуют комбинированным лазерным излучением: сначала коротковолновым (менее 300 нм) импульсным излучением, в качестве источника которого используют KrF-лазер с длиной волны 248 нм и удельной энергией 5·10Вт/см, в результате чего осуществляется абляция и образуется газоплазменная фаза материала мишени. Последующее воздействие на газоплазменное облако во время разлета облака от мишени к подложке осуществляют длинноволновым (более 1 мкм) лазерным излучением. В качестве источника длинноволнового лазерного излучения используют газовый CO-лазер или твердотельный волоконный лазерный излучатель. Технический результат изобретения заключается в увеличении алмазной фазы в получаемом покрытии и увеличении энергетического спектра плазмы на стадии ее разлета. 2 з.п. ф-лы, 1 ил.

Формула изобретения

1. Способ получения алмазоподобных покрытий путем распыления в вакууме материала мишени импульсным лазером, отличающийся тем, что на материал мишени, выполненной из графита высокой степени чистоты (>99.9%), воздействуют комбинированным лазерным излучением, при котором абляция и образование газоплазменной фазы материала мишени происходит с использованием коротковолнового (<300 нм) импульсного лазерного излучения с последующим воздействием длинноволнового (>1 мкм) лазерного излучения на газоплазменное облако во время разлета облака от мишени к подложке.

2. Способ по п.1, отличающийся тем, что в качестве источника коротковолнового импульсного лазерного излучения используют KrF-лазер с длиной волны 248 нм и удельной энергией 5·107 Вт/см2, а в качестве источника длинноволнового лазерного излучения - газовый CO2 -лазер с длиной волны 10.6 мкм или твердотельный волоконный лазерный излучатель.

3. Способ по п.1, отличающийся тем, что для дополнительного увеличения процентного содержания алмазной фазы в получаемом покрытии используют прием отклонения лазерного излучения длинноволнового лазера при помощи сканатора таким образом, что фокус излучения находится внутри газоплазменного облака продуктов абляции, при этом воздействие лазерного излучения на разлетающееся газоплазменное облако происходит на всем пути разлета.

Описание

[1]

Область техники

[2]

Изобретение относится к технологиям повышения износостойких, прочностных и антифрикционных свойств изделий и нанотехнологиям. Например, металлорежущего инструмента, внешних поверхностей обшивки авиационных и космических летательных аппаратов, оптических приборов и т.п.

[3]

Уровень техники

[4]

Известно большое количество способов получения алмазоподобных покрытий (англоязычная аббревиатура DLC) способом электрического разряда. В частности, «Способ получения алмазоподобных фаз углерода» (патент РФ №2038294, опубл. 27.06.1995), «Способ получения алмазоподобной пленки» (патент РФ №2254397, опубл. 10.02.2005), «Способ получения алмазоподобного покрытия» (патент РФ №2094528, опубл. 27.10.1997) и др.

[5]

Недостатками использования электроразрядного способа являются низкий процент выхода алмазной фазы, высокая токсичность процесса и сложное технологическое исполнение ввиду необходимости размещения в высоковакуумной камере электроразрядного оборудования для реализации способа.

[6]

Известен способ лазерного распыления в вакууме материала мишени импульсным лазером с целью получения алмазоподобных покрытий «Способ получения алмазоподобных пленок» (патент РФ №1610949, опубл. 15.10.1994). Данное изобретение можно считать наиболее близким аналогом.

[7]

Недостатками способа являются низкое содержание алмазной фазы в получаемом покрытии и затухание энергетического спектра плазмы на стадии ее разлета.

[8]

Раскрытие изобретения

[9]

Задачами изобретения являются увеличение алмазной фазы в получаемом покрытии и увеличение энергетического спектра плазмы на стадии ее разлета.

[10]

Поставленные задачи решаются тем, что в предлагаемом способе получение алмазоподобных покрытий в вакууме происходит путем распыления материала мишени импульсным лазером. Причем на материал мишени, выполненной из графита высокой степени чистоты (>99.9%), воздействуют комбинированным лазерным излучением. При этом абляция и образование газоплазменной фазы материала мишени происходит с использованием коротковолнового (<300 нм) импульсного излучения. В качестве источника коротковолнового импульсного лазерного излучения используют, например, KrF-лазер с длиной волны 248 нм и удельной энергией 5·107 Вт/см2. Последующее воздействие на газоплазменное облако во время разлета облака от мишени к подложке осуществляют длинноволновым (>1 мкм) лазерным излучением. В качестве источника длинноволнового лазерного излучения используют газовый С2O-лазер или твердотельный волоконный лазерный излучатель. Для дополнительного увеличения процентного содержания алмазной фазы в получаемом покрытии используют прием отклонения лазерного излучения длинноволнового лазера при помощи сканатора (не показан) таким образом, что фокус излучения находится внутри газоплазменного облака продуктов абляции, при этом воздействие лазерного излучения на разлетающееся газоплазменное облако происходит на всем пути разлета.

[11]

Перечень фигур

[12]

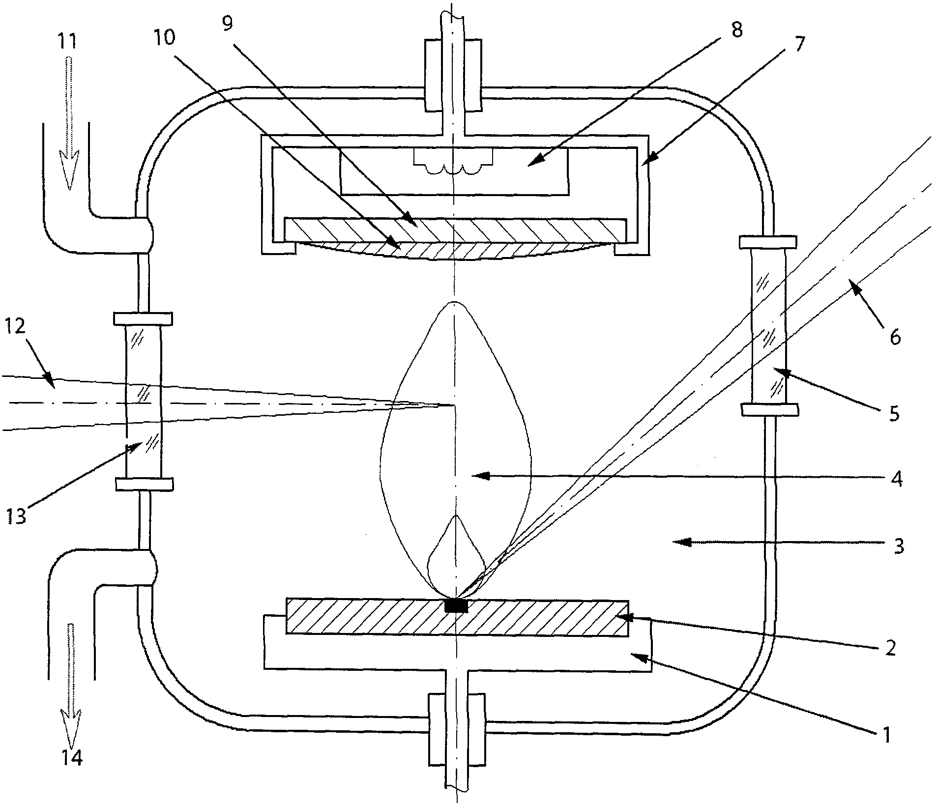
На фиг.1 изображена схема процесса получения алмазоподобных пленок комбинированным лазерным воздействием.

[13]

Осуществление изобретения

[14]

Известно, что качество алмазоподобного покрытия повышается с увеличением плотности мощности и уменьшением длины волны лазерного излучения, испаряющего мишень из графита (см. Pulsedlaserdepositionofthinfilms: applications-ledgrowthoffunctionalmaterials, RobertEason, N.J., Wiley, 2007, pp.335-337). В связи с этим абляцию источника графита целесообразно проводить лазером с наименьшей длиной волны излучения.

[15]

Принципиальным недостатком лазерного способа в сравнении с традиционным электроразрядным является затухание энергетического спектра плазмы на стадии ее разлета. Устранению этого недостатка служит использование дополнительного лазера, сфокусированного на газоплазменный продукт абляции углерода с целью увеличения энергетического спектра образованной плазмы. Эффект заключается в следующем. Известно, что наличие линейных sp1, тригональных sp2 и тетраэдрических sp3 связей у атомов углерода позволяет углероду формировать фазы алмаза, графита, фуллерена, нанотрубок, алмазоподобные и др. (Kroto, H.W., Heath, J. R., О' Brien, S. С, Curl, R.F, andSmalley, R.E. (1985) Nature 318, 162-163). Способы получения алмазоподобных структур заключаются в нарушении sp2 связей графита, используемого в качестве источника углерода и последующем образовании sp3 связей, характерных для алмазной фазы при конденсации испаренного объема графита на упрочняемую поверхность. Способ электрического разряда разрывает связи и поддерживает высокую степень ионизации частиц продуктов разлета на всем промежутке разлета от источника углерода к поверхности подложки. Способ лазерной абляции разрывает sp2 связи с образованием плазменного состояния только в момент взаимодействия лазерного излучения с поверхностью мишени. На стадии разлета энергетический спектр плазменного облака падает ввиду естественной рекомбинации носителей зарядов, снижая качество алмазоподобного покрытия. Воздействие дополнительным источником лазерного излучения на облако плазмы в момент его разлета делает возможным поддержание и увеличение энергетического спектра плазменного облака. Таким образом обеспечивают высокое содержание алмазной фазы получаемого покрытия без использования токсичных газов и высокомощного лазерного оборудования, а также повышают контроль качества параметров получаемого покрытия. Воздействие лазерных излучений последовательно: сначала используют коротковолновое с целью абляции материала, потом длинноволновое для разогрева плазмы. Переход от одного вида воздействия к другому осуществляется с задержкой порядка 1 мкс, необходимой для образования газоплазменных продуктов абляции у поверхности мишени.

[16]

На фиг.1 вакуумная камера 3 содержит патрубки подачи защитных газов в камеру 11 и откачки камеры 14, подложкодержатель 1 с мишенью из графита 2, подложкодержатель 7 с нагревателем 8 для закрепления подложки 9, входное окно эксимерного лазера 5, входное окно дополнительного длинноволнового лазерного излучения 13, включает излучение 6 эксимерного KrF-лазера (не показан), излучение 12 дополнительного лазера (не показан), газоплазменное облако 4 и осажденный слой алмазоподобного покрытия 10.

[17]

Предлагаемый способ получения алмазоподобных покрытий комбинированным лазерным воздействием осуществляют следующим образом.

[18]

В вакуумной камере 3 после откачки воздуха через патрубок 14 и подачи защитных газов через патрубок 11, мишень из графита 2 высокой чистоты (не хуже 99.9%) закрепляют на подложкодержателе 1. Затем импульсное излучение 6 KrF-лазера с длиной волны 248 нм и удельной энергией 5·107 Вт/см2 направляют через входное окно 5 на мишень 2, где способом лазерной абляции образуют газоплазменное облако 4, которое осаждается алмазоподобным покрытием 10 на подложку 9. Воздействие через входное окно 13 вспомогательным лазерным излучением 12 от дополнительного длинноволнового лазерного источника, например газового СO2 лазера с длиной волны 10.6 мкм, на облако плазмы в момент его разлета позволяет поддержать и увеличить энергетический спектр газоплазменного облака 4, что приводит к высокому содержанию алмазной фазы в получаемом покрытии 10 и улучшению его качества. Для дополнительного увеличения процентного содержания алмазной фазы в получаемом покрытии используют прием отклонения лазерного излучения длинноволнового лазера при помощи сканатора таким образом, что фокус излучения находится внутри газоплазменного облака продуктов абляции, при этом воздействие лазерного излучения на разлетающееся газоплазменное облако происходит на всем пути разлета.

Как компенсировать расходы
на инновационную разработку
Похожие патенты