патент
№ RU 2381564
МПК G09B23/18

ДЕМОНСТРАЦИОННОЕ УСТРОЙСТВО "ЛОГИКА"

Авторы:
Поваляев Олег Александрович
Номер заявки
2007143625/09
Дата подачи заявки
27.11.2007
Опубликовано
10.02.2010
Страна
RU
Как управлять
интеллектуальной собственностью
Реферат

Изобретение относится к средствам индивидуального или группового обучения работе с цифровыми логическими электронными схемами. Техническим результатом изобретения является получение универсального учебного устройства для изучения цифровой логики. Устройство содержит магнитную демонстрационную доску, модули, корпусы которых снабжены крепежными магнитными полосками с закрепленными на их лицевых поверхностях элементами электрической цепи и клеммами, один из модулей является светодиодным, второй - модулем: ключ, набор соединительных проводов, блок питания, удлинитель питания, модуль - ключ двойной, полупроводниковый модуль, модули с логическими элементами, выполненными в виде элементов «И-HE», «ИЛИ-НЕ», модуль с функцией «логическая единица», причем на лицевой поверхности каждого модуля нанесены условные обозначения элементов электрической цепи, а провода питания выполнены двужильными с коаксиальным разъемом и полюсным контактом в середине, при этом корпус каждого модуля выполнен в виде короба, во внутренней полости которого закреплены платы с микросхемами с выходами на клеммы, причем платы закреплены посредством расположенных на внутренней поверхности основания короба патрубков, обеспечивающих резьбовое крепление плат, а на внутренних поверхностях двух противоположных сторон короба выполнены ниши для закрепления крепежных магнитных полос, а на боковой стороне корпуса выполнены гнезда питания модуля. 1 з.п. ф-лы, 13 ил.

Формула изобретения

1. Демонстрационное устройство «Логика» для изучения цифровой логики, включающее магнитную демонстрационную доску, модули, корпуса которых изготовлены из неэлектрического материала, снабженные крепежными магнитными полосками и с закрепленными на их лицевых поверхностях элементами электрической цепи и клеммами, по крайней мере, один из модулей является светодиодным, второй модулем - ключ, набором соединительных проводов, блоком питания, отличающееся тем, что оно дополнительно снабжено удлинителем питания, модулем - ключ двойной, полупроводниковым модулем, модулем с логическими элементами, выполненными в виде элементов «И-НЕ», «ИЛИ-НЕ», модулем с функцией «логическая единица», причем на лицевой поверхности каждого модуля нанесены условные обозначения элементов электрической цепи, а провода питания выполнены двужильными с коаксиальным разъемом и полюсным контактом в середине, при этом корпус каждого модуля выполнен в виде короба, во внутренней полости которого закреплены платы с микросхемами с выходами на клеммы, причем платы закреплены посредством расположенных на внутренней поверхности основания короба патрубков, обеспечивающих резьбовое крепление плат, а на внутренних поверхностях двух противоположных сторон короба выполнены ниши для закрепления крепежных магнитных полос, а на боковой стороне корпуса выполнены гнезда питания модуля.

2. Демонстративное устройство «Логика» по п.1, отличающееся тем, что полупроводниковый модуль может быть выполнен либо с диодом, либо с транзистором.

Описание

[1]

Изобретение относится к средствам обучения (может быть использовано при индивидуальном и групповом обучении сборке цепей с электрическими и электронными компонентами) и получения практических навыков работы с цифровыми логическими электронными схемами, а также для проведения лабораторных работ и демонстрационных опытов, лежащих в основе современной цифровой электроники.

[2]

Известно техническое решение по патенту РФ №2011230, кл. G09B 23/18, 1991 г., в котором описаны функциональные схемы и алгоритм работы устройства, содержащего пульт оператора, блок информации, коммутатор, наборное поле, логические элементы и блоки памяти. Данное устройство предлагает уже готовые схемы, а обучаемый посредством соединительных проводов в соответствии с условиями задания синтезирует ту или иную функциональную схему. Однако данное техническое решение сложно в техническом исполнении, схемы выполнены единым неразборным пультом и не позволяют самостоятельно реализовывать заданные произвольные схемы.

[3]

Известны технические решения по патентам РФ №2102792, 1998 г., №2214628, 2003 г., кл. G09B 23/18, в которых описываются тренажер программируемых логических матриц, обеспечивающих изучение их на уровне схем и микропрограмм, и стенд для изучения основ цифровой электроники. Данные устройства также являются сложными и не всегда приемлемыми в использовании как средства обучения, так как требуют большого количества электронного оборудования и решают задачи только программируемых логических матриц.

[4]

Наиболее близким техническим решением является «Учебное устройство по электротехнике» по патенту РФ №2239872, G09B 23/18, 2003 г., содержащее магнитную демонстрационную доску, набор плат прямоугольной формы, выполненные из неэлектрического материала с закрепленными на них элементами электрической цепи, набор соединительных проводов. Однако данное техническое решение не может быть использовано для изучения основных понятий, лежащих в основе современной цифровой логики.

[5]

Технической задачей настоящего изобретения является создание устройства для изучения цифровой электроники, ознакомление учащихся с логическими операциями на основе простых ключей, диодных и транзисторных схем и современных полупроводниковых логических элементов.

[6]

Технический результат, который может быть достигнут при осуществлении изобретения, - это получение универсального учебного устройства, благодаря которому обеспечивается возможность проведения демонстрационных экспериментов в условиях типового кабинета физики, информатики общеобразовательной школы, профессионально-технических училищ и техникумов.

[7]

Для достижения технического результата предлагается Демонстрационное устройство «Логика» для изучения цифровой логики, включающее магнитную демонстрационную доску, модули, корпусы которых изготовлены из неэлектрического материала, снабженные крепежными магнитными полосками, с закрепленными на их лицевых поверхностях элементами электрической цепи и клеммами, по крайней мере, один из модулей является светодиодным, второй модулем-ключом, набором соединительных проводов, блоком питания, при этом устройство дополнительно снабжено удлинителем питания, модулем - ключ двойной, полупроводниковым модулем, модулем с логическими элементами, выполненными в виде элементов «И-НЕ», «ИЛИ-НЕ», модулем с функцией «логическая единица», причем на лицевой поверхности каждого модуля нанесены условные обозначения элементов электрической цепи, а провода питания выполнены двужильными с коаксиальным разъемом и полюсным контактом в середине, при этом корпус каждого модуля выполнен в виде короба, во внутренней полости которого закреплены платы с микросхемами с выходами на клеммы, причем платы закреплены посредством расположенных на внутренней поверхности основания короба патрубков, обеспечивающих резьбовое крепление плат, а на внутренних поверхностях двух противоположных сторон короба выполнены ниши для закрепления крепежных магнитных полос, а на боковой стороне корпуса выполнены гнезда питания модуля.

[8]

Демонстрационное устройство «Логика» характеризуется тем, что полупроводниковый модуль может быть выполнен либо с диодом, либо с транзистором.

[9]

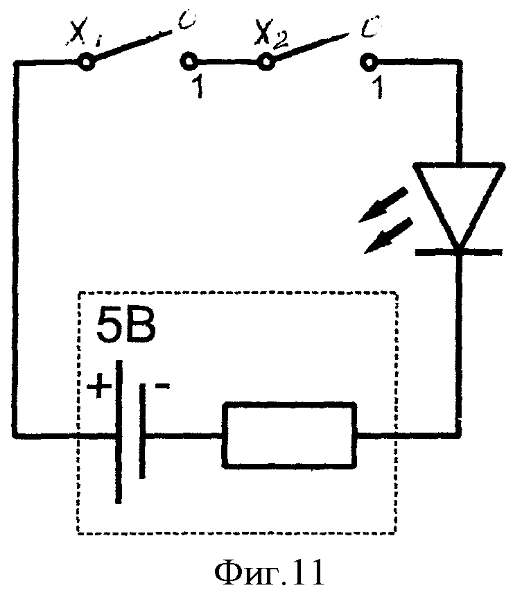
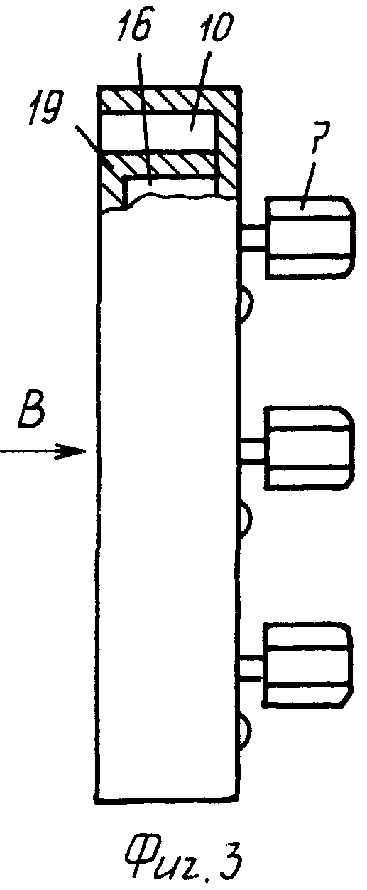
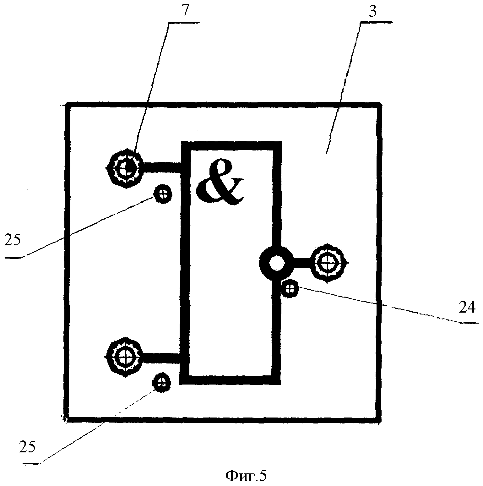
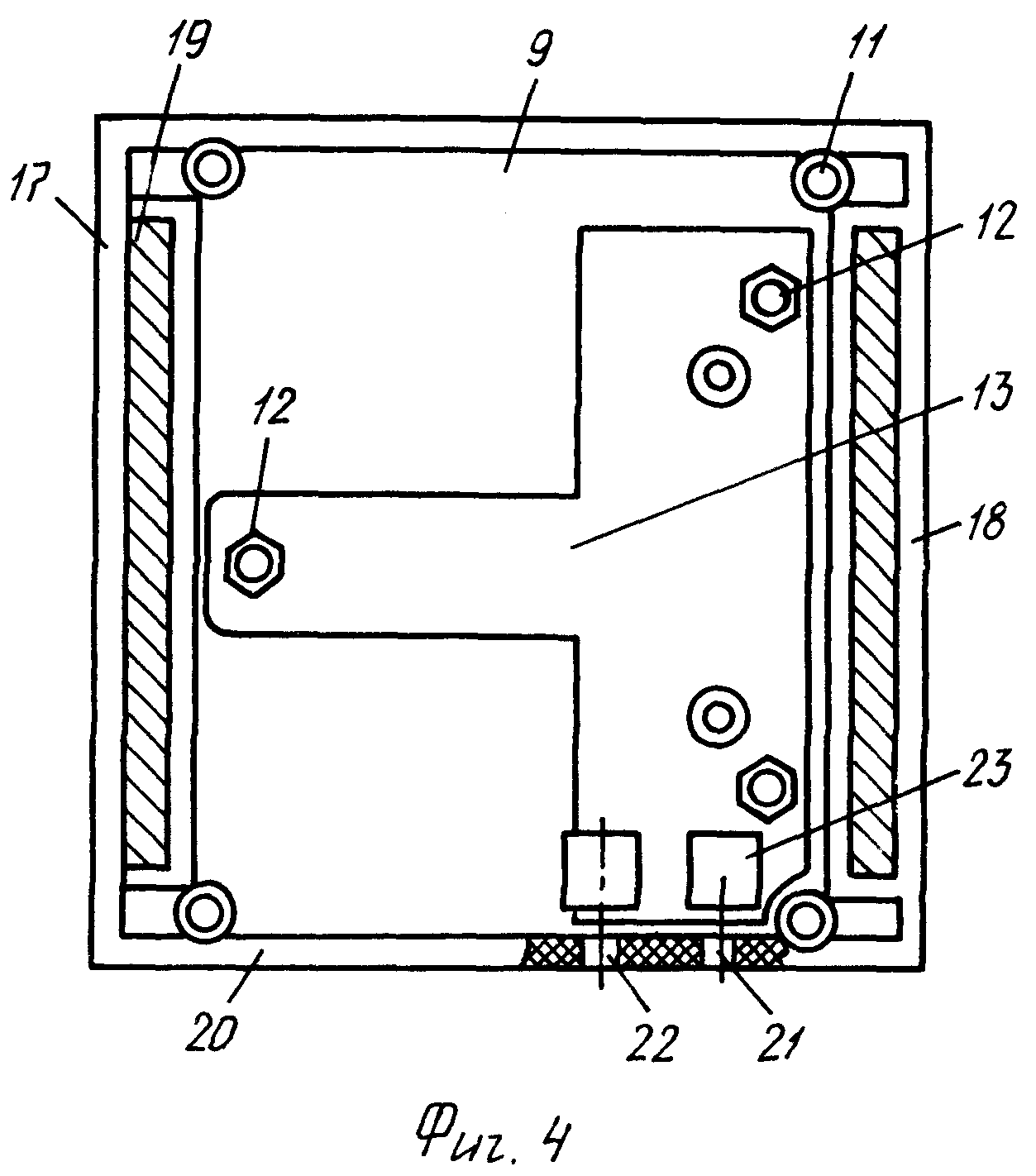
Изобретение иллюстрируется чертежами, где на фиг.1 представлен общий вид демонстрационного устройства «Логика», на фиг.2 - модуль «ИЛИ - НЕ», вид в плане, на фиг.3 - вид А фиг.2, на фиг.4 - вид В фиг.3, на фиг.5 - модуль «И - НЕ», на фиг.6 - полупроводниковый модуль, светодиодный, на фиг.7 - модуль «логическая единица», на фиг.8 - модуль-ключ, на фиг.9 - модуль - ключ двойной, на фиг.10 - схема операции «НЕ», на фиг.11 - схема операции «ИЛИ», на фиг.12 - схема операции «И», на фиг.13 - схема операции «ИЛИ - НЕ».

[10]

Демонстрационное устройство «Логика» содержит магнитную демонстрационную доску 1, предпочтительно прямоугольной формы, набор модулей 2, 3, 4, 5, 6, на которых закреплены элементы электрической цепи и клеммы 7. Корпус 8 каждого модуля изготовлен из неэлектропроводного материала и выполнен в виде короба, на внутренней поверхности 9 основания короба полости 10 выполнены патрубки 11, на которых посредством резьбовых крепежных элементов 12 закреплены соответствующие платы 13 с различными микросхемами для каждого модуля. Во внутренней полости 10 каждого короба выполнены ниши 16, примыкающие к противоположным сторонам 17, 18 короба, в нишах установлены магнитные полоски 19, обеспечивающие надежное крепление модулей к демонстрационной доске 1. В боковой стороне каждого короба выполнены отверстия 21, 22 под гнезда питания 23 микросхем модулей. Демонстрационное устройство «Логика» снабжено соединительными проводами, блоками питания (4,5 В, 5 В), удлинителем питания 15, провода которого выполнены двужильными с коаксиальным разъемом и полюсным контактом в середине, реостатом, вольтметрами 29, амперметрами 30, набором реостатов (2,7 кОм, 10 кОм, 30 кОм) (на чертеже не показаны), полупроводниковым модулем 4, см. фиг.6, например светодиодным, причем светодиоды могут быть выполнены различных цветов, например красным 25, зеленым 24 и т.д. (см. фиг.2).

[11]

Полупроводниковый модуль может быть выполнен либо с диодом, либо с транзистором. Модуль-ключ может быть выполнен как одинарным 6 (см. фиг.8), так и в виде двойного ключа 7 (см. фиг.9). Демонстрационное устройство снабжено модулями с логическими элементами, выполненными в виде элементов «ИЛИ-НЕ» (см. фиг.2) и в виде элементов «И-НЕ» (см. фиг.5), а также модулем 5 с функцией «логическая единица» (см. фиг.7). Модуль 5 снабжен секционным корпусом 26, в секции которого вставляются последовательно соединенные батарейки 27, взаимодействующие с платой, расположенной в корпусе этого модуля 5.

[12]

Демонстрационное устройство «Логика» снабжено методическим руководством по выполнению работ.

[13]

Предварительно подготавливаются соответствующие модули. Для этого внутри короба корпуса 8 на патрубках посредством крепежных элементов 12 закрепляются необходимые платы специально для каждого модуля с выходами на клеммы.

[14]

Предложенное Демонстрационное устройство «Логика» позволяет проводить следующие эксперименты: исследование операций «НЕ», «ИЛИ», «И», исследование логических операций «ИЛИ - НЕ», «И - НЕ» и операций с их использованием, исследование логики «И», «ИЛИ», «НЕ» на диодах, транзисторах и микросхемах, изучение работы диода, транзистора, триггеров.

[15]

В соответствии с методическими указаниями Демонстрационное устройство «Логика» работает следующим образом. Приведем простейшие примеры по исследованию операций «НЕ», «ИЛИ», «И» в соответствии с методическими указаниями. Для этого понадобятся следующие элементы устройства: ключ (2 шт.), светодиод (2 шт.), источник питания, провода соединительные, магнитная доска. Предварительно размещают необходимые модули на магнитной доске и соединяют их сначала по схеме фиг.10, затем последовательно по схемам фиг.11, фиг.12.

[16]

Особенностью логических операции «НЕ» (см. фиг.10) является то, что она производится только над одной переменной, а ее результат имеет значение, противоположное первоначальному, операции «ИЛИ» (см. фиг.11) - то, что она выполняется минимум над двумя переменными, ее результат всегда равен 1 за исключением случая равенства обеих переменных 0, операции «И» (см. фиг.12) - то, что она выполняется минимум над двумя переменными, ее результат всегда равен 0 за исключением случая равенства обеих переменных 1.

[17]

Таким образом, в данных исследованиях в зависимости от положения управляющего ключа срабатывает световая индекация, что позволяет судить о работе ключевой схемы.

[18]

Приведем еще один пример по более сложной схеме из методических указаний. При исследовании логических элементов «ИЛИ-НЕ» и «И-НЕ» и операций с их использованием понадобятся следующие элементы устройства: магнитная доска, элементы «И-НЕ, ИЛИ-НЕ», логическая единица, блок питания, соединительные провода, вольтметр, транзистор, ключи двойной и одинарный. В соответствии с методическим руководством собирается схема, например, см. фиг.13. Все опыты проводят в соответствии с методическими указаниями, прилагаемыми к демонстрационному устройству.

[19]

По состоянию индикации делаем выводы - какие операции выполнялись в каждой схеме.

[20]

При изучении работы диода и транзистора дополнительно используют реостат и набор резисторов.

[21]

Предложенное Демонстрационное устройство «Логика» позволяет наглядно продемонстрировать работу логических элементов и провести аналогии с механическими ключами, а также позволяет собрать самостоятельно простые схемы на логических элементах.

[22]

Конструктивное выполнение корпуса модуля в виде короба, а также наличие внутри него патрубков позволяет легко создать тот или иной модуль, закрепляя внутри короба любую плату, концы электросхемы которой замыкаются на клеммы, посредством которых и с помощью проводов собирают цепи по методическим указаниям. Простота конструкции обеспечивает наглядную демонстрацию всех опытов, обеспечивая их высокую визуальность и наглядность для восприятия учащимися.

Как компенсировать расходы
на инновационную разработку
Похожие патенты