Изобретение относится к импульсной и вычислительной технике и может использоваться при построении самосинхронных комбинационных и вычислительных устройств, систем цифровой обработки информации, в первую очередь - в качестве элементов первого каскада дерева Уоллеса умножителей. Техническим результатом является упрощение реализации и повышение быстродействия. Устройство содержит четыре элемента И-ИЛИ-НЕ, пять элементов ИЛИ-НЕ, элемент неравнозначности с парафазными входами и выходом, два элемента И-НЕ, два элемента ИЛИ-И-НЕ, два гистерезисных триггера, два элемента И, элемент И-ИЛИ, инвертор. 2 табл., 1 ил.
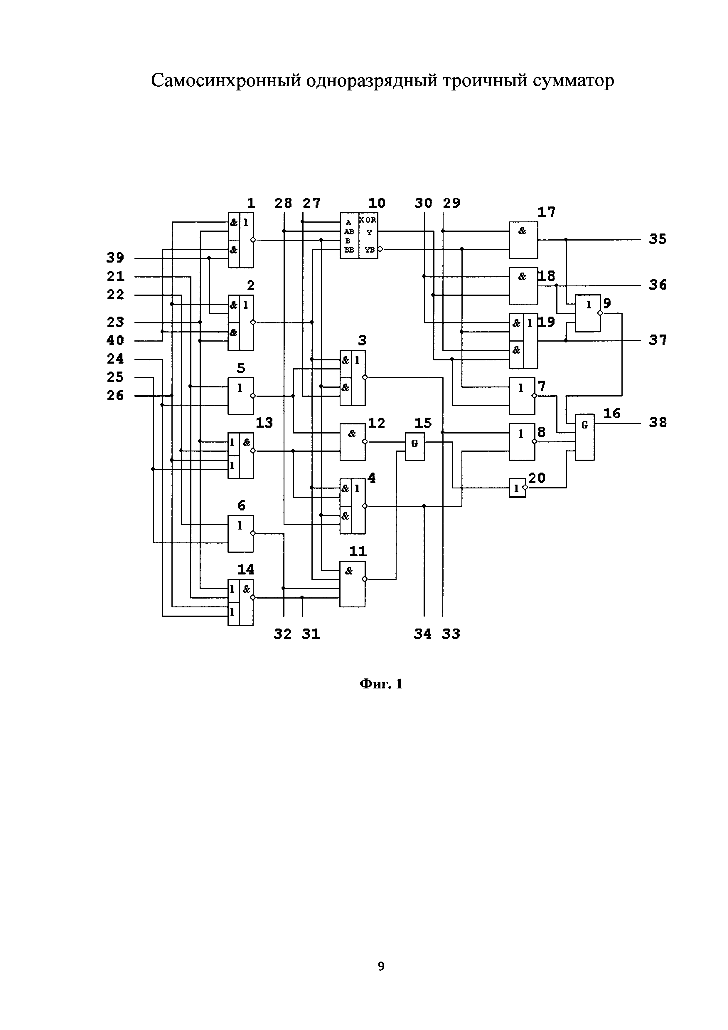
Самосинхронный одноразрядный троичный сумматор, содержащий два элемента И-НЕ, пять элементов ИЛИ-НЕ, два элемента ИЛИ-И-НЕ, два элемента И-ИЛИ-НЕ, один элемент неравнозначности, два элемента И, один элемент И-ИЛИ, два гистерезисных триггера, инвертор, положительные, отрицательные и нулевые компоненты двух троичных слагаемых, первый и второй парафазные входы переноса, первый и второй парафазные выходы переноса, положительный, отрицательный и нулевой компоненты суммы и индикаторный выход, причем элемент неравнозначности имеет два парафазных входа и один парафазный выход, положительный компонент первого слагаемого подключен ко второму входу первой группы ИЛИ входов второго элемента ИЛИ-И-НЕ и первому входу первого элемента ИЛИ-НЕ, отрицательный компонент первого слагаемого подключен ко второму входу первой группы ИЛИ входов первого элемента ИЛИ-И-НЕ и первому входу второго элемента ИЛИ-НЕ, нулевой компонент первого слагаемого соединен с первыми входами первых групп ИЛИ входов первого и второго элементов ИЛИ-И-НЕ, положительный компонент второго слагаемого подключен ко второму входу первого элемента ИЛИ-НЕ и второму входу второй группы ИЛИ входов второго элемента ИЛИ-И-НЕ, отрицательный компонент второго слагаемого подключен ко второму входу второй группы ИЛИ входов первого элемента ИЛИ-И-НЕ и второму входу второго элемента ИЛИ-НЕ, нулевой компонент второго слагаемого соединен с первыми входами вторых групп ИЛИ входов первого и второго элементов ИЛИ-И-НЕ, прямой и инверсный компоненты первого входа переноса подключены соответственно к первому и второму входам элемента неравнозначности, составляющим первый парафазный вход элемента неравнозначности, и ко вторым входам вторых групп И входов первого и второго элементов И-ИЛИ-НЕ, третий вход элемента неравнозначности, который вместе с четвертым входом элемента неравнозначности составляет второй парафазный вход элемента неравнозначности, соединен с первым входом первого элемента И-НЕ и первыми входами вторых групп И входов первого и второго элементов И-ИЛИ-НЕ, четвертый вход элемента неравнозначности подключен ко второму входу первого элемента И-НЕ и первым входам первых групп И входов первого и второго элементов И-ИЛИ-НЕ, выход первого элемента ИЛИ-НЕ соединен со вторым входом первой группы И входов первого элемента И-ИЛИ-НЕ и первым входом второго элемента И-НЕ, выход первого элемента ИЛИ-И-НЕ подключен ко второму входу второго элемента И-НЕ и второму входу первой группы И входов второго элемента И-ИЛИ-НЕ, выход второго элемента ИЛИ-НЕ соединен с третьим входом первого элемента И-НЕ и инверсным компонентом первого парафазного выхода переноса, выход второго элемента ИЛИ-И-НЕ подключен к четвертому входу первого элемента И-НЕ и прямому компоненту первого парафазного выхода переноса, прямой компонент парафазного выхода элемента неравнозначности соединен со вторыми входами второго элемента И, третьего элемента ИЛИ-НЕ и второй группы И входов элемента И-ИЛИ, инверсный компонент парафазного выхода элемента неравнозначности подключен ко второму входу первого элемента И, второму входу первой группы И входов элемента И-ИЛИ и первому входу третьего элемента ИЛИ-НЕ, выходы первого и второго элементов И-НЕ соединены со вторым и первым входами первого гистерезисного триггера соответственно, выход которого соединен с входом инвертора, выход первого элемента И-ИЛИ-НЕ подключен к первому входу четвертого элемента ИЛИ-НЕ и прямому компоненту второго парафазного выхода переноса, выход второго элемента И-ИЛИ-НЕ подключен ко второму входу четвертого элемента ИЛИ-НЕ и инверсному компоненту второго парафазного выхода переноса, прямой компонент второго парафазного входа переноса соединен с первым входом первого элемента И и первым входом второй группы И входов элемента И-ИЛИ, инверсный компонент второго парафазного входа переноса соединен с первым входом второго элемента И и первым входом первой группы И входов элемента И-ИЛИ, выход первого элемента И подключен к первому входу пятого элемента ИЛИ-НЕ и положительному компоненту троичного выхода суммы, выход второго элемента И подключен ко второму входу пятого элемента ИЛИ-НЕ и отрицательному компоненту троичного выхода суммы, выход элемента И-ИЛИ соединен с третьим входом пятого элемента ИЛИ-НЕ и нулевым компонентом троичного выхода суммы, выходы пятого, третьего и четвертого элементов ИЛИ-НЕ подключены к первому, второму и третьему входам второго гистерезисного триггера, четвертый вход которого соединен с выходом инвертора, а выход соединен с индикаторным выходом сумматора, отличающийся тем, что в схему введены третий и четвертый элементы И-ИЛИ-НЕ и два входа инверсии нулевых компонентов троичных слагаемых, причем первые входы первых групп И входов третьего и четвертого элементов И-ИЛИ-НЕ подключены к входу нулевого компонента второго слагаемого, второй вход первой группы И входов третьего элемента И-ИЛИ-НЕ соединен с входом нулевого компонента первого слагаемого и вторым входом второй группы И входов четвертого элемента И-ИЛИ-НЕ, первые входы вторых групп И входов третьего и четвертого элементов И-ИЛИ-НЕ подключены к входу инверсии нулевого компонента второго слагаемого, вторые входы второй группы И входов третьего элемента И-ИЛИ-НЕ и первой группы И входов четвертого элемента И-ИЛИ-НЕ соединены с входом инверсии нулевого компонента первого слагаемого, выходы третьего и четвертого элементов И-ИЛИ-НЕ соединены с третьим и четвертым входами элемента неравнозначности соответственно.
Самосинхронный одноразрядный троичный сумматор относится к импульсной и вычислительной технике и может использоваться при построении самосинхронных комбинационных и вычислительных устройств, систем цифровой обработки информации, в первую очередь - в качестве элементов первого каскада дерева Уоллеса умножителей. Известен одноразрядный сумматор с избыточным кодированием входов и выходов [1, Fig. 4а], содержащий шесть элементов И-НЕ, два элемента неравнозначности и мультиплексор. Недостаток известного устройства - невозможность его использования в самосинхронном режиме работы. Наиболее близким к предлагаемому решению по технической сущности и принятым в качестве прототипа является самосинхронный одноразрядный троичный сумматор [2], содержащий два элемента И-НЕ, пять элементов ИЛИ-НЕ, два элемента ИЛИ-И-ИЛИ-НЕ, два элемента ИЛИ-И-НЕ, два элемента И-ИЛИ-НЕ, один элемент неравнозначности, два элемента И, один элемент И-ИЛИ, два гистерезисных триггера и инвертор. Недостаток прототипа - большая задержка формирования межразрядного переноса и троичной суммы при построении многоразрядного сумматора. Задача, решаемая в изобретении, заключается в уменьшении задержки формирования межразрядного переноса и суммы троичного сумматора при реализации на нем многоразрядного троичного сумматора и умножителя. Это достигается тем, что в самосинхронный одноразрядный троичный сумматор, содержащий два элемента И-НЕ, пять элементов ИЛИ-НЕ, два элемента ИЛИ-И-НЕ, два элемента И-ИЛИ-НЕ, один элемент неравнозначности, два элемента И, один элемент И-ИЛИ, два гистерезисных триггера, инвертор, положительные, отрицательные и нулевые компоненты двух троичных слагаемых, первый и второй парафазные входы переноса, первый и второй парафазные выходы переноса, положительный, отрицательный и нулевой компоненты суммы и индикаторный выход, элемент неравнозначности имеет два парафазных входа и один парафазный выход, положительный компонент первого слагаемого подключен ко второму входу первой группы ИЛИ входов второго элемента ИЛИ-И-НЕ и первому входу первого элемента ИЛИ-НЕ, отрицательный компонент первого слагаемого подключен ко второму входу первой группы ИЛИ входов первого элемента ИЛИ-И-НЕ и первому входу второго элемента ИЛИ-НЕ, нулевой компонент первого слагаемого соединен с первыми входами первых групп ИЛИ входов первого и второго элементов ИЛИ-И-НЕ, положительный компонент второго слагаемого подключен ко второму входу первого элемента ИЛИ-НЕ и второму входу второй группы ИЛИ входов второго элемента ИЛИ-И-НЕ, отрицательный компонент второго слагаемого подключен ко второму входу второй группы ИЛИ входов первого элемента ИЛИ-И-НЕ и второму входу второго элемента ИЛИ-НЕ, нулевой компонент второго слагаемого соединен с первыми входами вторых групп ИЛИ входов первого и второго элементов ИЛИ-И-НЕ, прямой и инверсный компоненты первого парафазного входа переноса подключены к первому и второму входам элемента неравнозначности, составляющим первый парафазный вход элемента неравнозначности, и ко вторым входам вторых групп И входов первого и второго элементов И-ИЛИ-НЕ соответственно, третий вход элемента неравнозначности, который вместе с четвертым входом элемента неравнозначности составляет второй парафазный вход элемента неравнозначности, соединен с первым входом первого элемента И-НЕ и первыми входами вторых групп И входов первого и второго элементов И-ИЛИ-НЕ, четвертый вход элемента неравнозначности подключен ко второму входу первого элемента И-НЕ и первым входам первых групп И входов первого и второго элементов И-ИЛИ-НЕ, выход первого элемента ИЛИ-НЕ соединен со вторым входом первой группы И входов первого элемента И-ИЛИ-НЕ и первым входом второго элемента И-НЕ, выход первого элемента ИЛИ-И-НЕ подключен ко второму входу второго элемента И-НЕ и второму входу первой группы И входов второго элемента И-ИЛИ-НЕ, выход второго элемента ИЛИ-НЕ соединен с третьим входом первого элемента И-НЕ и инверсным компонентом первого парафазного выхода переноса, выход второго элемента ИЛИ-И-НЕ подключен к четвертому входу первого элемента И-НЕ и прямому компоненту первого парафазного выхода переноса, прямой компонент парафазного выхода элемента неравнозначности соединен со вторыми входами второго элемента И, третьего элемента ИЛИ-НЕ и второй группы И входов элемента И-ИЛИ, инверсный компонент парафазного выхода элемента неравнозначности подключен ко второму входу первого элемента И, второму входу первой группы И входов элемента И-ИЛИ и первому входу третьего элемента ИЛИ-НЕ, выходы первого и второго элементов И-НЕ соединены соответственно со вторым и первым входами первого гистерезисного триггера, выход которого соединен с входом инвертора, выход первого элемента И-ИЛИ-НЕ подключен к первому входу четвертого элемента ИЛИ-НЕ и прямому компоненту второго парафазного выхода переноса, выход второго элемента И-ИЛИ-НЕ подключен ко второму входу четвертого элемента ИЛИ-НЕ и инверсному компоненту второго парафазного выхода переноса, прямой компонент второго парафазного входа переноса соединен с первым входом первого элемента И и первым входом второй группы И входов элемента И-ИЛИ, инверсный компонент второго парафазного входа переноса соединен с первым входом второго элемента И и первым входом первой группы И входов элемента И-ИЛИ, выход первого элемента И подключен к первому входу пятого элемента ИЛИ-НЕ и положительному компоненту троичного выхода суммы, выход второго элемента И подключен ко второму входу пятого элемента ИЛИ-НЕ и отрицательному компоненту троичного выхода суммы, выход элемента И-ИЛИ соединен с третьим входом пятого элемента ИЛИ-НЕ и нулевым компонентом троичного выхода суммы, выходы пятого, третьего и четвертого элементов ИЛИ-НЕ подключены к первому, второму и третьему входам второго гистерезисного триггера, четвертый вход которого соединен с выходом инвертора, а выход соединен с индикаторным выходом сумматора, введены третий и четвертый элементы И-ИЛИ-НЕ и два входа инверсии нулевых компонентов троичных слагаемых, причем первые входы первых групп И входов третьего и четвертого элементов И-ИЛИ-НЕ подключены к входу нулевого компонента второго слагаемого, второй вход первой группы И входов третьего элемента И-ИЛИ-НЕ соединен с входом нулевого компонента первого слагаемого и вторым входом второй группы И входов четвертого элемента И-ИЛИ-НЕ, первые входы вторых групп И входов третьего и четвертого элементов И-ИЛИ-НЕ подключены к входу инверсии нулевого компонента второго слагаемого, вторые входы второй группы И входов третьего элемента И-ИЛИ-НЕ и первой группы И входов четвертого элемента И-ИЛИ-НЕ соединены с входом инверсии нулевого компонента первого слагаемого, выходы третьего и четвертого элементов И-ИЛИ-НЕ соединены с третьим и четвертым входами элемента неравнозначности соответственно. Предлагаемое устройство удовлетворяет критерию "существенные отличия". Действительно, в прототипе используются более сложные элементы ИЛИ-И-ИЛИ-НЕ, обладающие большей задержкой переключения, чем элементы И-ИЛИ-НЕ, что приводит к большой задержке формирования выходов троичной суммы и второго парафазного переноса. Замена элементов ИЛИ-И-ИЛИ-НЕ более простыми и быстродействующими элементами И-ИЛИ-НЕ и добавление входов инверсии нулевых компонентов троичных слагаемых позволило достичь эффекта, выраженного целью изобретения. Поскольку введенные конструктивные связи в аналогичных технических решениях не известны, устройство может считаться имеющим существенные отличия. Понятие "парафазный", используемое в тексте данной заявки, определяется следующим образом. Парафазным считается сигнал, представленный двумя составляющими - парой переменных {X, ХВ}, которые в активной фазе имеют взаимоинверсные значения: {Х=0, ХВ=1} или {Х=1, ХВ=0}. Переход парафазного сигнала из одного статического рабочего состояния в противоположное рабочее состояние может осуществляться двумя способами. Первый способ предполагает использование парафазного сигнала со спейсером: когда переходу в следующее рабочее состояние обязательно предшествует переход в третье статическое состояние - спейсерное (нерабочее состояние или состояние гашения). Если в качестве спейсерного используется состояние {1,1}, то говорят, что используется парафазный сигнал с единичным спейсером, а если состояние {0,0}, то - парафазный сигнал с нулевым спейсером. Спейсерное состояние - статическое состояние, установка которого в самосинхронной схемотехнике должна фиксироваться индикатором окончания переходного процесса, в данном случае - окончания установки спейсерного состояния. Второй способ предполагает использование парафазного сигнала без спейсера. При этом переход из одного рабочего статического состояния в другое осуществляется через динамическое (кратковременное) состояние: {1,1} или {0,0}, - называемое транзитным состоянием. В материалах данной заявки речь идет об использовании в качестве первого входа переноса и первого выхода переноса парафазного сигнала с единичным спейсером и об использовании в качестве второго входа переноса и второго выхода переноса парафазного сигнала с нулевым спейсером. Самосинхронное кодирование троичного сигнала раскрывается в таблице 1. Здесь Р, N, М - положительный, нулевой и отрицательный компоненты троичного сигнала соответственно, NB -инверсия нулевого компонента троичного сигнала. На Фиг. 1 представлена схема самосинхронного одноразрядного троичного сумматора, содержащего четыре элемента И-ИЛИ-НЕ 1-4, пять элементов ИЛИ-НЕ 5-9, элемент неравнозначности 10, два элемента И-НЕ 11-12, два элемента ИЛИ-И-НЕ 13-14, два гистерезисных триггера 15-16, два элемента И 17-18, один элемент И-ИЛИ 19, инвертор 20, входы положительного 21, отрицательного 22 и нулевого 23 компонента первого слагаемого, входы положительного 24, отрицательного 25 и нулевого 26 компонента второго слагаемого, прямой 27 и инверсный 28 компоненты первого входа переноса, прямой 29 и инверсный 30 компоненты второго входа переноса, прямой 31 и инверсный 32 компоненты первого выхода переноса, прямой 33 и инверсный 34 компоненты второго выхода переноса, выходы положительного 35, отрицательного 36 и нулевого 37 компонента троичной суммы, индикаторный выход 38, вход инверсии нулевого компонента первого слагаемого 39 и вход инверсии нулевого компонента второго слагаемого 40, причем элемент неравнозначности 10 имеет два парафазных входа и один парафазный выход, вход положительного компонента первого слагаемого 21 подключен ко второму входу первой группы ИЛИ входов элемента ИЛИ-И-НЕ 14 и первому входу элемента ИЛИ-НЕ 5, вход отрицательного компонента первого слагаемого 22 подключен ко второму входу первой группы ИЛИ входов элемента ИЛИ-И-НЕ 13 и первому входу элемента ИЛИ-НЕ 6, вход нулевого компонента первого слагаемого 23 соединен со вторым входом первой группы И входов элемента И-ИЛИ-НЕ 1, вторым входом второй группы входов И элемента И-ИЛИ-НЕ 2 и с первыми входами первых групп ИЛИ входов элементов ИЛИ-И-НЕ 13-14, вход положительного компонента второго слагаемого 24 подключен ко второму входу элемента ИЛИ-НЕ 5 и второму входу второй группы ИЛИ входов элемента ИЛИ-И-НЕ 14, вход отрицательного компонента второго слагаемого 25 подключен ко второму входу второй группы ИЛИ входов элемента ИЛИ-И-НЕ 13 и второму входу элемента ИЛИ-НЕ 6, вход нулевого компонента второго слагаемого 26 соединен с первыми входами первых групп И входов элементов И-ИЛИ-НЕ 1-2 и первыми входами вторых групп ИЛИ входов элементов ИЛИ-И-НЕ 13-14, вход инверсии нулевого компонента первого слагаемого 39 соединен со вторыми входами второй группы И входов элемента И-ИЛИ-НЕ 1 и первой группы И входов элемента И-ИЛИ-НЕ 2, вход инверсии нулевого компонента второго слагаемого 40 подключен к первым входам вторых групп И входов элементов И-ИЛИ-НЕ 1-2, прямой 27 и инверсный 28 компоненты первого входа переноса подключены к первому и второму входам элемента неравнозначности 10 и ко вторым входам вторых групп И входов элементов И-ИЛИ-НЕ 3 и 4 соответственно, выход элемента И-ИЛИ-НЕ 1 соединен с третьим входом элемента неравнозначности 10, с первым входом элемента И-НЕ 11 и с первыми входами вторых групп И входов элементов И-ИЛИ-НЕ 3-4, выход элемента И-ИЛИ-НЕ 2 подключен к четвертому входу элемента неравнозначности 10, второму входу элемента И-НЕ 11 и первым входам первых групп И входов элементов И-ИЛИ-НЕ 3-4, выход элемента ИЛИ-НЕ 5 соединен со вторым входом первой группы И входов элемента И-ИЛИ-НЕ 3 и первым входом элемента И-НЕ 12, выход элемента ИЛИ-И-НЕ 13 подключен ко второму входу элемента И-НЕ 12 и второму входу первой группы И входов элемента И-ИЛИ-НЕ 4, выход элемента ИЛИ-НЕ 6 соединен с третьим входом элемента И-НЕ 11 и инверсным компонентом 32 первого выхода переноса, выход элемента ИЛИ-И-НЕ 14 подключен к четвертому входу первого элемента И-НЕ 11 и прямому компоненту 31 первого выхода переноса, прямой компонент парафазного выхода элемента неравнозначности 10 соединен со вторыми входами элементов И 18 и ИЛИ-НЕ 7 и второй группы И входов элемента И-ИЛИ 19, инверсный компонент парафазного выхода элемента неравнозначности 10 подключен ко второму входу элемента И 17, второму входу первой группы И входов элемента И-ИЛИ 19 и первому входу элемента ИЛИ-НЕ 7, выходы элементов И-НЕ 11 и 12 соединены со вторым и первым входами гистерезисного триггера 15 соответственно, выход которого соединен с входом инвертора 20, выход элемента И-ИЛИ-НЕ 3 подключен к первому входу элемента ИЛИ-НЕ 8 и прямому компоненту 33 второго выхода переноса, выход элемента И-ИЛИ-НЕ 4 подключен ко второму входу элемента ИЛИ-НЕ 8 и инверсному компоненту 34 второго выхода переноса, прямой компонент 29 второго входа переноса соединен с первым входом элемента И 17 и первым входом второй группы И входов элемента И-ИЛИ 19, инверсный компонент 30 второго входа переноса соединен с первым входом элемента И 18 и первым входом первой группы И входов элемента И-ИЛИ 19, выход элемента И 17 подключен к первому входу элемента ИЛИ-НЕ 9 и выходу положительного компонента 35 троичной суммы, выход элемента И 18 подключен ко второму входу элемента ИЛИ-НЕ 9 и выходу отрицательного компонента 36 троичной суммы, выход элемента И-ИЛИ 19 соединен с третьим входом элемента ИЛИ-НЕ 9 и выходом нулевого компонента 37 троичной суммы, выходы элементов ИЛИ-НЕ 9, 7 и 8 подключены к первому, второму и третьему входам гистерезисного триггера 16 соответственно, четвертый вход которого соединен с выходом инвертора 20, а выход соединен с индикаторным выходом 38 сумматора. Элемент неравнозначности 10 имеет парафазные входы и выход и выполняет следующие функции: где {А, АВ} - первый парафазный вход, {B, ВВ} - второй парафазный вход, {Y, YB} - парафазный выход. Входы элемента неравнозначности имеют спейсер, противоположный по отношению к спейсеру его выхода. Гистерезисный триггер 15 выполняет функцию: где I0, I1 - входы триггера, Y - выход триггера. Гистерезисный триггер 16 выполняет функцию: где I0-I3 - входы триггера, Y - выход триггера. Схема работает следующим образом. Аналогично любому другому самосинхронному устройству, данный сумматор постоянно переключается из спейсера в разрешенное рабочее состояние и обратно. Переключение из одного рабочего состояния в другое обязательно происходит через спейсерное состояние всех входов и выходов сумматора. В спейсерной фазе все входы и выходы сумматора находятся в своем спейсере, причем тип спейсера слагаемых, второго входного переноса, суммы и второго выходного переноса - нулевой, а тип спейсера первого входного переноса, первого выходного переноса и индикаторного выхода - единичный. Выход суммы может перейти в рабочее состояние ("100", "010" или "001") только при условии, что все входы сумматора перешли в рабочее состояние. Действительно, если первое слагаемое 21-23 и 39 находится в нулевом спейсере ("0000"), то выходы элементов 1 и 2 находятся в состоянии логической единицы, выходы элемента неравнозначности 10 в соответствии с формулами (1) находятся в состоянии логического нуля, что заставляет и выходы элементов 17-19 находиться в состоянии логического нуля, то есть выход суммы 35-37 находится в нулевом спейсере ("000") независимо от состояния остальных входов сумматора. Если второе слагаемое 24-26 и 40 находится в нулевом спейсере ("0000"), то выходы элементов 1 и 2 находятся в состоянии логической единицы, выходы элемента неравнозначности 10 в соответствии с формулами (1) находятся в состоянии логического нуля, что заставляет и выходы элементов 17-19 находиться в состоянии логического нуля, то есть выход суммы 35-37 находится в нулевом спейсере независимо от состояния остальных входов сумматора. Если в единичном спейсере ("11") находится первый парафазный вход переноса 27-28, то выходы элемента неравнозначности 10 в соответствии с формулами (1) находятся в состоянии логического нуля независимо от состояния (рабочего или единичного спейсера) элементов 1 и 2, что заставляет и выходы элементов 17-19 находиться в состоянии логического нуля, следовательно, выход суммы 35-37 находится в нулевом спейсере независимо от состояния остальных входов сумматора. Если в нулевом спейсере ("00") находится второй парафазный вход переноса 29-30, то выходы элементов 17-19 находятся также в состоянии логического нуля, следовательно, выход суммы 35-37 находится в нулевом спейсере независимо от состояния остальных входов сумматора. Состояния выходов сумматора в зависимости от допустимых статических рабочих (отличных от спейсера) комбинаций его входов приведены в таблице 2. Индикаторный выход 38 переключается в состояние логической единицы (спейсер), если все парафазные и троичные выходы и выходы всех элементов схемы переключились в спейсер, и остается в этом состоянии, если хотя бы одно из троичных слагаемых или один из входов переноса находится в спейсере. Индикаторный выход 38 переключается в состояние логического нуля (рабочее), если все выходы сумматора и выходы элементов схемы закончили переключение в рабочее состояние. Особенности данной схемы по сравнению с прототипом следующие. За счет введения входов 39 и 40 инверсии нулевых компонентов первого и второго троичных слагаемых соответственно, элементы 1 и 2 схемы сумматора сделаны более простыми и быстродействующими. Это обеспечивает упрощение схемы самосинхронного сумматора, повышение его надежности и ускорение формирования выхода второго парафазного сигнала межразрядного переноса и троичной суммы. Таким образом, предлагаемое устройство обеспечивает уменьшение задержки формирования межразрядного переноса и суммы троичного сумматора при реализации на нем многоразрядного троичного сумматора и умножителя. Цель изобретения достигнута. Источники [1] Makino Н., Nakase Y., Suzuki Н., Morinaka Н., Shinohara Н., and Mashiko К. An 8.8 ns 54x54 bit Multiplier with High Speed Redundant Binary Architecture / IEEE Journal of Solid-State Circuits, vol. 31, no. 6, June 1996. - pp. 773-783. [2] Пат. 2574818 Российская Федерация, МПК Н03К 3/00. Самосинхронный одноразрядный троичный сумматор. Рождественский Юрий Владимирович, Степченков Юрий Афанасьевич, Бобков Сергей Геннадьевич, Дьяченко Юрий Георгиевич; заявитель и патентообладатель Федеральное государственное учреждение "Федеральный исследовательский центр "Информатика и управление" Российской академии наук" (ФИЦ ИУ РАН). - №2014141554/08; опубл. 10.02.16, Бюл. №4. - 14 с.



