патент
№ RU 2684609
МПК H01F21/06

Дроссель с регулируемой индуктивностью

Авторы:
Шахнов Вадим Анатольевич
Номер заявки
2018119274
Дата подачи заявки
25.05.2018
Опубликовано
10.04.2019
Страна
RU
Как управлять
интеллектуальной собственностью
Чертежи 
2
Реферат

Изобретение относится к регулировочным трансформаторам или переменным индуктивностям, имеющим подвижный участок в магнитной цепи, в частности к дросселям с регулируемой индуктивностью. Технический результат, достигаемый при использовании изобретения, заключается в обеспечении постоянного значения индуктивности в процессе эксплуатации дросселя и упрощении процесса регулирования значения индуктивности дросселя и фиксации положения подвижной части магнитопровода. Поставленная цель достигается тем, что дроссель с регулируемой индуктивностью содержит обмотку возбуждения, магнитопровод, состоящий из подвижной и неподвижной частей с немагнитным зазором между ними, при этом на неподвижной части магнитопровода закреплена обмотка возбуждения, а подвижная часть магнитопровода размещена на оси, установленной в неподвижных опорах, при этомзазор между торцами подвижной и неподвижной частей магнитопровода выполнен постоянной ширины и имеет форму дуги окружности, центр которой совпадает с центром вышеупомянутой оси, а дроссель дополнительно снабжён скобой, которая своей центральной частью скреплена с вышеупомянутой неподвижной опорой, при этом на обоих концах скобы размещены устройства регулирования и фиксации, одно из которых содержит винт, закреплённый в скобе посредством двух гаек с обеих сторон скобы, причём свободный конец винта прижат к боковой поверхности подвижной части магнитопровода с одной стороны. 2 з.п. ф-лы, 2 ил.

Формула изобретения

1. Дроссель с регулируемой индуктивностью, содержащий обмотку возбуждения, магнитопровод, состоящий из подвижной и неподвижной частей с немагнитным зазором между ними, при этом на неподвижной части магнитопровода закреплена обмотка возбуждения, а подвижная часть магнитопровода размещена на оси, установленной в неподвижных опорах, отличающийся тем, что зазор между торцами подвижной и неподвижной частей магнитопровода выполнен постоянной ширины и имеет форму дуги окружности, центр которой совпадает с центром вышеупомянутой оси, а дроссель дополнительно снабжён скобой, которая своей центральной частью скреплена с вышеупомянутой неподвижной опорой, при этом на обоих концах скобы размещены устройства регулирования и фиксации, одно из которых содержит винт, закреплённый в скобе посредством двух гаек с обеих сторон скобы, причём свободный конец винта прижат к боковой поверхности подвижной части магнитопровода с одной стороны.

2. Дроссель по п. 1, отличающийся тем, что оба устройства регулирования и фиксации выполнены содержащими винт, закреплённый в скобе посредством двух гаек с обеих сторон скобы, при этом свободные концы упомянутых винтов прижаты к боковым поверхностям подвижной части магнитопровода.

3. Дроссель по п. 1, отличающийся тем, что другое устройство регулирования и фиксации выполнено в виде пружины, один конец которой неподвижно закреплён на скобе, а другой конец прижат к боковой поверхности подвижной части магнитопровода с другой стороны.

Описание

[1]

Изобретение относится к регулировочным трансформаторам или переменным индуктивностям, имеющим подвижный участок в магнитной цепи, в частности к дросселям с регулируемой индуктивностью.

[2]

Известен дроссель с регулируемой индуктивностью (см. описание изобретения к патенту РФ № 2087964, МПК Н01F21/06, авторы Смирнов Ю.А., Шевченко А.Г., опубл. 20.08.97), содержащий разъёмный магнитопровод с воздушным зазором, обмотку на стержнях магнитопровода, фиксирующее устройство в виде обойм, жёстко скреплённых с частями магнитопровода, и регулировочное устройство в виде четырёх шпилек с гайками.

[3]

Однако в известном устройстве процесс регулирования индуктивности является трудоёмким и длительным по времени, поскольку регулирование индуктивности проводится за счёт изменения взаимного положения частей магнитопровода, для чего необходимо поочерёдно вращать четыре шпильки с фиксирующими гайками, чтобы добиться параллельности поверхностей, образующих зазор для выравнивания значений усталостных напряжений, возникающих в шпильках в условиях эксплуатации данного дросселя при знакопеременных механических воздействиях. Кроме того, в известном дросселе подвижная и неподвижная части магнитопровода имеют гальваническую связь через устройство регулирования и фиксации, что существенно усложняет электрическую изоляцию обмотки возбуждения и снижает надёжность дросселя.

[4]

Наиболее близким по назначению и технической сущности решением, выбранным в качестве прототипа, является плавно регулируемый дугогасящий реактор (см. описание изобретения к патенту РФ № 2390065, МПК Н01F29/10 автор Зихерман М.Х., опубл. 20.05.2010), содержащий обмотку на неподвижном магнитопроводе, выполненном из двух П-образных частей с немагнитным зазором, в котором может перемещаться подвижный магнитопровод в виде ферромагнитного кольца переменного поперечного сечения. При повороте кольца вокруг своей оси изменяется объём заполнения зазора ферромагнитным материалом кольца, что изменяет индуктивность реактора.

[5]

Недостатком данного изобретения является невозможность получения одинаковыми по значению двух магнитных потоков, создаваемых обеими частями неподвижного магнитопровода. В результате этого результирующее усилие, создаваемое за счёт разности усилий от магнитных потоков, не равно нулю, что приводит к перекосу подвижного магнитопровода в зазоре и делает конструкцию дросселя статически неустойчивой, что, в свою очередь, приводит к изменению значения индуктивности реактора в процессе эксплуатации.

[6]

Целью изобретения является обеспечение постоянного значения индуктивности в процессе её эксплуатации и упрощение процесса регулирования значения индуктивности дросселя и фиксации положения подвижной части магнитопровода.

[7]

Поставленная цель достигается тем, что дроссель с регулируемой индуктивностью, содержит обмотку возбуждения, магнитопровод, состоящий из подвижной и неподвижной частей с немагнитным зазором между ними, при этом на неподвижной части магнитопровода закреплена обмотка возбуждения, а подвижная часть магнитопровода размещена на оси, установленной в неподвижных опорах, при этом зазор между торцами подвижной и неподвижной частей магнитопровода выполнен постоянной ширины и имеет форму дуги окружности, центр которой совпадает с центром вышеупомянутой оси, а дроссель дополнительно снабжён скобой, которая своей центральной частью скреплена с вышеупомянутой неподвижной опорой, при этом на обоих концах скобы размещены устройства регулирования и фиксации, одно из которых содержит винт, закреплённый в скобе посредством двух гаек с обеих сторон скобы, причём свободный конец винта прижат к боковой поверхности подвижной части магнитопровода с одной стороны.

[8]

Отличительной особенностью является то, что оба устройства регулирования и фиксации выполнены содержащими винт, закреплённый в скобе посредством двух гаек с обеих сторон скобы, при этом свободные концы упомянутых винтов прижаты к боковым поверхностям подвижной части магнитопровода.

[9]

Отличительной особенностью является то, что другое устройство регулирования и фиксации выполнено в виде пружины, один конец которой неподвижно закреплён на скобе, а другой конец прижат к боковой поверхности подвижной части магнитопровода с другой стороны.

[10]

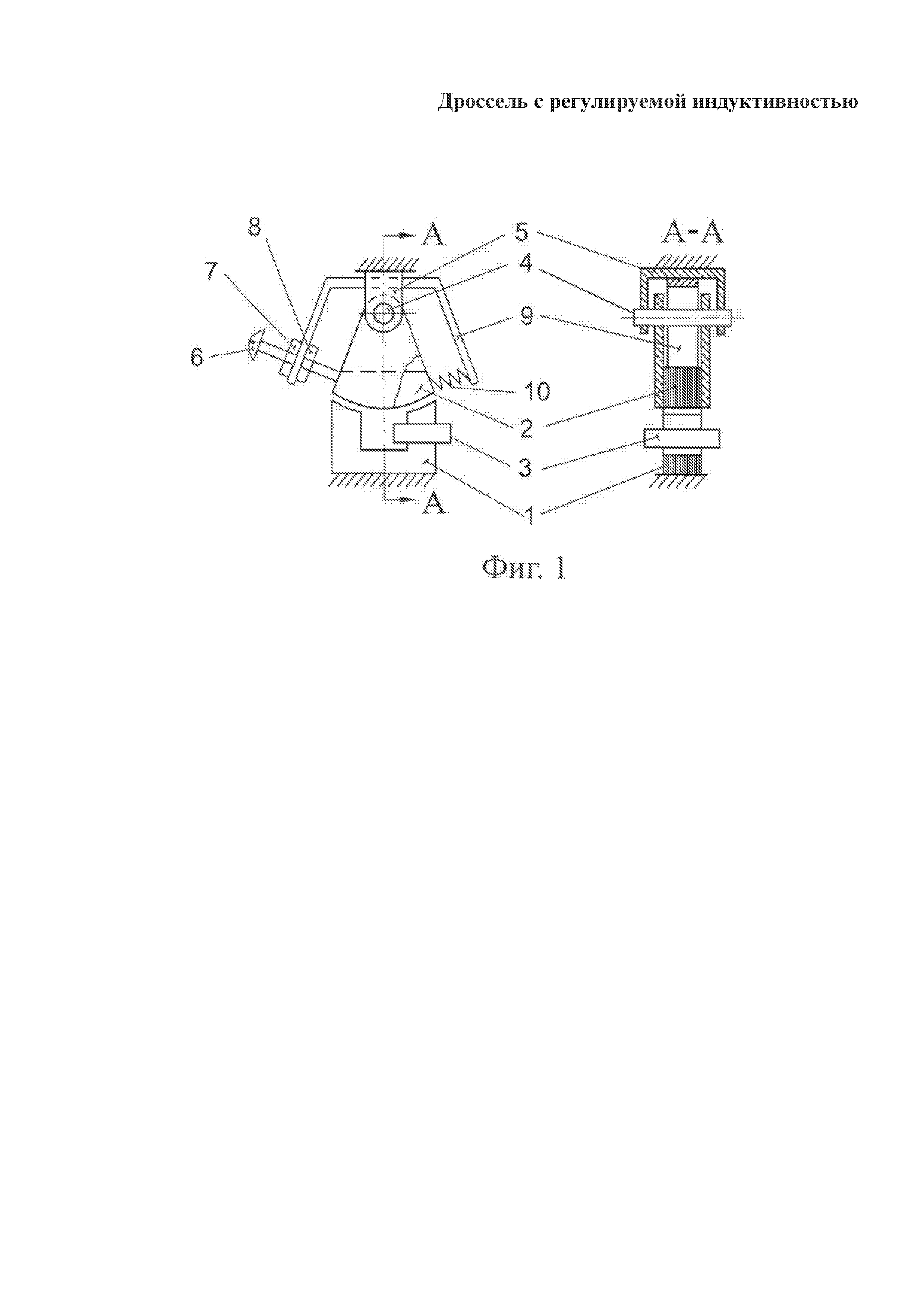
Предлагаемое устройство поясняется чертежом, где на фиг. 1 представлен дроссель с регулируемой индуктивностью, на фиг.2 – вариант его исполнения.

[11]

Дроссель с регулируемой индуктивностью (см. фиг. 1) содержит магнитопровод, состоящий из неподвижной части 1 и подвижной части 2. На неподвижной части 1 размещена обмотка возбуждения 3, создающая магнитный поток в магнитопроводе.

[12]

Подвижная часть 2 магнитопровода установлена на поворотной оси 4 с возможностью вращения относительно неё. Поворотная ось 4 размещена в неподвижной опоре 5.

[13]

Кроме того, к неподвижной опоре 5 неподвижно прикреплена скоба с двумя концами.

[14]

Обращённые одна к другой поверхности неподвижной 1 и подвижной 2 частей магнитопровода образуют немагнитный зазор, который имеет форму дуги окружности с центром, совпадающим с центром поворотной оси 4.

[15]

С одной стороны (на фиг. 1 слева) подвижной части магнитопровода устройство регулирования и фиксации выполнено в виде винта 6, служащего регулируемым упором, положение которого фиксируется гайками 7 и 8 с обеих сторон скобы 9. С другой стороны подвижной части магнитопровода (на фиг. 1 справа) устройство регулирования и фиксации выполнено в виде пружины 10, прижимающей подвижную часть 2 магнитопровода к винту 6.

[16]

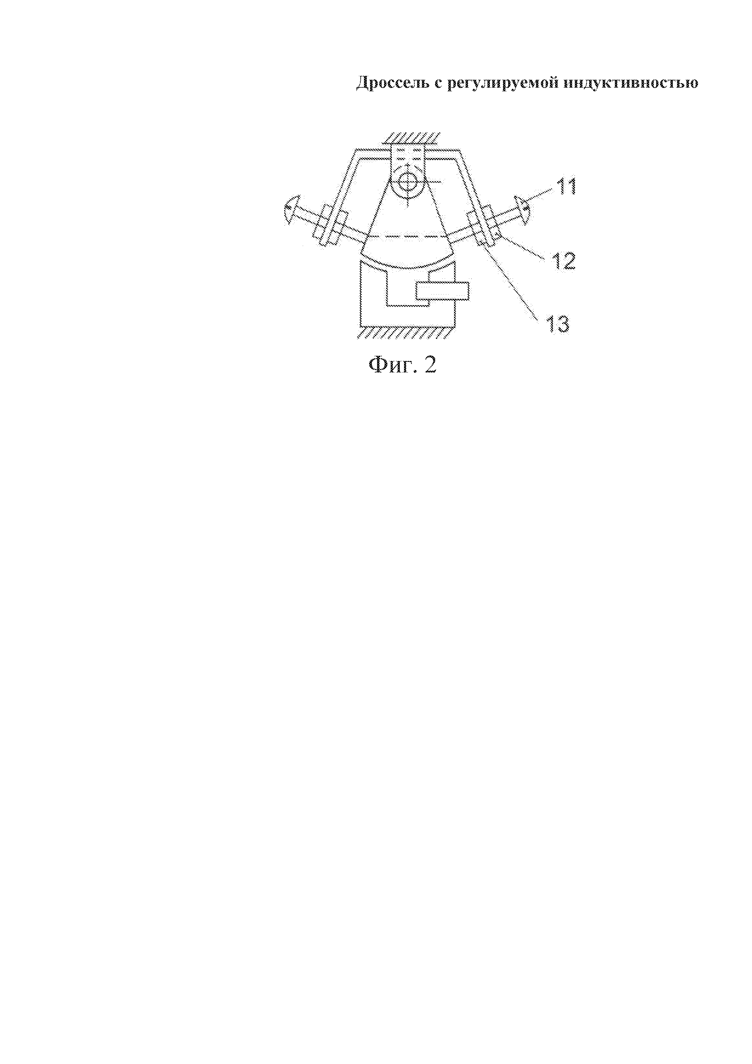
На фиг.2 показан вариант дросселя, в котором с другой (правой) стороны подвижной части магнитопровода регулирующее и фиксирующее устройство выполнено в виде винта 11 с гайками 12 и 13.

[17]

Предлагаемый дроссель работает следующим образом. При перемещении винта 6 происходит поворот подвижной части магнитопровода по часовой или против часовой стрелки вокруг оси 4, при этом радиальный размер немагнитного зазора (его ширина) не изменяется, а изменяется его длина по дуге окружности между подвижной и неподвижной частями магнитопровода, что приводит к плавному изменению индуктивности дросселя.

[18]

Фиксация положения подвижной части магнитопровода обеспечивается усилием пружины 10 или винта 11 с гайками 12 и 13 в зависимости от степени механического воздействия на дроссель внешних влияющих величин.

[19]

Дополнительным достоинством дросселя является обеспечение гальванической развязки устройств регулирования и фиксации, контактирующих только с подвижной частью магнитопровода, и обмотки, расположенной на неподвижной части магнитопровода. Благодаря этой развязке упрощается электрическая изоляция органов регулирования и фиксации при высоком уровне напряжения, подаваемого на обмотку, что повышает надёжность дросселя при эксплуатации.

[20]

Заявляемый дроссель может быть использован в цепях, где требуется плавная регулировка индуктивности и надёжная гальваническая развязка органов регулирования и фиксации и обмотки, находящейся под напряжением.

Как компенсировать расходы
на инновационную разработку
Похожие патенты