патент
№ RU 2634331
МПК H01P5/08

СВЕРХШИРОКОПОЛОСНЫЙ КОАКСИАЛЬНО-МИКРОПОЛОСКОВЫЙ ПЕРЕХОД

Авторы:
Михеев Филипп Александрович Щуров Вадим Валерьевич Козлов Станислав Валерьевич
Все (6)
Номер заявки
2016146665
Дата подачи заявки
28.11.2016
Опубликовано
25.10.2017
Страна
RU
Как управлять
интеллектуальной собственностью
Чертежи 
3
Реферат

Изобретение относится к области радиолокации, радионавигации, связи, антенно-фидерных систем, измерительной технике и может быть использовано для создания надежного соединения коаксиальной и микрополосковой линий, обладающего малым уровнем проходных и возвратных потерь. Коаксиально-микрополосковый переход содержит металлический корпус цилиндрической формы с центральным проводником. Соосно продольной оси корпуса выполнено сквозное отверстие со ступенчато изменяющимся диаметром. Центральный проводник, один конец которого выполнен ступенчато, запрессован в диэлектрическую шайбу, запрессованную во внутреннюю втулку, прижатую центрирующей внешней втулкой. При этом воздушный коаксиальный трансформатор образован ступенями корпуса и центральным проводником. Технический результат заключается в расширении диапазона рабочих частот в сторону СВЧ. 5 ил.

Формула изобретения

Сверхширокополосный коаксиально-микрополосковый переход, содержащий металлический корпус цилиндрической формы с центральным проводником, отличающийся тем, что соосно продольной оси корпуса выполнено сквозное отверстие со ступенчато изменяющимся диаметром, центральный проводник, один конец которого выполнен ступенчато, запрессован в диэлектрическую шайбу, запрессованную во внутреннюю втулку, прижатую центрирующей внешней втулкой, при этом воздушный коаксиальный трансформатор образован ступенями корпуса и центральным проводником.

Описание

[1]

Область применения

[2]

Изобретение может быть использовано в области радиолокации, радионавигации, связи, антенно-фидерных системах и измерительной технике для создания надежного соединения коаксиальной и микрополосковой линий, обладающего малым уровнем проходных и возвратных потерь.

[3]

Уровень техники

[4]

Известен коаксиально-микрополосковый переход (патент US №3662318, 09.05.1972), содержащий металлическое основание, диэлектрическую подложку, на одной стороне которой нанесен токонесущий проводник, и коаксиальный разъем, центральный проводник которого выполнен пружинным и подключен к токонесущему проводнику.

[5]

Известен коаксиально-полосковый переход OSM-244-4ASP (справочник по расчету и конструированию СВЧ полосковых устройств. / Под. ред. В.И. Вольмана. М. Радио и связь, 1982, с. 211-213, рис. 4.67а), выбранный за прототип, содержащий корпус, являющийся внешним проводником, внутренний проводник, диэлектрическую втулку, причем соединение внутреннего проводника с токонесущим проводником МПЛ осуществляется клеем.

[6]

Основным недостатком данных устройств является небольшой диапазон рабочих частот.

[7]

Сущность изобретения

[8]

Изобретение направлено на решение технической задачи, связанной с возможностью улучшения технических характеристик коаксиально-микрополоскового перехода, а также с упрощением его монтажа на печатную плату.

[9]

Техническим результатом предложенного решения является расширение диапазона рабочих частот коаксиально-микрополоскового перехода в сторону СВЧ.

[10]

Технический результат достигается тем, что в сверхширокополосном коаксиально-микрополосковом переходе, содержащем металлический корпус с центральным проводником, согласно предложенному решению соосно продольной оси корпуса выполнено сквозное отверстие со ступенчато изменяющимся диаметром, а центральный проводник, один конец которого выполнен ступенчато, запрессован в диэлектрическую шайбу, запрессованную во внутреннюю втулку, прижатую центрирующей внешней втулкой, при этом воздушный коаксиальный трансформатор образован ступенями корпуса и центрального проводника.

[11]

Краткое описание чертежей

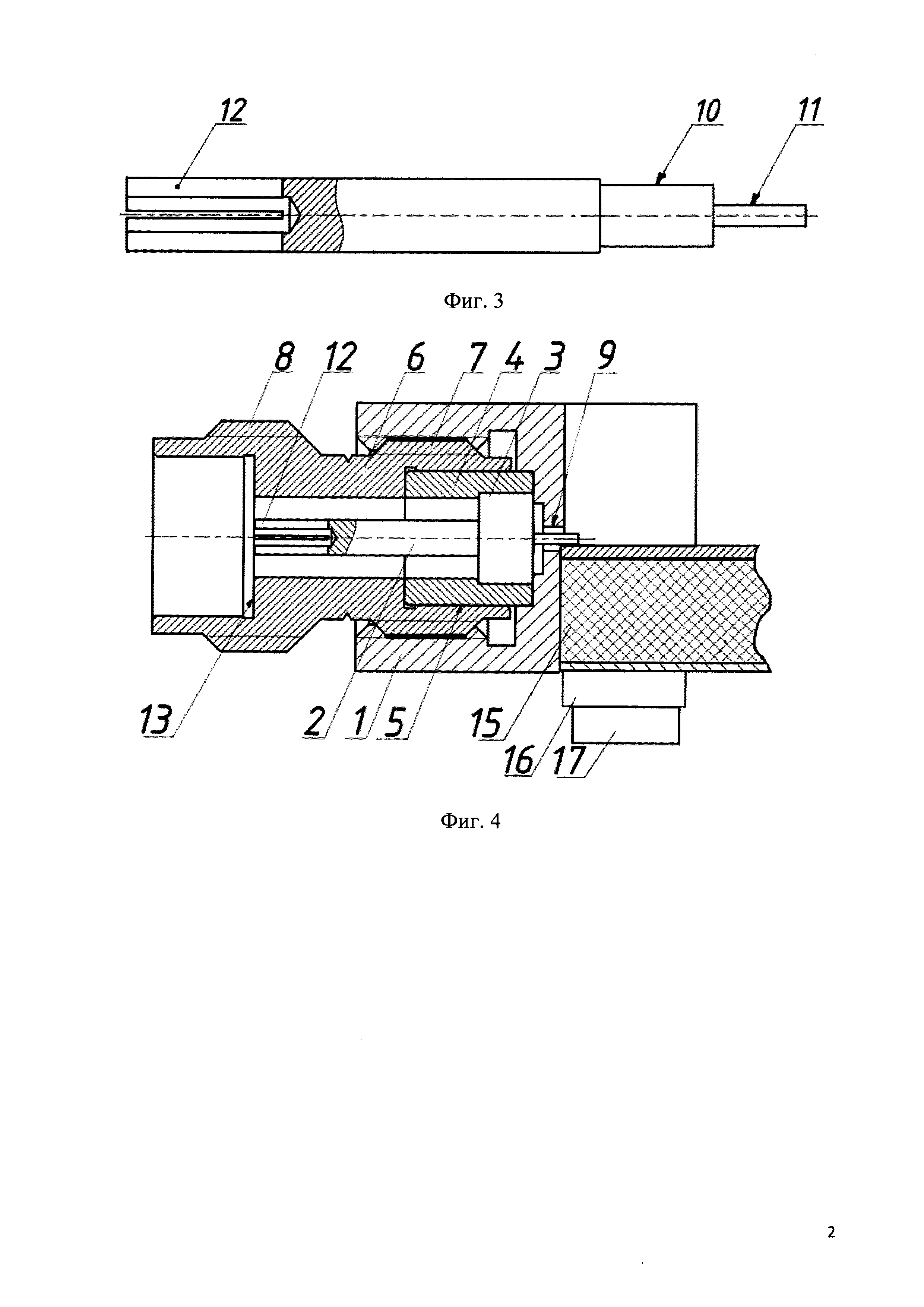
[12]

На фиг. 1 изображен вид сверху коаксиально-микрополоскового перехода, на фиг. 2 показан продольный разрез А-А устройства, на фиг. 3 показан центральный проводник с местным разрезом в области ламелей, на фиг. 4 изображен продольный разрез А-А устройства с печатной платой, на фиг. 5 показан общий вид устройства с печатной платой.

[13]

На фиг. 1-3 обозначено:

[14]

1 - металлический корпус;

[15]

2 - центральный проводник;

[16]

3 - диэлектрическая шайба;

[17]

4 - внутренняя втулка;

[18]

5 - центрующая поверхность внутренней втулки;

[19]

6 - внешняя втулка;

[20]

7 - внутренне резьбовое соединение внешней втулки;

[21]

8 - внешнее резьбовое соединение внешней втулки;

[22]

9 - коаксиальный трансформатор;

[23]

10 - первая ступень центрального проводника;

[24]

11 - вторая ступень центрального проводника;

[25]

12 - ламели центрального проводника;

[26]

13 - опорная плоскость соединителя;

[27]

14 - резьбовые отверстия;

[28]

15 - печатная плата:

[29]

16 - пластина;

[30]

17 - крепежные винты.

[31]

Осуществление изобретения

[32]

Изобретение представляет собой двухпортовое пассивное СВЧ-устройство, преобразующее волны типа Т коаксиальной линии в квази-Т волны микрополосковой линии, и наоборот, в широком диапазоне частот.

[33]

Коаксиально-микрополосковый переход соосной конструкции содержит металлический корпус 1 цилиндрической формы, покрытый олово-висмутом, внутренняя полость которого является внешним проводником коаксиальной части перехода. Один торец является коаксиальным соединителем тип I, другой торец присоединяется к печатной плате 15. В корпусе 1 соосно продольной оси выполнено отверстие со ступенчато изменяющимся диаметром. Центральный проводник 2, размещенный в корпусе 1, выполнен из бериллиевой бронзы, покрытой золотом. Один конец центрального проводника 2 выполнен ступенчатым и запрессован в диэлектрическую шайбу 3. Первая ступень 10 центрального проводника 2 является посадочной поверхностью для диэлектрической шайбы 3. Диэлектрическая шайба 3 запрессована во внутреннюю втулку 4 и выполняет роль опоры центрального проводника 2. Центрирующая внешняя втулка 6, вкрученная в корпус, прижимает и центрует цилиндрической поверхностью внутреннюю втулку 4. Вторая ступень 11 центрального проводника является внешним проводником воздушного коаксиального трансформатора 9, образованного ступенями полости корпуса 1 и центрального проводника 2.

[34]

Монтаж перехода на печатную плату осуществляется следующим образом.

[35]

Центральный проводник 2 коаксиально-микрополоскового перехода соединяется с токонесущим проводником микрополосковой линии печатной платы 15 с помощью пайки. Переход фиксируется на печатной плате 15 с помощью пластины 16, прижимаемой крепежными винтами 17, вкручиваемыми в резьбовые отверстия 14, которые выполнены в торце корпуса, перпендикулярно его продольной оси.

[36]

Заявляемый сверхширокополосный коаксиально-микрополосковый переход обеспечивает рабочий диапазон частот от 0 до 50 ГГц, уменьшение возвратных и проходных потерь, увеличение коэффициента передачи и также упрощение монтажа перехода на печатную плату.

[37]

Экспериментально были получены следующие частотные зависимости (два перехода, соединенных «напроход» микрополосковой линией копланарного типа длиной 2,5 см, выполненной на материале Rogers 4350 В):

[38]

- коэффициент передачи не хуже минус 4 дБ;

[39]

- возвратные потери в диапазоне частот от 0 до 40 ГГц

[40]

не более минус 24 дБ, в диапазоне частот 40-50 ГГц не более минус 20 дБ.

Как компенсировать расходы
на инновационную разработку
Похожие патенты