патент
№ RU 2657583
МПК E21B7/04

НАПРАВЛЯЮЩЕЕ УСТРОЙСТВО БУРОВОГО ИНСТРУМЕНТА ДЛЯ СЕЛЕКТИВНОГО ВХОДА В БОКОВОЙ СТВОЛ

Авторы:
Насыров Азат Леонардович
Номер заявки
2017128055
Дата подачи заявки
04.08.2017
Опубликовано
14.06.2018
Страна
RU
Как управлять
интеллектуальной собственностью
Чертежи 
2
Реферат

Изобретение относится к области бурения и капитального ремонта нефтяных и газовых скважин, а именно используется для селективного входа бурового инструмента в боковой ствол (БС) после извлечения клина-отклонителя из основного ствола. Направляющее устройство включает соединенный с колонной труб ствол с механизмом изменения направления движения с полым хвостовиком для соединения с буровым инструментом. Ствол соединен с механизмом изменения направления движения с возможностью регулируемой передачи вращения, а хвостовик оснащен отклонителем, гидравлически связанным с внутренней полостью хвостовика и через канал механизма изменения направления движения с колонной труб. Механизм изменения направления движения выполнен в виде верхнего поршня с полым штоком, шарнирно соединенным с переводником хвостовика, а отклонитель - в виде радиального канала с тарированным отверстием. Поршень механизма изменения направления движения подпружинен вверх и вставлен в ствол с возможностью ограниченного продольного перемещения вниз с выходом шарнирного соединения из ствола. Шток поршня и верхняя часть переводника снабжены снаружи продольными проточками или выборками под соответствующие внутренние плоскости или выступы ствола для передачи вращения. Ниже радиального канала в хвостовике установлен жиклер с проходным каналом. Поперечное сечение канала механизма изменения направления движения и канала жиклера выполнены такой площади, чтобы обеспечить при прокачке жидкости перепад давлений, необходимый, соответственно, для выдвижения поршня из ствола и отклонения хвостовика при помощи радиального канала и шарнирного соединения. Обеспечивается сокращение числа аварийных ситуаций, связанных с непопаданием бурового инструмента в БС. 5 ил.

Формула изобретения

Направляющее устройство бурового инструмента для селективного входа в боковой ствол, включающее соединенный с колонной труб ствол с механизмом изменения направления движения с полым хвостовиком для соединения с буровым инструментом, причем ствол соединен с механизмом изменения направления движения с возможностью регулируемой передачи вращения, а хвостовик оснащен отклонителем, гидравлически связанным с внутренней полостью хвостовика и через канал механизма изменения направления движения с колонной труб, отличающееся тем, что механизм изменения направления движения выполнен в виде верхнего поршня с полым штоком, шарнирно соединенным с переводником хвостовика, а отклонитель - в виде радиального канала с тарированным отверстием, при этом поршень механизма изменения направления движения подпружинен вверх и вставлен в ствол с возможностью ограниченного продольного перемещения вниз с выходом шарнирного соединения из ствола, причем шток поршня и верхняя часть переводника снабжены снаружи продольными проточками или выборками под соответствующие внутренние плоскости или выступы ствола для передачи вращения, ниже радиального канала в хвостовике установлен жиклер с проходным каналом, причем поперечное сечение канала механизма изменения направления движения и канала жиклера выполнены такой площади, чтобы обеспечить при прокачке жидкости перепад давлений, необходимый соответственно для выдвижения поршня из ствола и отклонения хвостовика при помощи радиального канала и шарнирного соединения.

Описание

[1]

Изобретение относится к области бурения и капитального ремонта нефтяных и газовых скважин, а именно используется для селективного входа бурового инструмента в боковой ствол (БС), позволяющего производить проработку, шаблонировку или бурение БС многозабойной или многоствольной скважины после извлечения клина-отклонителя из основного ствола.

[2]

Известен извлекаемый клин-отклонитель, предназначенный для бурения многоствольных скважин (пат. RU №2006561, МПК 5 Е21В 7/08, опубл. 30.01.1994 в бюл. №2), включающий корпус, состоящий из верхней и нижней частей, и отклоняющий клин. Узел закрепления устройства в скважине, установленный под отклоняющим клином между частями корпуса, узел герметизации с механизмом фиксации и узел спуска устройства в скважину. При этом механизм фиксации узла герметизации выполнен в виде разрезной втулки с выступом, связанной с нижней частью корпуса, и связанного с верхней его частью патрубка с буртиком и прорезью в стенке, причем нижняя часть корпуса имеет фиксатор, расположенный в прорези патрубка, узел спуска выполнен в виде связанного в исходном положении срезными штифтами с клином кожуха с косыми вырезами и карманами, а клин имеет пальцы для размещения в последних.

[3]

Недостатками данного клина-отклонителя являются:

[4]

- необходимость спуска колонны бурильных труб и геофизических приборов для ориентированного отклонения клина-отклонителя и его закрепления в скважине, приводящего к большим материальным и временным затратам;

[5]

- отсутствие конструктивных элементов фиксации без упора на забой и элементов индивидуальной ориентации относительно уже пробуренного БС, что приводит к невозможности закрепления клина-отклонителя в скважине без перекрытия основного ствола и создания упора для его установки, например пакера, упорной пробки или цементного моста, которые необходимо разбуривать после извлечения клина-отклонителя из основного ствола, и к большим трудностям с повторной установкой извлекаемого клина-отклонителя с точной его установкой напротив «окна», для повторного входа в нужный БС многозабойной скважины, так как малейшие погрешности с ориентированием по азимуту и привязке по глубине перекрывают проходное сечение «окна» и не позволяют пройти буровому инструменту в БС, так как диаметр этого инструмента равен диаметру БС.

[6]

Известно «Устройство для многозабойного вскрытия продуктивных пластов одной скважиной» (пат. RU №2197593, МПК 7 Е21В 7/08, опубл. 27.01.2003 в бюл. №3), включающее корпус, жестко связанный с патрубком, оснащенным посадочным местом под извлекаемый клин и имеющий паз под шпонку, взаимодействующую с пазом патрубка, и переводник. Корпус выполнен в виде продольно-гофрированной трубы, заглушенной с нижней стороны, и установленным с другой стороны переводником, соединяющим его с патрубком и снабженным втулкой из легкоразбуриваемого материала для соединения с технологической колонной, а посадочное место патрубка выполнено в виде наклонной поверхности, переходящей в продольный паз под шпонку, установленную в посадочной втулке ориентирующего фиксатора, одна из поверхностей которой соответствует посадочной наклонной поверхности патрубка корпуса, а другая снабжена зубчатой поверхностью, взаимодействующей с зубчатой поверхностью опорной втулки, жестко закрепленной на валу ориентирующего фиксатора, причем посадочная втулка выполнена с возможностью поворота на валу фиксатора и фиксацией в зубчатом соединении с опорной втулкой посредством зажимной втулки, имеющей резьбовое соединение с валом ориентирующего фиксатора, а извлекаемый клин выполнен с возможностью регулирования глубины установки в скважине посредством сменного удлинителя, размещенного между фиксатором и извлекаемым клином.

[7]

Недостатками данного устройства являются:

[8]

- необходимость спуска колонны бурильных труб и геофизических приборов для ориентированного отклонения клина-отклонителя и его закрепления в скважине, приводящего к большим материальным и временным затратам;

[9]

- наличие неизвлекаемого якоря, который перекрывает основной ствол скважины;

[10]

- сложность конструкции и, как следствие, высокие материальные затраты на изготовление устройства.

[11]

Известен гидравлический отклонитель (пат. RU №2311522, МПК Е21В 7/08, опубл. 27.11.2007 в бюл. №33), включающий клин-отклонитель с наклонной рабочей поверхностью, выполненной в виде желоба, узел опоры, включающий цилиндрический полый корпус с окнами для плашек, расположенный в упомянутом полом корпусе распорный элемент с наклонными поверхностями, на которых с возможностью перемещения размещены плашки, имеющие на лицевой поверхности зубья, а с тыльной стороны - паз, соответствующий Т-образному выступу на наклонной поверхности распорного элемента, гидравлическую камеру и гибкий шланг высокого давления для подачи жидкости в гидравлическую камеру, снабженный размещенными между клином-отклонителем и цилиндрическим полым корпусом узла опоры переходником и пакерами, при этом распорный элемент имеет направляющую часть, выполненную внизу в виде поршня и переходящую в распорную часть, выполненную в виде правильной трехгранной усеченной суженной книзу пирамиды, ребра которой образованы наклонной поверхностью и имеют выступы под плашки, зубья которых выполнены с наклоном вниз, а плашки радиально размещены в окнах, выполненных в нижней части цилиндрического полого корпуса узла опоры под углом 120° относительно друг друга, при этом в верхней части корпуса узла опоры выполнена кольцевая расточка и упор, образующие с цилиндрической поверхностью направляющей части распорного элемента гидравлическую камеру, которая связана с гибким шлангом посредством выполненных соответственно в переходнике и в направляющей части распорного элемента полостей, последняя из которых связана с гидравлической камерой через распределитель, выполненный в направляющей части в виде трех сквозных под углом 120° относительно друг друга отверстий, а корпус узла опоры установлен с возможностью перемещения вдоль направляющей части распорного элемента с одновременным изменением объема гидравлической камеры, на торце цилиндрического полого корпуса узла опоры надета заглушка, закрепленная резьбовым соединением с распорной частью распорного элемента, между внутренней поверхностью полого цилиндрического корпуса узла опоры и внешней поверхностью распорного элемента установлены уплотнители.

[12]

Недостатками данного устройства являются:

[13]

- отсутствие узла отклонения и прижатия к стенке эксплуатационной колонны клина обратной рабочей поверхностью, что не позволяет использовать устройство в наклонных и горизонтальных скважинах;

[14]

- возможность несрабатывания узла закрепления отклонителя в скважине, т.к. усилия, создаваемого на его корпус жидкостью, проходящей через распределитель, может быть недостаточно для перемещения корпуса вверх относительно направляюще-распорного элемента, поэтому для его установки необходимо создание упора в основном стволе, например пакера, упорной пробки или цементного моста, которые необходимо разбуривать после извлечения клина-отклонителя из основного ствола, что ведет к загрязнению скважины и снижению ее добычных возможностей;

[15]

- ненадежность закрепления отклонителя в скважине, т.к. при работе фрез и бурении БС возникают вибрации, и сцепление плашек со стенкой эксплуатационной колонны может ослабнуть, что приведет к провороту клина-отклонителя и потере «окна»;

[16]

- возможность раскрепления отклонителя в связи с тем, что после отсоединения гибкого шланга высокого давления в рабочей камере снизится давление, и нет фиксаторов, удерживающих плашки в рабочем положении, они могут раскрепиться;

[17]

- сложность конструкции и, как следствие, высокие материальные затраты на изготовление устройства.

[18]

Известны устройства для безориентированного бурения БС из необсаженных скважин роторным способом: центраторы, калибраторы, стабилизаторы и утяжеленные бурильные трубы, которые при различном расположении в бурильной компоновке позволяют с различной интенсивностью изменять угол направления бурения для зарезки и бурения БС (Бурение наклонных и горизонтальных скважин: справочник / А.Г. Калинин [и др.]; под ред. А.Г. Калинина. - М: Недра, 1997. - С. 239-277).

[19]

Недостатками этих устройств являются:

[20]

- невозможность отклонения бурильных компоновок, составленных в различном сочетании из этих устройств без упора на забой, так как при отклонении бурового инструмента используется упругий изгиб бурильных труб;

[21]

- неконтролируемость отклонения бурильного инструмента в процессе бурения БС, так как для его отклонения используется упругость бурильных труб, на которую влияет множество факторов, например падение или твердость пласта, скорость вращения компоновки, нагрузка на долото и конструкция шарошек и т.п.;

[22]

- невозможность направления бурового инструмента в БС после бурения основного ствола, так как бурильная компоновка для бурения БС свободно проходит по основному стволу, не встречая упора и не отклоняясь.

[23]

Известен винтовой забойный двигатель (ВЗД) (пат. RU №2324803, МПК Е21В 7/06, Е21В 4/02, Е21В 7/08, опубл. 20.05.2008 в бюл. №14), состоящий из рабочей секции, содержащей героторный механизм, включающий статор и ротор, шпиндель, содержащий в своем составе подшипниковый узел с радиальными и осевой опорами вращения, вал и корпус шпинделя, приводной вал и переводники, при этом корпус шпинделя в нижней части сопряжен с долотным переводником, а в верхней части корпуса шпинделя, на его внутренней поверхности, выполнена упругоэластичная обкладка, охватывающая статор, причем корпус статора совместно с упругоэластичной обкладкой корпуса шпинделя составляют радиальную опору вращения, при этом внизу статор соединен с валом шпинделя с закрепленным на нем подшипниковым узлом, а вверху с переводником для соединения с бурильной колонной, кроме того, ротор и долотный переводник кинематически соединены приводным валом, размещенным во внутренней полости вала шпинделя.

[24]

Недостатками данного устройства являются:

[25]

- угол отклонения шпиндельной части ВЗД небольшой и устанавливается на устье скважины. Для его изменения необходимо каждый раз извлекать бурильную компоновку из скважины, что увеличивает время бурения многозабойных и многоствольных скважин;

[26]

- габаритные размеры ВЗД после установки угла отклонения шпиндельной части и соединения с буровым инструментом (долотом, калибратором, фрезой и т.п.) меньше диаметра основного ствола скважины, поэтому не позволяют ВЗД направить буровой инструмент в пробуренный БС, компоновка скользит по основному стволу и не направляет буровой инструмент в БС, поэтому для ввода бурового инструмента в БС необходимо использовать клин-отклонитель, что увеличивает затраты времени и материалов на строительство многозабойных скважин;

[27]

- центраторы, установленные на верхнем переводнике и на долотном переводнике внизу устройства, увеличивают габаритные размеры ВЗД и уменьшают угол отклонения шпиндельной части, что в свою очередь уменьшает угол отклонения бурового инструмента, соединенного с ВЗД, и вероятность его ввода в БС. Для ввода бурового инструмента в компоновке с ВЗД из основного ствола в БС требуется установка клина-отклонителя.

[28]

Известна шарнирная муфта (Бурение наклонных, горизонтальных и многозабойных скважин. / А.С. Повалихин [и др.]; под общей ред. д.т.н., проф. А.Г. Калинина. - М.: ЦентрЛитНефтеГаз, 2011. - С. 379-382), состоящая из верхнего и нижнего переводников для соединения ротора ВЗД с долотом соответственно и корпуса, в котором установлен шаровой шарнир с опорной пятой, при этом корпус соединен с верхним переводником кулачковой муфтой посредством шпонки.

[29]

Недостатками данного устройства являются:

[30]

- отсутствие механизма принудительного изменения угла отклонения бурового инструмента относительно оси бурильной компоновки (узла отклонения) для селективного ввода бурового инструмента в БС, отклонение бурового инструмента происходит под действием упора его о забой скважины;

[31]

- отсутствие конструктивных элементов фиксации подвижных частей по оси устройства при движении бурильного инструмента в БС, что может привести к забуриванию нового ствола и аварийной ситуации;

[32]

- наличие сложно изготавливаемых и дорогостоящих в изготовлении сопрягаемых сферических поверхностей, сложность их герметизации и, как следствие, высокая стоимость устройства.

[33]

Известен управляемый роторный инструмент (пат. RU №2435015, МПК Е21В 7/06, Е21В 44/00, опубл. 27.11.2011 в бюл. №33), встраиваемый в буровое устройство для корректировки направления бурения БС в режиме реального времени по командам с земли, состоящий из внешнего трубчатого корпуса, по меньшей мере одного управляемого толкателя, подвижно закрепленного на корпусе для перемещения между выдвинутым и убранным положениями, трубчатого вала, смонтированного внутри корпуса и выполненного с возможностью присоединения к бурильной колонне для передачи вращающего усилия к буровому долоту, при этом вал образует канал для прохождения бурового раствора к буровому долоту, камеру давления, образованную между валом и корпусом, соединяющуюся по меньшей мере с одним упомянутым толкателем для осуществления управления его выдвижением.

[34]

Недостатками этого инструмента являются:

[35]

- недостаточная величина выдвижения управляемого толкателя для направления бурового инструмента в БС, так как для гарантированного захода бурового инструмента в БС его необходимо сместить от оси устройства не менее чем на двойную величину диаметра БС, а толкатель смещает долото для бурения основного ствола только на несколько миллиметров от его оси, основное отклонение долота осуществляется за счет упругого изгиба бурильных труб при упоре долота в забой скважины. Бурение, проработка и шаблонировка БС многозабойной или многоствольной скважины осуществляется буровым инструментом меньшего диаметра, поэтому габаритные размеры таких компоновок с полностью выдвинутыми толкателями меньше диаметра основного ствола, и бурильные компоновки свободно проходят по основному стволу, не встречая упора и не отклоняясь. Для ввода бурового инструмента в компоновке с роторными управляемыми системами в БС требуется установка клина-отклонителя;

[36]

- сложность конструкции и, как следствие, высокая стоимость изготовления инструмента, в эксплуатации требующая присутствия команды высококвалифицированных специалистов на скважине, что увеличивает стоимость строительства многозабойных скважин.

[37]

Наиболее близким по технической сущности является «Направляющее устройство для адресного ввода технологического инструмента в боковой ствол скважины в процессе ее эксплуатации» (пат. RU №2302510, МПК Е21В 23/03, опубл. 10.07.2007 в бюл. №19), включающее транспортирующий орган с механизмом изменения направления движения. При этом транспортирующий орган с механизмом изменения направления движения состоит из ствола, на котором при помощи втулочной гайки подвешен шатун с хвостовиком, к стволу по резьбе присоединен вращатель шатуна, имеющий шлицевые выступы и кольцевую проточку, между торцом ствола и шлицевыми выступами вращателя шатуна установлена опорная шайба, а в кольцевой проточке вращателя шатуна установлены пружинные элементы, которые находятся в постоянном контакте с хвостовиком шатуна, шатун посредством промежуточного переводника соединен с плашечно-клапанным узлом, в корпусе которого размещена втулка с вмонтированным узлом фиксации попадания технологического инструмента (бурового инструмента) в БС, втулка зафиксирована в корпусе плашечно-клапанного узла срезным штифтом, втулка оканчивается перегородкой с отверстиями и закрепленной на перегородке пробкой с фиксатором, а узел фиксации состоит из корпуса, на наклонной поверхности которого срезным штифтом и фиксатором закреплена плашка, при этом корпус плашечно-клапанного узла и втулка имеют совмещенное отверстие.

[38]

Недостатками данного устройства являются:

[39]

- невозможность передачи крутящего момента от колонны бурильных труб к технологическому инструменту (буровому инструменту), так как пружины удерживают хвостовик шатуна от вращения только за счет сил трения, в скважинных условиях, когда через устройство прокачиваются промывочные жидкости, снижающие коэффициент трения, пружины просто будут проскальзывать по хвостовику шатуна, не передавая ему крутящий момент;

[40]

- низкая функциональность устройства, связанная с невозможностью производить проработку, шаблонировку или бурение БС многозабойной скважины, когда БС многозабойной скважины забуриваются из необсаженной части основного ствола. В этом случае переходный участок между основным и БС не имеет четкой границы, как в случае вырезания «окна» в стенке обсадной колонны и забуривания БС из обсадной колонны основного ствола, и плашечный узел узла фиксации попадания технологического инструмента в БС, не встречая достаточного сопротивления, не сдвинется вверх и не откроет центральный промывочный канал в нижней перегородке, и промывочная жидкость не будет поступать в технологический инструмент и на забой БС;

[41]

- наличие сложно изготавливаемых и дорогостоящих в изготовлении сопрягаемых сферических поверхностей, шлицевого соединения деталей, сложность их герметизации и, как следствие, высокая стоимость устройства.

[42]

Техническими задачами предлагаемого изобретения являются создание простой надежной конструкции направляющего устройства бурового инструмента для селективного входа в БС с гидравлическим отклонением, позволяющего производить проработку, шаблонировку или бурение БС многозабойной скважины после извлечения клина-отклонителя из основного ствола, расширение функциональных возможностей направляющего устройства, позволяющего вводить буровой инструмент в БС многозабойных скважин, пробуренных из необсаженной части основного ствола, что позволит сократить число аварийных ситуаций, связанных с непопаданием бурового инструмента в БС, и в конечном счете снизит общие время и стоимость строительства многозабойных и многоствольных скважин.

[43]

Технические задачи решаются направляющим устройством бурового инструмента для селективного входа в боковой ствол, включающим соединенный с колонной труб ствол с механизмом изменения направления движения с полым хвостовиком для соединения с буровым инструментом, причем ствол соединен с механизмом изменения направления движения с возможностью регулируемой передачи вращения, а хвостовик оснащен отклонителем, гидравлически связанным с внутренней полостью хвостовика и через канал механизма изменения направления движения с колонной труб.

[44]

Новым является то, что механизм изменения направления движения выполнен в виде верхнего поршня с полым штоком, шарнирно соединенным с переводником хвостовика, а отклонитель - в виде радиального канала с тарированным отверстием, при этом поршень механизма изменения направления движения подпружинен вверх и вставлен в ствол с возможностью ограниченного продольного перемещения вниз с выходом шарнирного соединения из ствола, причем шток поршня и верхняя часть переводника снабжены снаружи продольными проточками или выборками под соответствующие внутренние плоскости или выступы ствола для передачи вращения, ниже радиального канала в хвостовике установлен жиклер с проходным каналом, причем поперечное сечение канала механизма изменения направления движения и канала жиклера выполнены такой площади, чтобы обеспечить при прокачке жидкости перепад давлений, необходимый соответственно для выдвижения поршня из ствола и отклонения хвостовика при помощи радиального канала и шарнирного соединения.

[45]

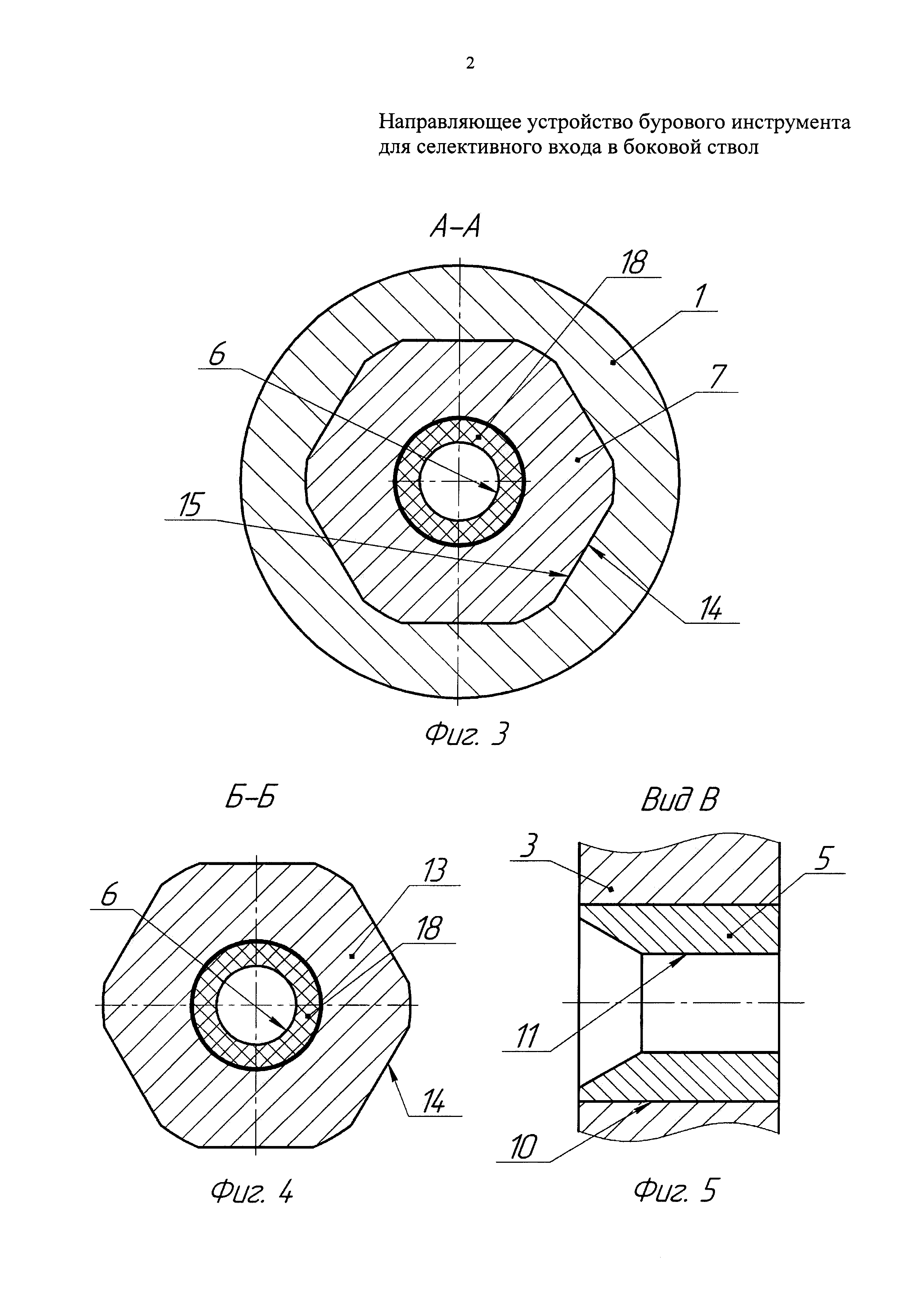
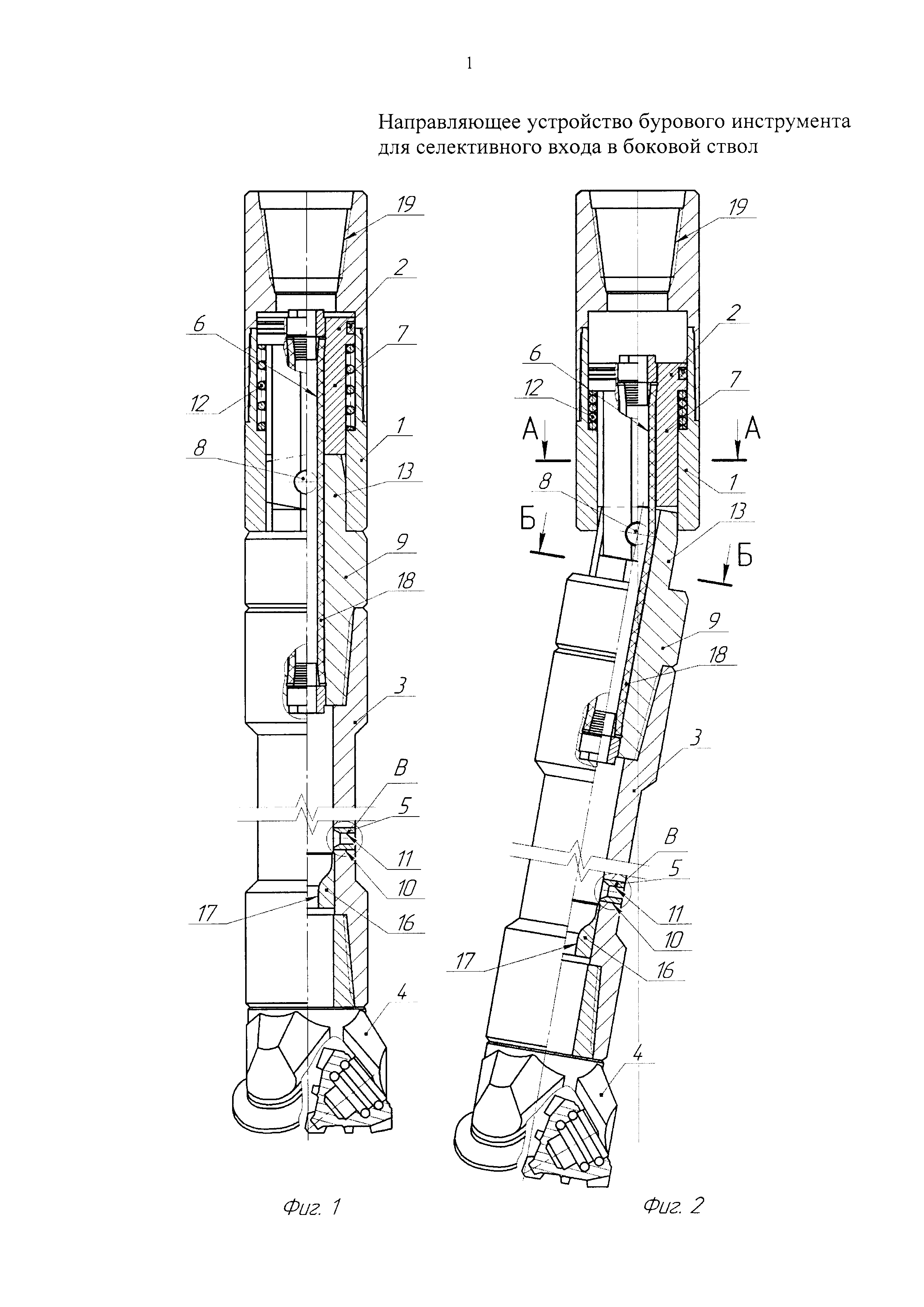
На фиг. 1 показан общий вид устройства с продольным разрезом в транспортном положении; на фиг. 2 - общий вид устройства с продольным разрезом в процессе отклонения и входа в БС; на фиг. 3 - сечение А-А фиг. 2; на фиг. 4 - сечение Б-Б фиг. 2, на фиг. 5 - вид В фиг. 1.

[46]

Направляющее устройство бурового инструмента для селективного входа в боковой ствол содержит ствол 1 (фиг. 1 и 2), соединенный сверху с колонной труб (не показаны) и с механизмом изменения направления движения 2 с полым хвостовиком 3 для соединения с буровым инструментом 4 (долотом, калибратором, фрезой и т.п.). Ствол 1 соединен с механизмом изменения направления движения 2 с возможностью регулируемой передачи вращения. Хвостовик 3 оснащен отклонителем 5 (фиг. 5), гидравлически связанным с внутренней полостью хвостовика 3 (фиг. 1) и через канал 6 механизма изменения направления движения 2 с колонной труб. При этом механизм изменения направления движения 2 выполнен в виде верхнего поршня 2 с полым штоком 7, соединенным с помощью шарнирного соединения 8 с переводником 9 хвостовика 3, а отклонитель 5 (фиг. 5) - в виде радиального канала 10 с тарированным отверстием 11, при этом поршень 2 поджат вверх, например, пружиной сжатия 12 (пружиной растяжения, резиновым элементом, газовой камерой и т.п. - не показаны) и вставлен в ствол 1 с возможностью ограниченного продольного перемещения вниз с выходом шарнирного соединения 8 (фиг. 2) из ствола 1. Шток 7 поршня 2 и верхняя часть 13 переводника 9 снабжены снаружи продольными проточками 14 (фиг. 3 и 4) или выборками (не показаны, которые могут быть самой разнообразной конфигурации) под соответствующие внутренние плоскости 15 или выступы (не показаны, которые могут быть самой разнообразной конфигурации и соответствовать проточкам 14 или выборкам соответственно) ствола 1 (фиг. 1) для передачи вращения. Ниже радиального канала 10 отклонителя 5 в хвостовике 3 установлен жиклер 16 с проходным каналом 17. Поперечное сечение канала 6 механизма изменения направления движения 2 и канала 6 жиклера 16 выполнены такой площади, чтобы обеспечить при прокачке жидкости с определенным расходом перепад давлений, необходимый для выдвижения поршня 2 (фиг. 2) с полым штоком 7 из ствола 1 и отклонения хвостовика 3 на заданный угол при помощи радиального канала 10 и шарнирного соединения 8. Для предотвращения загрязнения и сохранения работоспособности (подвижности) шарнирное соединение 8 снаружи может быть защищено, например, резиновым чехлом, гофрированным шлангом и т.п. (не показаны), а изнутри - рукавом 18.

[47]

Устройство работает следующим образом.

[48]

Устройство поднимают с мостков и устанавливают на столе ротора буровой установки (не показаны). С помощью резьбы 19 (фиг. 1) ствола 1 соединяют с колонной труб. Затем к хвостовику 3 присоединяют буровой инструмент 4 (долото, калибратор, фрезу и т.п.), необходимый для проведения определенной (запланированной) технологической операции в БС (не показан). Собранную компоновку на колонне труб спускают в интервал «окна» (не показано), вырезанного в стенке обсадной колонны или в стенке основного ствола, когда БС многозабойной скважины забуривается из необсаженной части основного ствола. Расстояние определяют суммированием длин труб в колонне или геофизическим оборудованием (не показано). Поршень 2 поджат пружиной 12 в крайнее верхнее положение до упора переводника 9 хвостовика 3 в ствол 1 устройства, поэтому все детали находятся в зафиксированном по оси устройства положении. Устройство свободно движется по основному стволу (не показан) скважины. В интервале «окна» включают буровой насос на устье скважины (не показаны) с определенным расходом жидкости и создают давление в колонне труб. Под действием перепада давлений жидкости благодаря каналу 6 верхний поршень 2 (фиг. 2) сжимает пружину 12 и выдвигает полый шток 7 до упора вниз так, чтобы шарнирное соединение 8 вышло за нижний край ствола 1 и освободилось. При этом часть жидкости, проходя по каналу 6, создает перепад давлений благодаря жиклеру 16 с отверстием 17 между внутренним и наружным пространством хвостовика 3, обеспечивая создание реактивной силы струи жидкости, вытекающей из радиального канала 10 с тарированным отверстием 11 отклонителя 5. В результате хвостовик 3 с буровым инструментом 4 поворачивается в шарнирном соединении 8 на угол, достаточный для ввода бурового инструмента 4 в БС. Устройство с колонной труб прижимается к стенке основного ствола, в котором вырезано «окно», способствуя полному вхождению бурового инструмента 4 в БС. Для проверки попадания устройства в БС, не сбрасывая давления жидкости, производят медленный проворот колонны труб ротором вокруг оси. При движении бурового инструмента по стенке основного ствола крутящий момент на роторе будет небольшим за счет трения его о стенку скважины. Увеличение крутящего момента на роторе будет являться показателем того, что хвостовик 3 с буровым инструментом 4 отклонился от оси устройства и вошел в БС, стенка которого создает препятствие вращению устройства с колонной труб, в этот момент ротор останавливают. Затем останавливают буровой насос, при этом верхний поршень 2 с полым штоком 7 шарнирным соединением 8, а также переводник 9 со своей верхней частью 13 и хвостовик 2 под действием пружины 12 и реакции стенки БС поднимаются вверх и фиксируют подвижные детали по оси устройства, переводя его в транспортное положение (фиг. 1). В таком положении продольные проточки 14 (фиг. 3 и 4) или выборки взаимодействуют с соответствующими внутренними плоскостями 15 или выступами ствола 1 (фиг. 1) для передачи вращения. Устройство движется по БС, пока не достигнет зоны осложнения (зоны осыпания, налипшей на стенки глинистой корки и т.п.), когда буровой инструмент 4 упрется в препятствие. Включают буровой насос и ротор буровой установки, передавая вращение буровому инструменту 4 и поддерживая небольшую осевую нагрузку, которая не позволяет верхнему поршню 2 преодолеть усилие пружины 12 и вывести шарнирное соединение 8 за нижний край ствола 1. При этом все подвижные детали - 2, 7, 8, 13, 9 и 3 - устройства находятся в зафиксированном по его оси положении и не отклоняются от оси БС. Прорабатывают, шаблонируют или при необходимости углубляют БС до свободного прохождения бурового инструмента 4, не опасаясь зарезки нового ствола в БС. При этом струя жидкости, вытекающая из радиального канала 10 с тарированным отверстием 11 отклонителя 5, выполненным в хвостовике 3 дополнительно к буровому инструменту, разрушает буровой шлам, лежащий на нижней стенке горизонтальной части БС, подхватывает и выносит его на поверхность, улучшая очистку горизонтальной части БС многозабойной скважины.

[49]

Предлагаемое направляющее устройство бурового инструмента для селективного входа в БС многозабойной скважины имеет простую надежную конструкцию направляющего устройства и позволяет производить проработку, шаблонировку или бурение БС многозабойной скважины после извлечения клина-отклонителя из основного ствола, вводить буровой инструмент в БС многозабойных скважин, пробуренных из необсаженной части основного ствола, что позволяет сократить число аварийных ситуаций, связанных с непопаданием бурового инструмента в БС, и в конечном счете снизит общие время и стоимость строительства многозабойных и многоствольных скважин.

Как компенсировать расходы
на инновационную разработку
Похожие патенты