патент
№ RU 2693941
МПК F04B47/02

Скважинная штанговая насосная установка

Авторы:
Абсалямов Руслан Шамилевич
Номер заявки
2018121022
Дата подачи заявки
06.06.2018
Опубликовано
08.07.2019
Страна
RU
Как управлять
интеллектуальной собственностью
Чертежи 
2
Реферат

Изобретение относится к нефтегазодобывающей промышленности и предназначено для использования в штанговых насосных установках для поворота колонны насосных штанг при одновременно-раздельной эксплуатации скважин. Скважинная штанговая насосная установка содержит станок-качалку, балансир, головку балансира, состоящую из двух щек и дуги с выпуклыми цилиндрическими стенками. Также устройство содержит колонну штанг, подвешенную к головке балансира посредством троса, и штанговращатель с рукояткой, к свободному концу которой соединен нижний конец гибкого элемента. На выпуклой цилиндрической стенке одной щеки, соосно оси поворота головки балансира, выполнена кольцевая канавка. Она имеет форму полукруга в поперечном сечении. При этом гибкий элемент лежит в кольцевой канавке и верхним концом соединен к верхнему концу щеки, в которой выполнена эта канавка. Уменьшаются габаритные размеры. 5 ил.

Формула изобретения

Скважинная штанговая насосная установка, содержащая станок-качалку, балансир, головку балансира, состоящую из двух щек и дуги с выпуклыми цилиндрическими стенками, колонну штанг, подвешенную к головке балансира посредством троса, и штанговращатель с рукояткой, к свободному концу которой соединен нижний конец гибкого элемента, отличающаяся тем, что в выпуклой цилиндрической стенке одной щеки, соосно оси поворота головки балансира, выполнена кольцевая канавка, имеющая форму полукруга в поперечном сечении, при этом гибкий элемент лежит в кольцевой канавке и верхним концом соединен к верхнему концу щеки, в которой выполнена эта канавка.

Описание

[1]

Изобретение относится к нефтегазодобывающей промышленности и предназначено для использования в штанговых насосных установках для поворота колонны насосных штанг при одновременно-раздельной эксплуатации скважин.

[2]

Известна штанговая скважинная насосная установка (Авт. свид. SU 1767224, МКИ F04B 47/00, опубл. 07.10.1992), содержащая станок-качалку с балансиром, колонну штанг, подвешенную к балансиру посредством троса, и штанговращатель. Штанговращатель располагается ниже устьевого уплотнения колонны штанг и содержит ведомую шестерню, жестко связанную с колонной насосно-компрессорных труб, и ведущую шестерню, установленную на колонне штанг с возможностью вращательного и поступательного движения относительно ее продольной оси. Расположение штанговращателя ниже устьевого уплотнения колонны штанг усложняет обслуживание этого уплотнения.

[3]

Наиболее близким к заявляемому является скважинная штанговая насосная установка (Патент RU 2175080, МПК F04B 47/02, опубл. 20.10.2001), содержащая станок-качалку, балансир, головку балансира, состоящую из двух щек и дуги с выпуклыми цилиндрическими стенками, колонну штанг, подвешенную к головке балансира посредством троса, и штанговращатель с рукояткой, к свободному концу которой соединен нижний конец гибкого элемента. В этой установке кронштейн для соединения гибкого элемента выступает от балансира на значительное расстояние. Из-за этого прототип имеет ограниченный диапазон применения, так как такую установку невозможно применять при одновременно-раздельной эксплуатации скважин.

[4]

Задачей изобретения является уменьшение габаритных размеров.

[5]

Поставленная задача решается тем, что в скважинной штанговой насосной установке, содержащей станок-качалку, балансир, головку балансира, состоящую из двух щек и дуги с выпуклыми цилиндрическими стенками, колонну штанг, подвешенную к головке балансира посредством троса, и штанговращатель с рукояткой, к свободному концу которой соединен нижний конец гибкого элемента, новым является то, что в выпуклой цилиндрической стенке одной щеки, соосно оси поворота головки балансира, выполнена кольцевая канавка, имеющая форму полукруга в поперечном сечении, при этом гибкий элемент лежит в кольцевой канавке и верхним концом соединен к верхнему концу щеки, в которой выполнена эта канавка.

[6]

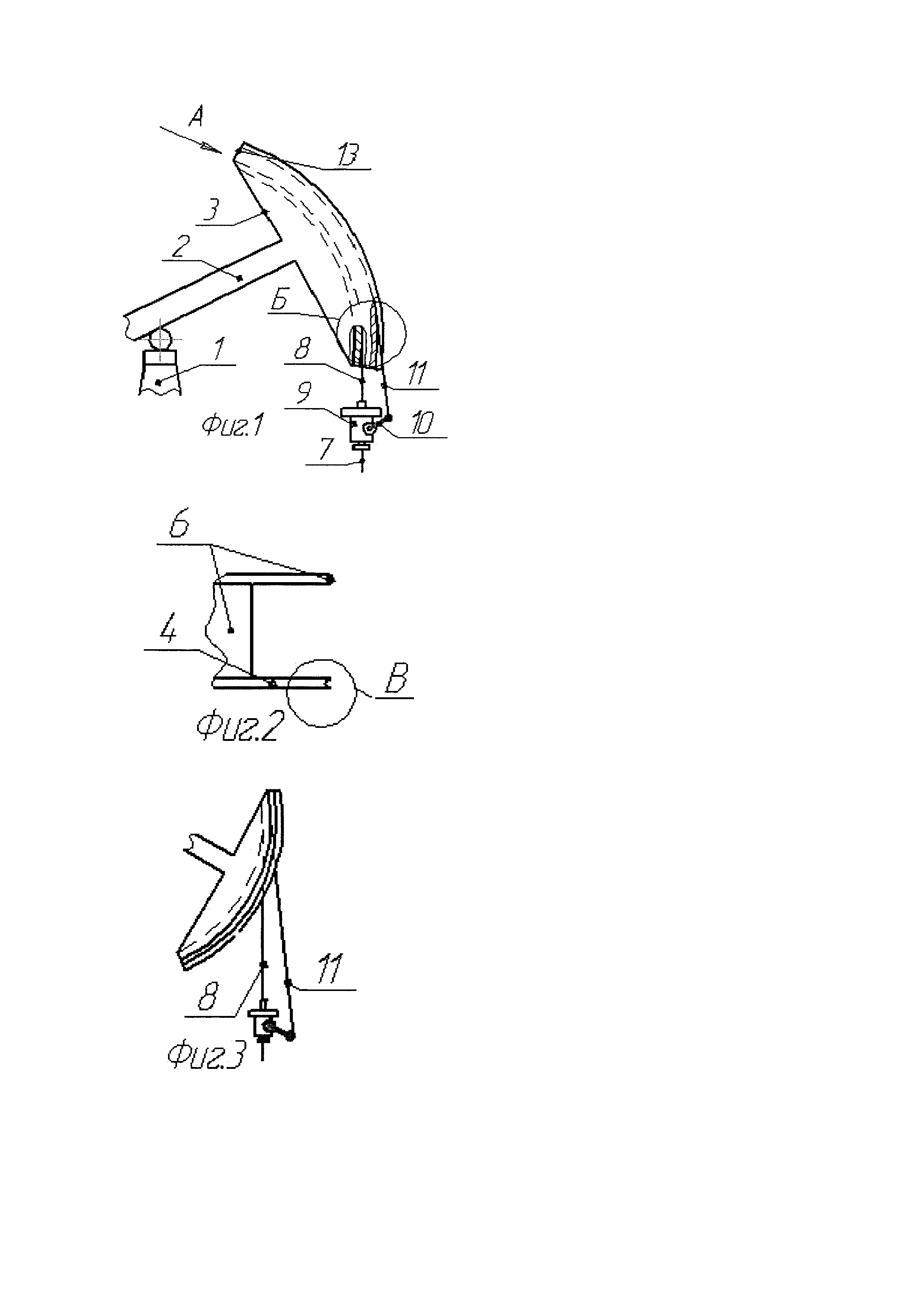
На фиг. 1 изображена скважинная штанговая насосная установка с частичным разрезом головки балансира; на фиг. 2 изображен вид А фиг. 1 без троса и гибкого элемента; на фиг. 3 - вид на установку в нижнем положении балансира; на фиг. 4 - вид Б фиг. 1; на фиг. 5 - вид В фиг. 2 вместе с гибким элементом.

[7]

Скважинная штанговая насосная установка содержит станок-качалку 1, балансир 2, головку 3 балансира, состоящую из двух щек 4 и дуги 5 с выпуклыми цилиндрическими стенками 6. Также устройство содержит колонну штанг 7, подвешенную к головке 3 балансира посредством троса 8, и штанговращатель 9 с рукояткой 10, к свободному концу которой соединен нижний конец гибкого элемента 11. На выпуклой цилиндрической стенке 6 одной щеки 4, соосно оси поворота головки 3 балансира, выполнена кольцевая канавка 12. Она имеет форму полукруга в поперечном сечении. При такой форме канавки 12, при повороте головки 3 балансира, гибкий элемент 11 не трется о стенку этой канавки и не истирается. Гибкий элемент 11 лежит в кольцевой канавке 12 и верхним концом соединен к верхнему концу щеки 4, в которой выполнена эта канавка.

[8]

Принцип работы скважинной штанговой насосной установки заключается в следующем. При ходе балансира 2 вверх гибкий элемент 11 перемещается с большей скоростью, чем трос 8, так как радиус R дна кольцевой канавки 12 больше радиуса r выпуклой цилиндрической стенки 6 дуги 5. Из-за такой разности радиусов скорость троса 8 меньше скорости гибкого элемента 11. Поэтому гибкий элемент 11 тянет вверх рукоятку 10, движение которой в штанговращателе 9 преобразовывается в плавный поворот колонны штанг 7 при ходе балансира 2 вверх. При ходе балансира 2 вниз рукоятка 10 совершает холостой ход и штанговращатель 9 не поворачивает колонну штанг 7.

[9]

В предлагаемой скважинной штанговой насосной установке отсутствуют детали, выступающие в сторону от головки балансира. В прототипе кронштейн для соединения гибкого элемента выступает в сторону от выпуклых стенок щеки головки балансира на значительное расстояние. Из сравнительного анализа вытекает, что в предлагаемой установке, по сравнению с прототипом, уменьшаются габаритные размеры. Благодаря этому обеспечивается возможность использования предлагаемого устройства при одновременно-раздельной эксплуатации скважин.

Как компенсировать расходы
на инновационную разработку
Похожие патенты