Изобретение относится к области ядерной энергетики и касается, в частности, вопросов обращения с жидкими радиоактивными отходами, образующимися при работе атомных электростанций. Устройство для окислительной деструкции металлоорганических комплексов жидких радиоактивных отходов содержит фотохимический реактор с импульсной ксеноновой лампой и блок питания с накопительным конденсатором, высоковольтным выпрямителем, блоком инициирования и блоком управления. Импульсная ксеноновая лампа подключена к блоку питания так, что импульсная ксеноновая лампа и накопительный конденсатор образуют разрядный контур. Колба импульсной ксеноновой лампы выполнена в виде шара или иного тела вращения. В импульсной ксеноновой лампе наименьший внутренний радиус колбы превышает расстояние между электродами не менее чем в 5 раз, а параметры импульсной ксеноновой лампы и разрядного контура связаны расчетным соотношением. Изобретение позволяет повысить эффективность и производительность процесса очистки жидких радиоактивных отходов от металлоорганических комплексов путем интенсификации УФ обработки. 2 ил.
Устройство для окислительной деструкции металлоорганических комплексов жидких радиоактивных отходов, содержащее фотохимический реактор с импульсной ксеноновой лампой и блок питания с накопительным конденсатором, высоковольтным выпрямителем, блоком инициирования и блоком управления, при этом импульсная ксеноновая лампа подключена к блоку питания так, что импульсная ксеноновая лампа и накопительный конденсатор образуют разрядный контур, отличающееся тем, что колба импульсной ксеноновой лампы выполнена в виде шара или иного тела вращения, при этом в импульсной ксеноновой лампе наименьший внутренний радиус колбы превышает расстояние между электродами не менее чем в 5 раз, а параметры импульсной ксеноновой лампы и разрядного контура связаны соотношением
где
С - емкость накопительного конденсатора, Ф;
U - напряжение заряда накопительного конденсатора, В;
τm - время достижения максимума разрядного тока, с;
l - длина межэлектродного промежутка лампы, м;
А=5·10-3 - коэффициент.
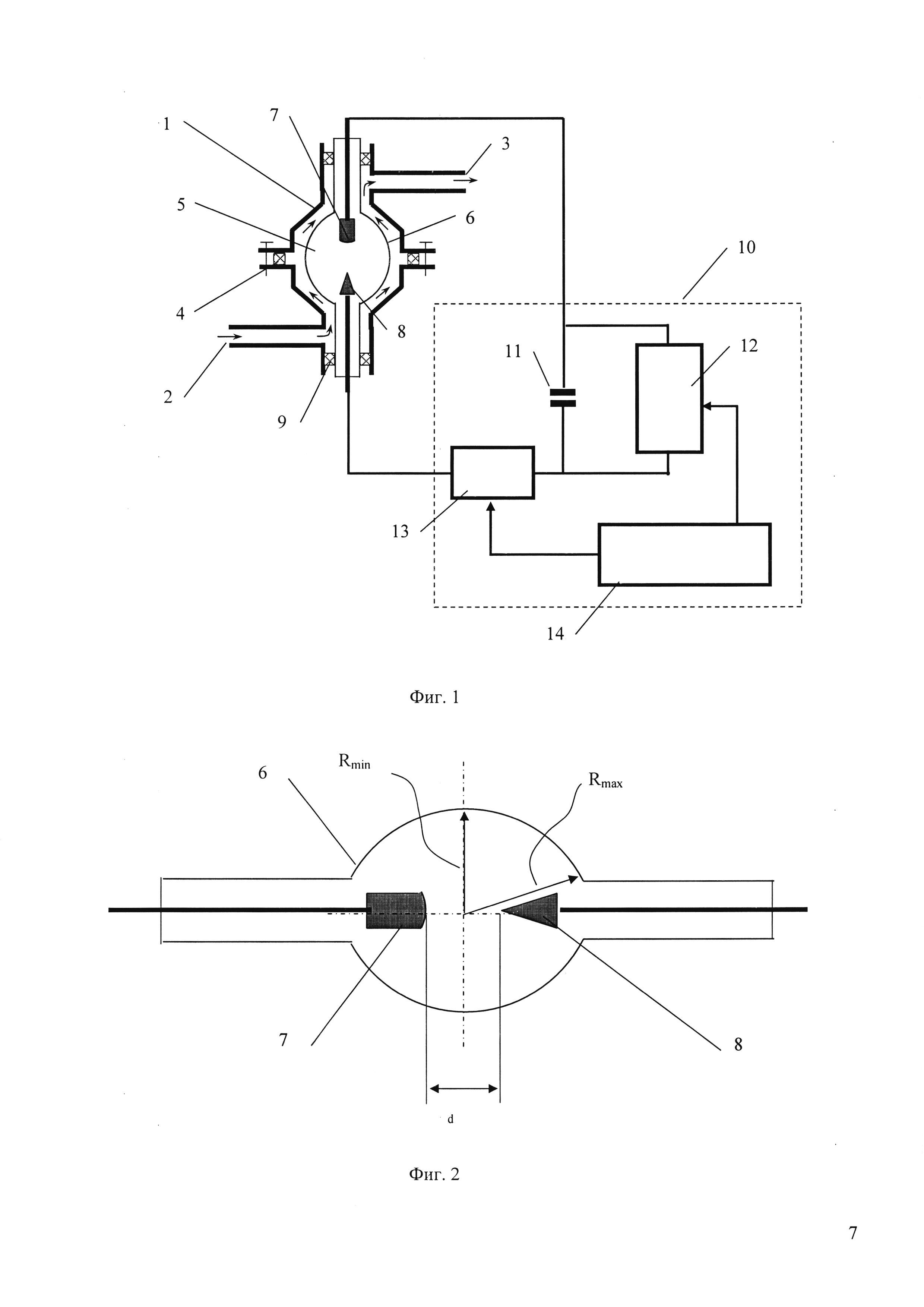
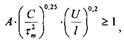
Изобретение относится к области ядерной энергетики и касается, в частности, вопросов обращения с жидкими радиоактивными отходами (ЖРО), образующимися при работе атомных электростанций (АЭС). Изобретение может быть использовано для обработки загрязненных радиоактивными элементами растворов при дезактивации оборудования, при работе спецпрачечных, при переработке кубовых остатков (КО) выпарных аппаратов установок переработки трапных вод АЭС. В ходе эксплуатации АЭС образуется значительное количество жидких радиоактивных сред: протечки (трапные воды), отработавшие дезактивационные растворы, воды спецпрачечной, вода санпропускников, регенерационные растворы ионообменных фильтров систем спецводоочисток и др., которые собираются, усредняются и концентрируются выпариванием. ЖРО гомогенного состава АЭС загрязнены продуктами деления, в основном134Cs,137Cs, а также активированными продуктами коррозии, в основном60Co. Образовавшиеся при упаривании кубовые остатки направляются на временное хранение в железобетонные облицованные емкости. При хранении малорастворимые соединения, захватывая часть радионуклидов, выпадают в осадок и собираются на дне в виде шлама, а осветленная часть КО постепенно декантируется и перерабатывается. Локализация, концентрирование и переработка таких отходов значительно упрощаются после удаления или разрушения содержащихся в них комплексонов (этилендиаминтетрауксусная кислота (ЭДТА), щавелевая, лимонная кислоты и др.), синтетических поверхностно-активных веществ (СПАВ), которые связывают радионуклиды и затрудняют их выделение традиционными физико-химическими методами. В последние годы получило развитие направление переработки КО путем выделения из них радионуклидов в небольшом объеме шламов и ионоселективных сорбентов и получения нерадиоактивных или низкорадиоактивных солей, относящихся к категории ОНАО (особонизкорадиоактивные отходы), размещение которых возможно на полигоне промышленных отходов или в простых ангарах. Радиоактивные вещества в растворах кубового остатка ЖРО находятся в виде простых и комплексных ионов, а также коллоидных частиц. Основными радионуклидами являются137Cs,134Cs,60Co. Изотопы цезия находятся в растворе в ионном виде. Изотоп60Co - в форме комплексов с соединениями, используемыми для дезактивации оборудования, такими как щавелевая кислота, полифосфаты и др. Поэтому для выделения этого радионуклида из раствора необходимо разрушить эти комплексы. Для осуществления окислительной деструкции металлоорганических комплексов в современных условиях применяют озонирование или фотохимическое окисление путем воздействия ультрафиолетового (УФ) излучения в присутствии перекиси водорода. Так, при осуществлении известного способа очистки кубовых остатков жидких радиоактивных отходов от радиоактивного кобальта и цезия по патенту RU 2467419 (МПК G21F 9/30, опубл. 20.11.2012) используется устройство для УФ облучения обрабатываемого раствора на основе ксеноновой лампы. Это известное устройство является аналогом предлагаемого технического решения. Недостатком известного устройства для фотохимической окислительной деструкции металлоорганических комплексов ЖРО является невысокая эффективность окислительной деструкции. Этот недостаток является следствием того, что в известном устройстве для инициирования фотохимических процессов используется жесткое УФ излучение, вырабатываемое ксеноновой эксимерной лампой. Излучение такой лампы обладает узкополосным (квазимонохроматическим) спектром и низкой интенсивностью, что обусловливает невысокую эффективность инициирования фотохимических реакций и очень ограниченное число возможных фотохимических реакций (реализуются лишь такие процессы, для которых энергия электронных связей между ионами в составе металлоорганических комплексов ЖРО совпадает или близка к энергии квантов генерируемого эксимерной лампой излучения). Известно также устройство для очистки и обеззараживания водных сред по патенту RU 2031850, которое может быть использовано для фотохимической окислительной деструкции растворов ЖРО и принято за прототип. Известное устройство выполнено с использованием ксеноновой лампы трубчатого типа, работающей в режиме повторяющихся импульсов излучения. Работа ксеноновой лампы в таком режиме характеризуется широким непрерывным спектром вырабатываемого УФ излучения и высокой его интенсивностью. Известное устройство содержит фотохимический реактор с импульсной ксеноновой лампой и блок питания с накопительным конденсатором, высоковольтным выпрямителем, блоком инициирования и блоком управления, при этом импульсная ксеноновая лампа подключена к блоку питания так, что импульсная ксеноновая лампа и накопительный конденсатор образуют разрядный контур. Известное устройство в значительной степени устраняет недостатки прототипа, а именно за счет повышении интенсивности УФ излучения в импульсе и широкого непрерывного спектра излучения повышается скорость фотохимических реакций и увеличивается их количество, что в результате приводит к повышению эффективности фотохимической деструкции растворов ЖРО. Однако известному устройству присущи свои недостатки. Так, интенсивность импульса излучения лампы трубчатого типа в спектральном диапазоне 200…300 нм не очень высока (1,7·103…3,5·103 Вт/см2, что соответствует яркостной температуре 8000…9000 К). Форсированием электрического режима работы такой лампы можно достичь яркостной температуры 10000…12000 К и даже более, однако в таких режимах лампа имеет низкий ресурс работы (что проявляется либо в очень быстрой деградации излучательных характеристик, либо в разрушении лампы), и в рассматриваемой области применения такие решения не могут быть использованы. Одной из главных причин ограничения излучательных характеристик и снижения кпд ламп трубчатого типа в таких режимах является уменьшение прозрачности кварцевой трубки из-за непосредственного воздействия высокотемпературной плазмы и ее коротковолнового излучения на стенку трубки, вызывающее испарение внутреннего поверхностного слоя кварцевой трубки и экранировку УФ излучения плазменного канала образовавшимися парами кварца. Т.о. ограниченные возможности импульсных трубчатых ксеноновых ламп обусловливают недостаточно высокую эффективность фотохимической деструкции металлоорганических комплексов ЖРО. Задача, решаемая настоящим изобретением, заключается в выведении из растворов ЖРО радионуклидов и активированных продуктов коррозии. Техническим результатом от использования предлагаемого технического решения является повышение эффективности и производительности процесса очистки ЖРО от металлоорганических комплексов путем интенсификации УФ обработки, приводящей к увеличению количества и скорости протекания фотохимических окислительных реакций. Указанный технический результат достигается тем, что колба импульсной ксеноновой лампы выполнена в виде шара или иного тела вращения, при этом в импульсной ксеноновой лампе наименьший внутренний радиус колбы превышает расстояние между электродами не менее чем в 5 раз, а параметры импульсной ксеноновой лампы и разрядного контура связаны соотношением где С - емкость накопительного конденсатора, Ф; U - напряжение заряда накопительного конденсатора, В; τm - время достижения максимума разрядного тока, с; l - длина межэлектродного промежутка лампы, м A=5·10-3 - коэффициент. Расчетное соотношение (1), полученное в результате экспериментальных исследований, связывает конструктивные параметры предлагаемого устройства, определяющие временные и энергетические характеристики электрического разряда в шаровой лампе, и является необходимым и достаточным условием генерации высокотемпературной плазмы ксенона с высокими излучательными характеристиками в УФ области спектра. Изобретение поясняется чертежами, где на фиг. 1 изображена упрощенная функциональная блок-схема устройства для окислительной деструкции металлоорганических комплексов жидких радиоактивных отходов, на фиг. 2 - увеличенное схематическое изображение импульсной ксеноновой лампы шаровой конструкции. Устройство содержит герметичный разъемный корпус 1, выполненный в виде тела вращения из материала, непрозрачного для УФ излучения, и снабженный входным 2 и выходным 3 отверстиями для пропускания обрабатываемой жидкости. Герметичность корпуса обеспечивается уплотнением 4 из деформируемого материала, например химически стойкой резины или фторопласта. Конструктивные элементы, обеспечивающие деформацию уплотняющих материалов (проточки и буртики под прокладки, стягивающие болты и пр.), стандартны и на чертеже не показаны. Возможно иное выполнение корпуса 1, например, в виде цилиндра. В корпусе продольно расположена импульсная ксеноновая лампа 5 в виде кварцевой колбы 6 с впаянными в концы колбы электродами: анодом 7 и катодом 8. Колба 6 выполнена в виде шара или иного тела, образованного вращением образующей вокруг оси (чаще всего такая колба имеет вид вытянутого сфероида) и заполнена инертным газом ксеноном при начальном давлении несколько атмосфер. Конструкция импульсной лампы шарового типа обеспечивает удаление стенки кварцевой колбы Rmin (фиг. 2) от середины межэлектродного промежутка на величину, превышающую межэлектродное расстояние d не менее чем в 5 раз. Герметичность корпуса 1 с установленной в нем импульсной ксеноновой лампой 5 обеспечивается уплотнениями 9. Корпус в сборе с импульсной ксеноновой лампой образуют фотохимический реактор. К электродам импульсной ксеноновой лампы 5 подключен блок питания 10, состоящий из накопительного конденсатор 11, высоковольтного выпрямителя 12, блока инициирования 13 и блока управления 14. Конденсатор 11 и импульсная ксеноновая лампа 5 соединены между собой так, что образуют разрядный контур с индуктивностью L. Высоковольтный выпрямитель 12 может быть реализован в различных вариантах, например по схеме AC/DC преобразователя, работающего на емкостную нагрузку. Блок инициирования 13 лампы 5 также может быть выполнен по-разному, например в виде быстродействующего сильноточного ключа (тиристора, транзистора и т.д.) или в виде импульсного повышающего трансформатора. Блок управления 14 обеспечивает согласованную и синхронизированную работу остальных компонентов блока питания в циклическом режиме «заряд-разряд». В конкретном примере выполнения устройства для окислительной деструкции металлоорганических комплексов жидких радиоактивных отходов технические параметры имеют следующие значения: емкость накопительного конденсатора - 1 мкФ, напряжение заряда - 4 кВ, индуктивность разрядного контура = 10 мкГн, расстояние между импульсной шаровой лампы электродами составляет 5…10 мм, а начальное давление ксенона в лампе - 5…10 атм. Работа устройства осуществляется следующим образом. На вход 2 корпуса 1 фотохимического реактора поступает раствор ЖРО. Оператор установки или соответствующая автоматика подает команду включения на блок управления 14, который запускает автоматический циклический режим заряда-разряда. Высоковольтный выпрямитель 12 заряжает накопительный конденсатор 11, при этом напряжение заряда контролируется блоком управления 14. При достижении заданного значения напряжения на конденсаторе 11 (определяется по срабатыванию соответствующим образом настроенного компаратора в блоке управления) высоковольтный выпрямитель 12 выключается, а конденсатор 11 оказывается заряженным до напряжения U. По команде блока управления 14 включается блок инициирования 13, который вырабатывает импульс поджига высокого напряжения (~20…30 кВ), прикладываемый к электродам 7 и 8 импульсной ксеноновой лампы 5. Межэлектродный промежуток лампы пробивается, и начинается разряд конденсатора 11 через лампу 10. Далее процессы заряда и разряда циклически повторяются до тех пор, пока не будут остановлены соответствующей командой. Максимальная частота повторения циклов «заряд-разряд» и, соответственно, импульсов излучения определяется временем заряда конденсатора 11 до напряжения U (мощностью зарядного устройства - высоковольтного выпрямителя 12) и может достигать 1000 Гц и более. Важно то, что в зависимости от программ, заложенных в память блока управления, и от управляющих команд оператора частота повторения импульсов излучения может меняться от 0 (одиночные импульсы) до максимальной. Разряд конденсатора в среде ксенона приводит к образованию высокотемпературной интенсивно излучающее плазмы. При соблюдении определенных взаимосвязей между конструктивными параметрами устройства, определенных соотношением (1), эффективная температура излучения плазмы превышает 15000 К, характер спектра излучения - непрерывный во всем диапазоне прозрачности кварцевой колбы 6 лампы 5 (по меньшей мере, от 165 до 2000 нм), при этом в спектре излучения превалирует УФ компонента излучения (более 50%), а интенсивность излучения в спектральном диапазоне 200…300 нм составляет не менее 3,7·104 Вт/см2, что, по крайней мере, на порядок превосходит аналогичную характеристику устройства-прототипа. Излучение лампы 5 попадает на протекающий в фотохимическом реакторе между кварцевой колбой 6 и внутренней стенкой корпуса 1 раствор ЖРО и инициирует в нем фотохимические реакции окисления. При этом благодаря высокой эффективной температуре излучения импульсной лампы обладает очень высокой интенсивностью в УФ области спектра, что приводит к высокой скорости фотохимических реакций и к интенсивному фотоокислению содержащихся в обрабатываемом растворе ЖРО металлорганических комплексов. Обработанный раствор ЖРО выводится из фотохимического реактора через выходное отверстие 3. Для практического использования предложенного решения очень важным является большой ресурс работы (~108…109 импульсов) импульсной лампы шарового типа, который обеспечивается за счет того, что при выполнении приведенного в формуле изобретения признака о соотношении наименьшего внутреннего радиуса колбы и расстояния между электродами лампы разогретая до высокой температуры плазма не контактирует с кварцевой колбой лампы, а слой холодного ксенона (толщиной Δ=Rmin-rp, где Rmin - минимальный внутренний радиус колбы лампы, rp - наружный радиус разрядного (плазменного) канала) экранирует жесткое вакуумное ультрафиолетовое излучение плазмы с энергией квантов, превышающей потенциал ионизации ксенона, благодаря чему повышается механическая стойкость кварцевой стенки к динамическим нагрузкам и исключается проявление эффектов обратимой непрозрачности кварца.