Изобретение относится к области автоматических регуляторов. Заявленный струйно-фотокомпенсационный пропорциональный регулятор состоит из магнитоэлектрического гальванометра, включающего рамку, помещенную в зазоре постоянного магнита, и подвижную часть с жестко закрепленными на ней пластиной и зеркалом, на которое из источника света через конденсор и диафрагму направляется луч света, а к поверхности пластины, жестко закрепленной на растяжках магнитоэлектрического гальванометра, нормально расположена входная пневматическая схема, выполненная в виде двух сопел. При этом в обратной связи указанного регулятора расположена электрическая дифференциальная схема, включающая в себя источники напряжения и нагрузочного сопротивления, изменяющий коэффициент усиления делитель сопротивлений, регистрирующий прибор миллиамперметр, подключенный элемент сложения и дифференциальный фоторезистор. Технический результат - повышение чувствительности и быстродействия. 1 ил.
Струйно-фотокомпенсационный пропорциональный регулятор, состоящий из магнитоэлектрического гальванометра, включающего рамку, помещенную в зазоре постоянного магнита, и подвижную часть с жестко закрепленными на ней пластиной и зеркалом, на которое из источника света через конденсор и диафрагму направляется луч света, и характеризующийся тем, что к поверхности пластины, жестко закрепленной на растяжках магнитоэлектрического гальванометра, нормально расположена входная пневматическая схема, выполненная в виде двух сопел, при этом в обратной связи указанного регулятора расположена электрическая дифференциальная схема, включающая в себя источники напряжения и нагрузочное сопротивление, изменяющий коэффициент усиления делитель сопротивлений, регистрирующий прибор миллиамперметр, подключенный элемент сложения и дифференциальный фоторезистор.
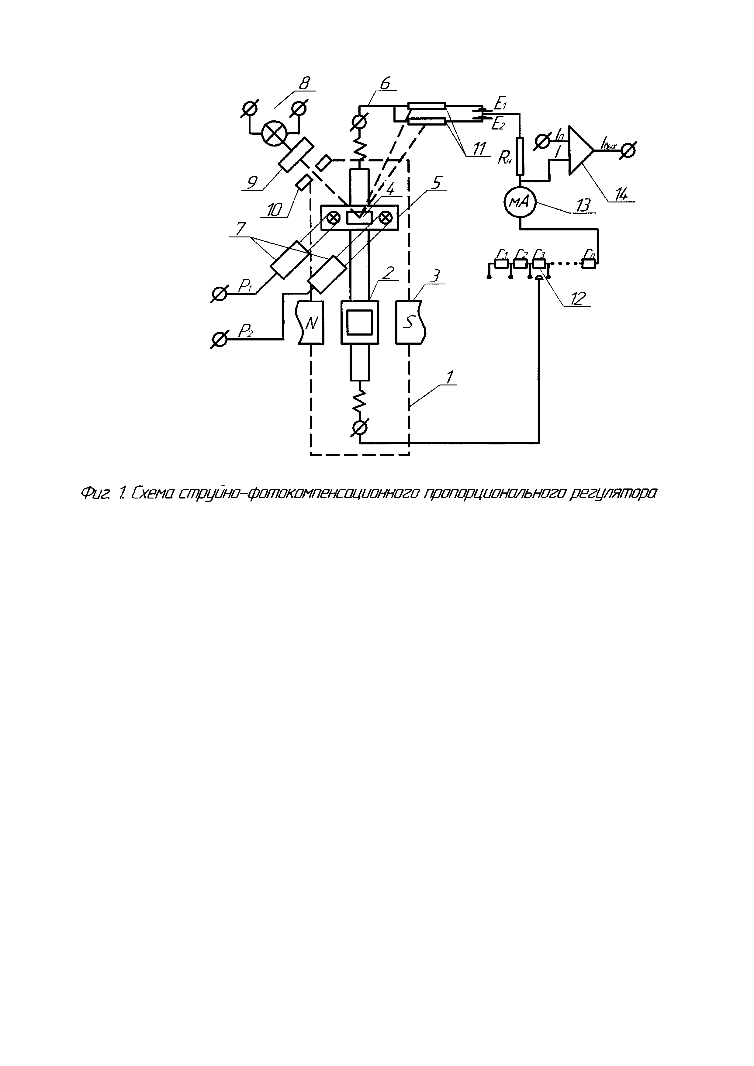
Изобретение относится к области автоматических регуляторов, в частности к пневмоэлектрическим регуляторам. Из уровня техники известен пневматический пропорциональный регулятор, принцип действия которого основан на компенсации силовых воздействий давлений на чувствительную мембрану [авторское свидетельство №746412, опубл. 05.07.1980], прогиб которой регистрируется преобразователем линейных перемещений. Недостатком такого пропорционального регулятора является его низкая чувствительность и невысокое быстродействие. Технический результат, который достигается в настоящем изобретении, заключается в повышении чувствительности и быстродействия за счет использования измерительной компенсационной схемы силового действия струи на подвижную преграду и регистрации этого воздействия с помощью фотокомпенсационной гальванометрической схемы. Более конкретно, технический результат достигается струйно-фотокомпенсационным пропорциональным регулятором, состоящим из магнитоэлектрического гальванометра, включающего рамку, помещенную в зазоре постоянного магнита, и подвижную часть с жестко закрепленными на ней пластиной и зеркалом, на которое из источника света через конденсор и диафрагму направляется луч света, и характеризующимся тем, что к поверхности пластины, жестко закрепленной на растяжках магнитоэлектрического гальванометра, нормально расположена входная пневматическая схема, выполненная в виде двух сопел, при этом в обратной связи указанного регулятора расположена электрическая дифференциальная схема, включающая в себя источники напряжения и нагрузочного сопротивления, изменяющий коэффициент усиления делитель сопротивлений, регистрирующий прибор миллиамперметр, подключенный элемент сложения и дифференциальный фоторезистор. На фиг. 1 представлена схема струйно-фотокомпенсационного пропорционального регулятора. Струйно-фотокомпенсационный пропорциональный регулятор состоит из магнитоэлектрического компаратора, представляющего собой магнитоэлектрический гальванометр 1, рамка 2 которого помещена в зазоре постоянного магнита 3. На подвижной части гальванометра 1 жестко закреплены зеркало 4 и пластина 5. Ток к рамке подводится по токопроводам 6. Нормально к поверхности пластины 5, жестко закрепленной на растяжках гальванометра 1, и на некотором удалении от нее установлены представляющие собой входную пневматическую схему сопла 7, из которых вытекают струи воздуха под давлением P1 и Р2. Оптическая часть гальванометра 1 состоит из источника света 8, подающего через конденсор 9 и диафрагму 10 луч света на зеркало 4 гальванометра 1. Отраженный от зеркала 4 луч света падает на дифференциальный фоторезистор 11, включенный в электрическую дифференциальную схему, которая состоит из источников напряжения Е1 и Е2 и нагрузочного сопротивления Rн. Выходной ток I в цепи обратной связи проходит через делитель сопротивлений 12, изменяющий коэффициент усиления Kу при изменении положения переключателя на сопротивлениях r1, r2, r3 … rn, регистрируется миллиамперметром 13 и поступает на вход элемента сложения 14, другой вход которого соединен с линией смещения нулевой точки I0. Выходной сигнал Iвых равен: При разбалансе входной пневматической схемы струи газа, вытекающие из сопел 7, отклоняют пластину 5 с зеркалом 4. Перемещение отраженного от зеркала луча света вызывает перераспределение световых потоков на поверхностях двух половин дифференциального фоторезистора 11. Разбаланс электрической дифференциальной схемы приводит к появлению тока в цепи отрицательной обратной связи, состоящей из сопротивления Rн, миллиамперметра 13 и рамки 2 гальванометра 1. Образующийся при этом магнитоэлектрический момент Мэл компенсирует механический момент Мм от действия струи на поверхность пластины 5. Пренебрегая жесткостью упругих элементов подвижной части, запишем условие работы в установившемся режиме: Механический момент от действия струи на подвижную пластину: где ΔР=Р1-Р2 - разность давлений перед соплами 7, Sc - площадь «следа» струи, iц - расстояние оси симметрии площади «следа» струи от оси симметрии подвижной части гальванометра 1. Магнитоэлектрический момент Мэл определяется выражением: где ψэ - потокосцепление. Равенство (2) с учетом (3) и (4) имеет вид: Чувствительность Нр к изменению давления перед соплами 7: Анализ динамических характеристик регулятора привел к выводу, что для повышения быстродействия необходимо уменьшать массу подвижной части и приближать площадь «следа» струи к оси симметрии гальванометра.




