патент
№ RU 2603820
МПК G02B23/00

ТЕЛЕСКОП

Авторы:
Зайцев Валерий Валерьевич
Номер заявки
2015141296/28
Дата подачи заявки
29.09.2015
Опубликовано
27.11.2016
Страна
RU
Как управлять
интеллектуальной собственностью
Чертежи 
1
Реферат

Предлагаемое изобретение относится к области контрольно-измерительной техники, а именно к телескопическим оптическим системам, используемым для измерения параллельности визирных осей двух или более контролируемых оптических систем в видимом диапазоне спектра. Телескоп состоит из сферического вогнутого зеркала, окуляра, двух плоскопараллельных пластин, на одной из сторон каждой из них расположены сетки со штрихами, причем на каждой сетке нанесен один штрих, проходящий через центр плоскопараллельной пластины. Плоскопараллельные пластины расположены между сферическим вогнутым зеркалом и окуляром с воздушным промежутком между ними, в котором расположен передний фокус окуляра. Сетки со штрихами обращены друг к другу и каждая сетка со штрихом установлена с возможностью перемещения перпендикулярно нанесенному штриху в плоскостях, перпендикулярных оптической оси телескопа так, что при наблюдении в окуляр видно перекрестие, образованное штрихами двух перемещаемых сеток. Между сетками находится также неподвижная полевая диафрагма, ограничивающая поле зрения телескопа. Технический результат - создание телескопа, позволяющего проводить измерения параллельности визирных осей двух или более контролируемых оптических систем при упрощенной конструкции. 1 з.п. ф-лы, 1 ил.

Формула изобретения

1. Телескоп, состоящий из сферического вогнутого зеркала и окуляра, отличающийся тем, что в телескоп введены две плоскопараллельные пластины, установленные перпендикулярно оптической оси телескопа, на каждой из которых на одной из поверхностей нанесена сетка в виде одного штриха, причем штрихи взаимно перпендикулярны друг другу, плоскопараллельные пластины расположены между сферическим вогнутым зеркалом и окуляром с воздушным промежутком между ними, в котором расположен передний фокус окуляра так, что сетки со штрихами обращены друг к другу и каждая плоскопараллельная пластина со штрихом установлена с возможностью перемещения перпендикулярно нанесенному штриху в плоскостях, перпендикулярных оптической оси телескопа так, что при наблюдении в окуляр видно перекрестие, образованное штрихами двух перемещаемых сеток.

2. Телескоп по п. 1 отличающийся тем, что плоскопараллельные пластины выполнены конструктивно одинаковыми.

Описание

[1]

Изобретение относится к области контрольно-измерительной техники, а именно к телескопическим оптическим системам, используемым преимущественно для измерения параллельности визирных осей двух или более контролируемых оптических систем в видимом диапазоне спектра.

[2]

Известна зрительная труба, описанная в авторском свидетельстве СССР №1674046, МПК G02B 23/00, опубликованном 30.08.1991 г. Зрительная труба состоит из двухлинзового склеенного объектива, двухлинзового окуляра и перекрестия, нанесенного па тонкую стеклянную плоскопараллельную пластину, закрепленную посредством котировочных винтов в передней фокальной плоскости окуляра. Окуляр установлен с возможностью перемещения вдоль оптической оси прибора. Однако данная зрительная труба имеет сложную конструкцию объектива, который состоит из двух линз и сетки, закрепленной без возможности ее перемещения в перпендикулярном к оптической оси направлении. Кроме того, окуляр состоит из двух положительных линз и, следовательно, он имеет большую погрешность в связи с отсутствием ахроматизации.

[3]

Наиболее близким аналогом к предлагаемому техническому решению является телескоп-рефлектор, описанный в авторском свидетельстве СССР №1764019, МПК G02B 23/00, опубликованном 23.09.1992 г. Телескоп-рефлектор состоит из сферического вогнутого зеркала и окуляра. Кроме того, данный телескоп содержит дополнительный двухлинзовый объектив искателя, установленный на оси сферического вогнутого зеркала. Также в телескоп-рефлектор введено вспомогательное зеркало, установленное с возможностью поворота и фиксации при помощи механизма точного перемещения зеркала с фиксацией его в двух положениях, в одном из которых изображение в поле зрения окуляра создается объективом искателя, а в другом - сферическим вогнутым зеркалом.

[4]

Наличие этих элементов существенно усложняет конструкцию и, кроме того, данный телескоп-рефлектор не позволяет проводить измерения параллельности визирных осей двух или более контролируемых оптических систем, поскольку в фокусе окуляра отсутствует сетка.

[5]

Задачей предлагаемого изобретения является создание телескопа с повышенными эксплуатационными характеристиками.

[6]

Технический результат - создание телескопа, позволяющего проводить измерения параллельности визирных осей двух или более контролируемых оптических систем при упрощенной конструкции.

[7]

Это достигается тем, что в телескоп, состоящий из сферического вогнутого зеркала и окуляра, в отличие от известного, введены две плоскопараллельные пластины, установленные перпендикулярно оптической оси телескопа, на каждой из которых на одной из поверхностей нанесена сетка в виде одного штриха, причем штрихи взаимно перпендикулярны друг другу, плоскопараллельные пластины расположены между сферическим вогнутым зеркалом и окуляром с воздушным промежутком между ними, в котором расположен передний фокус окуляра так, что сетки со штрихами обращены друг к другу и каждая плоскопараллельная пластина со штрихом установлена с возможностью перемещения перпендикулярно нанесенному штриху в плоскостях, перпендикулярных оптической оси телескопа так, что при наблюдении в окуляр видно перекрестие, образованное штрихами двух перемещаемых сеток.

[8]

Кроме того, плоскопараллельные пластины могут быть выполнены конструктивно одинаковыми.

[9]

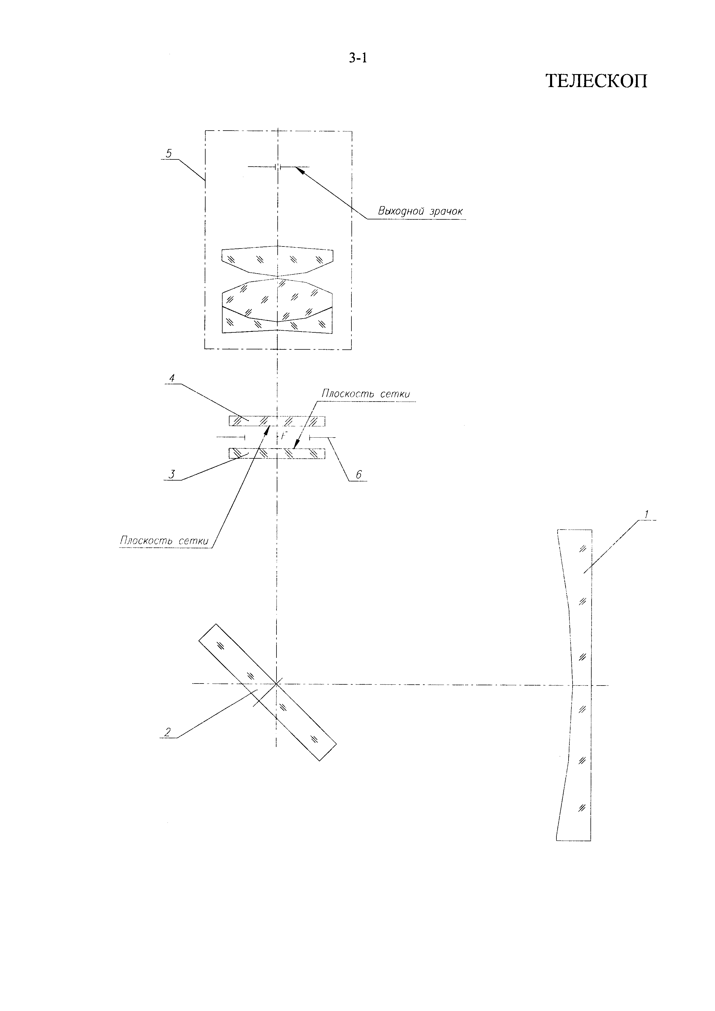
На чертеже представлена оптическая схема предлагаемого телескопа.

[10]

Телескоп (см. чертеж) состоит по ходу лучей из сферического вогнутого зеркала 1, плоского зеркала 2, плоскопараллельных пластин 3 и 4 с сетками на каждой из них, окуляра 5 и неподвижной полевой диафрагмы 6. Плоское зеркало 2 предназначено для лучшей компоновки оптической схемы телескопа, на каждой из плоскопараллельных пластин 3 и 4 сетки выполнены в виде одного штриха, проходящего через центр плоскопараллельной пластины. Сетками со штрихами плоскопараллельные пластины 3 и 4 обращены друг к другу, и каждая сетка установлена с возможностью перемещения перпендикулярно нанесенному на ней штриху в плоскостях, перпендикулярных оптической оси телескопа так, что при наблюдении в окуляр 5 видно одно перекрестие, образованное двумя штрихами перемещаемых сеток. Неподвижная полевая диафрагма 6 расположена между плоскопараллельными пластинами 3 и 4 и предназначена для ограничения поля зрения телескопа.

[11]

Телескоп работает следующим образом. Световой поток от находящихся в бесконечности предметов, в том числе перекрестий по крайней мере двух контролируемых оптических систем (не показаны), которые сами коллимируют предметы, например перекрестие в бесконечность, и являются предметами для телескопа, попадает на сферическое вогнутое зеркало 1, отражается от него и идет в собирающемся пучке лучей на плоское зеркало 2, которое отклоняет ход лучей на определенный конструктивный угол. Далее световой поток попадает на сетку, выполненную в виде одиночного штриха, нанесенную на плоскопараллельную пластину 3, после чего попадает на вторую сетку, которая нанесена на плоскопараллельную пластину 4, причем эта сетка также выполнена в виде одиночного штриха, но расположенного перпендикулярно штриху на сетке первой плоскопараллельной пластины 3. Затем световой поток идет в окуляр 5, через который наблюдается изображение предметов наблюдателем (показан). Причем сетки со штрихами на плоскопараллельных пластинах 3 и 4 расположены так, что в воздушном промежутке между ними в пределах глубины резкости находится передний фокус окуляра 5, позволяющий глазу наблюдателя видеть четко обе сетки со штрихами. Далее производится поочередное наведение на изображение предметов, например перекрестий контролируемых оптических систем, путем смещения штрихов двух сеток на плоскопараллельных пластинах 3 и 4, связанных со специальными подвижными микрометрическими винтами и другими механическими элементами (не показаны) в направлениях, перпендикулярных нанесенным на сетках штрихам и перпендикулярно оптической оси телескопа. При таком поочередном наведении по показаниям делений на микрометрических винтах определяют угловую разность наклонов визирных осей контролируемых оптических систем в двух взаимно перпендикулярных направлениях.

[12]

Оптическая схема предлагаемого изобретения позволяет проводить измерения параллельности визирных осей двух или более контролируемых оптических систем в видимом диапазоне спектра.

[13]

Таким образом, в результате предложенного решения обеспечено получение технического результата - создан телескоп, позволяющий проводить измерения параллельности визирных осей двух или более контролируемых оптических систем при упрощенной конструкции.

Как компенсировать расходы
на инновационную разработку
Похожие патенты