Изобретение относится к телевидению и может быть использовано при создании телевизионных камер для систем цветного телевидения с повышенным качеством цветного изображения. Техническим результатом является повышение точности цветопередачи. Результат достигается тем, что в первом канале телевизионной камеры регистрируют сигнал, пропорциональный яркости изображения в каждом пикселе преобразователя свет-сигнал, во втором канале регистрируют сигнал, пропорциональный поглощенной в каждом пикселе преобразователя свет-сигнал энергии света, и в третьем канале регистрируют сигнал, пропорциональный дисперсии поглощенной энергии в каждом пикселе преобразователя свет-сигнал. Полученные видеосигналы матрицируют для перехода в колориметрическую систему телевизионного приемника RGB. 1 з.п. ф-лы, 6 ил.
1. Способ получения сигналов изображения цветного телевидения в трехканальной телевизионной системе, отличающийся тем, что: световой поток I(λ) всего видимого участка спектра направляют в каждый из трех каналов в полном диапазоне длин волн λ, в первом канале со спектральной характеристикой световой эффективности во втором канале со спектральной характеристикой в третьем канале со спектральной характеристикой затем получаемые в каналах видеосигналы подвергают матрицированию для перехода в колориметрическую систему телевизионного приемника RПGПBП: и получения красного UR, зеленого UG и синего UB видеосигналов телевизионного приемника, при этом спектральные характеристики пропускания τ1(λ), τ2(λ), τ3(λ) во всем диапазоне видимого спектра всех оптических элементов светоделительной системы, стоящих на пути света от входа в светоделительную систему до светочувствительной поверхности преобразователей свет-сигнал рассчитывают по формулам: причем τ1(λ)+τ2(λ)+τ3(λ)=1. 2. Способ по п. 1, в котором спектральные характеристики преобразователей свет-сигнал одинаковые и равны относительной спектральной световой эффективности зрительной системы V(λ).
формируют видеосигнал, пропорциональный яркости изображения в каждом пикселе преобразователя свет-сигнал
формируют видеосигнал, пропорциональный поглощенной в каждом пикселе преобразователя свет-сигнал энергии света
формируют видеосигнал, пропорциональный дисперсии поглощенной энергии в каждом пикселе преобразователя свет-сигнал






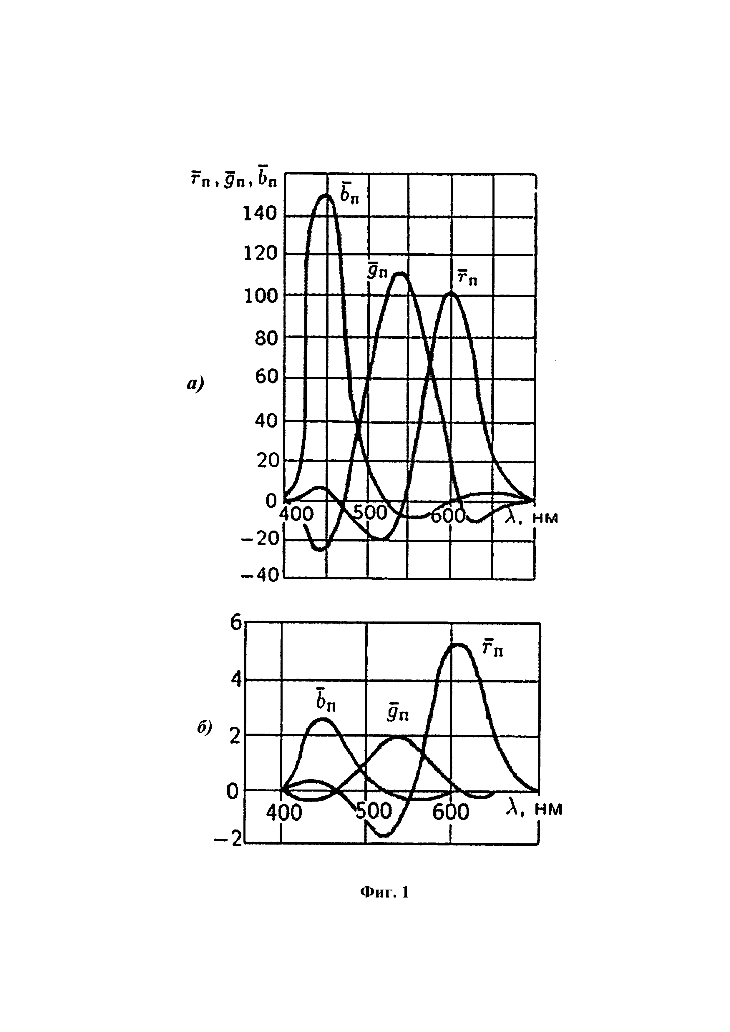
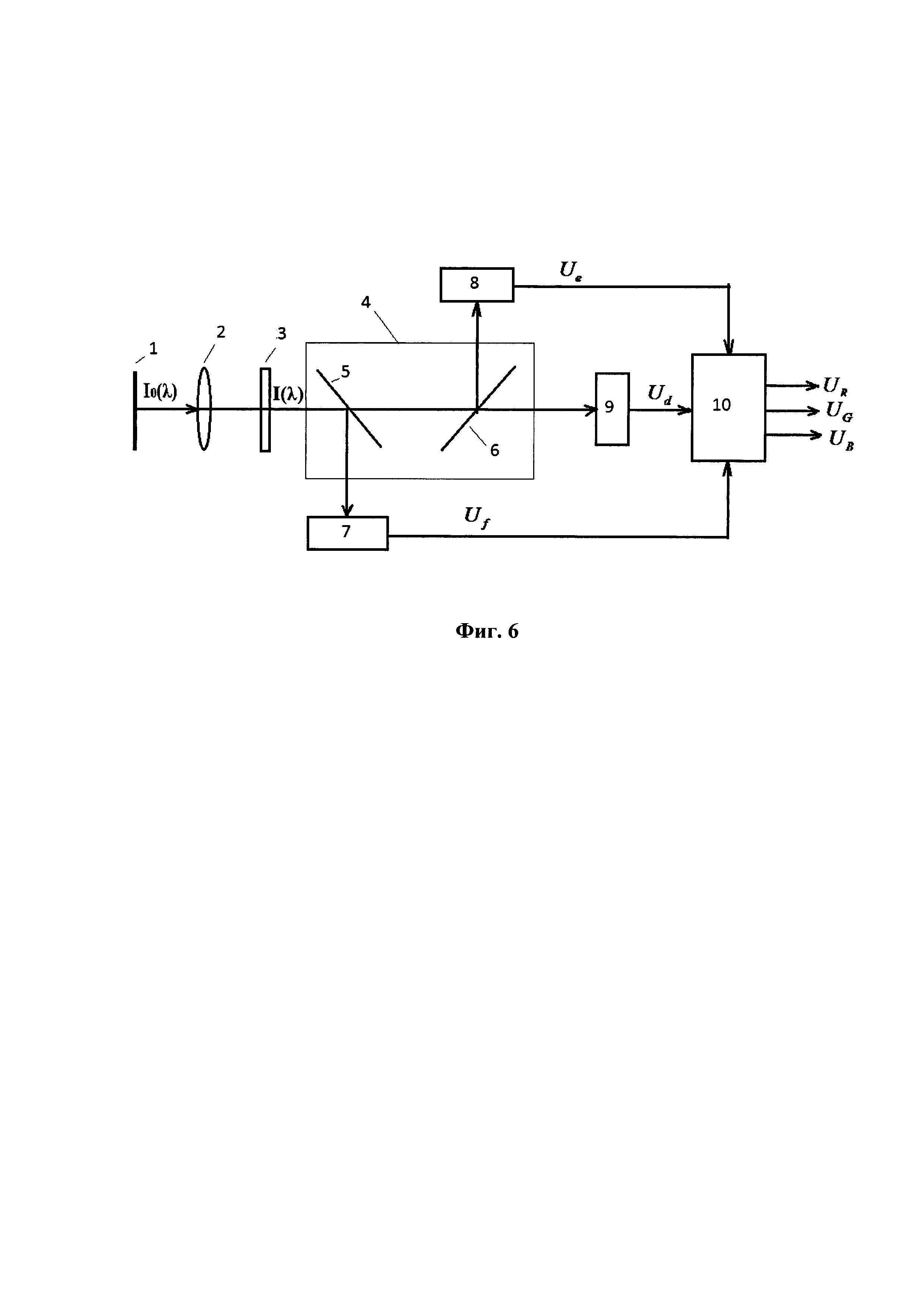
Изобретение относится к телевидению, и может быть использовано при создании телевизионных камер для систем цветного телевидения. Предшествующий уровень техники В настоящее время для получения сигналов изображения в цветном телевидении в телевизионных камерах осуществляют цветоделение светового потока от передаваемой сцены на три части: красную (R), зеленую (G) и синюю (В). Красная, зеленая и синяя составляющие разделенного светового потока поступают на преобразователи свет-сигнал, на выходе которых получают видеосигналы UR, UG, UB. Для целей настоящего документа термины «сигнал изображения» и «видеосигнал» равнозначны. Для правильной цветопередачи телевизионная камера должна обеспечивать прямую пропорциональность между видеосигналами UR, UG, UB и координатами цвета передаваемой сцены в одной из колориметрических систем низшей метрики цвета. В большинстве случаев (как правило) телевизионная камера осуществляет цветовой анализ в колориметрической системе телевизионного приемника (монитора) RПGПBП (фиг. 1) [Телевидение / Под ред. В.Е. Джаконии. - М.: Горячая линия - Телеком, 2007. - 616 с. (см. с. 230)]. Это связано с тем, что удобно получать сигналы UR, UG и UB, прямо пропорциональные координатам основных цветов стандартного (эталонного) телевизионного приемника, из которых приемник синтезирует воспроизводимое изображение. В этом случае характеристики спектральной чувствительности трех каналов камеры представляют собой функции удельных координат Рассмотренный способ получения сигналов изображения в цветном телевидении имеет целый ряд существенных недостатков: 1. Разделение спектра светового потока на три части (красную, зеленую и синюю) снижает уровень видеосигнала преобразователей свет-сигнал приблизительно во столько же раз и, следовательно, снижает чувствительность цветной телевизионной системы. 2. Несоответствие спектральных характеристик камер RGB, RYB и RWB удельным координатам соответствующих цветов приемника 3. В цветокорректирующей матрице присутствуют отрицательные коэффициенты [Певзнер Б.М. Качество цветных телевизионных изображений. - М.: Радио и связь, 1988. - 224 с. (см. с. 30)], что приводит к снижению отношения сигнал/шум, поскольку при выполнении матричного преобразования полезные сигналы сохраняют свой размах, а шумы складываются по мощности. 4. Светоделительная система телевизионной камеры, разделяющая световой поток на три цветоделенных световых потока и обеспечивающая требуемые спектральные характеристики, снижает чувствительность камеры и является сложным оптическим устройством [Телевидение / Под ред. В.Е. Джаконии. - М.: Горячая линия - Телеком, 2007. - 616 с. (см. с. 235-238)]. 5. Как правило, для сокращения потерь света в камере используются преобразователи свет-сигнал с разными спектральными характеристиками. Таким образом, традиционные способы получения цветоделенных сигналов в цветном телевидении, основанные на трехзональном принципе, ограничены в чувствительности и имеют искажения цветности до 3-х цветовых порогов. Раскрытие изобретения Задачей настоящего изобретения является создание способа получения сигналов изображения цветного телевидения, позволяющего разрабатывать цветные телевизионные камеры с колориметрически точными спектральными характеристиками без отрицательных ветвей и побочных максимумов, связанными линейной зависимостью с удельными координатами Заявляемый способ базируется на предложенной автором новой колориметрической системе - квантовой модели низшей метрики цвета, которую он называет FED(E), с удельными координатами Мазуров А.И., Раевская К.А. Квантовая модель низшей метрики цвета // Биомедицинская радиоэлектроника. - 2013. №1. - с. 45-47; Мазуров А.И. Параметрическая колориметрическая система FED(Е) // 15-я научно-техническая конференция «Медико-технические технологии на страже здоровья «МЕДТЕХ-2013»: сборник трудов, 20-27 сентября 2013 г., Португалия, о. Мадейра. - М.: ФГБОУ высшего проф. образования МГТУ им Н.Э. Баумана, 2013. - С. 78-80]. Заявляемый способ позволяет получить комплексный технический результат, который выражается в следующем. Система позволяет избежать разделения спектра светового потока на три части - красную, зеленую и синюю. Это увеличивает чувствительность способа по сравнению со способом-прототипом, улучшает точность цветопередачи, увеличивает соотношение сигнал/шум, позволяет упростить конструкцию устройства реализации способа благодаря отсутствию цветоделительной системы, а также использовать преобразователи «свет-сигнал» с одинаковыми спектральными характеристиками. Колориметрическая система FED(E) линейно связана с колориметрической системой RGB, стандартизированной Международной комиссией по освещению (МКО) в 1931 г., а, следовательно, с любой стандартизованной колориметрической системой низшей метрики цвета (в том числе с системой RПGПBП). Эта связь может быть записана в виде системы трех уравнений Здесь Lr, Lg и Lb - яркостные коэффициенты в колориметрической системе RПGПBП; Интегрирование осуществляют по всему диапазону длин волн видимого участка спектра электромагнитного излучения; Из системы уравнений (1) следует, что в качестве спектральных характеристик чувствительности трех каналов цветной телевизионной камеры без учета светоделения можно использовать функции На Фиг. 3б видно, что приведенные по максимуму к единице функции Для решения поставленной задачи с достижением вышеуказанных результатов предлагается способ получения сигналов изображения цветного телевидения в трехканальной телевизионной системе, в котором световой поток I(λ) (перед светоделительным блоком) всего видимого участка спектра направляют в каждый из трех каналов в полном диапазоне длин волн λ, в первом канале со спектральной характеристикой световой эффективности во втором канале со спектральной характеристикой в третьем канале со спектральной характеристикой где спектральные характеристики светоделительного блока τ1(λ), τ2(λ), τ3(λ) во всем диапазоне видимого спектра всех оптических элементов светоделительной системы, стоящих на пути света от передаваемой сцены до светочувствительной поверки преобразователей свет-сигнал рассчитывают по формулам: причем τ1(λ)+τ2(λ)+τ3(λ)=1. Затем получаемые в каналах видеосигналы подвергают матрицированию для перехода в колориметрическую систему телевизионного приемника RПGПBП: и получения из системы уравнений (2) красного UR, зеленого UG и синего UB видеосигналов телевизионного приемника. Преобразователи свет-сигнал могут быть выбраны с одинаковыми спектральными характеристиками, которые равны относительной спектральной световой эффективности зрительной системы V(λ). В отличие от способа-прототипа RYB, в котором осуществляется цветоделение светового потока от объекта и только одна спектральная характеристика канала G (см. фиг. 2б - кривая Y) близка к стандартной кривой V(λ), в предлагаемом способе отсутствует цветоделение и все три преобразователя свет - сигнал имеют спектральные характеристики Существенным отличием в способе является то, что светоделительная система не разделяет световой поток на три спектральных зоны: красную, зеленую и синюю, а световой поток всего видимого участка спектра поступает во все три канала в полном диапазоне длин волн, что позволяет избежать потерь в светоделительном устройстве и тем самым увеличить чувствительность способа по сравнению со способом-прототипом. В отличие от прототипа спектральные характеристики не имеют отрицательных ветвей и побочных максимумов. Колориметрическая система FED(E) линейно связана с колориметрической системой приемника RПGПBП и, следовательно, передает все цветности, заключенные в треугольнике основных цветов телевизионного приемника без искажений. В отличие от способа-прототипа световой поток разделяется на три канала без потерь. Также существенным отличительным фактором от ранее известных способов является то, что во всех трех каналах используется преобразователь свет-сигнал с одинаковыми спектральными характеристиками V(λ). В отличие от матрицирования в способе-прототипе, в котором матрицирование состоит в том, что в каждом канале из его видеосигнала вычитаются доли сигналов двух других каналов, в предлагаемом способе матрицы не содержит отрицательных коэффициентов (см. (2)), что не приводит к снижению отношения сигнал/шум. Способ - прототип поясняется чертежами, на которых изображены: Фиг. 1 [Телевидение / Под ред. В.Е. Джаконии. - М.: Горячая линия-Телеком, 2007. - 616 с. (см. с. 230)] - удельные координаты а) - для треугольника основных цветов приемника типа NTSC с опорным белым С б) - для треугольника основных цветов приемника типа ЕС с опорным белым D6500. Фиг. 2 [Телевизионные передающие камеры / В.А. Петропавловский и др. - М.: Радио и связь, 1988. - 304 с. (см. с. 41)] - Спектральные характеристики чувствительности цветных телевизионных камер: а - RGB, б - RYB, в - RWB. Заявляемое изобретение поясняется чертежами, на которых изображены: Фиг. 3. Удельные координаты колориметрической системы FED(E): а - абсолютные значения координат b - значения координат На фиг. 4. Показана светоделительная система с коэффициентами отражения и коэффициентом пропускания На фиг. 5 показаны зависимости коэффициентов пропускания светоделительной системы от длины волны. На фиг. 6 показано устройство для реализации заявляемого способа. Способ осуществляют следующим образом. Первый канал телевизионной камеры со спектральной характеристикой Матричным методом решают систему уравнений (2) для перехода из системы FED(E) в колориметрическую систему телевизионного приемника RПGПBП. Промышленная применимость Способ получения сигналов изображения цветного телевидения реализуют в устройстве, схема которого показана на (фиг. 6). Световой поток I0(λ) от передаваемой сцены 1, пройдя через объектив 2 и сменные приводные фильтры 3, корректирующие при необходимости источник освещения, преобразуется в световой поток I(λ), который поступает в светоделительный блок 4 на дихроический фильтр 5. Фильтр 5 расщепляет световой поток на два, один из которых отражается во всем диапазоне видимого участка спектра с коэффициентом отражения а второй полностью без потерь пропускает на дихроический фильтр 6, который отражает часть потока с коэффициентом отражения и пропускает часть потока с коэффициентом пропускания Световые потоки Полученные видеосигналы в матрице 10 преобразуют в сигналы колориметрической системы приемника UR, UG и UB.
,
,
колориметрической системы приемника. Как видно из фиг. 1 эти функции имеют участки отрицательных значений ординат и вторичных максимумов. Практическая реализация трехсигнальной телевизионной камеры с такими характеристиками спектральной чувствительности невозможна. Поэтому на практике используют спектрально несогласованные характеристики чувствительности камеры. Например, в трехсигнальных камерах RGB, RYB и RWB используют спектральные характеристики, представленные на фиг. 2 [Телевизионные передающие камеры / В.А. Петропавловский и др. - М.: Радио и связь, 1988. - 304 с. (см. с. 41)]. Эти спектральные характеристики отличаются от удельных координат колориметрической системы приемника отсутствием отрицательных участков и вторичных максимумов и, выбраны из условий компромисса между ухудшением качества передачи цвета и увеличением чувствительности при условии дополнительной матричной цветокоррекции. Принцип цветокоррекции основан на том, что побочные отрицательные и положительные ветви функций удельных координат
,
,
расположены под основными ветвями и подобны им по форме. Это позволяет, вычитая из каждого видеосигнала основных цветов два других в определенных пропорциях, компенсировать отсутствие отрицательных ветвей.
,
,
, даже после цветокоррекции, приводит к снижению точности цветопередачи.
,
,
соответствующих цветов приемника, высокой чувствительностью, высоким отношением сигнал/шум, упрощенной конструкцией светоделительного устройства, с преобразователями свет-сигнал, имеющими одинаковые спектральные характеристики.
,
, где V(λ) - относительная спектральная световая эффективность зрительной системы (кривая видности),
квантовое число, пропорциональное энергии фотона с длиной волны λ в мкм. Предложенная квантовая модель основана на работе М. Планка (М. Планк Теория теплового излучения - М., Теория теплового излучения. Перевод с немецкого. Изд. 2 КомКнига. 2006. 208 с., (см. с. 88), в которой показано, что световой поток фотонов F несет не только энергию Е, но и энтропию Н, которая логарифмически связана с дисперсией энергии светового потока D(E). Эти выводы М. Планка позволили предположить, что световые потоки разного спектрального состава в сравниваемых полях будут неразличимы, т.е. иметь одинаковый цвет, если поглощенные в сетчатке глаза световые потоки от этих полей будут иметь равное число фотонов, равные энергии и равные дисперсии этих энергий. При этом число эффективно поглощенных фотонов считается пропорциональным яркости. Подробно модель описана в работах: [Мазуров А.И., Раевская К.А. Квантовая модель низшей метрики цвета // VIII российско-баварская конференция по биомедицинской инженерии 29-31 мая 2012. - СПб: Изд-во СПбГЭТУ "ЛЭТИ", 2012. - с. 10-13;
- удельные координаты соответствующих цветов приемника в колориметрической системе RnGnBn;
- удельные координаты колориметрической системы FED(E).
которые представлены на фиг. 3а.
близки к V(λ). Поэтому спектральные характеристики преобразователей свет-сигнал могут быть выбраны одинаковыми и равными относительной спектральной световой эффективности зрительной системы V(λ), если множители ε(λ) и ε2(λ) в функциях
отнести к светоделительному устройству. Тогда функции
с учетом светоделения можно записать в виде:


формируют видеосигнал, пропорциональный яркости изображения в каждом пикселе преобразователя свет-сигнал
формируют видеосигнал, пропорциональный поглощенной в каждом пикселе преобразователя свет-сигнал энергии света 
формируют видеосигнал, пропорциональный дисперсии поглощенной энергии в каждом пикселе преобразователя свет-сигнал






колориметрических систем приемника.




приведенные по максимуму к 1.


регистрирует сигнал, пропорциональный яркости изображения в каждом пикселе преобразователя свет-сигнал, второй канал со спектральной характеристикой
регистрирует сигнал пропорциональный поглощенной в каждом пикселе преобразователя свет-сигнал энергии света и третий канал со спектральной характеристикой
регистрирует сигнал, пропорциональный дисперсии поглощенной энергии в каждом пикселе преобразователя свет-сигнал. В каналах получают видеосигналы 
и 





поступают на фоточувствительные поверхности преобразователей «свет-сигнал» 7, 8, 9 с одинаковыми спектральными характеристиками V(λ), которые преобразуют каждый элемент передаваемой сцены в видеосигналы UF, UE, UD.