патент
№ RU 2654376
МПК H01L35/28

СПОСОБ РАБОТЫ ПРЯМОГО И ОБРАТНОГО ОБРАТИМОГО ТЕРМОЭЛЕКТРИЧЕСКОГО ЦИКЛА И УСТРОЙСТВО ДЛЯ ЕГО РЕАЛИЗАЦИИ (ВАРИАНТЫ)

Авторы:
Попович Владимир Андрианович
Номер заявки
2016121437
Дата подачи заявки
31.05.2016
Опубликовано
17.05.2018
Страна
RU
Как управлять
интеллектуальной собственностью
Чертежи 
11
Реферат

Использование: для термоэлектрических обратимых циклов, реализованных с помощью эффектов Зеебека и Пельтье. Сущность изобретения заключается в том, что способ прямого преобразования теплоты в электрическую энергию в термоэлектрическом цикле, осуществляемый при подводе теплоты от нагревателя в место контакта разнородных полупроводниковых стержней из электронного (n типа) и дырочного (р типа) материалов, основанном на обратимом эффекте Зеебека, и выделении теплоты в холодильник при обратимом эффекте Пельтье на противоположных концах стержней в местах контакта с токосъемниками, входящих в электрическую цепь с нагрузкой, отличается тем, что преобразование теплоты в электрическую энергию осуществляется в прямом обратимом термоэлектрическом цикле при подводе теплоты в место контакта электрически соединенных разнородных полупроводниковых стержней термоэлектрического элемента из электронного (n типа) и дырочного (р типа) материалов, каждый из которых имеет электрический и тепловой контакт с шинами из электропроводящего материала, например из меди, расположенными по всей длине стержней вдоль распространения теплового потока по линии нагреватель-охладитель, что позволяет во всем объеме каждого из стержней совместно с медной шиной обратимо преобразовывать теплоту на каждом элементарном уровне температур на базе обратимых эффектов Зеебека и Пельтье и исключить потери на теплопроводность и джоулевый нагрев стержней, и отводе в охладитель теплоты с противоположных концов стержней в местах контакта с токосъемниками. Технический результат - обеспечение возможности повышения термодинамической, технической и эксплуатационной эффективности энергетических установок, холодильных машин и тепловых насосов на базе термоэлектрических циклов. 4 з.п. ф-лы, 11 ил.

Формула изобретения

1. Способ прямого преобразования теплоты в электрическую энергию в термоэлектрическом цикле, осуществляемый при подводе теплоты от нагревателя в место контакта разнородных полупроводниковых стержней из электронного (n типа) и дырочного (р типа) материалов, основанном на обратимом эффекте Зеебека, и выделении теплоты в холодильник при обратимом эффекте Пельтье на противоположных концах стержней в местах контакта с токосъемниками, входящих в электрическую цепь с нагрузкой, отличающийся тем, что преобразование теплоты в электрическую энергию осуществляется в прямом обратимом термоэлектрическом цикле при подводе теплоты в место контакта электрически соединенных разнородных полупроводниковых стержней термоэлектрического элемента из электронного (n типа) и дырочного (р типа) материалов, каждый из которых имеет электрический и тепловой контакт с шинами из электропроводящего материала, например из меди, расположенными по всей длине стержней вдоль распространения теплового потока по линии нагреватель-охладитель, что позволяет во всем объеме каждого из стержней совместно с медной шиной обратимо преобразовывать теплоту на каждом элементарном уровне температур на базе обратимых эффектов Зеебека и Пельтье и исключить потери на теплопроводность и джоулевый нагрев стержней, и отводе в охладитель теплоты с противоположных концов стержней в местах контакта с токосъемниками.

2. Способ по п. 1, отличающийся тем, что для полупроводниковых стержней из ряда электронного (n типа) и дырочного (р типа) материалов в термоэлектрическом элементе могут быть применены материалы, например, висмут и сурьма.

3. Способ по п. 1, отличающийся тем, что в качестве электропроводящей шины термоэлектрического элемента может быть выбрана медь, как пример материала из термоэлектрического ряда металлов и полупроводников, занимающая примерно среднее положение между потенциалами полупроводников с n и р типом проводимости, например висмута и сурьмы, и примененных для стержней термоэлемента.

4. Способ по п. 1, отличающийся тем, что термоэлектрический элемент состоит из двух полупроводниковых стержней из материала n или р типа, например висмута и сурьмы, которые имеют тепловой и электрический контакт по всей длине с шиной, например, из меди.

5. Способ по п. 1, отличающийся тем, что блок термоэлектрического генератора собран из термоэлектрических элементов, электрически, посредством шины, последовательно соединенных, в которых одни электрические соединения шин термоэлементов находятся в зоне подвода теплоты - в нагревателе, а другие, места электрических соединений шин термоэлементов, в зоне отвода теплоты - охладителе.

Описание

[1]

Изобретение относится к теплоэнергетике для тепло- и электропитания объектов жилого и технического назначения и предназначено для преобразования, например, возобновляемых источников тепловой энергии, парожидкостной струи геотермального источника, нагретого потока газа выхлопной трубы двигателя внутреннего сгорания, или струи газотурбинного двигателя, а также относится к холодильной и криогенной технике.

[2]

Открытие Зеебеком в 1822 г. термоэлектричества при использовании разности температур и обратного явления Пельтье в 1834 г. обещало большие перспективы в развитии энергетики на уровне новой технической революции, равное по значимости открытию паровых машин.

[3]

Однако прошли почти два столетия, а революция не состоялась и не состоялась по простой причине. Разработанные и созданные прямые циклы по прямому преобразованию теплоты в электрическую энергию и обратные холодильные циклы имели низкие КПД, что не позволило конкурировать с машинными методами преобразования теплоты с использованием циклов Ренкина, Отто, Дизеля и т.д.

[4]

Первые термоэлектрические батареи из различных металлических проводников были построены еще в 1823 г. вскоре после открытия Зеебека, однако применения они не нашли. Полученные значения КПД преобразования теплоты термоэлектрических генераторов, построенных на различных металлических проводниках не превышали 1%, что закрывало им путь в большую энергетику.

[5]

Интерес к термоэлектричеству существенно возрос после того, как академик А.Ф. Иоффе в 1929 г. предложил вместо металлических проводников использовать полупроводники с n и p типом проводимости.

[6]

Теоретически разработанный им термоэлектрический цикл на полупроводниках позволял повысить КПД цикла до (10-15)%.

[7]

Современная теория прямого и обратного термоэлектрических циклов, основанная на эффектах Зеебека и Пельтье, в значительной мере основана на фундаментальных исследованиях академика А.Ф. Иоффе и учеников его школы [1], [2]. Однако в результате теоретических и экспериментальных исследований термоэлектрических генераторов также были выявлены существенные проблемы при их создании.

[8]

К основным проблемам термоэлектрических генераторов относятся создание полупроводниковых материалов с n и p типом проводимости, обеспечивающих максимальный КПД, а также обеспечение надежности тепловых и электрических контактов между элементами конструкции.

[9]

Идеология конструирования термоэлектрических генераторов со времен открытия эффектов Зеебека и Пельтье до настоящего времени осталась неизменна. Это создание термоэлектрических батарей из термоэлектрических модулей (в виде двух ветвей из материалов n и p типов), последовательно электрически соединенных, одни соединения которых имеет тепловой контакт с нагревателем, а другие соединения с охладителем.

[10]

Термоэлектрические элементы, собранные из материалов n и p типов, как правило, имеют форму прямоугольных столбиков [5] [6], а также могут иметь в сечении другие формы, например шестиугольник [7].

[11]

При использовании термоэлектрических батарей для более высоких температур могут возникнуть критические термические напряжения в термоэлементах, особенно в местах электрических и тепловых контактов разнородных материалов. Поэтому для повышения прочности в [8] представлен один из вариантов конструктивного решения компенсаций термического напряжения за счет подбора толщин и теплофизических свойств конструкционных тепло и электропроводящих материалов "..толщина металлических теплопереходов составляет 0,5-0,6 мм., а средство компенсации термических напряжений выполнено в виде расположенного между коммутационными шинами и теплопереходами слоя теплопроводного эластичного электроизоляционного материала с коэффициентом теплопроводности не менее 0,3 Вт/(м⋅К), величиной упругой деформации не менее 30% и величиной модуля Юнга не более 95 МПа. При этом толщина слоя материала составляет не менее 0,001 длины коммутационной шины…"

[12]

Отдельным направлением в развитии термоэлектрических генераторов является разработка термоэлектрических материалов для ветвей из материалов n и p типов с высоким коэффициентом Зеебека и способом их изготовления.

[13]

Так в [9] представлен вариант получения высокого значения коэффициента Зеебека в термоэлектрическом элементе состоящего из многослойных тел. Такое многослойное тело изготавливают из металла или синтетической смолы, а также из полуметалла. Средняя толщина слоев находится в пределах от 3 до 1000 нм. Материалами слоя служат как металлы, выбранные из группы Ag, Fe, Cu, Ni, Al, Fu, Pt, Cr, Zn, Pb и Sn, a также их комбинация с металлом, например, висмутом или синтетической смолой из ряда полиамидов.

[14]

Высокие значения коэффициента Зеебека в термоэлектрическом элементе получены с применением полупроводниковых материалов n и p типов при создании пленочных термоэлектрических генераторов.

[15]

Так в [10] термоэлектрический генератор изготовлен на основе гетероструктуры n-InSb-SiO2-p-Si в виде подложки из окисленного кремния с перекристаллизованной пленкой n-InSb. За счет значительной разности работы выхода электронов контактирующих материалов, возникает высокая удельная термо ЭДС, около 40-50 мВ/К.

[16]

Термоэлектрический генератор, это устройство в котором заложен принцип прямого преобразования теплоты в электрическую энергию, эффективность работы которого определяется главным фактором в виде его КПД.

[17]

Фактор КПД отражает степень термодинамического совершенства цикла, который реализован в рассмотренных устройствах аналогов термоэлектрических генераторов. Однако разработка устройств, приведенных аналогов, не направлена на существенное повышение их эффективности, поэтому их низкий КПД по этой причине не приводится.

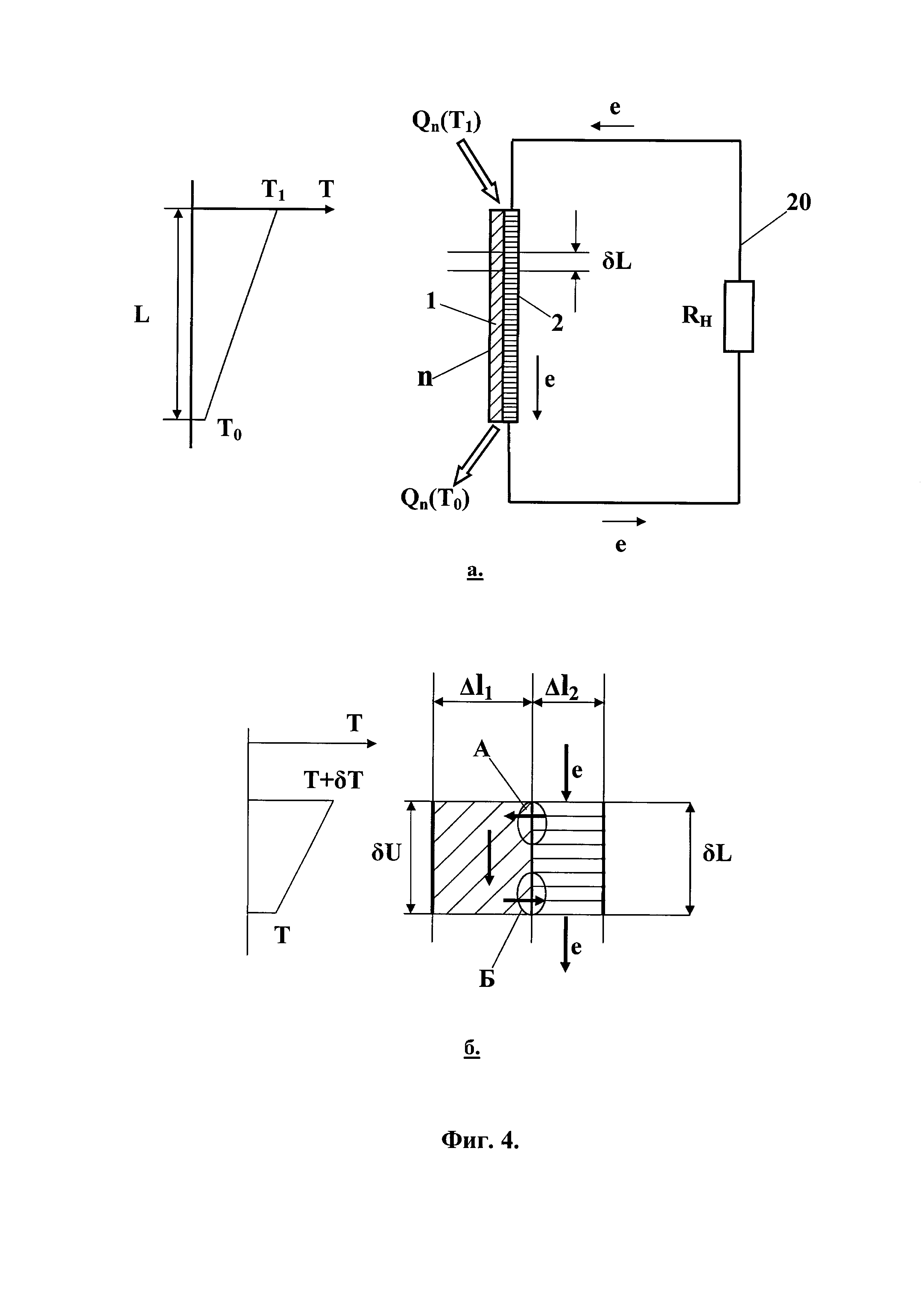
[18]

Все устройства аналогов имеют низкую эффективность, так как реализуют, принятый за прототип [1], термодинамически несовершенный цикл термоэлектрического генератора, разработанного еще в 1929 г.

[19]

Термоэлемент такого термоэлектрического генератора состоит из дырочного и электронного полупроводниковых стержней (двух ветвей из материалов n и р типов), соединенных металлическим мостиком в зоне нагревателя при температуре T1. Противоположные концы полупроводниковых стержней также соединены с металлическими токосъемниками и находятся при температуре Т0 охладителя.

[20]

Для снятия электрической энергии к токосъемникам подсоединено нагрузочное электросопротивление, замыкающее электрическую цепь термоэлемента.

[21]

В цикле приведенного термоэлемента термоэлектрического генератора преобразуется подводимая теплота в высокоорганизованный вид энергии в виде электричества, а термодинамическая эффективность такого цикла определяется методом сравнения его с циклом Карно, реализованного при таких же температурах.

[22]

Подведенная теплота Зеебека на месте соединения дырочного и электронных полупроводниковых стержней при температуре Т1 нагревателя генерирует термо ЭДС, создавая ток в электрической цепи термоэлемента.

[23]

Необходимым условием работы термоэлемента, как любой тепловой машины, является также наличие холодильника, куда будет отводиться теплота Пельтье при температуре Т0 из зоны электрического контакта с токосъемниками холодных концов полупроводниковых стержней n и p типов.

[24]

Как следует из устройства термоэлемента, в нем существуют только две элементарные зоны, в которых могут протекать обратимые и равновесные процессы, преобразующие потоки теплоты в поток электрических зарядов и наоборот. Это зона контакта двух полупроводниковых стержней в зоне нагревателя при температуре T1 и зоны контактов стержней с токоосьемниками при температуре Т0 охладителя. Эти зоны соответственно относятся к зонам Зеебека и Пельтье.

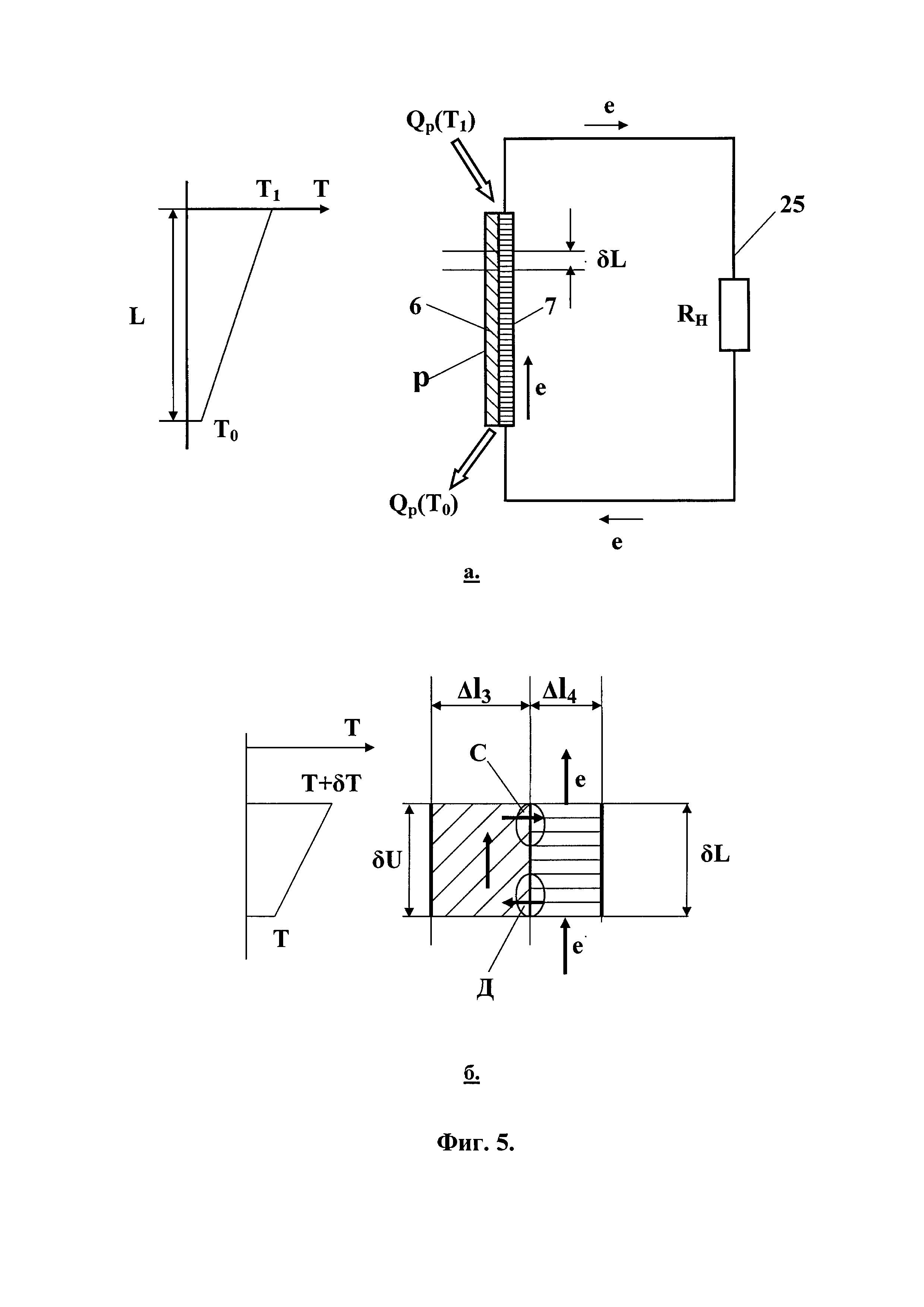
[25]

Ухудшающие термодинамическую эффективность цикла необратимые процессы происходят в самих полупроводниковых стержнях, исключая контакты стержней в зоне нагрева и контакты с токосьемнками в зоне охлаждения.

[26]

Потери приходящиеся на полупроводниковые стержни это прежде всего прямые потери теплоты, приходящиеся на теплопроводность стержней, которые по закону Фурье пропорциональны градиенту температуры (T10), коэффициенту теплопроводности, сечениями и обратно пропорциональны длинам полупроводниковых стержней n и p типов.

[27]

Кроме того, стержни имеют активное электрическое сопротивление, на которых выделяется джоулевая теплота при прохождении по ним электрического тока.

[28]

Эти потери относятся к потерям высокоорганизованного вида энергии вырабатываемого термоэлементом, что существенно уменьшает эффективность цикла.

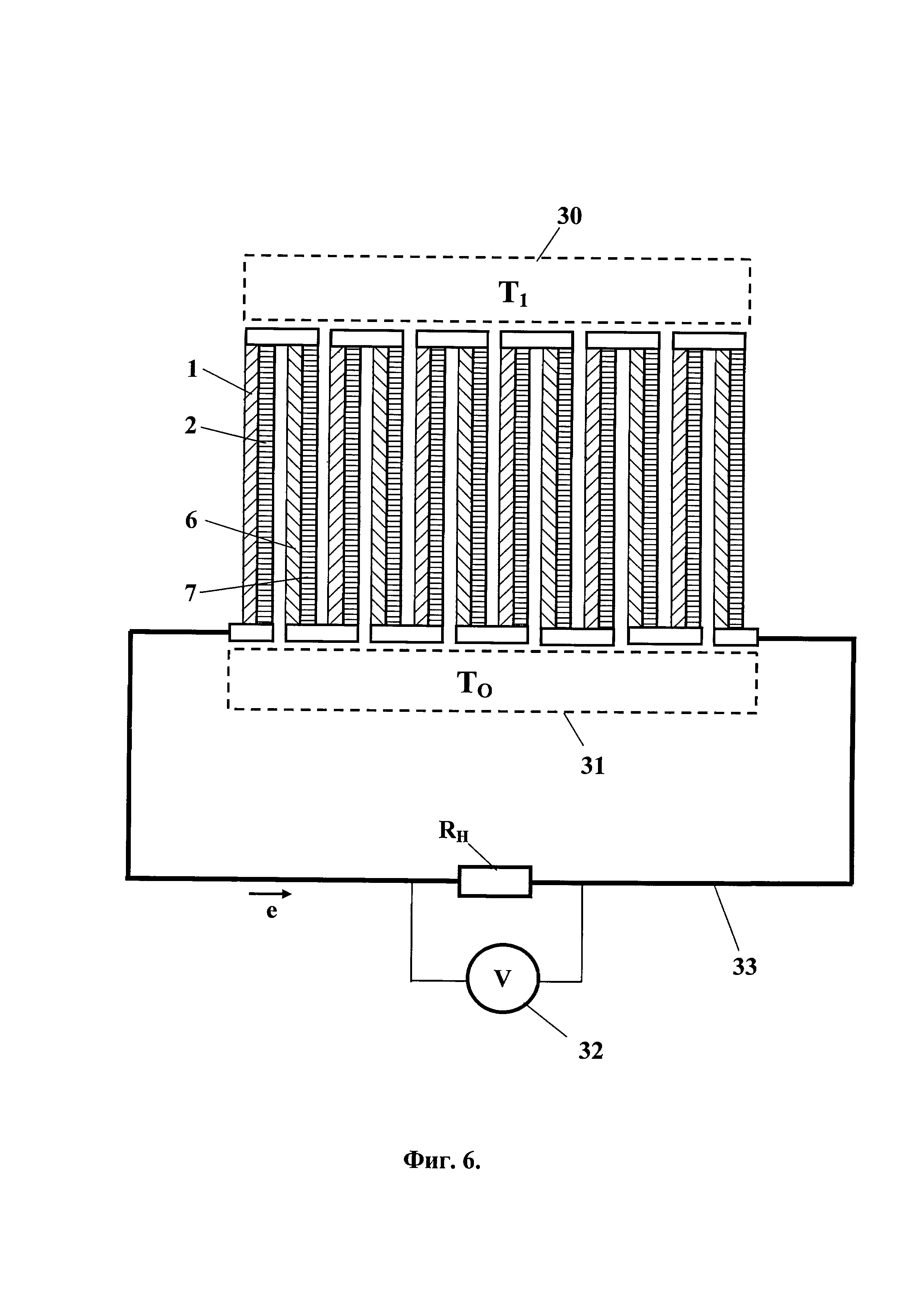
[29]

Мощность, выделяемая на нагрузочном сопротивлении, требует потребления тепловых потоков со стороны нагревателя и сброса теплоты в холодильник. Поэтому на верхнем и нижнем температурных уровнях для обеспечения необходимых тепловых потоков должны быть созданы градиенты температур. Но эти градиенты температур не влияют на термодинамическую эффективность цикла термоэлемента термоэлектрического генератора, а относятся к внешней необратимости цикла.

[30]

В результате проведенных теоретических исследований цикла в [1] принятого за прототип, оптимизации полупроводниковых ветвей по таким характеристикам как теплопроводность, электропроводность и конструктивным факторам, автором было получено выражение для определения КПД термоэлектрического генератора, которое в сокращенном виде можно представить в виде двух сомножителей

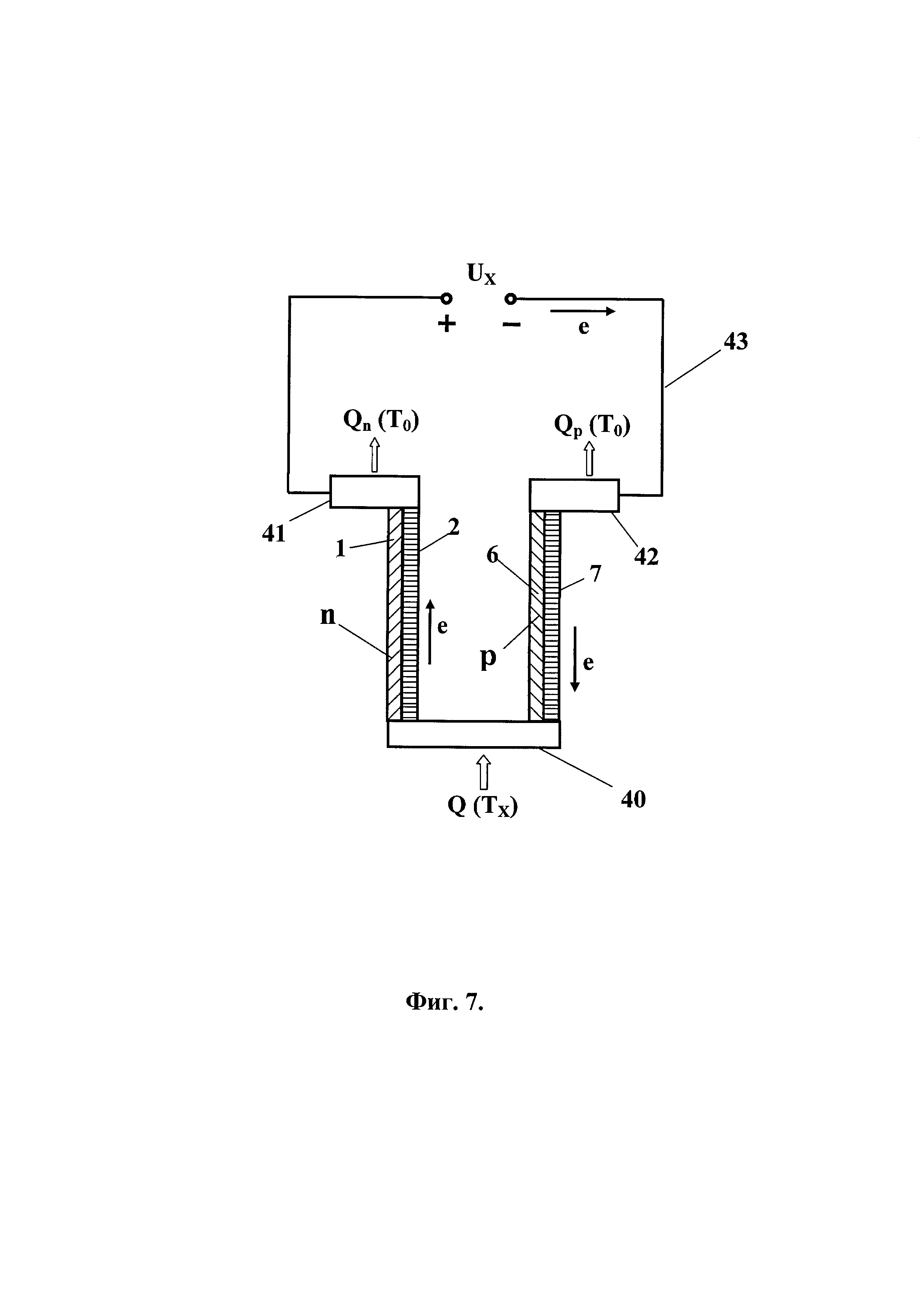
[31]

η=(Τ10)/Т1⋅А,

[32]

где (Τ10)/Τ1 отражает КПД термодинамически совершенного цикла Карно, а комплекс А отражает необратимые потери на теплопроводность и электропроводность полупроводниковых стержней с учетом их конструктивных размеров и режимных факторов.

[33]

Стержневые термоэлектрические генераторы из-за своей простоты и высокой надежности нашли применение при освоении космоса с ядерными источниками теплоты, но их электрическая мощность не превышает 100 Вт.

[34]

Согласно таблице, представленной в [3] по основным характеристикам созданных термоэлектрических генераторов, их максимальный КПД не превышает 10%, что не позволяет их применение в большой энергетике.

[35]

Для получения более высоких значений КПД необходимо построение обратимого цикла термоэлектрического генератора, в котором будут отсутствовать необратимые потери, присущие циклу прототипа.

[36]

Для этого необходимо создать условия при которых обратимые и равновесные термоэлектрические процессы Зеебека и Пельтье имели бы место не только в двух элементарных зонах - местах контактов стержней при температуре Τ1 нагревателя и местах контактов стержней с токосьемниками при температуре Т0 охладителя, а были бы распространены на всю длину стержней и во всем их объеме.

[37]

Это позволяет исключить потери связанные с теплопроводностью стержней, а также ликвидировать потери связанные с выделением джоулевой теплоты в полупроводниковых стержнях.

[38]

Для создания таких условий предлагается устройство термоэлектрического генератора, в котором реализуется обратимый термоэлектрический цикл, с исключением всех необратимых потерь в цикле, присущих прототипу.

[39]

Такой цикл можно реализовать в двухслойных структурах с проводимостью n и p типа, имеющих между собой тепловой и электрический контакт и с организацией тепловых потоков вдоль слоев в прямом цикле от нагревателя к охладителю и в обратном цикле от холодильника к нагревателю.

[40]

На фиг. 1. и фиг. 2. представлена работа ветвей из двухслойных материалов, один из которых соответственно имеет n проводимость, а другой p проводимость.

[41]

Каждая из ветвей состоит из полупроводникового стержня из материала n или p типа, который имеет тепловой и электрический контакт по всей длине с третьим, условно нейтральным проводником - шиной, например, из меди.

[42]

Медь занимает среднее положение в термоэлектрическом ряде [1; 4] между материалов стержней n и p типов, например из висмута и сурьмы, поэтому медная шина принятая условно как нейтральный проводник по отношению к висмуту будет иметь p проводимость, а по отношению к сурьме n проводимость.

[43]

Обозначения на фиг. 1.; 1 - стержень из материала n проводимости, 2 - медный проводник - шина, 3 - милливольтметр с центральным положением стрелки, 4 - медный проводник электрической цепи и 5 - газовая горелка.

[44]

Обозначения на фиг. 2.; 6 - стержень из материала p проводимости, 7 - медный проводник - шина, 8 - милливольтметр с центральным положением стрелки, 9 - медный проводник электрической цепи.

[45]

На фиг. 1. и фиг. 2. продемонстрирована работа таких ветвей в качестве источников тока и показано направления движения электронов в медных шинах 2 и 7, принадлежавшим к стержням 1 и 6 соответственно с n и p типом проводимости, при создании на всей их длине градиента температуры (Τ10).

[46]

Милливольтметры 3 и 8 имеют двухстороннее отклонения стрелки и служат для определения направления движения электронов.

[47]

Примем для удобства показывать на фигурах не направление тока, а направление движения электронов в цепи, так как принятое условное направление тока противоположно направлению движения электронов и приводит к путанице.

[48]

Создание градиента температур на полупроводниковой ветви осуществляется газовой горелкой 5.

[49]

При нагреве справа n стержня 1 с шиной 2, как показано на фиг. 1 электроны движутся в медной шине от нагревателя к охладителю, при нагреве посредине движение электронов в цепи отсутствует, а при нагреве слева электроны также движутся в медной шине от горячего конца к холодному.

[50]

При нагреве справа или слева p стержня 6 с шиной 7, как показано на фиг. 2. движение электронов в медной шине всегда направлено от охладителя в сторону нагревателя, то есть всегда противоположно движению электронов в медной шине с n стержнем при одном и том же месте нагреве.

[51]

Как показано на фиг. 1. и фиг. 2., полупроводниковые ветви, собранные из стержней n и p типов, имеющие тепловой и электрический контакт с медными шинами по всей длине, начиная нагревателем и кончая холодильником, генерируют термо ЭДС. Причем эта термо ЭДС снимается с концов медных шин.

[52]

Направление электронов в медных шинах, имеющих тепловой и электроический контакт со стержнями n и p типов при одинаковом нагреве, как показано на фиг 1 и фиг 2, всгда имеют противоположное направление, что позволяет собрать термоэлемент с последовательно соединенными медными шинами, одни концы которых будут находиться в зоне нагрева, а другие в зоне охлаждения.

[53]

На фиг. 3. представлено устройство такого термоэлемента.

[54]

Здесь 1 - левый стержень из материала n проводимости, например, висмута, имеющий тепловой и электрический контакт с медной шиной 2 по всей длине стержня, 6 - правый стержень из материала p проводимости, например сурьмы, имеющий тепловой и электрический контакт с медной шиной 7 по всей длине стержня.

[55]

Материал шин из меди выбран, как пример материала, из термоэлектрического ряда металлов и полупроводников, занимающей примерно среднее положение между потенциалами полупроводников с n и p типом проводимости и примененных для стержней термоэлемента.

[56]

Верхние части медных шин 2 и 7 имеют электрический и тепловой контакт с медной пластиной 15 находящейся при температуре T1 нагревателя и снабжающая верхние части полупроводниковых стержней теплотой Q(T1).

[57]

Нижние части медных шин 2 и 7 имеют также электрический и тепловой контакт соответственно с медными токосьемниками 16 и 17, находятся при температуре Т0 охладителя и служат для отвода теплоты Qn(T0) и Qp(T0) с нижних частей полупроводниковых стержней.

[58]

Медные токосъемники 16 и 17 термоэлемента подключены к нагрузке RH с помощью электрической цепи 18.

[59]

Согласно результатам, представленных на фиг. 1. и фиг. 2., в которых движение электронов в медной шине, контактирующей с полупроводниковым стержнем n типа, направлено от нагревателя к охладителю, а движение электронов в медной шине, контактирующего с полупроводниковым стержнем p типа, направлено от охладителя к нагревателя, напряжение термоэлемента представляет сумму напряжений вырабатываемым каждым полупроводниковым стержнем.

[60]

В представленном термоэлементе, в отличие от прототипа, реализуется обратимый термоэлектрический цикл, в котором нет места необратимым процессам.

[61]

На фиг. 4.а. представлен механизм протекания обратимых процессов в левом стержне 1 из материала с проводимостью n типа, имеющего тепловой и электрический контакт по всей длине с медной шиной 2, концы которой с медными проводниками 20 образуют электрическую цепь с нагрузочным сопротивлением RH.

[62]

Верхний конец полупроводникового стержня находится при температуре нагревателя Τ1 и потребляет теплоту Qn(T1), а с нижнего конца отводится теплота Qn(T0) при температуре Т0 в результате чего на стержне длиной L, фиг. 4.а, образуется градиент температур (Τ10).

[63]

На фиг. 4.б. показан выделенный элементарный слой δL полупроводникового стержня с медной шиной длиной и находящихся в зоне градиента температур δΤ.

[64]

В выделенном элементарном слое полупроводникового стержня с медной шиной показаны конечные размеры толщин: Δl1 - полупроводникового стержня с n проводимостью и Δl2 - медной шины.

[65]

Работает элементарный термоэлемент следующим образом.

[66]

На длине элементарного слоя длиной δL существует элементарный градиент температур δΤ. Зона контакта А полупроводникового стержня и медной шины в элементарном слое находится при температуре Т+δΤ, а зона контакта Б находится при температуре Т.

[67]

Стержень n типа, в зоне А, находясь при более высокой температуре по отношению к зоне Б принимает эмитируемые электроны под тепловым воздействием из медной шины, откуда они поступают в более холодную зону Б полупроводника n типа и снова возвращается в медную шину при более низкой температуре благодаря чему создается потенциал δU на длине элементарного слоя δL.

[68]

К основным свойствам такого обратимого элементарного термоэлектрического генератора относится то, что выделяемая теплота Пельтье в зоне Б меньше подводимой теплоты Зеебека в зоне А на величину работы по создания электрического потенциала δU с учетом второго закона термодинамики, учитывающего абсолютные температуры на элементарном слое.

[69]

Результатом работы элементарного слоя является то, что на слое образуется градиент температур, вызванный обратимым процессом. Поэтому механизм протекания процессов в левом стержне из материала с проводимостью n типа, находящегося в тепловом и электрическом контакте по всей длине с медной шиной 2, концы которой медными проводниками образуют электрическую цепь 20 с нагрузочным сопротивлением RH, также является обратимым.

[70]

Ввиду того, что градиент температур (Τ10) на левом стержне длиной L представляет сумму элементарных градиентов температур δΤ на каждом из элементарных слоев как следствие обратимых процессов, то потерям на теплопроводность, какая присуща прототипу, нет места, так как потерям на теплопроводность противостоит градиент температур созданный обратимыми процессами во всем объеме полупроводникового стержня совместно с медной шиной.

[71]

Или, отсутствие потерь на теплопроводность является следствием того, что согласно закону Фурье тепловой поток отсутствует, так как равен нулю градиента температур на стержне относительно условного градиента температур образованного теплопроводностью.

[72]

Единственными факторами появления потерь, связанных с теплопроводностью, являются переразмеренные, конструктивно заданные толщины Δl1 - полупроводникового стержня с n проводимостью и Δl2 - медной шины.

[73]

Аналогичным образом обстоит дело с потерями, связанными с выделением джоулевой теплоты.

[74]

Если в прототипе потери джоулевой теплоты связаны с потерей напряжения на активном сопротивлении, которое имеет полупроводниковый стержень термоэлектрического генератора прототипа, то в предложенном полупроводниковом стержне состоящего из полупроводникового материала находящегося в тепловом и электрическом контакте по всей длине с медной шиной, наоборот, на полупроводниковым стержне и медной шине по всей их длине генерируется электрическое напряжение, поэтому джоулевая теплота, в идеализированной постановке, не выделяется.

[75]

На фиг. 5.а. представлен механизм протекания обратимых процессов в правой полупроводниковой ветви - стержня 6 из материала с проводимостью p типа, имеющего тепловой и электрический контакт по всей длине с медной шиной 7, концы которой с медными проводниками образуют электрическую цепь 25 с нагрузочным сопротивлением RH.

[76]

Верхний конец полупроводникового стержня находится при температуре нагревателя Τ1 и потребляет теплоту Qp(T1) а с нижнего конца отводится теплота Qp(T0) при температуре Т0 в результате чего на стержне длиной L образуется градиент температур (Τ10).

[77]

На фиг. 5.б. показан выделенный элементарный слой полупроводниковой ветви длиной δL и находящегося в зоне градиента температур δΤ.

[78]

В выделенном элементарном слое полупроводниковой ветви - стержня с медной шиной показаны конечные размеры толщин: Δl6 - полупроводникового стержня с n проводимостью и Δl7 - медной шины.

[79]

Механизм протекающих термоэлектрических процессов в элементарном слое полупроводникового стержня длиной δL проводимостью p типа, контактирующего с медной шиной и находящегося в зоне градиента температур δΤ аналогичен процессам протекающих в элементарном слое полупроводникового стержня с проводимостью n типа.

[80]

Отличие состоит лишь в том, что в зоне контакта с более высокой температурой электроны эмитируются не с медной шины, а с полупроводника проводимостью p типа, из за чего движение электронов в медной шине направлено в сторону более высокой температуры.

[81]

Аналогичным образом протекающие процессы в элементарном слое образуют градиент температур, вызванный обратимыми процессами. Поэтому механизм протекания процессов в правом стержне 6 из материала с проводимостью p типа, контактирующего по всей длине с медной шиной 7 концы которой медными проводниками образуют электрическую цепь с нагрузочным сопротивлением RH, также является обратимым.

[82]

Таким образом, эффективность термоэлектрического цикла реализованного в термоэлементе представленного на фиг. 3., соответствует эффективности обратимой машины Карно.

[83]

На фиг. 6. представлен термоэлектрический генератор, собранный из термоэлектрических элементов, с последовательным соединением шин в зоне охладителя 31 с температурой Т0 и в зоне нагревателя 30 с температурой Τ1 и образующие единую электрическую цепь 33, замкнутую на нагрузку RH. Для определения снимаемой мощности к нагрузочному сопротивлению подсоединен вольтметр 32.

[84]

Нагреватель 30 и охладитель 31 имеют тепловую связь с соответственно горячими и холодными концами термоэлементов.

[85]

Напряжение V вырабатываемое термоэлектрическим генератором равно сумме напряжений вырабатываемыми термоэлектрическими элементами.

[86]

Термоэлектрический генератор начинает работать при обеспечении нагрева и охлаждения горячих и холодных соединений шин.

[87]

На фиг. 7. представлен термохолодильный элемент, составленный из стержней материалов n и р типов, имеющие тепловой и электрический контакт по всей длине с медной шиной.

[88]

Термоэлеменет холодильника состоит из полупроводникового стержня 1 - n типа, имеющего тепловой и электрический контакт по всей длине с медной шиной 2, и полупроводникового стержня 6 - р типа, имеющего тепловой и электрический контакт по всей длине с медной шиной 7.

[89]

В зоне создания холода Q(TX) (холодильника) на уровне температуры Тх полупроводниковые стержни электрически соединены с помощью медной перемычки 40, которая одновременно является и теплоприемником на уровне температур ТХ.

[90]

Верхние части полупроводниковых стержней n и p типов также имеют электрический контакт с медными токоприемниками 41 и 42, подсоединены с помощью медных проводников 43 к источнику питания UX. Медные токоприемники 41 и 42 одновременно являются теплоотводами (охладителями) теплоты Qn(T0) и Qp(T0) на уровне температур Т0.

[91]

Из условий обратимости термоэлектрических явлений следует, что для изменения направленности тепловых потоков, то есть, чтобы теплота поступала от менее нагретого тела более нагретому, необходимо поменять на обратное направление движения электронов в полупроводниковых стержнях n и p типов, что показано на фиг. 7.

[92]

На фиг. 8.а. показано производство холода в полупроводниковом стержне n типа.

[93]

В электрической цепи 45 приложенное напряжение UX приводит в движение электроны в стержне от холодильника с температурой ΤX к охладителю с температурой Т0, равной температуре окружающей среды.

[94]

На фиг. 8.б. показан механизм движения электронов и перенос теплоты в элементарном слое δL.

[95]

Потенциал электронов в зоне Б выше потенциала электронов в зоне А на δU, что создается внешним источником UX. Поэтому электроны эмитируют из медной шины 2 в зоне Б в полупроводник n типа и поглощают теплоту δQn(TX) и далее в зоне А под воздействием того же внешнего источника δU на элементарном слое δL эмитируют в медную шину 2 с выделением теплоты δQn(T0).

[96]

Таким образом, в полупроводниковом стержне n типа и длиной L, суммарная выделенная теплота Qn(T0) в охладитель при температуре окружающей среды Т0 будет складываться из теплоты Qn(TX) отобранной из холодильника плюс теплоты равной электрической энергии потребляемой от источника питания.

[97]

На фиг. 9.а. показано производство холода в полупроводниковом стержне p типа. В электрической цепи 50 приложенное напряжение UX приводит в движение электроны от охладителя с температурой Т0 в сторону понижения температуры до температуры холодильника ТX.

[98]

На фиг. 9.б. показан механизм движения электронов и перенос теплоты в элементарном слое.

[99]

Но так как в полупроводнике p типа энергию переносят дырки, которые движутся противоположно движению электронов, то теплота также будет переноситься от холодильника к охладителю.

[100]

Так в выделенном элементарном слое δL потенциал электронов δU в зоне С выше потенциала электронов в зоне Д, что создается внешним источником UX. Поэтому электроны эмитируют из медной шины 7 в зоне С в полупроводник p типа и выделяют теплоту δQ(T0) и далее в зоне Д под воздействием того же внешнего источника δU на элементарном слое δL эмитируют электроны в медную шину 7 с поглощением теплоты δ Q(TX).

[101]

Таким образом, в полупроводниковом стержне p типа и длиной L, суммарная выделенная теплота Q(T0) в охладителе при температуре окружающей среды Т0 будет складываться из теплоты Q(TX) отобранной из холодильника плюс теплоты равной электрической энергии потребляемой от источника питания.

[102]

На фиг. 10 показано холодильное устройство, собранное из термохолодильных элементов, с последовательным соединением шин в зоне охладителя 56, образующие единую электрическую цепь 55, с питанием от внешнего источника UX.

[103]

Холодильные части термохолодильных элементов имеют теплововой контакт с холодильником 57 с температурой ТX, а тепловыделяющие части термохолодильных элементов имеют тепловой контакт с охладителем 56 при температуре Т0 окружающей среды.

[104]

Холодильное устройство начинает работать при подключении устройства к источнику питания UX и обеспечивает перенос теплоты из холодильника с температурой ТX в охладитель с температурой Т0.

[105]

На фиг. 11 показано устройство теплового насоса состоящего термонагревающих элементов 1, 2 и 6, 7 последовательно соединенных в электрическую цепь 62 с питанием от внешнего источника UTH.

[106]

Тепловой насос на термонагревательных элементах работает по принципу термохолодильника, отбирая теплоту на нижнем температурном уровне и отводит ее на более высоком температурном уровне, с тем отличием, что холодильная часть 61 его находится при температуре Т0 окружающей среды и потребляет теплоту этой среды, а теплоотводящая 60 (греющая) находится при температуре ТТН сброса теплоты и отдает эту теплоту потребителю.

[107]

Нижние части термонагревающих элементов имеют тепловой контакт с тепловым резервуаром 61 теплоты окружающей среды при температуре Т0, а верхние греющие части термонагревающих элементов через тепловой контакт имеют сообщение с системой 60 отвода теплоты Q(TTH).

[108]

Тепловой насос на термонагревающих элементах начинает работать при подключении его к источнику питания UTH.

[109]

Использованные источники

[110]

1. Иоффе А.Ф., Физика полупроводников, Изд. АН СССР, Москва, Ленинград, 1957 г.

[111]

2. Кокорев Л.С., Харитонов В.В., Прямое преобразование энергии и термоядеорные энергетические установки. М.: Атомиздат, 1980 г.

[112]

3. Саркисов Α.Α., Якимов В.Α., Каплер Е.П. Термоэлектрические генераторы с ядерными источником теплоты. Под редакцией А.А. Саркисова. М.: Энергоатомиздат, 1987.

[113]

4. Кухлинг X., Справочник по физике. М.: Мир, 1985 г.

[114]

5. Патент РФ №2173007.

[115]

6. Патент РФ №2425298.

[116]

7. Патент РФ №2234765.

[117]

8. Патент РФ №2142177.

[118]

9. Патент РФ №2223573.

[119]

10. Патент РФ №2186439.

Как компенсировать расходы
на инновационную разработку
Похожие патенты