Изобретение относится к области радиотехники и может быть использовано при испытании технических средств на устойчивость к воздействию электромагнитного поля. Комплекс для испытаний технических средств на устойчивость к воздействию электромагнитного поля включает в себя систему создания испытательного поля, включающую в себя излучающую антенну, систему калибровки испытательного поля и систему управления. Система создания испытательного поля имеет возможность перемещения в вертикальном и горизонтальном направлениях и включает в себя сменные коаксиально-волноводный переход Н-образного сечения и согласующий переход, один из концов которого соединен с указанным коаксиально-волноводным переходом, а другой - с излучающей антенной, выполненной в виде пирамидального рупора, конструктивно связанного с отражателем, поверхность которого представляет собой часть эллипсоида вращения, образованного вращением эллипса вокруг большой оси, таким образом, что ближний по отношению к отражателю фокус указанного эллипсоида вращения расположен в геометрической вершине пирамидального рупора, а другой фокус - в зоне испытаний технических средств. Согласующий переход выполнен в форме усеченной пирамиды прямоугольного поперечного сечения, вдоль оси симметрии каждой из больших боковых граней которой расположено ребро, имеющее экспоненциальный профиль, выступающее внутрь согласующего перехода. Система калибровки испытательного поля включает в себя поглощающий экран и тепловизионную камеру, связанную с системой управления оптоволоконной линией связи. Технический результат заключается в уменьшении энергопотребления комплекса в результате обеспечения возможности создания испытательного поля с характеристиками, достаточными для проведения испытаний без использования мощных усилителей, и упрощении процесса испытания технических средств на устойчивость к воздействию электромагнитного поля. 2 з.п. ф-лы, 7 ил.
1. Комплекс для испытаний технических средств на устойчивость к воздействию электромагнитного поля, включающий в себя систему создания испытательного поля, включающую в себя излучающую антенну, систему калибровки испытательного поля и систему управления, отличающийся тем, что система создания испытательного поля имеет возможность перемещения в вертикальном и горизонтальном направлениях и включает в себя сменные коаксиально-волноводный переход Н-образного сечения и согласующий переход, один из концов которого соединен с указанным коаксиально-волноводным переходом, а другой - с излучающей антенной, выполненной в виде пирамидального рупора, конструктивно связанного с отражателем, поверхность которого представляет собой часть эллипсоида вращения, образованного вращением эллипса вокруг большой оси, таким образом, что ближний по отношению к отражателю фокус указанного эллипсоида вращения расположен в геометрической вершине пирамидального рупора, а другой фокус - в зоне испытаний технических средств, согласующий переход выполнен в форме усеченной пирамиды прямоугольного поперечного сечения, вдоль оси симметрии каждой из больших боковых граней которой расположено ребро, имеющее экспоненциальный профиль, выступающее внутрь согласующего перехода, а система калибровки испытательного поля включает в себя поглощающий экран и тепловизионную камеру, связанную с системой управления оптоволоконной линией связи. 2. Комплекс по п. 1, отличающийся тем, что поглощающий экран выполнен из полимерной пленки с резистивным покрытием. 3. Комплекс по п. 1 или 2, отличающийся тем, что система создания испытательного поля расположена на дистанционно управляемой платформе.
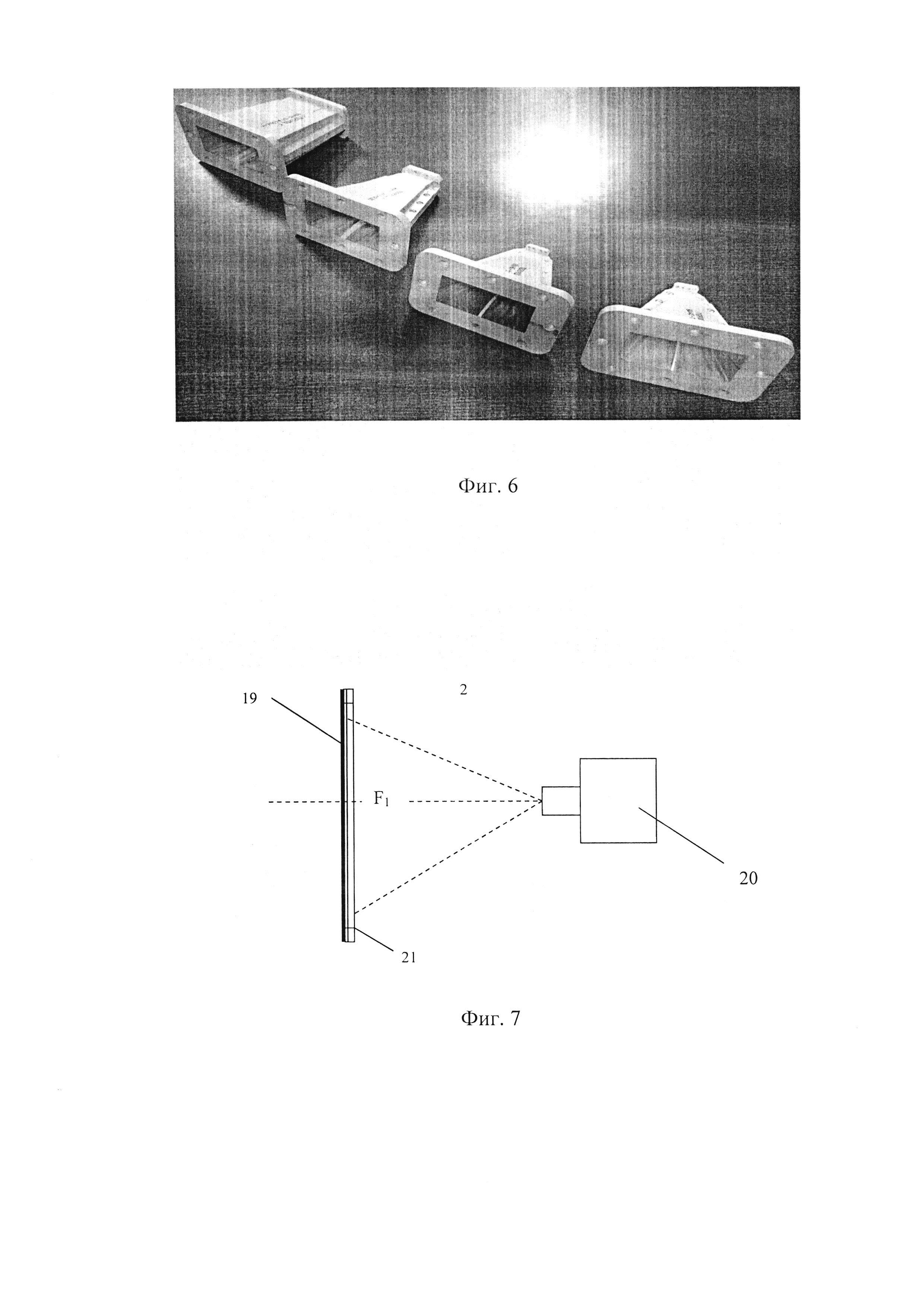
Изобретение относится к области радиотехники и может быть использовано при испытании технических средств на устойчивость к воздействию электромагнитного поля. Известен комплекс для испытаний на устойчивость технических средств к воздействию электромагнитного поля, включающий в себя систему создания испытательного поля, систему калибровки испытательного поля и систему управления (см. ГОСТ 30804.4.3-2013 Совместимость технических средств электромагнитная. Устойчивость к радиочастотному электромагнитному полю. Требования и методы испытаний). Система создания испытательного поля известного комплекса включает в себя последовательно соединенные генератор сигнала, усилитель мощности, направленный ответвитель падающей и отраженной волны и излучающую антенну, в качестве которой в диапазоне частот выше 1 ГГц используют рупорную антенну. Система калибровки испытательного поля включает в себя приемную антенну, с помощью которой замеряют напряженность поля в различных точках интересующей области в плоскости однородного поля и, анализируя полученные значения, делают вывод о соответствии испытательного поля установленным критериям. Известный комплекс принят в качестве ближайшего аналога к заявленному комплексу. Основным недостатком известного комплекса является необходимость использования мощных усилителей для создания испытательного поля с характеристиками, достаточными для проведения испытаний. Кроме этого, зона испытаний находится в дальней зоне излучающей антенны, которая не является стационарной, и ее расположение в значительной степени зависит от размера апертуры антенны и рабочей частоты. Так же используемый способ калибровки испытательного поля требует проведения множества измерений, что увеличивает время проведения испытаний. Технической проблемой, решаемой настоящим изобретением, является создание комплекса для испытания технических средств на устойчивость к воздействию электромагнитного поля, лишенного указанных недостатков. В результате достигается технический результат, заключающийся в уменьшении энергопотребления комплекса в результате обеспечения возможности создания испытательного поля с характеристиками, достаточными для проведения испытаний без использования мощных усилителей, и упрощении процесса испытания технических средств на устойчивость к воздействию электромагнитного поля. Указанный технический результат достигается созданием комплекса для испытания технических средств на устойчивость к воздействию электромагнитного поля, включающего в себя систему создания испытательного поля, систему калибровки испытательного поля и систему управления, в котором система создания испытательного поля имеет возможность перемещения в вертикальном и горизонтальном направлениях и включает в себя сменные коаксиально-волноводный переход Н-образного сечения и согласующий переход, один из концов которого соединен с указанным коаксиально-волноводным переходом, а другой - с излучающей антенной, выполненной в виде пирамидального рупора, конструктивно связанного с отражателем, поверхность которого представляет собой часть эллипсоида вращения, образованного вращением эллипса вокруг большой оси, таким образом, что ближний по отношению к отражателю фокус указанного эллипсоида вращения расположен в геометрической вершине пирамидального рупора, а другой фокус - в зоне испытаний технических средств, согласующий переход выполнен в форме усеченной пирамиды с прямоугольным поперечным сечением, вдоль оси симметрии каждой из больших боковых граней которой расположено ребро, имеющее экспоненциальный профиль, выступающее внутрь согласующего перехода, а система калибровки испытательного поля включает в себя поглощающий экран и тепловизионную камеру, связанную с системой управления оптоволоконной линией связи. Согласно частному варианту выполнения поглощающий экран выполнен из полимерной пленки с резистивным покрытием. Согласно еще одному частному варианту выполнения система создания испытательного поля расположена на дистанционно управляемой платформе. На фиг. 1 представлено схематичное изображение заявленного комплекса для проведения испытаний технических средств на устойчивость к воздействию электромагнитного поля. На фиг. 2 представлен общий вид излучающей антенны. На фиг. 3 представлен общий вид согласующего перехода. На фиг. 4 представлено схематичное изображение продольного сечения согласующего перехода. На фиг. 5а и 5b представлены фотография коаксиально-волноводного перехода Н-образного поперечного сечения и схематичное изображение его поперечного сечения. На фиг. 6 представлена фотография комплекта согласующих переходов. На фиг. 7 представлено схематичное изображение системы калибровки испытательного поля. Комплекс для испытания технических средств на устойчивость к воздействию электромагнитного поля, представленный на фиг. 1, включает систему создания испытательного поля 1, имеющую возможность перемещения в вертикальном и горизонтальном направлениях, например, за счет расположения на дистанционно управляемой платформе (не показана), систему калибровки испытательного поля 2 и систему управления 3. Системы 1 и 2 расположены в безэховой камере либо на открытом пространстве. Система управления 3, включающая в себя, например, ПК, расположена в экранированном помещении 4. Система создания испытательного поля 1 включает в себя последовательно соединенные генератор сигналов 4 (например, СВЧ-диапазона), усилитель мощности 5, направленный ответвитель падающей и отраженной волны 6, коаксиально-волноводный переход 7 Н-образного сечения, согласующий переход 8 и излучающую антенну 9. К направленному ответвителю падающей и отраженной волны 6 подключены датчики падающей и отраженной мощности 10, связанные оптоволоконной линией связи 11 с системой управления 3. Генератор сигналов 4 также связан оптоволоконной линией связи 12 с системой управления 3. Излучающая антенна 9, как показано на фиг. 2, выполнена в виде пирамидального рупора 13, конструктивно связанного с отражателем 14. Поверхность отражателя 14 представляет собой часть эллипсоида вращения, образованного вращением эллипса (на фиг. 1 показан пунктирной линией) вокруг большой оси. Излучающая антенна 9 выполнена таким образом, что ближний по отношению к отражателю 14 фокус F2 указанного эллипсоида вращения совпадает с геометрической вершиной пирамидального рупора 13, а другой фокус F1 расположен в зоне испытаний технических средств (см. фиг. 1). Излучение, исходящее из фокуса F2, попадает на отражающую поверхность и фокусируется в фокусе F2, образуя фокальное пятно, поле в котором используется в качестве испытательного поля. Использование в заявленном комплексе излучающей антенны 9, способной фокусировать излучение, и использование, вследствие этого, поля фокального пятна в качестве испытательного поля позволяет значительно увеличить величину плотности потока энергии электромагнитного поля в зоне испытаний по сравнению с использованием рупорной антенны. Для обеспечения работы системы создания испытательного поля в широком диапазоне рабочих частот используется комплект из сменных коаксиально-волноводных переходов Н-образного сечения и соответствующих им согласующих переходов. Количество таких сменных переходов зависит от диапазона рабочих частот и величин рабочих частот указанных переходов. В частности, для покрытия диапазона от 2 ГГц до 40 ГГц может быть использован комплект из четырех коаксиально-волноводных переходов Н-образного сечения: WRD200093-NF10 (2,0÷4,8 ГГц), WRD475093-NF10 (4,75÷11,0 ГГц), WRD750093-NF10 (7,5÷18 ГГц) и WRD180093-KF10 (18,0÷40 ГГц) и соответствующих им четырех согласующих переходов. Каждый из согласующих переходов 8, как показано на фиг. 4, выполнен в форме усеченной пирамиды прямоугольного поперечного сечения, вдоль оси симметрии каждой из больших боковых граней которой расположено ребро 15 с экспоненциальным профилем, выступающее внутрь согласующего перехода. Широкий конец согласующего перехода 8 соединен фланцем 16 с фланцем 18 пирамидального рупора 13 излучающей антенны 9, а узкий конец - фланцем 17 с фланцем коаксиально-волноводного перехода Н-образного сечения 7. Экспоненциальный профиль каждого из ребер 15 рассчитывается (расчет приведен для верхнего ребра, показанного на фиг. 4) в декартовой системе координат по формуле: y=e где х - ось абсцисс, направленная вдоль оси симметрии перехода от фланца 17 к фланцу 16; a, b - параметры экспоненты, определяемые из соотношений: где L - длина перехода без учета толщины фланца 17, мм; h - расстояние от плоскости ребра до оси симметрии коаксиально-волноводного перехода Н-образного сечения (см. фиг 5б), мм; D - полувысота согласующего перехода 8 по торцу фланца 16, равная соответствующему параметру фланца 18 пирамидального рупора 13. Каждое ребро 15 по толщине фланца 17 имеет постоянную высоту. Зона перехода между частью ребра 15 с экспоненциальным профилем и частью ребра 15 постоянной высоты в области фланца 17 отшлифовывается таким образом, чтобы переход был гладкий и не содержал изломов. Ширина ребер согласующего перехода 8 равна ширине ребер соответствующего коаксиально-волноводного перехода Н-образного сечения 7. Система калибровки испытательного поля 2, представленная на фиг. 7, содержит поглощающий экран 19 и тепловизионную камеру 20, связанную с системой управления 3 оптоволоконной линией связи 23. Поглощающий экран 19 выполнен из полимерной теплопроводной пленки с резистивным покрытием, нанесенным со стороны излучающей антенны 9, натянутой на квадратную диэлектрическую рамку 21. Сторона рамки составляет (5-6)λмак, где λмак - максимальная длина волны рабочего диапазона. В частности, при минимальной рабочей частоте 2 ГГц площадь рамки составляет 1 м2. Резистивное покрытие может быть получено методом термовакуумного напыления сплавов, содержащих хром и никель (в частности, может использоваться сплав РС3710). Принцип калибровки испытательного поля с помощью поглощающего экрана и тепловизионной камеры основан на эффекте нагрева резистивного покрытия при падении на него электромагнитной волны и дистанционном фиксировании получившегося распределения температур покрытия с помощью тепловизионной камеры. Согласно закону Джоуля-Ленца мощность тепла, выделяемого в единице поверхности вещества за единицу времени, равна: w=jЕ=σЕ2, где j - поверхностная плотность тока на экране, А/м; Е - напряженность поля в фокальном пятне, В/м; σ - удельная поверхностная проводимость экрана, Сим. Следовательно, количество тепла, выделяемое за время t на участке площади ΔS (настолько малом, что поле на нем можно считать однородным): Δq1=w⋅t⋅dS=σE2⋅t⋅dS Количество тепла, необходимое для повышения температуры участка экрана площадью ΔS от Т1 до Т2, равно: где с - удельная теплоемкость экрана, Дж/(кг⋅К); m - масса экрана, кг; S - площадь экрана, м2; T1 и Т2 - начальная и конечная температура участка экрана, K. Плотность потока энергии Р в фокальном пятне равна: откуда следует, что Е2≈120 πР. Из уравнения баланса количества тепла на участке экрана следует (без учета тепловых потерь и процессов теплопереноса по площади экрана), что Δg1=Δq2. Таким образом, распределение температур на экране пропорционально распределению плотности потока энергии электромагнитного поля в фокальном пятне: Испытания технических средств на устойчивость к воздействию электромагнитного поля проводят следующим образом. В начале испытаний производят калибровку испытательного поля с помощью поглощающего экрана 19 и тепловизионной камеры 20. Поглощающий экран 19 размещают в зоне испытаний, которая расположена в области дальнего фокуса F1 поверхности отражателя 14 излучающей антенны 9. С помощью тепловизионной камеры 20 получают распределение температур на экране и затем, на основе этих данных, с помощью системы управления 3 получают распределение плотности потока энергии и соответственно напряженности электрического поля в зоне испытаний. После завершения процесса калибровки систему калибровки испытательного поля 2 убирают из зоны испытаний и размещают в ней испытуемые технические средства 23. К испытуемым техническим средствам 23 подключают средства контроля их функционирования (условно не показаны), которые (например, с помощью оптоволоконной линии связи) подсоединяют к системе управления 3. Проводят испытания в необходимых диапазонах частот и интенсивностей испытательного поля и обрабатывают информацию со средств контроля функционирования испытуемых технических средств посредством системы управления 3. Расположение системы создания испытательного поля 1 с возможностью перемещения в горизонтальном и вертикальном направлениях позволяет провести испытания технических средств крупногабаритных объектов (в частности, самолетов, вертолетов) посредством перемещения системы создания испытательного поля относительно испытуемого объекта и последовательного направления испытательного поля на его различные участки.


