патент
№ RU 2631355
МПК B65G53/00

Устройство для транспортирования мелко- и среднекусковых сыпучих материалов

Авторы:
Кудряшов Виталий Евгеньевич Волков Эдуард Петрович Волков Максим Эдуардович
Все (4)
Номер заявки
2016138470
Дата подачи заявки
29.09.2016
Опубликовано
21.09.2017
Страна
RU
Как управлять
интеллектуальной собственностью
Чертежи 
1
Реферат

Устройство для транспортирования мелко- и среднекусковых сыпучих материалов содержит воздуходувную машину, транспортирующий трубопровод, загрузочный бункер с питателем, систему подачи загружаемого материала с входным патрубком, соединенным с питателем через обратный клапан, дополнительный трубопровод с регулируемым запорным устройством для подачи части транспортирующей среды в систему подачи загружаемого материала, приемную емкость, а также ресивер, установленный на выходе из воздуходувной машины. Устройство содержит также установленную на выходе транспортирующего трубопровода помольную камеру с пылеразделителем и отбойной плитой Изобретение обеспечивает транспортировку загружаемого материала плотными порциями (поршнями), перемещающимися с высокой скоростью без завалов и перебоев в работе при пониженных энергозатратах. При этом за счет высокого динамического напора поршней обеспечивается размельчение транспортируемого материала без дополнительных затрат энергии, что существенно снижает энергозатраты на последующих этапах размельчения материала. 1 з.п. ф-лы, 1 ил.

Формула изобретения

1. Устройство для пневмотранспорта мелко- и среднекусковых сыпучих материалов, содержащее воздуходувную машину, транспортирующий трубопровод, соединенный с воздуходувной машиной трубой подвода транспортирующей среды, загрузочный бункер с питателем, систему подачи загружаемого сыпучего материала с прямолинейным входным патрубком, соединенным с питателем, трубопровод транспортирующей среды с регулируемым запорным устройством, присоединенный входом к трубе подвода транспортирующей среды, и приемную емкость, отличающееся тем, что система подачи загружаемого сыпучего материала дополнительно снабжена наклонными трубами, верхние участки которых подключены к прямолинейному входному патрубку, который снабжен обратным клапаном, а нижние участки каждой из наклонных труб снабжены прямолинейными участками, к которым подключены дополнительные наклонные трубы, нижние участки каждой из которых снабжены прямолинейными участками, выходы которых соединены с начальным участком транспортирующего трубопровода равномерно по его длине через отсекающие быстродействующие шиберы, при этом каждый участок наклонных труб выполнен с углом наклона не менее естественного угла откоса транспортируемого сыпучего материала, причем устройство снабжено ресивером, вход которого по транспортирующей среде подключен к выходу из воздуходувной машины, а выход - к трубе подвода транспортирующей среды, а трубопровод транспортирующей среды подключен входом к трубе подвода транспортирующей среды между выходом ресивера и входом регулируемого запорного устройства, встроенного в трубу подвода транспортирующей среды, а выход трубопровода транспортирующей среды подключен к прямолинейному входному патрубку системы подачи загружаемого сыпучего материала ниже обратного клапана.

2. Устройство по п. 1, отличающееся тем, что на выходе транспортирующего трубопровода установлена помольная камера, оборудованная пылеразделителем, размещенным в ее верхней части, и отбойной плитой, установленной напротив выхода транспортирующего трубопровода, а нижняя часть помольной камеры подключена к входу в приемную емкость.

Описание

[1]

Изобретение относится к области транспортирования сыпучих материалов по трубопроводам газовой средой за счет перепада давления за и перед порцией загруженного в трубопровод материала и может быть использовано в энергетике, металлургии, химической, пищевой и других отраслях промышленности.

[2]

Известна пневмотранспортная установка нагнетательного типа для мелко- и среднекусковых материалов, содержащая воздуходувную машину, нагнетательный трубопровод, загрузочное устройство, состоящее из бункера и питателя, и приемную емкость-отделитель (Спиваковский А.О., Дьячков В.К. Транспортирующие машины. М.: Машиностроение, 1983, с. 410-416, рис. 15.10, в).

[3]

Недостатком указанной пневмотранспортной установки является возможность завала транспортируемого материала на начальном участке трубопровода или необходимость обеспечения высокого динамического напора транспортирующей среды и соответствующей ему высокой скорости потока, что приводит к завышенному расходу транспортирующей среды и, соответственно, повышенным энергозатратам.

[4]

Известна принятая за прототип пневмотранспортная установка для транспортирования кусковых материалов во взвешенном состоянии, содержащая воздуходувную машину, нагнетательный трубопровод, загрузочный бункер и питатель для подачи транспортируемого материала в нагнетательный (транспортирующий) трубопровод.

[5]

При этом со стороны воздуходувной машины нагнетательный трубопровод состоит из одного или нескольких разъемных участков с фланцевыми соединениями, и к одному или нескольким упомянутым участкам приварены дугообразные в поперечном сечении поддоны, охватывающие снизу с зазором трубы этих участков и присоединенные дополнительным трубопроводом с задвижкой к примыкающему к воздуходувной машине нагнетательному трубопроводу, причем нижняя часть участка нагнетательного трубопровода, охваченная поддоном, выполнена с отверстиями, через которые поступает сжатый воздух, обеспечивающий поддержание транспортируемого материала во взвешенном состоянии (пат. РФ №2476364, МПК B65G 53/04, опубл. 27.02.2013 г.).

[6]

Однако известная нагнетательная пневмотранспортная установка, перемещающая транспортируемый материал во взвешенном состоянии, энергоемка и не гарантирует отсутствие завалов на участках нагнетательного трубопровода, не оснащенных поддонами, например, при изменении гранулированного состава, плотности, влажности и других характеристик транспортируемого материала, а также не обеспечивает бесперебойной подачи транспортирующей среды из-за возможных незапланированных кратковременных остановок воздуходувной машины или снижения ее мощности. Кроме того, входной участок нагнетательного трубопровода известного устройства достаточно сложен по конструкции и во избежание забивания поддонов требует создания специальной системы удаления частиц транспортируемого материала, случайно попадающих в поддон.

[7]

Техническим результатом изобретения является упрощение конструкции, снижение энергозатрат и повышение надежности за счет устранения завалов транспортируемого материала по всему тракту транспортирования и обеспечения бесперебойной подачи транспортирующей среды.

[8]

Технический результат достигается тем, что в заявляемом устройстве, содержащем воздуходувную машину, транспортирующий трубопровод, соединенный с воздуходувной машиной трубой подвода транспортирующей среды, загрузочный бункер с питателем, систему подачи загружаемого сыпучего материала с прямолинейным входным патрубком, соединенным с питателем, трубопровод транспортирующей среды с регулируемым запорным устройством, присоединенный входом к трубе подвода транспортирующей среды, и приемную емкость, система подачи загружаемого сыпучего материала дополнительно снабжена наклонными трубами, верхние участки которых подключены к прямолинейному входному патрубку, который снабжен обратным клапаном, а нижние участки каждой из наклонных труб снабжены прямолинейными участками, к которым подключены дополнительные наклонные трубы, нижние участки каждой из которых снабжены прямолинейными участками, выходы которых соединены с начальным участком транспортирующего трубопровода равномерно по его длине через отсекающие быстродействующие шиберы, при этом каждый участок наклонных труб выполнен с углом наклона не менее естественного угла откоса транспортируемого сыпучего материала, причем устройство снабжено ресивером, вход которого по транспортирующей среде подключен к выходу из воздуходувной машины, а выход - к трубе подвода транспортирующей среды, а трубопровод транспортирующей среды подключен к трубе подвода транспортирующей среды между выходом ресивера и входом регулируемого запорного устройства, встроенного в трубу подвода транспортирующей среды, а выход трубопровода транспортирующей среды подключен к прямолинейному входному патрубку системы подачи загружаемого сыпучего материала ниже обратного клапана.

[9]

Подключение ресивера устраняет возможные пульсации давления и расхода транспортирующей среды в транспортирующем трубопроводе, обеспечивая подачу транспортирующей среды в непрерывном режиме.

[10]

Для использования динамического напора перемещаемого с высокой скоростью транспортируемого материала на выходе транспортирующего трубопровода устанавливается помольная камера, оборудованная пылеразделителем, расположенным в ее верхней части, и отбойной плитой, установленной напротив выхода транспортирующего трубопровода, а нижняя часть помольной камеры подключена к входу в приемную емкость.

[11]

Установка помольной камеры обеспечивает дополнительное размельчение транспортируемого материала без дополнительных энергозатрат, что позволяет существенно снизить энергозатраты на последующих стадиях размельчения транспортируемого материала.

[12]

Сущность изобретения поясняется чертежом, на котором схематически изображено заявляемое устройство.

[13]

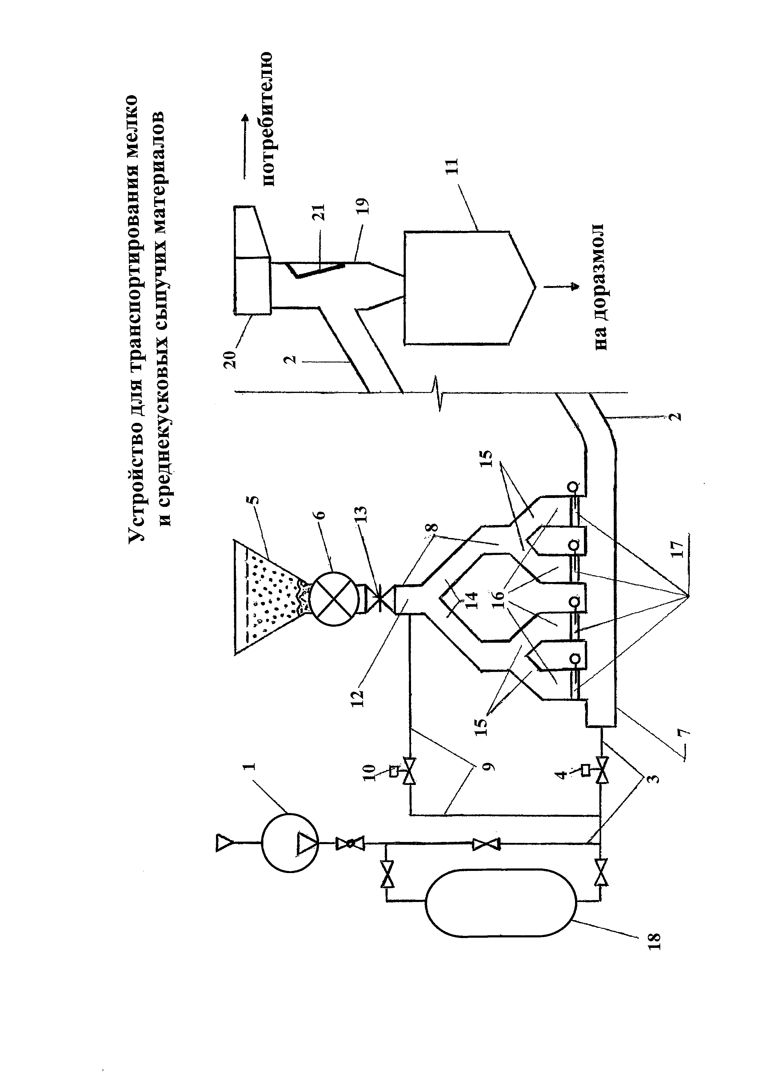
Устройство содержит воздуходувную машину 1, транспортирующий трубопровод 2, соединенный с воздуходувной машиной трубой подвода транспортирующей среды 3 с регулируемым запорным устройством 4 (электроклапан, затвор с пневмоприводом и пр.), загрузочный бункер 5 с питателем 6 для подачи загружаемого сыпучего материала в начальный участок 7 транспортирующего трубопровода 2 через систему подачи загружаемого сыпучего материала 8, трубопровод транспортирующей среды 9 с регулируемым запорным устройством 10 (электроклапан, затвор с пневмоприводом и пр.), подающий часть транспортирующей среды из трубы подвода транспортирующей среды 3 в систему подачи 8, приемную емкость 11 для приема транспортируемого материала.

[14]

При этом система подачи загружаемого сыпучего материала 8 состоит из прямолинейного входного патрубка 12, соединенного с питателем через обратный клапан 13, и наклонных труб 14, верхние участки которых подключены к прямолинейному входному патрубку 12, а нижние участки каждой из наклонных труб 14 снабжены прямолинейными участками, к которым подключены дополнительные наклонные трубы 15, нижние участки каждой из которых снабжены прямолинейными участками 16, выходы которых соединены с начальным участком 7 транспортирующего трубопровода 2 равномерно по его длине через отсекающие быстродействующие шиберы 17, при этом каждый участок наклонных труб выполнен с углом наклона не менее естественного угла откоса транспортируемого сыпучего материала.

[15]

Устройство также содержит ресивер 18, вход которого по транспортирующей среде подключен к воздуходувной машине 1, а выход - к трубе подвода транспортирующей среды 3, причем дополнительный трубопровод транспортирующей среды 9 подключен к трубе подвода транспортирующей среды 3 между выходом ресивера 18 и входом регулируемого запорного устройства 4, а выход дополнительного трубопровода транспортирующей среды 9 подключен к прямолинейному входному патрубку 12 системы подачи загружаемого сыпучего материала 8 ниже обратного клапана 13.

[16]

Для использования динамического напора перемещаемого с высокой скоростью транспортируемого материала на выходе транспортирующего трубопровода 2 установлена помольная камера 19 с пылеразделителем 20, расположенным в ее верхней части, и отбойной плитой 21, установленной напротив выхода транспортирующего трубопровода 2, а нижняя часть помольной камеры подключена к входу в приемную емкость 11.

[17]

Устройство действует следующим образом.

[18]

Транспортируемый сыпучий материал из бункера 5 подается питателем 6 через обратный клапан 13 в систему подачи 8 и далее самотеком через открытые отсекающие быстродействующие шиберы 17 заполняет начальный участок 7 транспортирующего трубопровода 2.

[19]

По окончании загрузки заданной порции транспортируемого материала (например, при достижении нижнего уровня материала в загружаемом бункере 5 или через фиксируемый период времени) формируется опережающий управляющий сигал на открытие регулируемого запорного устройства 10, а затем с разницей в десятые доли секунды поступают управляющие сигналы на закрытие быстродействующих шиберов 17 и открытие регулируемого запорного устройства 4.

[20]

При открытии регулируемого запорного устройства 10 осуществляется импульсная (то есть заданной продолжительности и с заданным расходом) подача части транспортирующей среды от воздуходувной машины 1 через ресивер 18 в систему подачи загружаемого сыпучего материала 8. Ресивер при этом предварительно заполняется и при каждом новом цикле транспортирования пополняется сжатой транспортирующей средой от воздуходувной машины. Под давлением поступившей в систему подачи 8 транспортирующей среды обратный клапан 13 удерживается в закрытом состоянии, не давая проникнуть транспортирующей среде в питатель 6 и бункер 5, а часть транспортируемого материала, оставшаяся в системе подачи 8, вытесняется из системы подачи 8 в начальный участок 7 транспортирующего трубопровода, формируя при этом плотные поршни транспортируемого материала, которые затем основным потоком транспортирующей среды, поступающим через регулируемое запорное устройство 4, перемещаются по транспортирующему трубопроводу 2 в помольную камеру 19, где транспортируемый материал размельчается при ударе об отбойную плиту 21. Измельченные частицы транспортируемого материала увлекаются транспортирующей средой в пылеразделитель 20, где отделяются грубые фракции, которые под действием силы тяжести ссыпаются в нижнюю часть помольной камеры и затем - в приемную емкость 11. Тонкие фракции транспортируемого материала потоком транспортирующей среды выносятся из пылеразделителя и используются, например, для прямого вдувания в топку котла ТЭС (не показаны), либо направляются через циклон в бункер пыли (не показаны), например, системы пылеприготовления ТЭС.

[21]

При перемещении транспортируемого сыпучего материала в виде плотных поршней практически отсутствуют радиальные составляющие скорости отдельных частиц материала. В связи с этим число частиц транспортируемого материала, контактирующих с внутренней поверхностью транспортирующего трубопровода, и интенсивность их воздействия значительно меньше по сравнению с перемещением частиц транспортируемого материала во взвешенном состоянии. Соответственно, меньше сопротивление трения, и, следовательно, снижены энергозатраты и износ стенок транспортирующего трубопровода.

[22]

После прохождения поршней транспортируемого материала по транспортирующему трубопроводу 2 (что контролируется по падению давления в нем) поступление транспортирующей среды прекращается, а быстродействующие шиберы 17 открываются и начинается подача транспортируемого материала в начальный участок 7 транспортирующего трубопровода 2, и цикл повторяется.

[23]

Отличительные признаки заявляемого устройства позволяют упростить его конструкцию, снизить энергозатраты на транспортировку мелко- и среднекусковых сыпучих материалов, повысить надежность устройства за счет устранения завалов транспортируемого материала по всему тракту транспортирования и обеспечения подачи транспортирующей среды в бесперебойном режиме, а также обеспечить дополнительное измельчение транспортируемого материала, что снизит энергозатраты на размол транспортируемого сыпучего материала на последующих стадиях его измельчения.

Как компенсировать расходы
на инновационную разработку
Похожие патенты