патент
№ RU 2657383
МПК F16K11/072

Переключатель скважин многоходовой

Авторы:
Малиночка Андрей Михайлович
Номер заявки
2017130944
Дата подачи заявки
01.09.2017
Опубликовано
13.06.2018
Страна
RU
Как управлять
интеллектуальной собственностью
Чертежи 
2
Реферат

[15]

Изобретение относится к арматуростроению и может быть использовано в различных устройствах, переключающих потоки жидкостей и газов, в частности в переключателях потока для установок измерения дебита скважинной жидкости и газа, и позволяет увеличить ресурс переключателя скважин многоходового (ПСМ) за счет снижения использования в его конструкции большого числа быстроизнашиваемых деталей. ПСМ содержит корпус с крышкой, выполненный с входными отверстиями для патрубков подвода рабочей жидкости, размещенный в корпусе поворотный вал с прижимной кареткой с уплотнительным кольцом, контактирующей с горизонтальными кольцевыми канавками, выполненными на внутренней цилиндрической поверхности корпуса по обеим сторонам от входных отверстий, и связанный с поворотным валом переключающий орган, выполненный в виде электропривода, непосредственно установленного на поворотный вал ПСМ, который закреплен на опоре, соединенной посредством стоек с крышкой, и снабжен встроенным электронным датчиком положения. Электропривод выполнен с возможностью свободного перемещения поворотного вала в обоих направлениях и имеет конструктивный люфт, обеспечивающий свободный ход валу для гарантированного самоустанавливания роликов каретки в пазы корпуса. Для настройки работы электропривод также снабжен маховиком. 1 з.п. ф-лы, 2 ил.

Формула изобретения

1. Переключатель скважин многоходовой (ПСМ), содержащий корпус с крышкой, выполненный с входными отверстиями для патрубков подвода рабочей жидкости, размещенный в корпусе поворотный вал с прижимной кареткой с уплотнительным кольцом, контактирующей с горизонтальными кольцевыми канавками, выполненными на внутренней цилиндрической поверхности корпуса по обеим сторонам от входных отверстий, и связанный с поворотным валом переключающий орган, отличающийся тем, что переключающий орган выполнен в виде электропривода, непосредственно установленного на поворотный вал ПСМ, закреплен на опоре, соединенной посредством стоек с крышкой, и снабжен встроенным электронным датчиком положения, при этом электропривод выполнен с возможностью свободного перемещения поворотного вала ПСМ в обоих направлениях, а также с конструктивным люфтом (возможностью свободного хода), обеспеченным зазором между зубьями шестерен его редуктора для гарантированного самоустанавливания роликов каретки в пазы корпуса и поджатая уплотнительного кольца каретки к отверстию входного патрубка.

2. Переключатель скважин многоходовой по п. 1, отличающийся тем, что электропривод снабжен маховиком.

Описание

[1]

Изобретение относится к арматуростроению и может быть использовано в различных устройствах, переключающих потоки жидкостей и газов, в частности в переключателях потока для установок измерения дебита скважинной жидкости и газа.

[2]

Известен переключатель скважин многоходовой (далее - ПСМ), содержащий корпус с крышкой, выполненный с входными отверстиями для патрубков подвода рабочей жидкости, размещенный в корпусе поворотный вал с прижимной кареткой с уплотнительным кольцом, контактирующей с горизонтальными кольцевыми канавками, выполненными на внутренней цилиндрической поверхности корпуса по обеим сторонам от входных отверстий, и связанный с поворотным валом переключающий орган, предназначенный для переключения канала измерения к патрубкам подачи рабочей жидкости, выполненный в виде гидроцилиндра с установленным в корпусе подпружиненным поршнем, соединенным с зубчатой рейкой, кинематически связанной с шестерней и храповым делителем. Подвижная каретка ограничена от поворота вокруг своей оси упорами тройника, свободно перемещающегося вдоль оси полого вала, и фиксируется с помощью роликов и пружины напротив входного патрубка, прилегая к наплавленной износостойкой поверхности корпуса (Патент РФ 2529270, опубл. 2014 г.).

[3]

Недостатком известного ПСМ является выполнение переключающего органа в виде гидропривода, включающго в себя много быстроизнашиваемых деталей, замена которых приводит к остановке процесса измерения продукции скважин. Кроме того, на ПСМ устанавливается только силовой гидроцилиндр, при этом электропривод с масляным бачком располагается на свободном месте и соединяется с ним через медную импульсную трубку, закрепленную к силовому гидроцилиндру, что увеличивает габарит ПСМ.

[4]

Задачей, на решение которой направлено заявляемое техническое решение, является увеличение ресурса ПСМ за счет снижения использования в его конструкции большого числа быстро изнашиваемых деталей.

[5]

Технический результат достигается тем, что в переключателе скважин многоходовом, содержащем корпус с крышкой, выполненный с входными отверстиями для патрубков подвода рабочей жидкости, размещенный в корпусе поворотный вал с прижимной кареткой с уплотнительным кольцом, контактирующей с горизонтальными кольцевыми канавками, выполненными на внутренней цилиндрической поверхности корпуса по обеим сторонам от входных отверстий, и связанный с поворотным валом переключающий орган, последний выполнен в виде электропривода, непосредственно установленного на поворотный вал ПСМ, закреплен на опоре, соединенной посредством стоек с крышкой, и снабженного встроенным электронным датчиком положения, при этом электропривод выполнен с возможностью перемещения поворотного вала ПСМ, а также с конструктивным люфтом (возможностью свободного хода), обеспеченным зазором между зубьями шестерен его редуктора для гарантированного самоустанавливания роликов каретки в пазы корпуса и поджатая уплотнительного кольца каретки к отверстию входного патрубка, при этом электропривод снабжен маховиком.

[6]

Выполнение переключающего органа в виде электропривода обеспечивает значительное увеличение ресурса работы ПСМ за счет исключения из конструкции ПСМ большого количества быстроизнашиваемых деталей, используемых при применении гидропривода. При этом применение электропривода не предусматривает каких-либо существенных изменений в программном обеспечении управляющего работой привода контроллера.

[7]

Выполнение электропривода с возможностью перемещения поворотного вала ПСМ в обе стороны обеспечивает поворот вала к заданному входному патрубку по наименьшему пути, то есть через наиболее оптимальное количество переключений с шагом, равным радиальному углу между соседними входными патрубками.

[8]

Наличие в электроприводе конструктивного люфта - свободного хода - обеспечивает возможность «докручивания» вала для самоустанавливания роликов каретки в пазы корпуса с целью обеспечения гарантированного поджатия уплотнения каретки к отверстию входного патрубка, в случае когда невозможно обеспечить перемещение вала на четко заданное значение угла.

[9]

Наличие у электропривода маховика обеспечивает ему ручной дублер, необходимый при проведении настроечных работ.

[10]

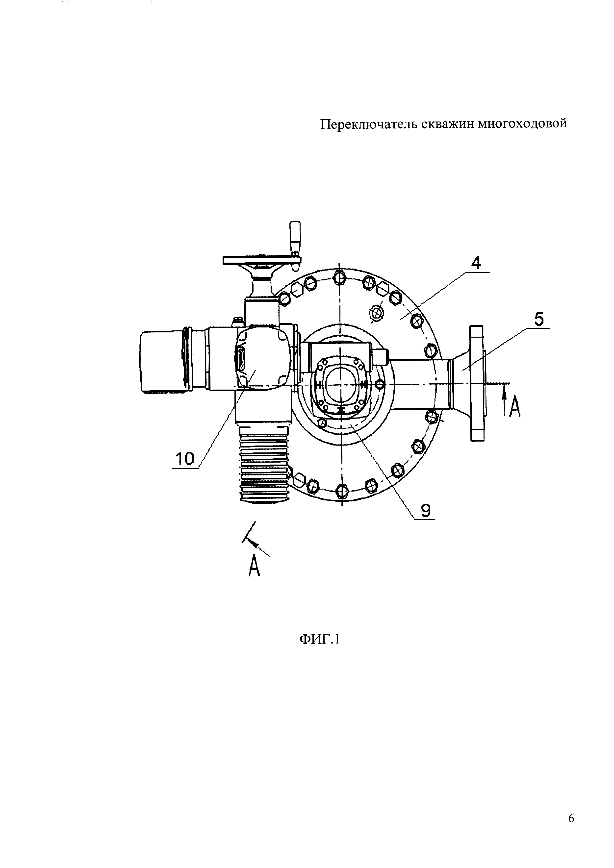
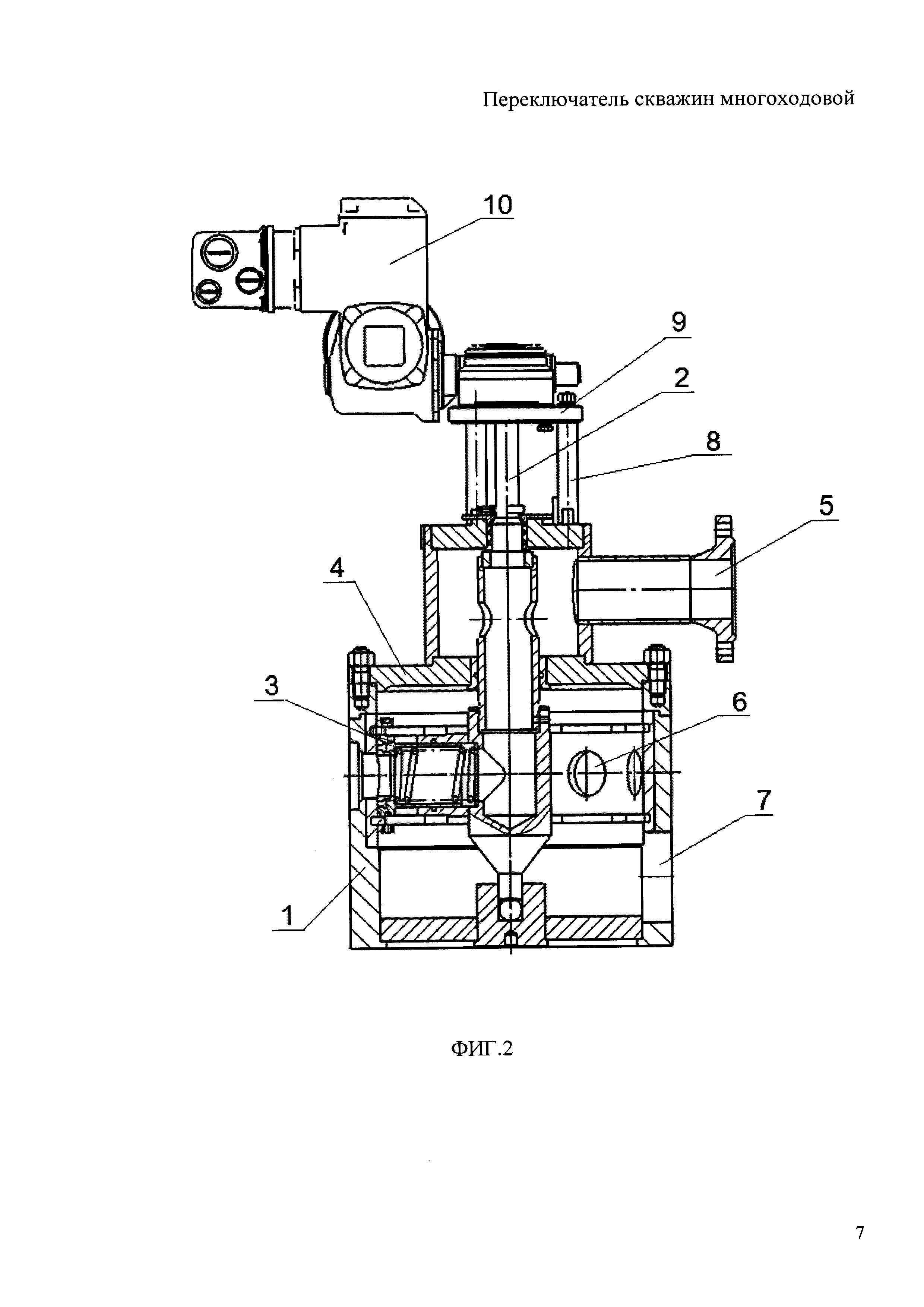
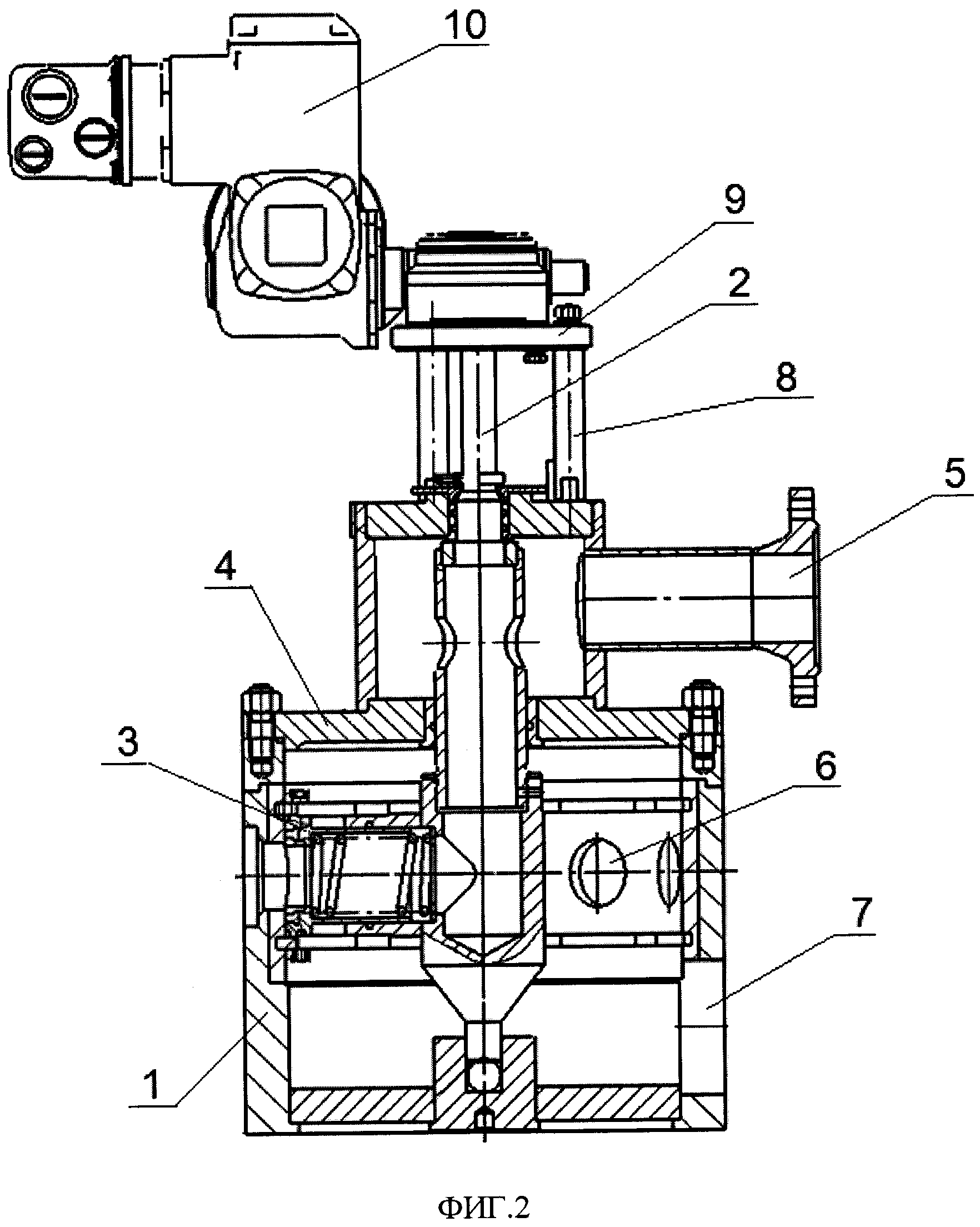
Изобретение поясняется графически, где на фиг. 1 показан вид сверху на ПСМ с электроприводом в сборе; на фиг. 2 - продольное сечения А-А на фиг. 1.

[11]

ПСМ содержит корпус 1, вал поворотный 2 с установленной на валу кареткой 3. Корпус закрывается крышкой 4 с приваренным к ней патрубком 5 для направления рабочей жидкости на измерение (исследование на процентное содержание жидкости - нефти, воды и газа), а затем в коллектор. Отверстия 6 предназначены для приварки входных патрубков, соединяющих корпус ПСМ со скважинами, к отверстию 7 приваривается выходной патрубок для направления рабочей жидкости, не подлежащих измерению, в коллектор. На крышке 4 посредством стоек 8 устанавливается опора 9, на которой закреплен электропривод 10, выполненный со встроенным электронным датчиком положения и имеющий посадочное отверстие в виде квадрата, соответствующее квадратному сечению хвостовика поворотного вала 2 (электронный датчик положения и посадочное отверстие электропривода на чертеже не показаны).

[12]

Рабочая жидкость поступает от скважин через входные патрубки, приваренные к отверстиям 6. От одной из скважин через систему отбора рабочая жидкость направляется на измерение через отводящий патрубок 5, а продукция остальных скважин через другой выходной патрубок 7 направляется в сливной коллектор. Ролики подвижной каретки 3 перемещаются по горизонтальным кольцевым канавкам, выполненным на внутренней цилиндрической поверхности корпуса 1 по обеим сторонам от входных отверстий. В канавках, вдоль центра входного отверстия выполнены впадины, в которые попадают ролики каретки 3, при этом пружина герметично прижимает уплотнительное кольцо к корпусу 1 и продукция конкретной скважины поступает в отводящий патрубок 5.

[13]

Для измерения всех подключенных скважин поворотный вал 2 вращается в сторону выбранной для измерения скважины посредством электродвигателя 10. Поскольку поворотный вал 2 может свободно перемещаться в обоих направлениях, переключение к выбранной для замера скважине может быть произведено по кратчайшему пути. При этом ролики выходят из впадины и уплотнительное кольцо перемещается свободно, не совершая скольжения по корпусу, что продлевает срок службы уплотнения. Электропривод имеет возможность поворачивать вал 2 на угол, равный радиальному углу между входными патрубками за счет установленного внутри встроенного электронного датчика положения, причем выполненный в шестеренном редукторе электропривода конструктивный люфт между зубчатыми шестернями, величина которого получена расчетным путем, обеспечивающий свободный ход поворотному валу 2, позволяет роликам каретки 3 самоустанавливаться в пазы корпуса. Ручной дублер - маховик позволяет настроить работу электропривода. Использование электропривода позволяет исключить из конструкции ПСМ такие детали, необходимые для подключения гидропривода и входящие в его состав, как: храповик, шестерни, гидроцилиндр, поршень, рейку, пружину, корпус, к которому крепится гидроцилиндр и датчик положения, крышку со штуцером для подачи масла в гидроцилиндр, уплотнительные кольца, масляный бачок с электроприводом и медную импульсную трубку.

[14]

Управление электроприводом производится от контроллера по программе, аналогичной управлению гидроприводом, либо диспетчером.

Как компенсировать расходы
на инновационную разработку
Похожие патенты