патент
№ RU 2552210
МПК F16J13/12

ЗАТВОР РАСПРЕДЕЛИТЕЛЬНОЙ КАМЕРЫ ДЛЯ ТЕПЛООБМЕННИКА

Авторы:
Таволгин Александр Юрьевич Головачев Владимир Леонидович Ижбердеев Алексей Юрьевич
Все (4)
Номер заявки
2013158248/06
Дата подачи заявки
26.12.2013
Опубликовано
10.06.2015
Страна
RU
Как управлять
интеллектуальной собственностью
Чертежи 
1
Реферат

Затвор предназначен для сосудов высокого давления, в частности теплообменных аппаратов. Затвор содержит последовательно расположенные крышку, внешнее компрессионное кольцо, мембрану с пазом, прокладку, корпус распределительной камеры, упорный болт и нажимной шток, при этом крышка с наружной криволинейной поверхностью выполнена с наружными трапециевидными зубьями, часть корпуса распределительной камеры с наружной криволинейной поверхностью выполнена с наружными трапециевидными зубьями, прокладка выполнена в виде спирально-навитого кольца, дополнительно введены хомут в виде обечайки, два полукольца с внутренней криволинейной поверхностью выполнены с внутренними трапециевидными зубьями, при этом зубья крышки, корпуса распределительной камеры и двух полуколец выполнены с углом профиля от 25° до 35°, и шпильки с гайками для предварительного соединения крышки с корпусом распределительной камеры до установки полуколец. Технический результат - снижение трудоемкости изготовления затвора распределительной камеры для теплообменника и повышение ремонтопригодности. 1 ил.

Формула изобретения

Затвор распределительной камеры для теплообменника, содержащий последовательно расположенные крышку, внешнее компрессионное кольцо, мембрану с пазом, обеспечивающим давление на прокладку для достижения герметичного соединения, прокладку, корпус распределительной камеры, упорный болт и соосно с ним нажимной шток, отличающийся тем, что крышка с наружной криволинейной поверхностью выполнена с наружными трапециевидными зубьями, часть корпуса распределительной камеры с наружной криволинейной поверхностью выполнена с наружными трапециевидными зубьями, прокладка выполнена в виде спирально-навитого кольца, дополнительно введены хомут в виде обечайки, два полукольца с внутренней криволинейной поверхностью выполнены с внутренними трапециевидными зубьями, при этом зубья крышки, корпуса распределительной камеры и двух полуколец выполнены с углом профиля от 25° до 35°, и шпильки с гайками для предварительного соединения крышки с корпусом распределительной камеры до установки полуколец.

Описание

[1]

Изобретение относится к общему машиностроению, в частности к сосудам высокого давления, в частности к способам герметизации съемной крышки распределительной камеры для теплообменных аппаратов разъемного типа с выдвижным трубным пучком.

[2]

Известен резьбовой затвор распределительной камеры для трубчатого теплообменника по патенту KR 20090026143 (A), МПК F28F 9/02, F28F 9/10, публикация 11.03.2009 г.

[3]

Резьбовой затвор распределительной камеры для трубчатого теплообменника, включающий приемный коллектор распределительной камеры, в котором предусмотрена прокладка на выступе распределительной камеры, паз мембраны предусмотрен для обеспечения давления на прокладку для достижения герметичного соединения, внешнее компрессионное кольцо, расположенное с тыльной стороны диафрагмы и нагруженное упорными болтами, находящимися на периферии резьбового стопорного кольца. Эта нагрузка через диафрагму передается на прокладку для достижения герметичного соединения. Внешнее компрессионное кольцо, поддерживаемое крышкой распределительной камеры, которая удерживается в положении резьбовым стопорным кольцом. Внешнее компрессионное кольцо, снабженное множеством радиальных отверстий, соответствующих группе отверстий в количестве, а также угловому положению; крышка распределительной камеры обеспечена рядом глухих отверстий, согласующихся с группой отверстий в коллекторе распределительной камеры и, следовательно, также с группой отверстий на внешнем компрессионном кольце; множество резьбовых фиксирующих шпилек предусмотрено для зацепления с группами отверстий вместе с регулировочными гайками, представленными на резьбовой части резьбовых фиксирующих шпилек; множество зажимов в форме пары перевернутых «L»-образных фасонных деталей или других форм или конфигураций, закрепленных на коллекторе распределительной камеры рядом с отверстиями и расположенных так, что резьбовая фиксирующая шпилька может легко пройти через такое же отверстие, в то время как радиальное перемещение гайки, направленное наружу, которое предусмотрено на шпильке, ограничивается зажимом; наружный диаметр коллектора распределительной камеры, сопрягаемый с резьбовым стопорным кольцом, снабженным жестким допуском для достижения точной посадки; направляющее кольцо, оснащенное резьбовыми креплениями в конце коллектора распределительной камеры, внутренний диаметр направляющего кольца обеспечен жестким допуском для достижения точной посадки с сопрягаемым наружным диаметром резьбового стопорного кольца.

[4]

Резьбовой затвор распределительной камеры для трубчатого теплообменника по патенту KR 20090026143 (A) принят в качестве прототипа.

[5]

Известный резьбовой затвор распределительной камеры для трубчатого теплообменника имеет следующие недостатки, усложняющие техническое обслуживание и ремонт аппарата:

[6]

- для установки запорной крышки распределительной камеры, имеющей массу до 10-15 тонн, требуется специальное удерживающее устройство для поддержания крышки в процессе заворачивания

[7]

- балансировка резьбового узла, выравнивание резьбового стопорного кольца с резьбой на корпусе распределительной камеры - трудоемкий и длительный процесс,

[8]

- перемещение стопорного кольца под собственным весом к нижней части профиля резьбы, в связи с чем возникает эксцентричность сил на резьбе, приводящая к высоким напряжениям, вследствие чего возможно заедание и повреждение резьбы при отвинчивании стопорного кольца в процессе демонтажа трубного пучка.

[9]

Задачей заявляемого изобретения является снижение трудоемкости при изготовлении герметизирующего затвора и повышение ремонтопригодности теплообменного аппарата.

[10]

Сущность заявляемого изобретения заключается в том, что соединение крышки с поверхностью корпуса распределительной камеры вынесено наружу в виде зубчатого трапециевидного зацепления, с помощью которого и происходит удержание крышки в закрытом положении от воздействия гидростатического давления. Данная конструкция является простой для изготовления, что позволяет легко производить разборку теплообменника для обслуживания, контроля или ремонта, а затем также легко собирать его для эксплуатации. При этом позволяет производить все операции с помощью подъемного крана.

[11]

Техническим результатом заявляемого изобретения является снижение трудоемкости при изготовлении затвора распределительной камеры для теплообменника и повышение ремонтопригодности теплообменного аппарата.

[12]

Данный технический результат достигается решением технической задачи, направленной на повышение долговечности и надежности конструкции затвора распределительной камеры.

[13]

Данная техническая задача решается за счет того, что в известном затворе распределительной камеры для теплообменника, содержащем последовательно расположенные крышку, внешнее компрессионное кольцо, мембрану с пазом, обеспечивающим давление на прокладку для достижения герметичного соединения, прокладку, корпус распределительной камеры, упорный болт и соосно с ним нажимной шток, крышку с наружной криволинейной поверхностью, выполненной с наружными трапециевидными зубьями, часть корпуса распределительной камеры с наружной криволинейной поверхностью, выполненной с наружными трапециевидными зубьями, прокладка, выполненная в виде спирально-навитого кольца, дополнительно введены хомут в виде обечайки, два полукольца с внутренней криволинейной поверхностью, выполненные с внутренними трапециевидными зубьями, при этом зубья крышки, корпуса распределительной камеры и двух полуколец выполнены с углом профиля от 25° до 35°, и шпильки с гайками для предварительного соединения крышки с корпусом распределительной камеры до установки полуколец.

[14]

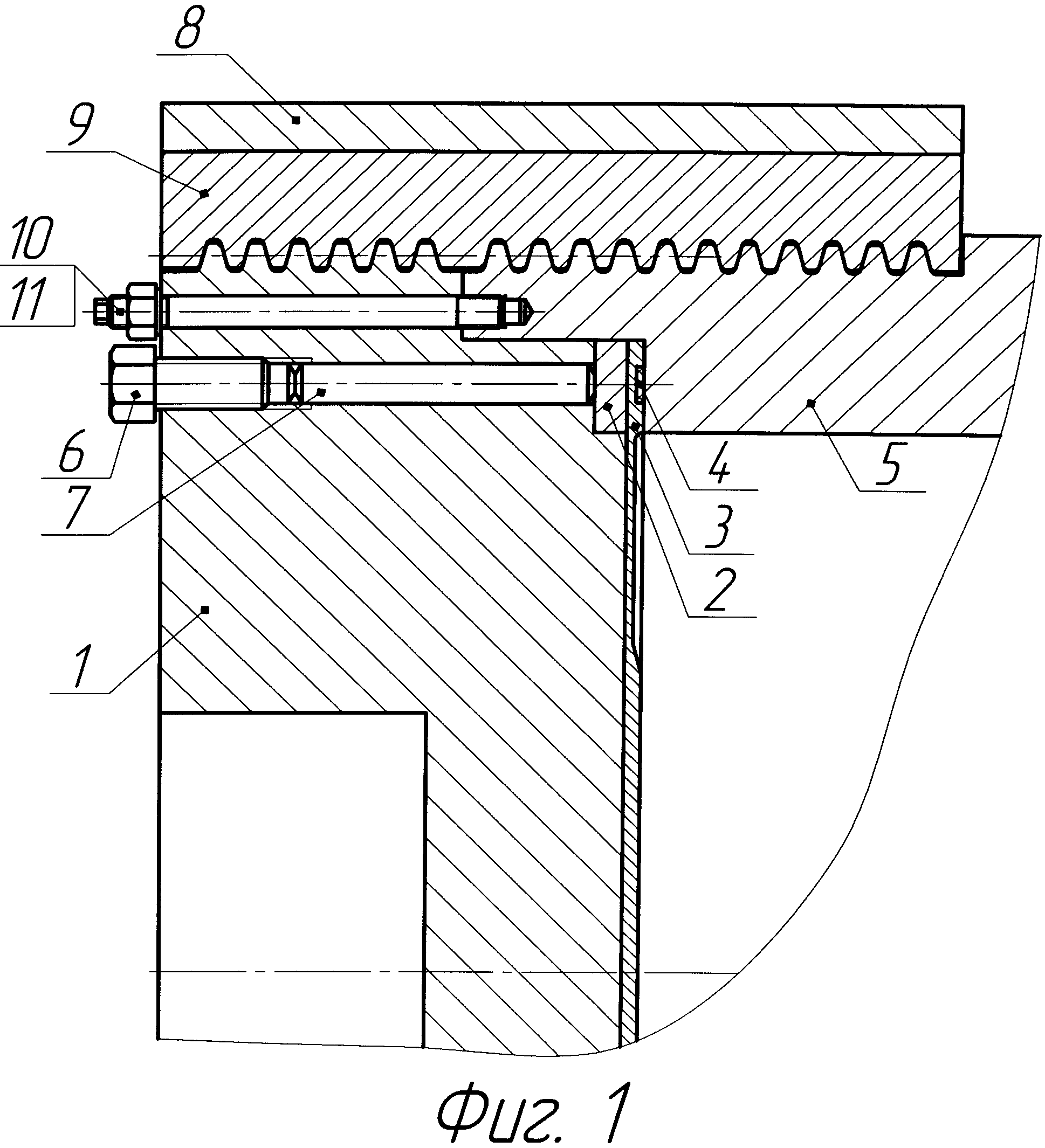
Конструкция затвора распределительной камеры для теплообменника представлена на чертеже (фиг.1).

[15]

Затвор распределительной камеры для теплообменника содержит последовательно расположенные крышку 1, внешнее компрессионное кольцо 2, мембрану 3 с пазом, обеспечивающим давление на прокладку для достижения герметичного соединения, прокладку 4, корпус распределительной камеры 5, упорный болт 6 и соосно с ним нажимной шток 7, при этом крышка 1 с наружной криволинейной поверхностью выполнена с наружными трапециевидными зубьями, часть корпуса 5 распределительной камеры с наружной криволинейной поверхностью выполнена с наружными трапециевидными зубьями, прокладка 4 выполнена в виде спирально-навитого кольца, дополнительно введены хомут 8 в виде обечайки, два полукольца 9 с внутренней криволинейной поверхностью выполнены с внутренними трапециевидными зубьями, при этом зубья крышки 1, корпуса 5 распределительной камеры и двух полуколец 9 выполнены с углом профиля от 25° до 35°, и шпильки 10 с гайками 11 для предварительного соединения крышки 1 с корпусом 5 распределительной камеры до установки полуколец 9.

[16]

Затвор распределительной камеры для теплообменника работает следующим образом (см. фиг.1).

[17]

Прокладка 4, выполненная в виде спирально-навитого кольца, устанавливается в паз мембраны 3. Внутри корпуса распределительной камеры 5 размещается мембрана 3. Для удержания мембраны 3 в требуемом положении устанавливается компрессионное кольцо 2, которое закрепляется к корпусу 5 камеры посредством установочных винтов с плоским концом и шлицем под отвертку. Установочные винты ввинчены в радиальные отверстия с резьбой, предусмотренной в компрессионном кольце 2, при этом установочные винты размещаются заподлицо относительно внутреннего диаметра компрессионного кольца 2, чтобы не мешать крышке камеры.

[18]

Крышка 1, с помощью грузоподъемного устройства, заводится внутрь корпуса 5 распределительной камеры и фиксируется посредством шпилек 10 и гаек 11. Для соединения крышки 1 с поверхностью корпуса 5 распределительной камеры снаружи на трапециевидные зубья крышки и корпуса устанавливаются два полукольца 9, которые стягиваются посредством четырех кронштейнов, шпилек и гаек. После этого на два полукольца 9 задвигается хомут 8. Затем внутрь крышки 1, через нарезанные в ней резьбовые отверстия устанавливаются нажимные штоки 7 и вкручиваются упорные болты 6. Для затяжки болтов 6 необходимо ослабить крепежные элементы, стягивающие два полукольца 9, и закрутить болты 6 с помощью динамометрического ключа в последовательности «модифицированной звезды» в несколько проходов до указанного значения крутящего момента, обеспечивающего уплотнение узла прокладки 4.

[19]

Затвор готов к проведению гидравлического испытания и работе. При этом давление, возникающее внутри корпуса распределительной камеры, передается через зубчатое зацепление на полукольца, удерживаемые установленным сверху хомутом.

[20]

Изготовлен и прошел гидроиспытания опытный образец затвора распределительной камеры теплообменника. Образец выдержал испытания заданным пробным давлением при нормальных условиях. Одновременно с гидравлическими испытаниями производилось экспериментальное определение напряженно-деформированного состояния элементов конструкции затвора с помощью тензометра. Результат выполненных экспериментальных исследований показал, что характер распределения и уровень фактических напряжений на поверхности затвора, в целом, соответствуют данным расчетов, выполненных на основании численных методов анализа.

[21]

Использование данной конструкции позволило снизить трудоемкость изготовления затвора при обеспечении его герметичности и повысить ремонтопригодность.

Как компенсировать расходы
на инновационную разработку
Похожие патенты