патент
№ RU 2672015
МПК F02K3/075

ПРОМЕЖУТОЧНЫЙ КОРПУС КОМПРЕССОРА ДВУХКОНТУРНОГО ТУРБОРЕАКТИВНОГО ДВИГАТЕЛЯ

Авторы:
Вовк Михаил Юрьевич Стуконог Виктор Викторович Гусенко Сергей Михайлович
Все (4)
Номер заявки
2017127921
Дата подачи заявки
04.08.2017
Опубликовано
08.11.2018
Страна
RU
Как управлять
интеллектуальной собственностью
Чертежи 
4
Реферат

Изобретение относится к области турбомашиностроения, а именно к элементам конструкции промежуточных корпусов газотурбинных двигателей. Указанный технический результат достигается тем, что промежуточный корпус турбомашины с разделителем потока, содержащий силовые стойки, размещенные между наружным и внутренним контурами и соединенные между собой кольцевым коническим разделителем потока турбомашины, согласно изобретению разделитель потока выполнен составным в виде подвижных и неподвижных секторов, причем неподвижные сектора выполнены за одно целое с силовыми стойками, между которыми расположены подвижные сектора, торцевые стенки которых соединены поворотными осями с близлежащими неподвижными секторами, а задние стенки подвижных секторов кинематически соединены с приводом, размещенным на промежуточном корпусе. Техническим результатом, достигаемым при использовании заявленного изобретения, является снижение удельного расхода топлива за счёт снижения потерь полного давления, в результате оптимального обтекания набегающего потока. 4 з.п. ф-лы, 4 ил.

Формула изобретения

1. Промежуточный корпус турбомашины с разделителем потока, содержащий силовые стойки, размещенные между наружным и внутренним контурами и соединенные между собой кольцевым коническим разделителем потока турбомашины, отличающийся тем, что разделитель потока выполнен составным в виде подвижных и неподвижных секторов, причем неподвижные сектора выполнены за одно целое с силовыми стойками, между которыми расположены подвижные сектора, торцевые стенки которых соединены поворотными осями с близлежащими неподвижными секторами, а задние стенки подвижных секторов кинематически соединены с приводом, размещенным на промежуточном корпусе.

2. Промежуточный корпус турбомашины по п. 1, отличающийся тем, что система привода содержит приводное кольцо с установленными на нем пальцами, соединенное по меньшей мере с одним силовым гидроцилиндром, установленным на статоре турбомашины при помощи рычага с тягами.

3. Промежуточный корпус турбомашины по п. 1, отличающийся тем, что на задней стенке подвижных секторов разделителя потока выполнена наклонная прорезь с возможностью контактировать с соответствующим пальцем привода.

4. Промежуточный корпус турбомашины по п. 1, отличающийся тем, что поворотные оси снабжены буртиками, в свою очередь в торцевых стенках подвижных секторов выполнены соосные с поворотными осями отверстия и проточки под буртики для фиксации поворотных осей посредством разрезных распорных колец, которые размещены в соответствующих проточках.

5. Промежуточный корпус турбомашины по п. 1, отличающийся тем, что неподвижные сектора разделителя потока снабжены сферическими подшипниками, контактирующими с поворотными осями.

Описание

[1]

Изобретение относится к области турбомашиностроения, а именно, к элементам конструкции промежуточных корпусов газотурбинных двигателей.

[2]

Известен промежуточный корпус компрессора двухконтурного турбореактивного двигателя, содержащий силовые стойки, размещенные между наружным и внутренним контурами, выходные кромки которых соединены кольцевым разделителем контуров двигателя.

[3]

/ RU №2269021, МПК F02K 3/02, опубликовано: 27.01.2006 / -прототип.

[4]

Недостаток известного промежуточного корпуса заключается в том, что положение кольцевого разделителя контуров не позволяет обеспечить его оптимальное обтекание потоком при различных режимах работы двигателя, что приводит к повышению удельного расхода топлива.

[5]

Техническим результатом, достигаемым при использовании заявленного изобретения, является снижение удельного расхода топлива.

[6]

Указанный технический результат достигается тем, что промежуточный корпус турбомашины с разделителем потока, содержащий силовые стойки, размещенные между наружным и внутренним контурами, и соединенные между собой кольцевым коническим разделителем потока турбомашины, согласно изобретению разделитель потока выполнен составным в виде подвижных и неподвижных секторов, причем неподвижные сектора выполнены за одно целое с силовыми стойками, между которыми расположены подвижные сектора, торцевые стенки которых соединены поворотными осями с близлежащими неподвижными секторами, а задние стенки подвижных секторов кинематически соединены с приводом, размещенным на промежуточном корпусе.

[7]

При изменении режима работы двигателя расход воздуха через внутренний контур меняется, при его увеличении повышаются потери полного давления при обтекании кольцевого конического разделителя потока, его выполнение в виде подвижных и неподвижных секторов обеспечивает возможность изменения его положения, в зависимости от режима работы двигателя, за счет кинематического соединения с приводом, расположенным на промежуточном корпусе, что позволяет снизить потери полного давления, в результате оптимального обтекания набегающего потока, что приводит к снижению удельного расхода топлива.

[8]

Сущность заявленного изобретения поясняется чертежами, на которых изображена конструкция промежуточного корпуса с регулируемым коническим разделителем потока.

[9]

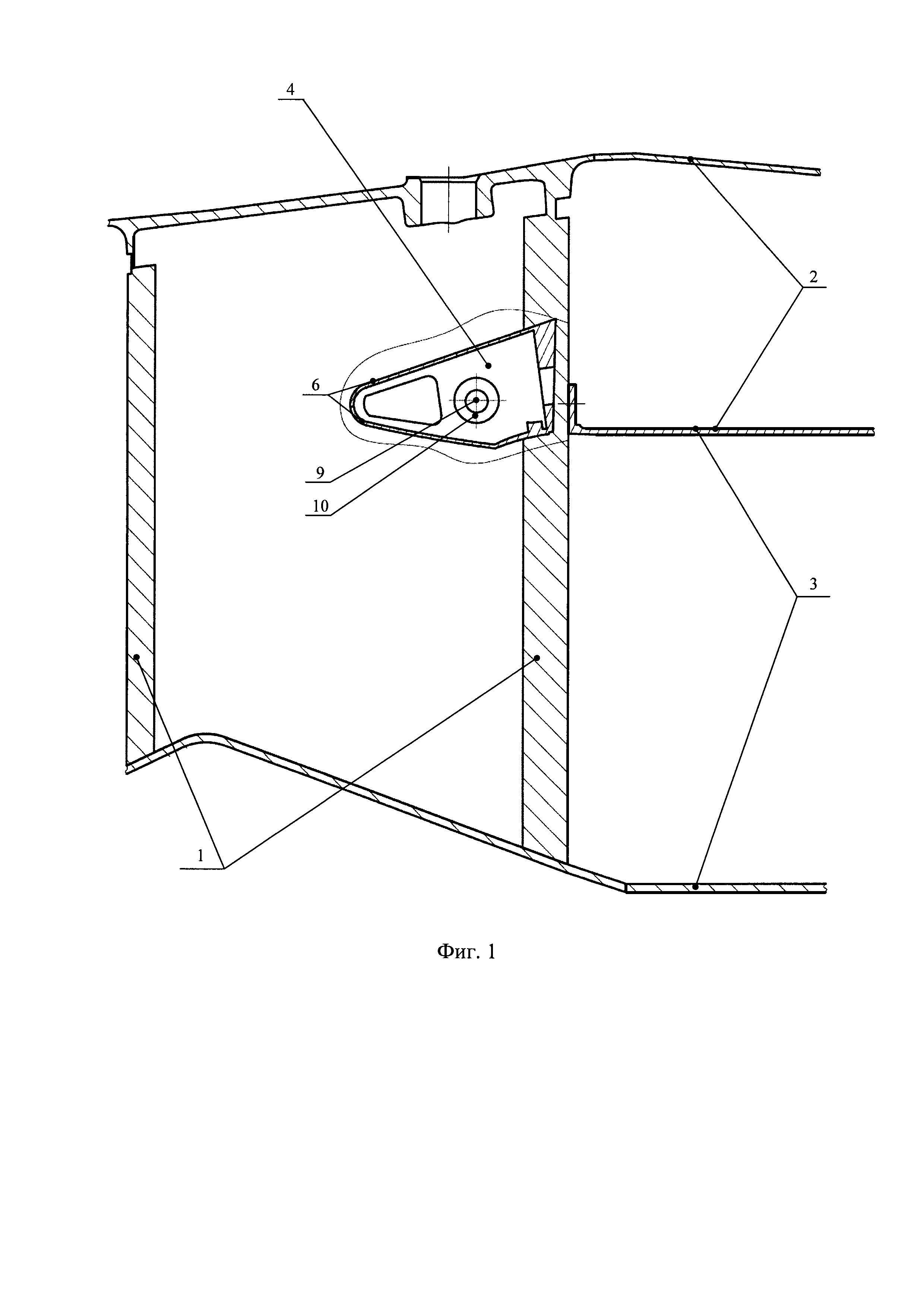
На фигуре 1 представлена принципиальная схема расположения регулируемого разделителя потока промежуточного корпуса.

[10]

На фигуре 2 представлено взаимное расположение подвижных и неподвижных секторов регулируемого разделителя потока промежуточного корпуса.

[11]

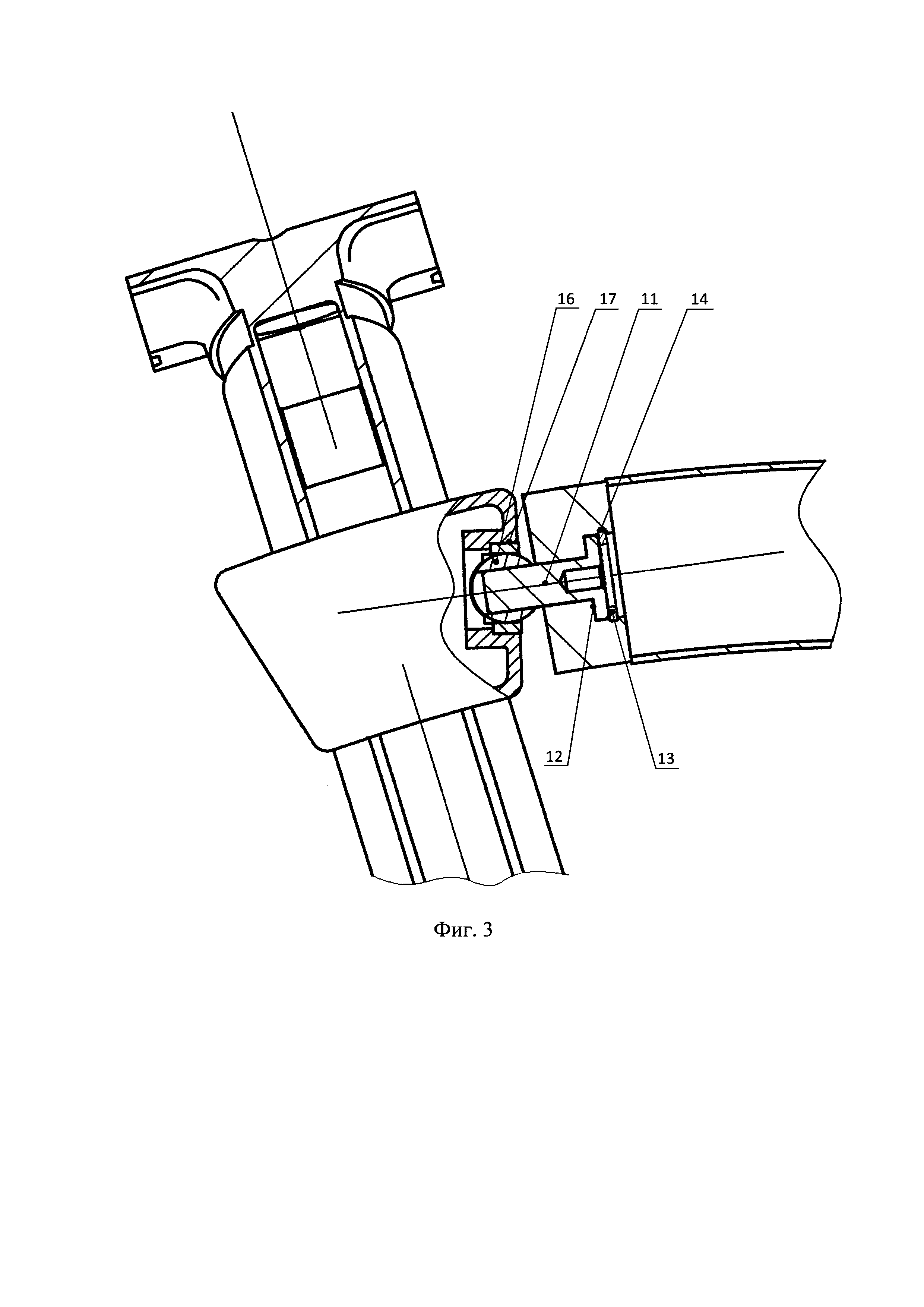
На фигуре 3 представлена фиксация подвижного сектора регулируемого разделителя потока промежуточного корпуса.

[12]

На фигуре 4 представлена механизация регулируемого разделителя потока промежуточного корпуса.

[13]

Промежуточный корпус турбомашины с регулируемым разделителем потока, состоит из силовых стоек (1), размещенных между наружным (2) и внутренним (3) контурами и соединенные подвижными (4) и неподвижными (5) секторами, которые образуют кольцевой разделитель контуров турбомашины. Неподвижные сектора (5) выполнены зацело с силовыми стойками (1). Каждый подвижный сектор (4) состоит из двух пластин (6), торцевых (7) и задней (8) стенок. Каждый подвижный сектор (4) соединен с близлежащими неподвижными секторами (5) с помощью поворотных осей (11), снабженных буртиками (12), в свою очередь в торцевых стенках (7) подвижных секторов (4) выполнены соосные с поворотными осями отверстия (9) и проточки (10) под буртики (12) для фиксации поворотных осей (11) посредством разрезных распорных колец (13), которые размещены в соответствующих канавках (14). Подвижные сектора (4) закреплены на торцевых стенках (15) неподвижных секторов (5) при помощи установки поворотных осей (11) в сферические подшипники (16), запрессованные в отверстия (17).

[14]

Изменение положения подвижных секторов (4) осуществляется посредством гидроцилиндра (18) и приводной механизации (19-25). Механизация передает усилие от гидроцилиндра (18) на подвижные сектора по силовой связи: коромысла (19), наружной тяги (20), поворотного рычага (21), тяги (22), кронштейна (23), кольца привода (24), приводные пальцы (25). Приводные пальцы (25) выполненные с возможностью контактировать с соответствующими задними стенками (8) подвижных секторов (4) по внутренней поверхности косой прорези (26). При повороте кольца привода (24) приводные пальцы (25) воздействуют на соответствующие подвижные сектора (4), обеспечивая их синхронное отклонение.

Как компенсировать расходы
на инновационную разработку
Похожие патенты