патент
№ RU 2652399
МПК E21B43/267

Способ гидравлического разрыва пласта с глинистыми прослоями

Авторы:
Салимов Олег Вячеславович
Номер заявки
2017106545
Дата подачи заявки
27.02.2017
Опубликовано
26.04.2018
Страна
RU
Как управлять
интеллектуальной собственностью
Чертежи 
3
Реферат

Изобретение относится к нефтегазодобывающей промышленности и может быть применено для гидравлического разрыва продуктивного пласта, расположенного между породами-неколлекторами - глинистыми прослоями. Способ включает перфорацию пласта с использованием зарядов большого диаметра и глубокого проникновения, спуск колонны насосно-компрессорных труб – НКТ - с пакером в скважину, посадку пакера, проведение гидравлического разрыва пласта – ГРП - закачиванием через скважину по колонне НКТ с пакером в продуктивный пласт гидроразрывной жидкости - сшитого геля с последующей закачкой проппанта через интервал перфорации пласта, стравливание давления из скважины. Перфорацию пласта выполняют под кровлей в верхней 1/4 части высоты пласта и над подошвой в нижней 1/4 части высоты пласта с использованием зарядов глубокого проникновения, а в средней 1/2 части высоты пласта перфорацию выполняют с использованием зарядов большего диаметра, после чего выполняют отбор пластовой жидкости через интервалы перфорации пласта в объеме 5 м. Далее спускают колонну НКТ с пакером в скважину так, чтобы нижний конец колонны НКТ находился на уровне кровли пласта, осуществляют посадку пакера в скважине. Затем закачкой гидроразрывной жидкости - сшитого геля на водной основе в объеме 6 м- инициируют развитие трещины с последующим ее развитием в длину и креплением путем последовательной закачки трех порций проппанта различной фракции. Причем первая порция содержит проппант мелкой фракции 20/40 меш массой 30% от общей массы проппанта, вторая порция - проппант средней фракции 16/20 меш массой 50% от общей массы проппанта, третья порция - проппант крупной фракции 12/18 меш массой 20% от общей массы проппанта, при этом закачку фракций проппанта каждой порции производят со ступенчатым изменением расхода, первую порцию закачивают с расходом 2,5 м/мин, вторую порцию - с расходом 3,0 м/мин, третью порцию - с расходом 3,5 м/мин. Технический результат заключается в повышении эффективности проведения ГРП. 3 ил.

Формула изобретения

Способ гидравлического разрыва пласта с глинистыми прослоями, включающий перфорацию пласта с использованием зарядов большого диаметра и глубокого проникновения, спуск колонны насосно-компрессорных труб – НКТ - с пакером в скважину, посадку пакера, проведение гидравлического разрыва пласта – ГРП - закачиванием через скважину по колонне НКТ с пакером в продуктивный пласт гидроразрывной жидкости - сшитого геля - с последующей закачкой проппанта через интервал перфорации пласта, стравливание давления из скважины, отличающийся тем, что перфорацию пласта выполняют под кровлей в верхней 1/4 части высоты пласта и над подошвой в нижней 1/4 части высоты пласта с использованием зарядов глубокого проникновения, а в средней 1/2 части высоты пласта перфорацию выполняют с использованием зарядов большего диаметра, после чего выполняют отбор пластовой жидкости через интервалы перфорации пласта в объеме 5 м3, далее спускают колонну НКТ с пакером в скважину так, чтобы нижний конец колонны НКТ находился на уровне кровли пласта, осуществляют посадку пакера в скважине, затем закачкой гидроразрывной жидкости - сшитого геля на водной основе - в объеме 6 м3 инициируют развитие трещины с последующим ее развитием в длину и креплением путем последовательной закачки трех порций проппанта различной фракции, причем первая порция содержит проппант мелкой фракции 20/40 меш массой 30% от общей массы проппанта, вторая порция - проппант средней фракции 16/20 меш массой 50% от общей массы проппанта, третья порция - проппант крупной фракции 12/18 меш массой 20% от общей массы проппанта, при этом закачку фракций проппанта каждой порции производят со ступенчатым изменением расхода, первую порцию закачивают с расходом 2,5 м3/мин, вторую порцию - с расходом 3,0 м3/мин, третью порцию - с расходом 3,5 м3/мин.

Описание

[1]

Изобретение относится к области нефтегазодобывающей промышленности, в частности, может быть использовано для гидравлического разрыва продуктивного пласта, расположенного между породами-неколлекторами - глинистыми прослоями, с целью исключения прорыва трещины в соседние горизонты, в том числе и водоносные.

[2]

Способ гидравлического разрыва продуктивного пласта с глинистым прослоем и подошвенной водой (патент RU №2566542, МПК E21B 43/26, опубл. 27.10.2015 г., бюл. №30) включает спуск колонны насосно-компрессорных труб (НКТ) с пакером в скважину, посадку пакера, проведение гидравлического разрыва пласта (ГРП) закачиванием гидроразрывной жидкости по колонне НКТ с пакером через интервал перфорации в продуктивный пласт с образованием и последующим креплением трещины, стравливание давления из скважины. До спуска в скважину колонны НКТ с пакером геофизическими методами определяют ориентацию главного максимального напряжения в продуктивном пласте. Затем в верхней половине продуктивного пласта осуществляют перфорацию, ориентированную в направлении главного максимального напряжения. Далее отсекают нижнюю половину продуктивного пласта скважины, спускают колонну НКТ с пакером в скважину так, чтобы нижний конец колонны НКТ находился на уровне кровли продуктивного пласта. Производят посадку пакера, осуществляют ГРП закачкой по колонне НКТ гидроразрывной жидкости, в качестве которой используют линейный гель, с расходом 0,3 м3/мин с созданием трещины в продуктивном пласте. Затем производят крепление трещины в продуктивном пласте в четыре цикла чередующейся закачкой по колонне НКТ через интервал ориентированной перфорации продуктивного пласта равными порциями линейного геля с облегченным проппантом 20/40 меш и равными порциями сшитого геля с добавлением соли NаСl с концентрацией 400 кг/м3. Причем равные порции сшитого геля по объему в два раза меньше равных порций линейного геля. Количество равных порций сшитого геля на одну порцию меньше равных порций линейного геля, причем концентрацию облегченного проппанта 20/40 меш в линейном геле ступенчато увеличивают на 100 кг/м3 с первой по третью порции в каждом цикле начиная с концентрации 100 кг/м3. В последнем четвертом цикле производят закачку одной порции линейного геля, содержащего облегченный проппант 16/20 меш с концентрацией 400 кг/м3. Затем производят закачку и продавку 15% водного раствора соляной кислоты в трещину продуктивного пласта в объеме, равном половине суммы объемов линейного и сшитого гелей, закачанных в трещину в процессе крепления трещины.

[3]

Недостатки способа:

[4]

- во-первых, высокая вероятность создания гидродинамической связи с соседними горизонтами, так как при проведения ГРП происходит рост трещины в высоту (вверх, вниз), что приводит к прорыву трещины через породы-неколлекторы (глинистые прослои) в процессе проведения ГРП в выше- и/или нижележащие пласты;

[5]

- во-вторых, низкая эффективность крепления трещины, так как вследствие роста трещины в высоту ограничивается рост трещины в длину, что приводит к низкому охвату трещиной дренируемой части пласта;

[6]

- в-третьих, низкая проводимость создаваемой трещины и неспособность к удержанию проппанта от выноса в скважину (при реализации способа используют облегченный проппант);

[7]

- в-четвертых, технологически сложный процесс реализации способа, требующий больших финансовых материальных затрат (линейный и сшитый гели, облегченный проппант, соляная кислота, соль NаСl);

[8]

- в-пятых, высокая пожароопасность, так как в процессе реализации способа используется гидроразрывная жидкость - сшитый гель на углеводородной основе (нефть), которая готовится на устье скважины.

[9]

Наиболее близким по технической сущности и достигаемому результату является способ гидроразрыва низкопроницаемого пласта с глинистыми прослоями и подошвенной водой (патент RU №2544343, МПК E21B 43/26, опубл. 20.03.2015 г., бюл №8), включающий спуск колонны НКТ с пакером в скважину, посадку пакера, проведение гидроразрыва закачиванием через скважину по колонне НКТ с пакером в продуктивный пласт гидроразрывной жидкости с последующей закачкой проппанта через интервал перфорации низкопроницаемого пласта, стравливание давления из скважины. Дополнительно производят временную изоляцию интервала перфорации низкопроницаемого пласта. Перфорируют интервал глинистого прослоя с использованием чередующихся зарядов большого диаметра и глубокого проникновения. Затем спускают колонну НКТ с пакером в скважину так, чтобы нижний конец колонны НКТ находился на уровне кровли глинистого прослоя. Осуществляют посадку пакера в скважине. Производят гидроразрыв низкопроницаемого пласта с образованием трещин закачкой гидроразрывной жидкости по колонне НКТ через интервалы перфорации глинистого прослоя. Далее в трещины закачивают оторочку сшитого геля на углеводородной основе в объеме 3-5 м3 с расходом 10 м3/мин. Причем в качестве проппанта используют проппантную смесь. После чего производят крепление трещин порционной закачкой гидроразрывной жидкости и проппантной смеси начиная с концентрации проппантной смеси 400 кг/м3 со ступенчатым увеличением ее концентрации на 200 кг/м3 в гидроразрывной жидкости в каждой порции и расходом 5 м3/мин. Проппантную смесь готовят на устье скважины в следующем соотношении, мас. %: пропант 12/40 меш - 30%; проппант 18/20 меш. - 30%; кварцевая мука - 40%. По окончании гидроразрыва низкопроницаемого пласта удаляют временную изоляцию интервала перфорации низкопроницаемого пласта. Проводят перфорацию низкопроницаемого пласта с образованием гидравлической связи между стволом скважины и трещиной гидроразрыва.

[10]

Недостатки способа:

[11]

- во-первых, высокая вероятность создания гидродинамической связи с соседними горизонтами, так как при проведении ГРП происходит рост трещины в высоту (вверх, вниз), что приводит к прорыву трещины через породы-неколлекторы (глинистые прослои) в процессе проведения ГРП в выше- и/или нижележащие пласты;

[12]

- во-вторых, низкая эффективность проведения ГРП, так как вследствие роста трещины в высоту ограничивается рост трещины в длину, что приводит к низкому охвату закрепленной трещины в дренируемой части пласта;

[13]

- в-третьих, низкая проводимость создаваемой трещины при использовании проппантной смеси в соотношении, мас. %: проппант 12/40 меш - 30%; проппант 18/20 меш. - 30%; кварцевая мука - 40%, и ее неспособность к удержанию проппанта в трещине от выноса в скважину при последующем освоении и эксплуатации скважины;

[14]

- в-четвертых, искусственное ограничение дебита скважины после проведения ГРП, так как кварцевая мука, используемая при реализации способа, имеет очень низкую проницаемость по сравнению с проппантом;

[15]

- в-пятых, высокая пожароопасность, так как в процессе реализации способа используется гидроразрывная жидкость - сшитый гель на углеводородной основе (нефть), которая готовится на устье скважины.

[16]

Техническими задачами изобретения являются исключение создания гидродинамической связи через породы-неколлекторы с выше- и/или нижележащими горизонтами в процессе проведения ГРП, а также повышение эффективности проведения ГРП, увеличение проводимости создаваемой трещины и предотвращение выноса проппанта в скважину, а также увеличение дебита скважины после проведения ГРП и исключение пожароопасности.

[17]

Поставленные технические задачи решаются способом гидравлического разрыва пласта с глинистыми прослоями, включающим перфорацию пласта с использованием зарядов большого диаметра и глубокого проникновения, спуск колонны насосно-компрессорных труб – НКТ - с пакером в скважину, посадку пакера, проведение ГРП - закачиванием через скважину по колонне НКТ с пакером в продуктивный пласт гидроразрывной жидкости - сшитого геля с последующей закачкой проппанта через интервал перфорации пласта, стравливание давления из скважины.

[18]

Новым является то, что перфорацию пласта выполняют под кровлей в верхней 1/4 части высоты пласта и над подошвой в нижней 1/4 части высоты пласта с использованием зарядов глубокого проникновения, а в средней 1/2 части высоты пласта перфорацию выполняют с использованием зарядов большего диаметра, после чего выполняют отбор пластовой жидкости через интервалы перфорации пласта в объеме 5 м3, далее спускают колонну НКТ с пакером в скважину так, чтобы нижний конец колонны НКТ находился на уровне кровли пласта, осуществляют посадку пакера в скважине, затем закачкой гидроразрывной жидкости - сшитого геля на водной основе - в объеме 6 м3 инициируют развитие трещины с последующим ее развитием в длину и креплением путем последовательной закачки трех порций проппанта различной фракции, причем первая порция содержит проппант мелкой фракции 20/40 меш массой 30% от общей массы проппанта, вторая порция - проппант средней фракции 16/20 меш массой 50% от общей массы проппанта, третья порция - проппант крупной фракции 12/18 меш массой 20% от общей массы проппанта, при этом закачку фракций проппанта каждой порции производят со ступенчатым изменением расхода, первую порцию закачивают с расходом 2,5 м3/мин, вторую порцию - с расходом 3,0 м3/мин, третью порцию - с расходом 3,5 м3/мин.

[19]

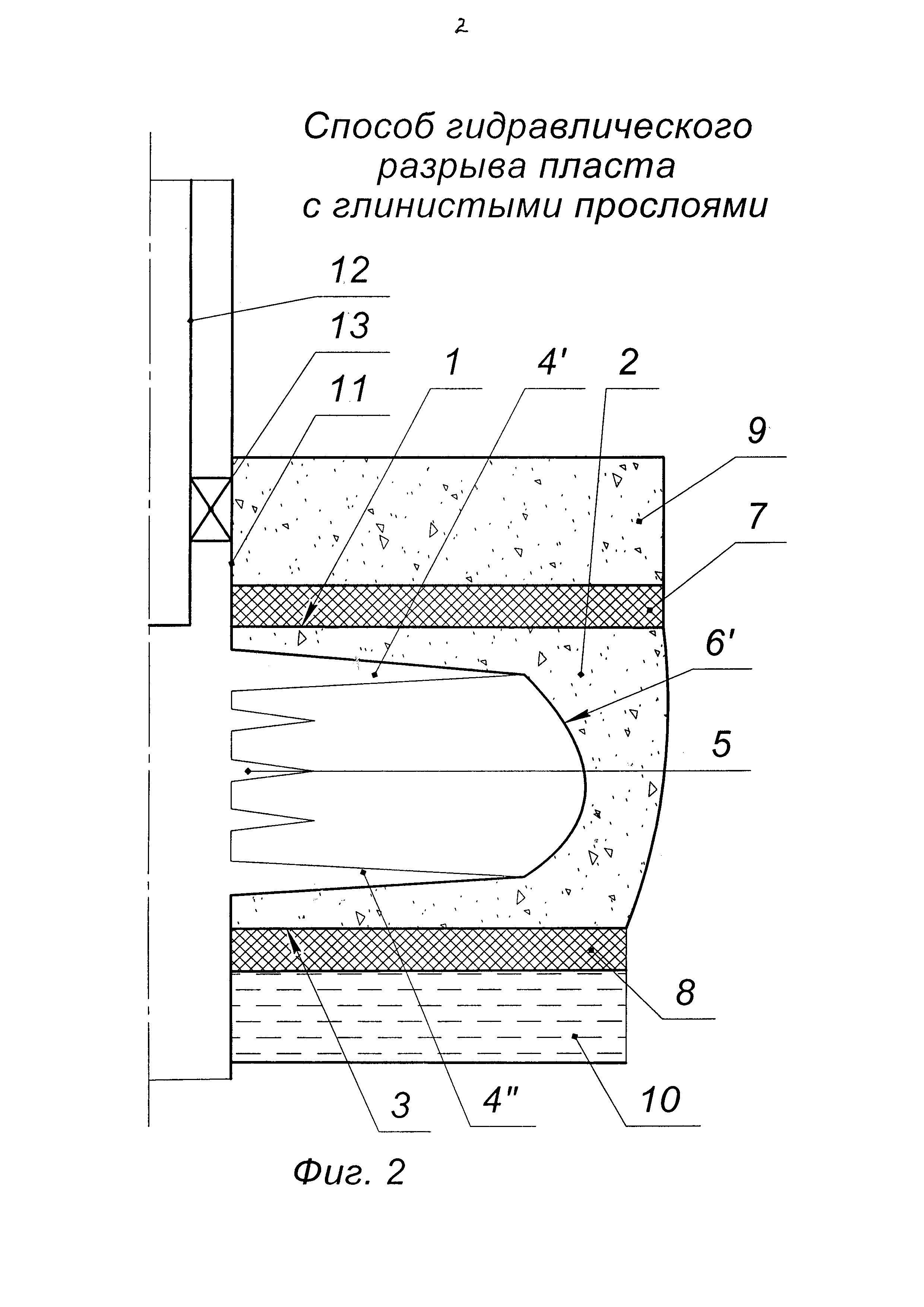
На фиг. 1, 2 и 3 схематично и последовательно изображен способ ГРП.

[20]

Перед проведением ГРП под кровлей 1 (см. фиг. 1) в верхней 1/4 части высоты пласта 2 и над подошвой 3 в нижней 1/4 части высоты пласта 2 выполняют в пласте 2 перфорацию с использованием зарядов глубокого проникновения с созданием глубоких перфорационных каналов 4' и 4'' в пласте 2, например, длиной 0,6 м.

[21]

В средней 1/2 части высоты пласта 2 выполняют перфорацию с использованием зарядов большего диаметра с созданием перфорационных каналов 5 в пласте 2, например, длиной 0,2 м.

[22]

Для выполнения глубоких перфорационных каналов 4' и 4'' в пласте 2 с использованием зарядов глубокого проникновения и перфорационных каналов 5 в пласте 2 с использованием зарядов большего диаметра используют любой известный кумулятивный перфоратор, например используют перфоратор ПКТ89КЛ-М, выпускаемый Нефтекамским машиностроительным заводом (г. Нефтекамск, Республика Башкортостан, Россия).

[23]

Глубокие перфорационные каналы 4' и 4'' соответственно под кровлей 1 и над подошвой 3 пласта 2 позволяют ограничить рост трещины 6' (см. фиг. 1-3) ГРП в высоту, что исключает прорыв трещины 6' через породы-неколлекторы (глинистые прослои) 7 и 8 соответственно сверху и/или снизу в соседние горизонты 9 и 10, в том числе и водоносные 10, т.е. исключают создание гидродинамической связи с соседними горизонтами (сверху, снизу).

[24]

Перфорационные каналы 5 в пласте 2, выполненные с использованием зарядов большего диаметра, позволяют инициировать и задать направление развития трещины 6' (см. фиг. 2) из полости скважины 11.

[25]

После проведения перфорации выполняют отбор пластовой жидкости через интервалы перфорации пласта в объеме 5 м3. Отбором скважинной жидкости через перфорационные каналы 4' и 4'' снижают пластовое давление вокруг скважины 11, что позволяет увеличить разницу напряжений между породами-коллекторами (пласта 2) и неколлекторами 7 и 8, чтобы трещина 6' развивалась исключительно в пласте 2.

[26]

Отбор жидкости в объеме 5 м3 производят любым известным устройством, например струйным насосом, спущенным в скважину на колонне труб, или колонной технологических труб с последующим свабированием.

[27]

Далее спускают колонну НКТ 12 с пакером 13 в скважину 11 так, чтобы нижний конец колонны НКТ 12 находился на уровне кровли 1 пласта 2 (см. фиг. 2).

[28]

Осуществляют посадку пакера 13 в скважине 11, затем закачкой гидроразрывной жидкости, в качестве которой используют сшитый гель на водной основе, в объеме 6 м3 с расходом 3 м3/мин инициируют развитие трещины 6'.

[29]

Применение сшитого геля на водной основе при реализации предлагаемого способа в отличие от прототипа, где применяют сшитый гель на углеводородной основе (нефть), исключает пожароопасность на устье скважины 11.

[30]

Далее, не прерывая закачку, развивают в длину сынициированную закачкой сшитого геля на водной основе трещину 6' и крепят ее путем последовательной закачки трех порций проппанта различной фракции 6'', 6''', 6'''' (см. фиг. 3) соответственно.

[31]

Первая порция содержит проппант 6'' мелкой фракции 20/40 меш массой 30% от общей массы проппанта, вторая порция - проппант 6''' средней фракции 16/20 меш массой 50% от общей массы проппанта, третья порция - проппант 6'''' крупной фракции 12/18 меш массой 20% от общей массы проппанта, при этом закачку фракций проппанта каждой порции производят со ступенчатым изменением расхода. Первой порцией закачивают проппант 6'' с расходом 2,5 м3/мин, второй порцией - проппант 6''' с расходом 3,0 м3/мин, третьей порцией - проппант 6'''' с расходом 3,5 м3/мин.

[32]

Например, общая масса проппанта, подлежащая закачке в трещину, равна 10 т = 10⋅103 кг. Тогда первой порцией закачивают проппант 20/40 меш: 30%/100%⋅10⋅103 кг = 3⋅103 кг = 3 т с расходом 2,5 м3/мин, затем закачивают проппант 16/20 меш: 50%/100%⋅10⋅103 кг = 5⋅103кг = 5 т с расходом 3,0 м3/мин и заключительной третьей порцией закачивают проппант 12/18 меш: 20%/100%⋅10⋅103кг = 2⋅103кг = 2 т с расходом 3,5 м3/мин. В результате образуется трещина разрыва 6', 6'', 6''', 6'''' длиной L, например, равной 20 м.

[33]

Используют проппант фракций 20/40, 16/20 и 12/18 меш, которые изготавливают по ГОСТ Р 51761-2014 «Проппанты алюмосиликатные. Технические условия».

[34]

Преобладающий рост трещины в длину позволяет увеличить эффективность ГРП за счет размещения используемого проппанта только в продуктивной части пласта, а не в породах-неколлекторах 7 и 8 (см. фиг. 2 и 3).

[35]

Повышается эффективность проводимого ГРП из-за увеличения охвата дренируемой части пласта 2 за счет постепенного увеличения создаваемой трещины 6', 6'', 6''', 6''''.

[36]

При реализации предлагаемого способа увеличивается дебит скважины после проведения ГРП, так как мелкая фракция проппанта 20/40 меш выступает в роли абразива для перфорационных отверстий скважины 11 и развитой трещины 6', 6'', 6''', 6'''', что снижает потери давления на трение, использование средних фракций 16/20 меш проппанта позволяет повысить проводимость создаваемой трещины, а проппант крупной фракции 12/18 меш, закачиваемый в последней стадии, также улучшает проводимость трещины и способствует удержанию основной массы проппанта от выноса в скважину.

[37]

Предлагаемый способ позволяет:

[38]

- исключить гидродинамическую связь с выше- и/или нижележащими горизонтами через глинистые прослои;

[39]

- повысить эффективность проведения ГРП;

[40]

- увеличить проводимость создаваемой трещины и предотвратить вынос проппанта в скважину при ее последующей эксплуатации;

[41]

- увеличить дебит скважины после проведения ГРП;

[42]

- исключить пожароопасность.

Как компенсировать расходы
на инновационную разработку
Похожие патенты