патент
№ RU 2577842
МПК H04B7/00

СПОСОБ ПЕРЕДАЧИ И ПРИЁМА РАДИОСИГНАЛОВ ЧЕРЕЗ ВИХРЕВОЕ ЭЛЕКТРИЧЕСКОЕ ПОЛЕ И УСТРОЙСТВО ДЛЯ ЕГО ОСУЩЕСТВЛЕНИЯ

Авторы:
Кокоев Владимир Хаджимусаевич
Номер заявки
2014124081/07
Дата подачи заявки
11.06.2014
Опубликовано
20.03.2016
Страна
RU
Как управлять
интеллектуальной собственностью
Чертежи 
3
Реферат

Изобретение относится к области радиотехники и может быть использовано для передачи и приема информации. Технический результат состоит в обеспечении незаметной для вероятного противника радиосвязи. Для передачи радиосигнала используют вихревое электрическое поле, циркулирующее относительно магнитопровода. Для приема радиосигнала используют явление магнитоэлектрической индукции, возникающее при пронизывании магнитопровода приемника вихревым электрическим полем и воздействии на магнитопровод порожденного им переменного магнитного поля, создающего индукционный переменный магнитный поток, индуцирующий в катушке магнитопровода э.д.с., которую подают на блок усиления, преобразования и отделения от помех радиосигналов. Устройство радиосвязи для передачи сигналов через вихревое электрическое поле содержит передатчик и приемник. Передатчик имеет замкнутый по периметру наружный ферромагнитный сердечник, на котором расположена катушка, навитая по спирали. В пространстве, охваченном катушкой, находится замкнутый по периметру внутренний ферромагнитный сердечник, на котором расположена катушка, навитая по спирали. Катушки электрически последовательно соединены между собой в направлении, противоположном навивке, приемник имеет замкнутый по периметру ферромагнитный сердечник с расположенной на нем катушкой, навитой по спирали и электрически соединенной с блоком усиления сигнала, выделения его из помех и преобразования. 2 н.п. ф-лы, 3 ил.

Формула изобретения

1. Способ передачи и приема радиосигналов через вихревое электрическое поле, включающий излучение радиоволн в эфир, прием радиоволн с помощью трансформаторной антенны, усиление и преобразование принятого радиосигнала, отличающийся тем, что для передачи радиосигнала используют вихревое электрическое поле, циркулирующее относительно магнитопровода передатчика, а для приема радиосигнала используют явление магнитоэлектрической индукции, возникающее при пронизывании магнитопровода приемника вихревым электрическим полем и воздействии на магнитопровод порожденного им переменного магнитного поля, создающего индукционный переменный магнитный поток, индуцирующий в катушке магнитопровода приемника э.д.с., которую подают на блок усиления, преобразования и отделения от помех радиосигналов.

2. Устройство передачи и приема радиосигналов через вихревое электрическое поле, содержащее передатчик, а также приемник, электрически связанный с усилителем сигналов, преобразователем сигналов, отличающееся тем, что передатчик имеет замкнутый по периметру наружный ферромагнитный сердечник, на котором расположена катушка, навитая по спирали, в пространстве, охваченном катушкой, находится замкнутый по периметру внутренний ферромагнитный сердечник, на котором расположена катушка, навитая по спирали, при этом катушки электрически последовательно соединены между собой в направлении, противоположном навивке, приемник имеет замкнутый по периметру ферромагнитный сердечник с расположенной на нем катушкой, навитой по спирали и электрически соединенной с блоком усиления сигнала, выделения его из помех и преобразования.

Описание

[1]

Предлагаемое изобретение относится к области радиотехники и может быть использовано для передачи и приема информации.

[2]

Известно устройство связи (патент RU №2116700 Устройство связи, МПК H04B 14/00), которое содержит передатчик, линию связи, приемник.

[3]

Недостатком этого устройства является то, что вероятный противник располагает техническими средствами для обнаружения радиосигналов, исходящих от передатчика, а также определения места его нахождения. Магистральная линия связи, МПК H04B 3/34), которое содержит магистральные N-канальные линии связи, подключенные с перекрещиванием или без перекрещивания в зависимости от значений заданной расчетной функции.

[4]

Недостатком этого устройства является то, что его невозможно использовать на транспорте и нецелесообразно применять в тех случаях, когда абоненты часто меняют место своего нахождения.

[5]

Известен способ передачи и приема информации и устройство для его осуществления (патент RU №2319305 Способ передачи и приема информации и устройство для его осуществления, МПК H04B 14/00). Этот способ включает преобразование по установленному закону передаваемой информации в соответствующие изменения электрического тока, проходящего через определенные вещества. Устройство, функционирующее в данном способе, содержит передатчик, приемник, антенну при беспроволочной передаче или двухпроводную линию при проводной передаче.

[6]

Недостатком этого способа и устройства является то, что их невозможно использовать на транспорте при проводной передаче и не обеспечивается скрытность информации при работе в эфире.

[7]

Наиболее близким техническим решением, выбранным за прототип, является способ передачи информации в системах с кодовым разделением каналов и устройство для его осуществления (патент RU №2475961 Способ передачи информации в системах с кодовым разделением каналов и устройство для его осуществления, МПК H04B 7/216). Данный способ заключается в одновременном транслировании сложных широкополосных сигналов на фоне сигнала синхронизации, а устройство имеет высокоскоростную систему передачи конфиденциальной информации.

[8]

Недостатком этого способа и устройства является отсутствие гарантии того, что вероятный противник не сможет обработать сигнал с целью получения конфиденциальной информации.

[9]

Техническим результатом предполагаемого изобретения является осуществление незаметной для вероятного противника радиосвязи.

[10]

Технический результат достигается предлагаемым способом передачи и приема радиосигналов через вихревое электрическое поле, включающим излучение радиоволн в эфир, прием радиоволн, усиление и преобразование принятого радиосигнала. При этом для передачи радиосигнала используют вихревое электрическое поле, циркулирующее относительно магнитопровода передатчика. А для приема радиосигнала используют явление магнитоэлектрической индукции, возникающее при пронизывании магнитопровода приемника вихревым электрическим полем и воздействии на магнитопровод порожденного им переменного магнитного поля. Магнитное поле создает индукционный переменный магнитный поток, индуцирующий в катушке, расположенной на магнитопроводе, электрическую движущую силу (э.д.с.). Катушка приемника, в свою очередь, подключается к блоку усиления, преобразования и отделения от помех радиосигналов.

[11]

Устройство передачи и приема радиосигналов через вихревое электрическое поле состоит из передатчика, имеющего замкнутый по периметру наружный ферромагнитный сердечник, на котором расположена катушка, навитая по спирали. В пространстве, охваченном катушкой, находится замкнутый по периметру внутренний ферромагнитный сердечник. На нем расположена катушка, навитая по спирали. Катушки электрически последовательно соединены между собой в направлении, противоположном навивке. Приемник имеет замкнутый по периметру ферромагнитный сердечник, на котором расположена катушка, навитая по спирали и электрически соединенная с блоком усиления сигнала, выделения его из помех и преобразования.

[12]

Сопоставительный анализ предлагаемого изобретения с выявленными аналогами показывает, что оно обладает новизной, изобретательским уровнем и промышленной применимостью.

[13]

Сущность предлагаемого изобретения поясняется кратким описанием и прилагаемыми схемами, где:

[14]

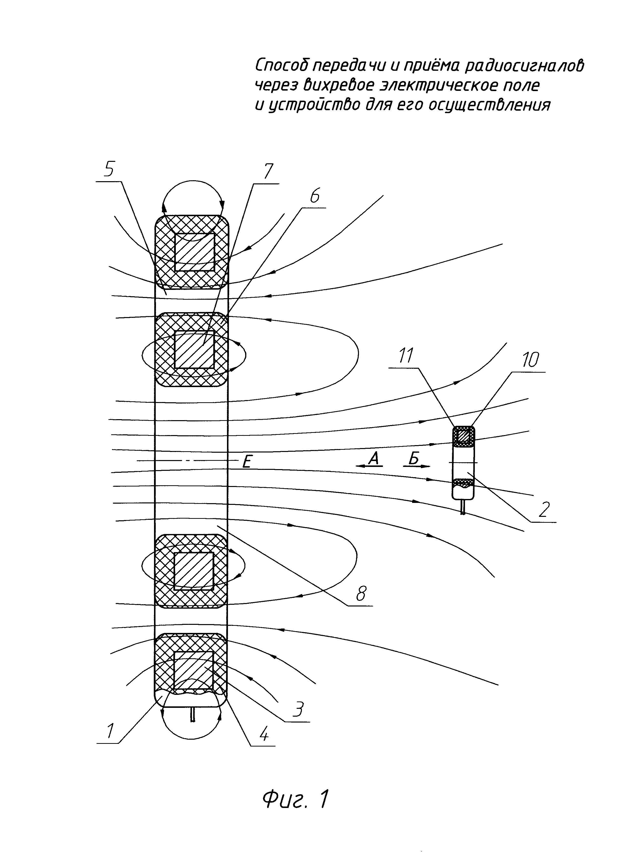
на фиг. 1 представлен общий вид предлагаемого устройства радиосвязи для осуществления предлагаемого способа передачи сигналов через вихревое электрическое поле и приема их;

[15]

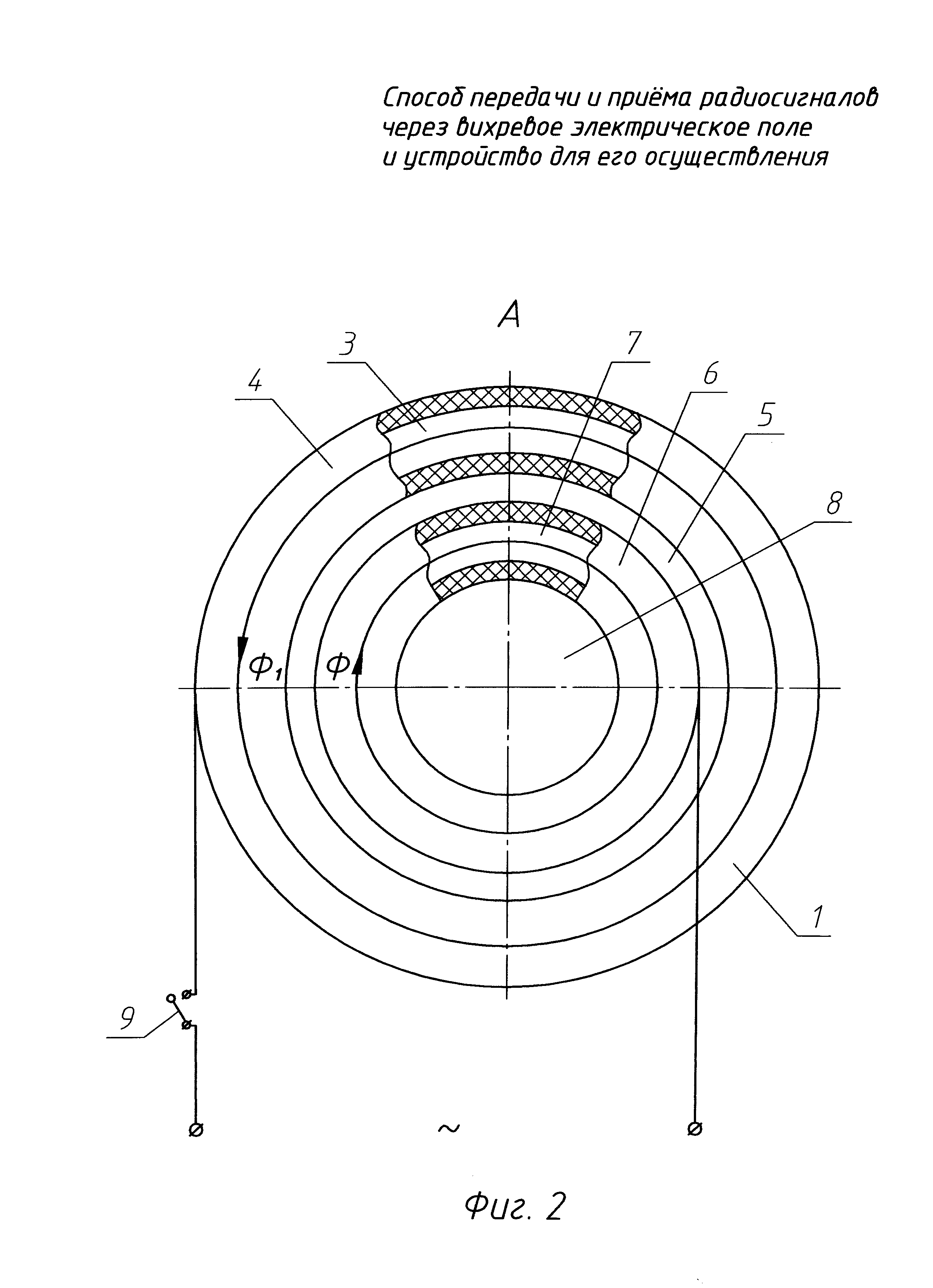
на фиг. 2 - показан вид А на передатчик;

[16]

на фиг. 3 - показан вид Б на приемник.

[17]

Устройство радиосвязи содержит передатчик 1 и приемник 2. Передатчик 1 состоит из наружного ферромагнитного сердечника 3. Наружный ферромагнитный сердечник 3 замкнут по его периметру. На наружном ферромагнитном сердечнике 3 расположена навитая по спирали катушка 4. В пространство 5, охваченное катушкой 4 и наружным ферромагнитным сердечником 3, заведена навитая по спирали катушка 6, которая размещена на внутреннем ферромагнитном сердечнике 7. Внутренний ферромагнитный сердечник 7 по контуру замкнут. Катушка 4 и катушка 6 электрически последовательно соединены между собой таким образом, что при их работе создаются магнитные потоки противоположных знаков. Внутренний ферромагнитный сердечник 7 охватывает пространство 8. С катушкой 4 и катушкой 6 электрически последовательно соединен ключ 9. Приемник 2 содержит ферромагнитный сердечник 10, замкнутый по периметру. На ферромагнитном сердечнике 10 расположена навитая по спирали катушка 11, электрически последовательно соединенная с блоком 12 усиления сигнала, выделения его из помех и преобразования для удобства восприятия человеком. Катушка 11 и блок 12 электрически соединены с ключом 13.

[18]

Предлагаемый способ передачи и приема радиосигналов через вихревое электрическое поле осуществляется с помощью представленного устройства.

[19]

Устройство радиосвязи работает следующим образом. Передатчик 1 подключается к переменному напряжению. С помощью ключа 9 производится включение и отключение передатчика 1. При прохождении по катушке 4 и катушке 6 переменного тока образуются переменные магнитные поля. Магнитное поле с магнитным потоком Ф сосредотачивается, в основном, во внутреннем ферромагнитном сердечнике 7, а магнитное поле с магнитным потоком Ф1 (фиг. 2) сосредотачивается, в основном, в наружном ферромагнитном сердечнике 3. Переменные магнитные поля порождают вихревые электрические поля, которые циркулируют относительно наружного ферромагнитного сердечника 3, а также внутреннего ферромагнитного сердечника 7 и взаимодействуют между собой. Поскольку магнитные потоки Ф и Ф1 имеют противоположные знаки, то и связанные с ними вихревые электрические поля циркулируют в противоположных направлениях. В результате воздействия друг на друга этих полей вихревое электрическое поле, циркулирующее относительно наружного ферромагнитного сердечника 3, оттесняется на периферию пространства 5 вихревым полем, циркулирующим относительно внутреннего ферромагнитного сердечника 7. А вихревое поле, циркулирующее относительно внутреннего ферромагнитного сердечника 7, оттесняется в канал вихревым полем, циркулирующим относительно наружного ферромагнитного сердечника 3. Наименьшая площадь сечения этого канала примерно ограничивается пространством 8 по периметру внутреннего ферромагнитного сердечника 7. А наибольшая площадь сечения канала ограничивается вихревым электрическим полем, циркулирующим относительно наружного ферромагнитного сердечника 3. Поток вектора напряженности вихревого электрического поля, циркулирующего относительно внутреннего ферромагнитного сердечника 7, пронизывает ферромагнитный сердечник 10 приемника 2. Это вихревое электрическое поле порождает переменное магнитное поле, которое воздействует на орбиты электронов в атомах ферромагнитного сердечника 10 и ориентирует их в одном и том же направлении, на каждом из участков сердечника 10, что приводит к появлению переменного магнитного поля с потоком Ф2, траектория циркуляции которого обусловлена конфигурацией сердечника 10. Поле с потоком Ф2 порождает вихревое электрическое поле, структура каналов которого строится полем потока Ф2. Вихревое электрическое поле индуцирует э.д.с. в катушке 11. Эта э.д.с. подается на блок 12. В блоке 12 сигнал усиливается, отделяется от помех и преобразуется для удобства восприятия человеком. Приемник 2 включается и отключается ключом 13.

[20]

Таким образом, предлагаемый тип устройства радиосвязи позволяет выполнять ту же работу, которая делается с помощью известных радиоустройств. Но существующие радиоприемники не реагируют на вихревое электрическое поле, циркулирующее относительно магнитопровода. Происходит это по следующей причине: если замкнутый проводящий контур охватывает стержень магнитопровода и происходит изменение потока магнитной индукции через поверхность, им ограниченную, то в контуре индуцируется э.д.с. Но если контур находится в стороне от магнитопровода, то на его участки также воздействует вихревое электрическое поле и индуцируется э.д.с, а сумма данных э.д.с. равна нулю. А внешне это выглядит так - как будто ничего не происходит. Явление магнитоэлектрической индукции позволяет преобразовать электромагнитное поле с одной ориентацией каналов, по которым переменное магнитное и вихревое электрическое поля циркулируют в электромагнитное поле, с другой ориентацией каналов относительно замкнутого проводящего контура, что позволяет обнаруживать как наличие вихревого электрического поля, циркулирующего за пределами магнитопровода, так и изменения,с ним происходящие, в определенные промежутки времени. И пока за рубежом не научились под воздействием одного электромагнитного поля получать другое электромагнитное поле, иначе циркулирующее относительно замкнутого проводящего контура, в РФ есть шанс создать незаметную для вероятного противника радиосвязь.

[21]

Предлагаемое изобретение находится на стадии разработки рабочей конструкторской документации для опытного образца. Был проведен опыт, в результате которого экспериментально доказано существование явления магнитоэлектрической индукции.

Как компенсировать расходы
на инновационную разработку
Похожие патенты