патент
№ RU 2654292
МПК F02K7/20

СПОСОБ РАБОТЫ ВОЗДУШНО-РЕАКТИВНОГО ДВИГАТЕЛЯ И УСТРОЙСТВО ДЛЯ ЕГО РЕАЛИЗАЦИИ (ВАРИАНТЫ)

Авторы:
Попович Владимир Андрианович
Номер заявки
2016111931
Дата подачи заявки
30.03.2016
Опубликовано
17.05.2018
Страна
RU
Как управлять
интеллектуальной собственностью
Реферат

Изобретение относится к двигателестроению, в частности к организации процессов цикла и систем подготовки и подачи в камеру сгорания воздушно-реактивного двигателя горючего и воздуха в качестве окислителя с помощью генератора ударных волн. Пульсирующий двигатель детонационного горения с входным диффузором и соплом содержит две камеры сгорания. Одна из камер сгорания работает в качестве генератора детонационных ударных волн, импульсы которых с помощью детонационной трубы подают воздух в силовую камеру сгорания, в которой происходит сгорание подведенного в нее горючего при давлении близкого к давлению подаваемых импульсов генератора ударных волн, с дальнейшим разгоном потока суммарных продуктов сгорания в сопле и созданием тяги двигателя. При работе генератора ударных волн энергия продуктов сгорания при высоком давлении в конце такта в высшей мертвой точке распределяется на две части. Одна из частей отводится в детонационную трубу, а вторая часть расходуется на сжатие вновь поступившей горючей смеси. При этом осуществляют работу двух поршней со встречным движением, один из которых связан с газовыми накопителями энергии и управляет формированием импульсов ударных волн, а второй - с кривошипно-шатунным механизмом и маховиком и служит для сжатия новой порции горючей смеси. Изобретение направлено на повышение эффективности и кпд двигателя. 3 н. и 17 з.п. ф-лы, 14 ил.

Формула изобретения

1. Пульсирующий двигатель детонационного горения с входным диффузором и соплом, отличающийся тем, что содержит две камеры сгорания, одна из них работает в качестве генератора детонационных ударных волн, импульсы которых с помощью детонационной трубы подают воздух в другую - основную камеру сгорания, в которой происходит сгорание подведенного в нее горючего при давлении близкого к давлению подаваемых импульсов генератора ударных волн, с дальнейшим разгоном потока суммарных продуктов сгорания в сопле и созданием тяги двигателя.

2. Пульсирующий двигатель по п. 1, отличающийся тем, что импульсы генератора ударных волн с присоединенным воздухом подаются посредством детонационной трубы на вход основной камеры сгорания под острым углом, а сам генератор ударных волн расположен вне проточной части воздушно-реактивного двигателя.

3. Пульсирующий двигатель по п. 1, отличающийся тем, что количество генераторов детонационных волн с детонационными трубами может быть 2, 3 и более с равномерным расположением детонационных труб по периметру входа в основную камеру сгорания.

4. Пульсирующий двигатель по п. 1, отличающийся тем, что основная камера сгорания снабжена внутренними и внешними гофрами, а их количество определяется экспериментально с целью гарантированного разрушения подводимых импульсов в объем основной камеры сгорания при достижении ими сопла.

5. Пульсирующий двигатель по п. 1, отличающийся тем, что основная камера сгорания снабжена форсунками подачи горючего перед входом в камеру сгорания и в ее начале, где также установлена система поджога горючей смеси.

6. Пульсирующий двигатель по п. 1, отличающийся тем, что в качестве системы поджога могут быть свечи, например, с электрическим, электромагнитным и лазерным воздействием на горючую смесь.

7. Пульсирующий двигатель по п. 1, отличающийся тем, что генератор ударных волн с детонационной трубой расположен соосно с основной камерой сгорания, а трубчатые устройства приемников воздуха, количество которых может быть 1, 2, 3 и более, расположены равномерно по окружности на входе основной камеры сгорания.

8. Пульсирующий двигатель по п. 1, отличающийся тем, что генератор ударных волн расположен соосно с основной камерой сгорания и кольцевым концентричным трубчатым устройством приемника воздуха с единым диффузором, образованным кольцевым центральным телом.

9. Пульсирующий двигатель по п. 1, отличающийся тем, что генератор ударных волн с конусной детонационной трубой расположен соосно с основной камерой сгорания и находится внутри устройства приемника воздуха с конусным центральным телом.

10. Пульсирующий двигатель по п. 1, отличающийся тем, что генератор ударных волн с цилиндрической детонационной трубой расположен соосно с основной камерой сгорания, входная часть которой выполнена в виде диффузора с патрубком.

11. Способ работы генератора ударных волн, при котором энергия продуктов сгорания при высоком давлении в конце такта в высшей мертвой точке распределяется на две части, одна из которых отводится в детонационную трубу, а вторая часть расходуется на сжатие вновь поступившей горючей смеси, отличающийся тем, что осуществляют работу двух поршней со встречным движением, один из которых связан с газовыми накопителями энергии и управляет формированием импульсов ударных волн, а второй - с кривошипно-шатунным механизмом и маховиком и служит для сжатия новой порции горючей смеси.

12. Способ работы генератора ударных волн по п. 11, отличающийся тем, что газы продуктов сгорания в виде импульса ударной волны уходят в детонационную трубу через окно в цилиндре, сила открытия которого задается газовым накопителем энергии.

13. Способ работы генератора ударных волн по п. 11, отличающийся тем, что газовая струя импульса ударной волны поступает в детонационную трубу через регулируемое сопло.

14. Способ работы генератора ударных волн по п. 11, отличающийся тем, что газовый накопитель энергии создает регулируемое усилие за счет создания разрежения в герметичных цилиндрах с поршнями при воздействии на них силы давления продуктов сжигания топлива.

15. Способ работы генератора ударных волн по п. 14, отличающийся тем, что создание начального разрежения в полостях цилиндров газового накопителя энергии осуществляется с помощью регулирующего устройства, включающего в себя вакуумный насос, вакуумно-запорную арматуру, ресивер и датчик давления.

16. Способ работы генератора ударных волн по п. 11, отличающийся тем, что при работе газового накопителя энергии в разреженных слоях атмосферы, выше 5 км, роль накопителя энергии выполняет воздух под давлением в полостях цилиндров.

17. Способ работы генератора ударных волн по п. 16, отличающийся тем, что создание начального давления в полостях цилиндров газового накопителя энергии осуществляется с помощью регулирующего устройства, включающего в себя компрессор, газозапорную арматуру, ресивер и датчик давления.

18. Способ работы генератора ударных волн с применением в качестве горючей смеси газообразных горючего и окислителя, которые способны на детонационное горение смеси при ее поджоге без предварительного сжатия с непрерывной ее подачей в камеру сгорания, отличающийся тем, что горючее и окислитель в газообразном виде поступает в смеситель, откуда образованная горючая смесь непрерывным потоком поступает в камеру сгорания через трубную решетку, собранную из капиллярных трубок с высокой теплоаккумулирующей способностью и высокой теплопроводностью, например из меди.

19. Способ работы генератора ударных волн по п. 18, отличающийся тем, что в качестве горючего могут быть водород и углеводородные соединения с высоким содержанием водорода, например метан, этан, пропан, ацетилен, а в качестве окислителя - кислород или фтор.

20. Способ работы генератора ударных волн по п. 18, отличающийся тем, что в качестве системы поджога могут быть свечи, например, с электрическим, электромагнитным и лазерным воздействием на горючую смесь.

Описание

[1]

Одним из определяющих факторов, влияющих на КПД энергетических установок с внутренним сгоранием топлива, является степень сжатия рабочего тела в компрессоре [Кириллин В.А., Сычев В.В., Шейндлин А.Е., Техническая термодинамика, М., «Энергия», 1968]. И особенно это касается реактивных двигателей для летательных аппаратов.

[2]

Сила тяги, необходимая для движения летательного аппарата, создается за счет реактивного действия рабочего тела вытекающего из сопла двигателя в сторону, противоположную направлению движения летательного аппарата.

[3]

В течение последних десятилетий проводятся исследовательские работы в области создания пульсирующих детонационных двигателей, тяга которых создается за счет детонационного сгорания горючей смеси. Генерируемые детонационной камерой сгорания импульсы ударной волны с высоким давлением и высокой скоростью истечения создают тягу.

[4]

В отличие от обычного без компрессорного прямоточного воздушно-реактивного двигателя, для работы которого необходимое давление в камере сгорания образуется за счет сжатия набегающего потока воздуха, новая силовая установка позволяет создавать тягу при нулевой скорости потока воздуха.

[5]

Принцип ее работы основан на создании периодических импульсов тяги возникающих при детонационном горении топливной смеси.

[6]

Детонационное горение топливной смеси обеспечивает создание большего по сравнению с обычным горением давления и, следовательно, имеется потенциальная возможность увеличения КПД двигателя.

[7]

Поступающий через воздухозаборник воздух смешивается в детонационной камере с впрыскиваемым топливом и образовавшаяся топливно-воздушная смесь после поджога детонирует. Возникающая при этом детонационная волна распространяется со сверхзвуковой скоростью до 2000 м/с по тракту двигателя через пульсационную трубу и выходит через реактивное сопло.

[8]

Благодаря высокой скорости движения газового импульса детонационной волны давление в камере сгорания снижается, чем обеспечивается поступление новой порции воздуха через воздухозаборник.

[9]

Периодический впрыск топлива в камеру детонационного сгорания генерирует сверхзвуковую пульсирующую струю на срезе сопла, создающую тягу двигателя.

[10]

Несмотря на кажущуюся простоту цикла, до настоящего времени не были созданы эффективные двигатели с детонационным сгоранием топлива.

[11]

Это объясняется не только особенностями детонационного характера сгорания топливной смеси, но и особенностями импульсного истечения продуктов сгорания из сопла, которые не были учтены.

[12]

В рассмотренных ниже аналогах проведен краткий анализ работы импульсных реактивных движителей с детонационным сгоранием топливной смеси и особенностей создания в них реактивной тяги.

[13]

Так в предложенных авторами способах [Патент РФ №2493399] и [Патент РФ №2429366], предпринята попытка совершенствования пульсирующих воздушно реактивных двигателей созданных в Германии еще в 40-е годы прошлого века под маркой Фау-1 [Синярев Г.Б., Добровольский М.В., Жидкостные ракетные двигатели. - Оборонгиз, 1957] и которые, из за применения низкочастотных механических клапанных систем двигателя, оказались малоэффективны и с очень малым ресурсом.

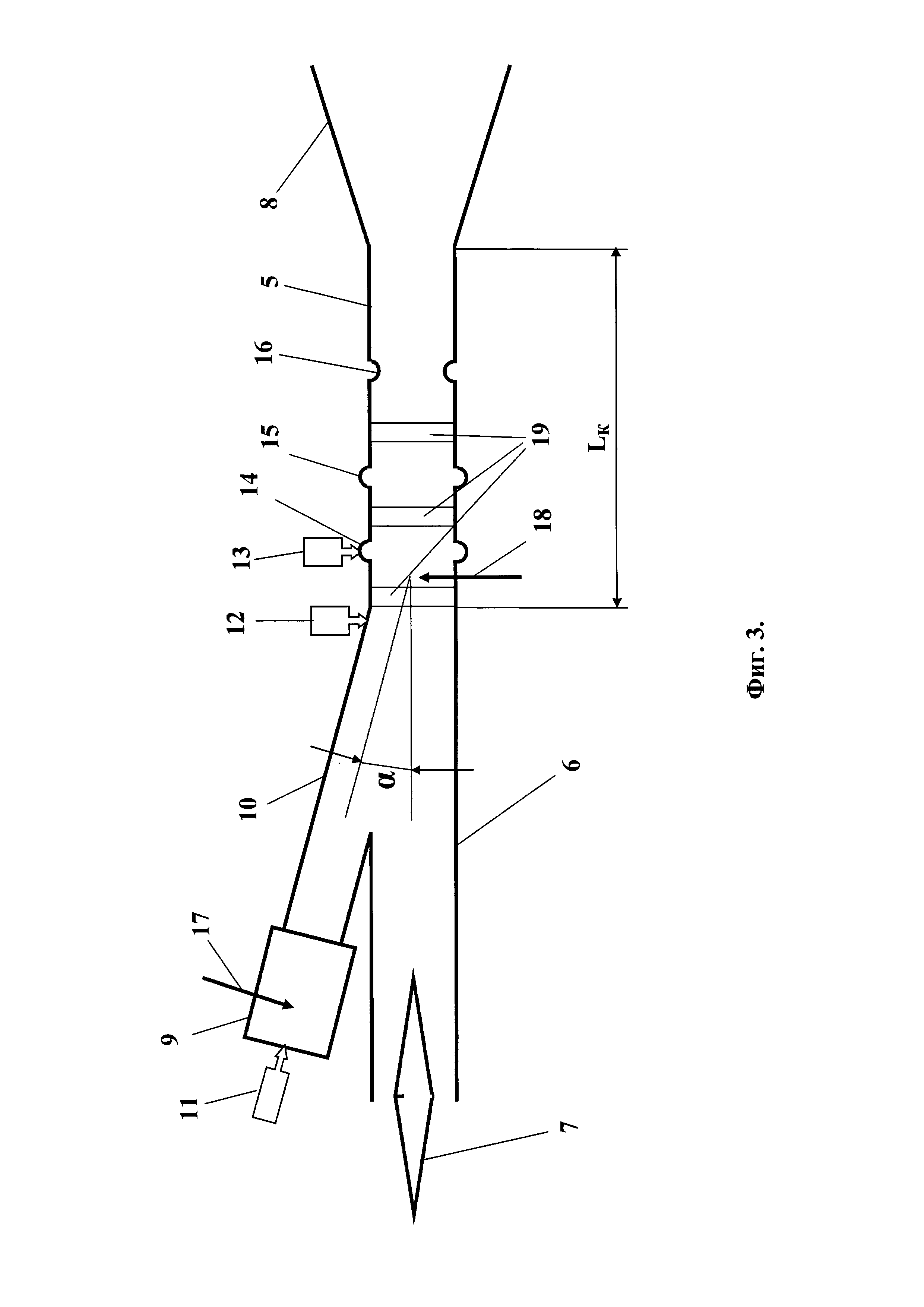
[14]

Такой двигатель состоит из входного устройства в виде диффузора, клапанной решетки, камеры сгорания и длинного цилиндрического сопла.

[15]

Горючее и воздух в камеру сгорания подаются периодически, поэтому тяга сопла создается от чередующихся импульсов ударной волны.

[16]

Если авторам удалось устранить недостаток, присущий механическим клапанам заменой их на аэродинамические с различным способом действия, главным недостатком присущий пульсирующим воздушно реактивным двигателям осталась низкая термодинамическая эффективность цикла.

[17]

Это объясняется тем, что процессы детонационного сгорания горючей смеси в камере сгорания и процессы в сопле, не обеспечивают их обратимость, поэтому не позволяют получить максимальную работу цикла, которая в данном случае представляет кинетическую энергию направленного потока газа.

[18]

Следствием этого является тот факт, что пульсирующий воздушно реактивный двигатель не позволяет создать необходимую тягу при самостоятельном старте двигателя и она (тяга) возможна только при набегающем потоке воздуха в диффузор около 100 м/с., то есть двигатель нужно разогнать до такой скорости, чтобы он создал необходимую тягу для полета.

[19]

Низкая эффективность импульсного двигателя заключена в самой природе импульсного истечения продуктов сгорания из сопла двигателя.

[20]

При импульсном истечении газа, основная масса которого находится в импульсе ударной волны при высокой температуре, образуются три зоны давления.

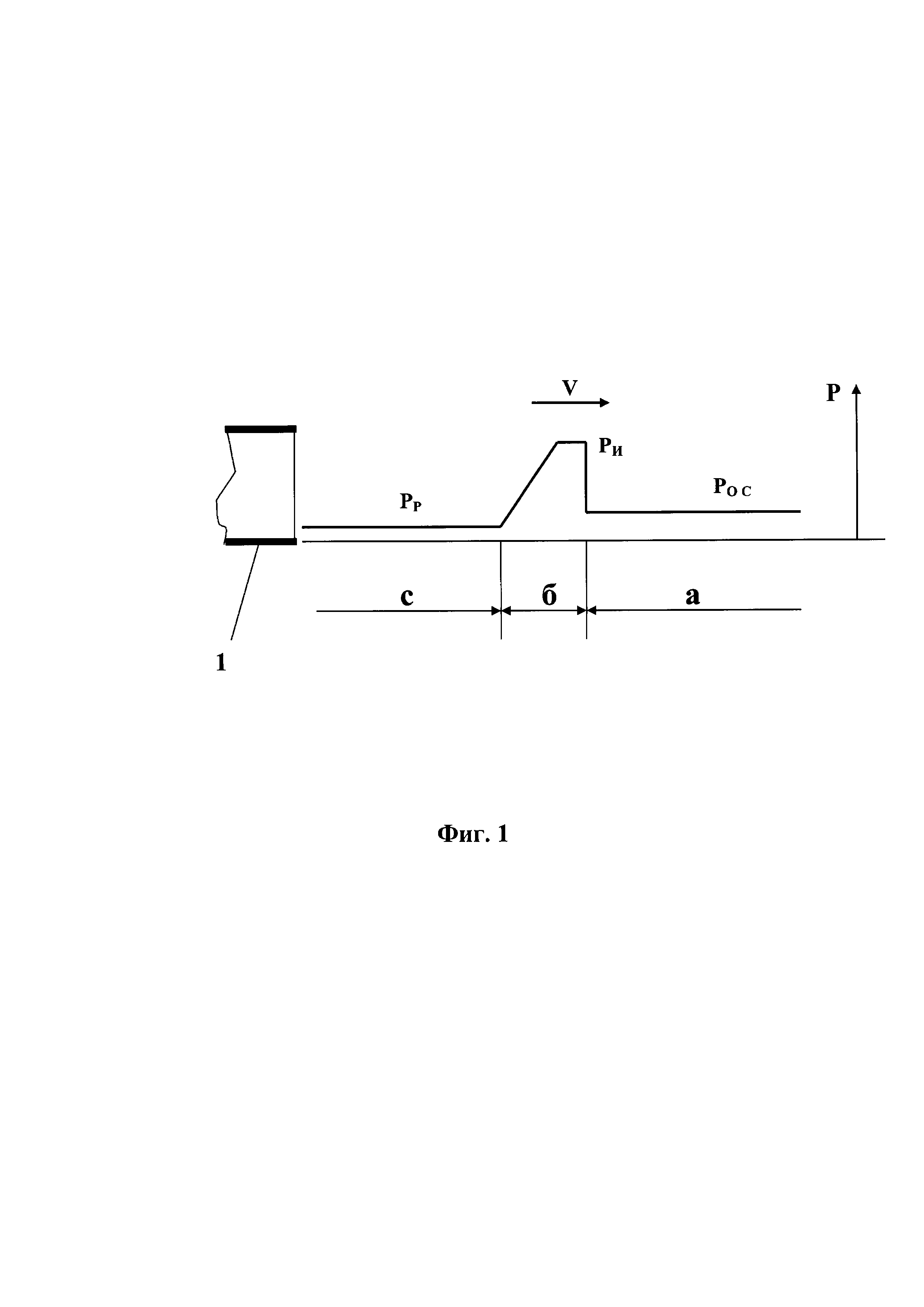
[21]

На фиг. 1 представлен импульс ударной волны с давлением РИ вышедший со скоростью V из сопла (пульсационной трубы) 1 в атмосферу, где:

[22]

Первая зона а - невозмущенная зона с давлением близкой к давлению окружающей среды РОС.

[23]

Вторая зона б - зона импульса ударной волны с малой протяженностью и высоким давлением газа РИ.

[24]

Третья зона с - зона разрежения, давление РР в которой ниже давления окружающей среды и которая следует за импульсом ударной волны.

[25]

Тяга такого импульсного детонационного двигателя складывается из двух составляющих и равна их алгебраической сумме;

[26]

- положительного импульса тяги, создаваемого при возникновении и движении импульса ударной волны со сверхзвуковой скоростью, взаимодействующего с камерой сгорания и атмосферным воздухом, находящимся в пульсационной трубе,

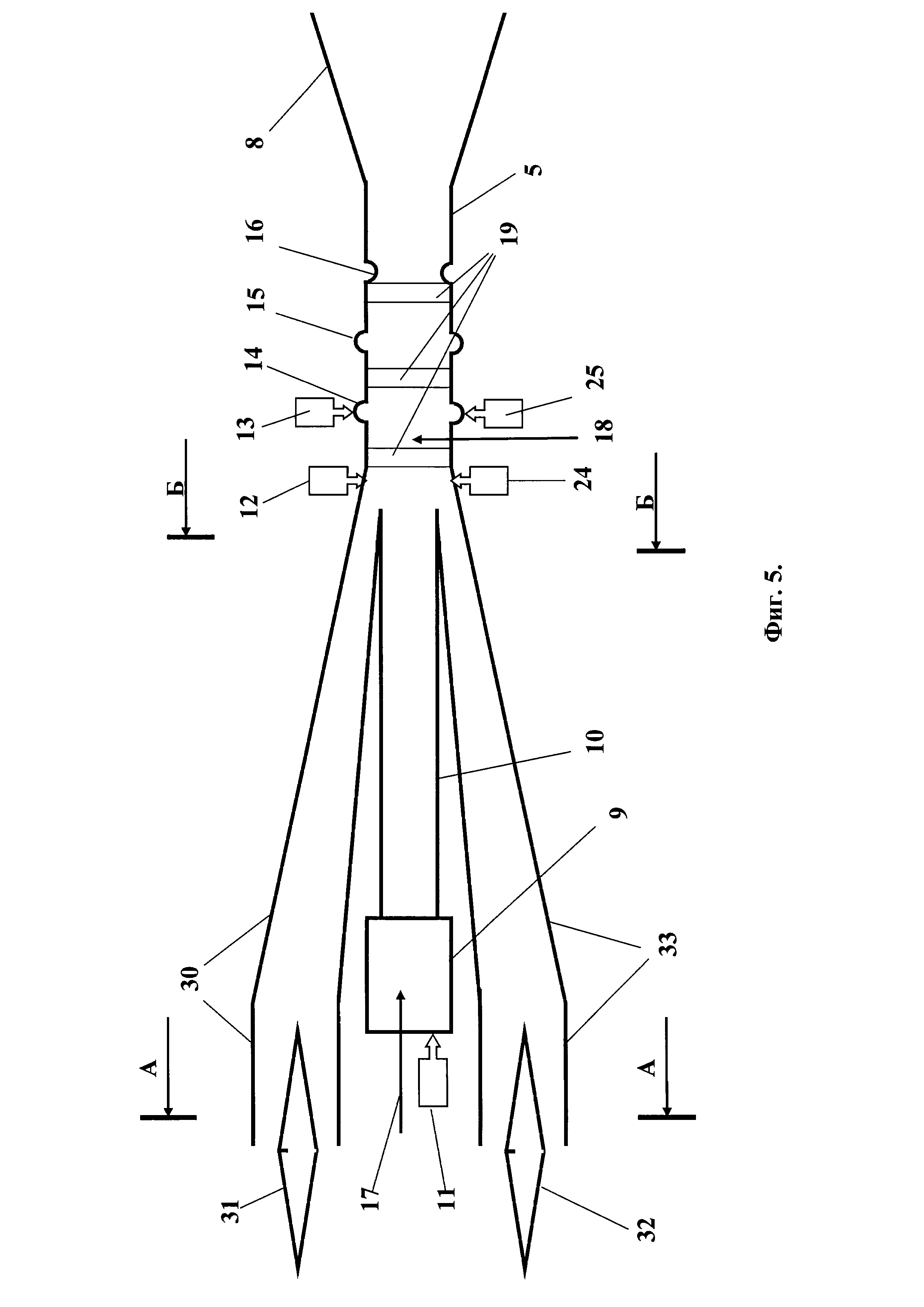
[27]

- и отрицательного импульса, который создается при обратном движении атмосферного воздуха в разреженную зону, которая образовалась за импульсом ударной волны после его выхода из пульсационной трубы.

[28]

Таким образом, тяга импульсного двигателя состоит из положительного, с высоким давлением короткого импульса, и отрицательного протяженного импульса, с давлением близким к давлению окружающей среды.

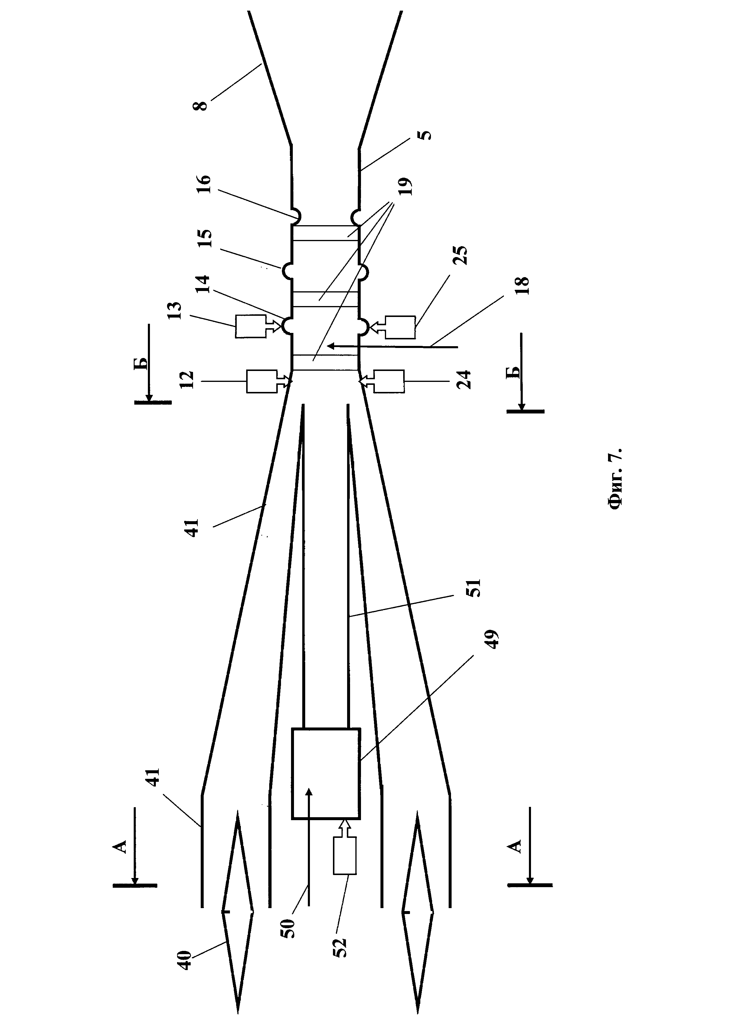
[29]

На фиг. 2 представлен идеализированный импульс F тяги импульсного двигателя за время цикла. Знаком (+) отмечен импульс с положительной тягой, знаком (-) - с отрицательной тягой.

[30]

Рассмотренный характер импульса, создающий тягу, универсален для всех двигателей с детонационным сгоранием топливной смеси.

[31]

Так в представленном аналоге [Патент РФ №2066779] реактивное сопло пульсирующего двигателя детонационного горения выполнено в виде за критической части сопла Лаваля. Двигатель генерирует импульсы, как с положительной, так и с отрицательной тягой.

[32]

Но сопло Лаваля может работать эффективно по ускорению газового потока только в условиях его стационарности с сохранением постоянными величинами давления и температуры в критическом сечении сопла, на его срезе и всей остальной поверхности.

[33]

При прохождении импульса газа через такое сопло со скоростью заведомо большей скорости звука, нет взаимодействия газа с поверхностью сопла и поэтому нет возможности создания дополнительной тяги за счет расширения массы газа, находящейся в импульсе.

[34]

Таким образом, высокое давление, созданное детонационным способом сгорания топливной смеси, не может быть реализовано для получения высокого КПД двигателя.

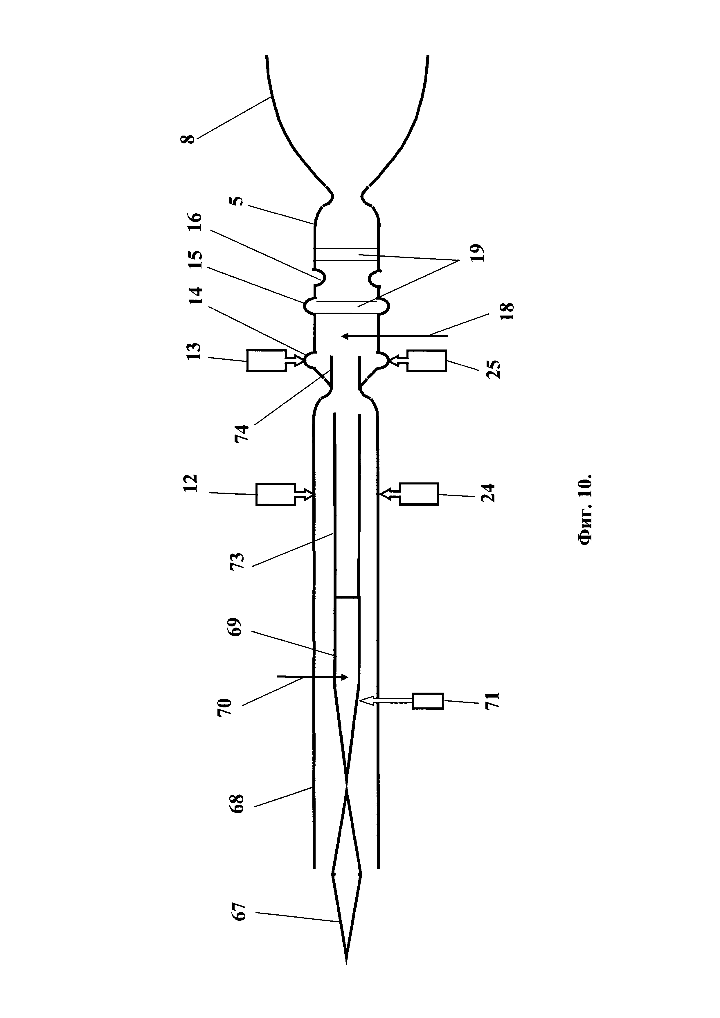
[35]

Это становится очевидным, если учесть что импульс газа генератора ударной волны, в котором сосредоточена основная масса продуктов сгорания при высоком давлении и высокой температуре, выбрасывается в окружающую среду. Этот факт подтверждает, как термодинамическое несовершенство цикла, так и техническое несовершенство устройства в котором этот цикл реализуется.

[36]

В рассмотренном двухступенчатом пульсирующем детонационном устройстве [Патент РФ №2357093], состоящего из двухконтурного газотурбинного двигателя и детонационных труб, установленных в потоке газовой струи продуктов сгорания газотурбинного двигателя, реактивная тяга устройства складывается из реактивной тяги газотурбинного двигателя с наложенной на нее тягой импульсов газа из детонационных труб.

[37]

Такая смешанная струя продуктов сгорания также пульсирует, поэтому сопло, типа сопла Лаваля, через которое проходит эта струя, не может работать эффективно.

[38]

Кроме того, импульс ударной волны, в котором сосредоточенна основная масса газа и которая имеет максимальную температуру, проходя детонационную трубу, выбрасывается в окружающую среду, что является прямыми потерями теплоты с высоким потенциалом.

[39]

Таким образом, детонационное сгорание топлива с дальнейшим истечением импульсов ударной волны через детонационную трубу с целью получения тяги является крайне неэффективным способом и поэтому предложенная совместная работа двух видов энергоустановок - турбовентиляторного двигателя и трубчатых пульсирующих детонационных устройств не повышает КПД единого устройства в целом, а снижает его.

[40]

В предложенном устройстве энергосиловой детонационной установки и способе его работы [Патент РФ №2285142] авторами сделана попытка достичь увеличения более высоких удельных мощностей и импульса (что авторами воспринимается как увеличения коэффициента полезного действия) по сравнению с известными энергосиловыми установками данного класса.

[41]

Здесь для достижения поставленной цели в полузакрытую камеру детонационной установки, на его днище, направлены потоки ударных волн из одной или нескольких детонационных труб генерирующие эти волны, с дальнейшим их отражением от днища, а также отражения от ударных волн детонационных труб установленных на пути продвижения в полузакрытой камере и созданием импульса тяги вытекающей общей струи.

[42]

В рассмотренном аналоге авторами не показано, как при многократных отражениях и взаимодействии ударных волн из различных детонационных труб происходит процесс расширения продуктов сгорания для повышения скорости их истечения из полузакрытой камеры.

[43]

Кроме того, для увеличения давления, на днище полузакрытой камеры детонационной установки фокусируются кумулятивные струи ударных импульсов от двух и более детонационных труб, но авторами не раскрыт механизм тепловой защиты днища от возникающей на его поверхности сверх высокой температуры.

[44]

В рассмотренном принципе действия, заявленного пульсирующего двигателя детонационного сгорания [Патент РФ №2142958], принятого за прототип, авторами представлен четырехрежимный комбинированный реактивный двигатель, состоящий из пульсирующего двигателя детонационного горения и двухрежимного прямоточного воздушно реактивного двигателя.

[45]

Режимы работы комбинированного двигателя следующие:

[46]

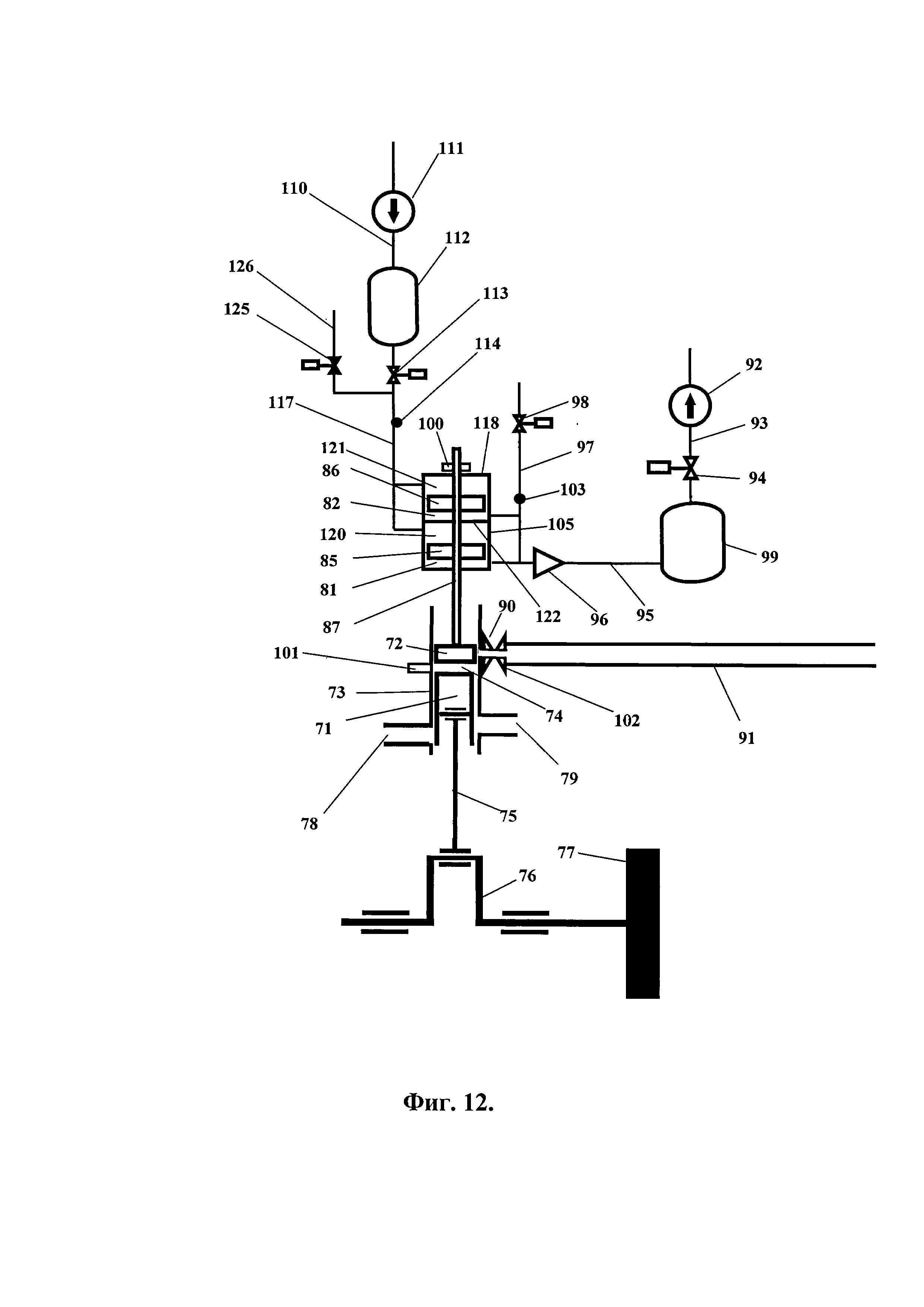
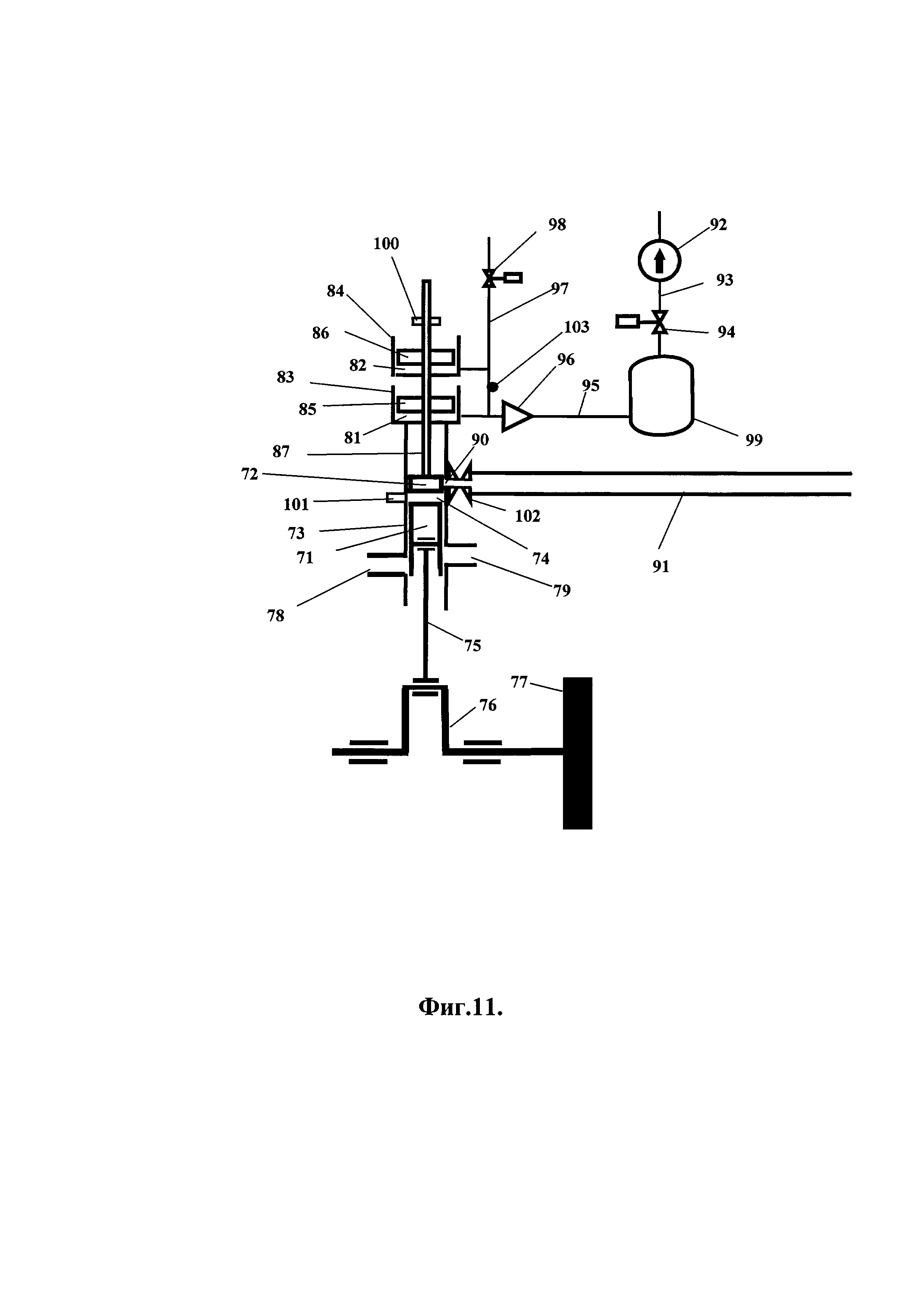
Режим 1. - Работа только пульсирующего детонационного двигателя, задача которого начать движение из состояния покоя и разгона летательного аппарата, на котором установлен двигатель, до скорости, на которой можно запускать прямоточный воздушно реактивный двигатель.

[47]

Режим 2. - Совместная работа пульсирующего детонационного двигателя и прямоточного воздушно реактивного двигателя с разгоном летательного аппарата до скорости близкой к 3М.

[48]

Режим 3. - Аналогичен режиму 2, но работа прямоточного воздушно реактивного двигателя осуществляется при сверхзвуковом горении топлива, а летательный аппарат приобретает скорость более 3М.

[49]

Режим 4. - Совместная работа пульсирующего детонационного двигателя и прямоточного воздушно реактивного двигателя, в котором осуществляется также детонационное горение топлива при полете летательного аппарата в разреженных слоях атмосферы с потреблением окислителя, находящегося на борту летательного аппарата.

[50]

С учетом оценок эффективности работы, касающихся низких КПД выше рассмотренных аналогов пульсирующих детонационных двигателей, можно сделать краткий вывод по отношению к выбранному прототипу.

[51]

Разгон летательного аппарата импульсным детонационным двигателем, согласно первого режима работы, для запуска прямоточного воздушно реактивного двигателя маловероятен из за малой тяги, как следствия низкого КПД импульсного детонационного двигателя.

[52]

Ввиду низкого КПД импульсного детонационного двигателя также маловероятна эффективная работа комбинированного двигателя в целом во втором, третьем и четвертом режиме.

[53]

Как было отмечено выше, в импульсном детонационном двигателе тяга создается импульсами ударной волны, имеющими высокие значения давления и температуры, возникшими в результате детонационного сгорания горючей смеси.

[54]

Таким образом, предложенный авторами комбинированный двигатель больше применим в качестве горелочного устройства для нагрева окружающей среды.

[55]

Косвенным подтверждением является также факт, что история создания пульсирующего детонационного двигателя начинает свой отсчет с 1940 г с известного Фау-1, в котором реализован цикл близкий к детонационному. И до настоящего времени эффективный двигатель, в котором реализован пульсирующий цикл в чистом виде, не создан.

[56]

Проблемы по созданию двигателей с детонационным горением заключаются, как в термодинамическом несовершенстве тепло преобразующего цикла, так и в техническом несовершенстве устройства такого двигателя в котором этот цикл реализуется.

[57]

В предложенном способе работы реактивного двигателя который содержит две камеры сгорания, одна камера работает в качестве генератора ударных волн, детонационные импульсы которого с помощью детонационной трубы подают воздух в другую - основную камеру сгорания, в которую подводится горючее и где происходит его сгорание при давлении подаваемых импульсов генератора ударных волн, с дальнейшим разгоном потока суммарных продуктов сгорания в сопле и созданием тяги двигателя.

[58]

В идеализированной постановке, импульсы ударной волны, образованные в генераторе, продвигаясь по детонационной трубе, захватывают порцию воздуха, уплотняют ее и продвигают в основную камеры сгорания таким образом, что следующие импульсы со своими порциями воздуха непрерывно подают воздух в основную камеру, выполняя роль компрессора воздуха.

[59]

Далее осуществляется впрыск горючего в основную камеру сгорания через форсунки системы подачи горючего перед входом в основную камеру, и в ее начале, где также установлена система поджога горючей смеси. Поджог горючей смеси также возможен за счет воздействия импульса ударной волны на смесь.

[60]

Горючая смесь с давлением равным давлению подаваемых импульсов генератора ударных волн в основную камеру сгорания, снабженную внутренними и внешними гофрами, продвигаясь к началу сопла, например сопла Лаваля, сгорает с дальнейшим расширением и разгоном продуктов сгорания в сопле и созданием силы тяги двигателя.

[61]

Количество внутренних и внешних гофров в основной камере сгорания определяется экспериментально с целью гарантированного разрушения подводимых импульсов в объем основной камеры сгорания при достижении ими сопла.

[62]

Таким образом, основная камера сгорания выполняет также функцию гасителя импульсов генератора ударных волн, включая их разрушение, и обеспечивает работу основной камеры при постоянном давлении.

[63]

При таком сгорании горючей смеси в сопло поступает суммарный смешанный гомогенный стационарный поток, состоящий из продуктов сгорания генератора ударной волны и продуктов сгорания, находящихся между двумя импульсами ударной волны в основной камере сгорания.

[64]

Дальнейший разгон продуктов сгорания в сопле, создает тягу двигателя.

[65]

Качественная и количественная картина разгона продуктов сгорания в сопле Лаваля близка работе сопла жидкостного ракетного двигателя.

[66]

На фиг. 3 представлено схемное решение предложенного устройства реактивного двигателя.

[67]

Двигатель состоит из трубчатого приемного устройства воздуха 6 из окружающей среды с входным диффузором, образованным центральным телом 7 в виде конуса. Трубчатое приемное устройства воздуха 6 на выходе соединено с основной камерой сгорания 5 длиной LК, которая в критическом сечении подсоединена к сверхзвуковой части сопла 8.

[68]

Генератор ударных волн 9, управляемый системой подачи горючей смеси 11 и системой поджога 17, снабжен детонационной трубой 10 для подачи импульсов ударной волны на вход основной камеры сгорания 5.

[69]

Детонационная труба 10 установлена под острым углом α к трубчатому приемному устройству 6.

[70]

Для подачи горючего в основную камеру сгорания 5 установлены форсунки двух типов. Форсунки 12 на входе в камеру и форсунки 13 в начале камеры, при этом форсунка 13 установлена в кольцевой предкамере 14. Для поджога горючей смеси установлена система поджога 18.

[71]

Основная камера 5 имеет кольцевые выпуклости, внешние гофры 15 и впадины, внутренние гофры 16 для разрушения импульсов 19 генератора ударных волн 9 и их смешения с горючим, поступившим в основную камеру сгорания от форсунок 12 и 13.

[72]

Позиции 19 схематически показывают продвигающиеся импульсы ударной волны в основной камере сгорания 5.

[73]

Количество внутренних 16 и внешних гофров 15 определяется экспериментально с целью гарантированного разрушения подводимых импульсов 19 в объем основной камеры сгорания при достижении ими сопла.

[74]

Реактивный двигатель работает следующим образом.

[75]

Включаются система 11 подачи горючей смеси в генератор ударных волн 9 и система 17 периодического ее поджога.

[76]

Образованные импульсы ударной волны поступают по детонационной трубе 10 на вход основной камеры сгорания 5.

[77]

Одновременно через форсунки 12 подается горючее. Импульсы ударной волны своими зонами разрежения захватывают воздух из приемного устройства 6 и горючее из форсунки 12 и подают эту смесь в основную камеру сгорания 5.

[78]

Из форсунки 13 осуществляется дополнительная подпитка горючим в основной камере сгорания в зоны пониженного давления между импульсами 19.

[79]

Для различных режимов работы устройства реактивного двигателя и с учетом типа применяемого горючего возможны несколько способов поджога горючей смеси в основной камере сгорания. Это возможный поджог за счет взаимодействия импульса 19 в начале образования горючей смеси на входе в основную камеру сгорания 5 и принудительный поджог системой поджога 18 в начале камеры сгорания.

[80]

Регулируя соотношение состава горючей смеси, воздух-горючее и с учетом типа применения горючего добиваются бездетонационного сгорания топлива в основной камере сгорания 5.

[81]

Факторами, влияющими на бездетонационное сгорание топлива в основной камере 5, являются степень обеднения горючей смеси горючим, применение более тяжелых углеводородных топлив с соотношением углерод - водород большим, чем у бензинов, а также применением антидетонационных присадок.

[82]

Горение смеси в основной камере сгорания 5 осуществляется при высоком давлении соответствующему максимальному давлению импульсов 19 ударной волны, поступающих на вход основной камеры сгорания.

[83]

Таким образом, импульсы, поступающие на вход в основную камеру сгорания 5, играют роль огневого днища, аналогично днищу камеры сгорания жидкостного ракетного двигателя, и таким образом задают давление в основной камере сгорания 5.

[84]

Импульсы ударной волны 19, с захваченными порциями горючей смеси, продвигаясь вдоль основной камеры сгорания 5 взаимодействуют с выпуклости 15 и впадинами 16 и разрушаясь, интенсивно взаимодействуют с горючей смесью, гомогенизируют ее, чем инициируют и стабилизируют ее горение при постоянным давлении.

[85]

Поток продуктов сгорания, поджатый импульсами ударной волны на входе в основную камеру сгорания 5, разгоняется в основной камере до скорости звука и поступает в расширяющуюся часть сопла 8. При расширении продуктов сгорания в этой части сопла до давления окружающей среды, создается тяга двигателя, сила которой определяется давлением в камере сгорания и реакцией сопла на разгоняемый в нем поток продуктов сгорания.

[86]

На фиг. 4 представлен вариант схемного решения устройства реактивного двигателя с одной основной камерой сгорания и с двумя генераторами ударных волн.

[87]

Такое устройство позволяет повысить мощность двигателя за счет увеличения частоты импульсов ударной волны подаваемых на вход основной камеры сгорания, так и за счет повышения в ней давления.

[88]

Второй генератор ударных волн 21 расположен симметрично первому генератору 9 под углом 2α, соединен с входом основной камеры сгорания 5 через детонационную трубу 23, имеет систему подачи горючей смеси 20 и систему поджога 22, а для подачи горючего в основную камеру сгорания 5 установлены дополнительные форсунки 24 перед ее входом и форсунки 25 в ее начале.

[89]

Работа реактивного двигателя с двумя генераторами ударных волн принципиально ничем не отличается от работы двигателя с одним генератором ударных волн представленного на фиг. 3 за исключением того, что генераторы могут работать как синхронно, так и в противофазе.

[90]

При синхронной работе генераторов детонационных волн на вход основной камеры сгорания посылаются одновременно два импульса, что увеличивает силу импульса, а при работе в противофазе повышается частота воздействия импульсов на вход в основную камеру сгорания.

[91]

Возможны варианты схемных решений реактивного двигателя с количеством генераторов ударных волн более двух, расположенных равномерно или симметрично относительно входа основной камеры сгорания 5.

[92]

На фиг. 5 представлен вариант схемного решения устройства реактивного двигателя с одним генераторам ударных волн 9 с детонационной трубой 10, расположенного соосно с основной камерой сгорания 5 и двумя трубчатыми устройствами приемников воздуха 30 и 33, расположенных симметрично относительно генератора ударных волн 9.

[93]

Такое расположение генератора ударных волн позволяет одним импульсом ударной волны более плотно закрывать вход в основную камеру сгорания 5 и обеспечить более равномерное и симметричное распределение горючего и воздуха на входе в основную камеру сгорания.

[94]

Трубчатые приемники устройства воздуха 30 и 33 - снабжены индивидуальными круглыми диффузорами (сечение А-А) фиг. 6, образованные центральными телами 31 и 32, соответственно. Подсоединение приемников воздуха к основной камере сгорания показано в сечении Б-Б, фиг. 6.

[95]

Трубчатых устройств приемника воздуха может быть 2, 3 и более, с равномерным или симметричным расположением относительно основной камеры сгорания.

[96]

На фиг. 7 представлен вариант схемного решения устройства реактивного двигателя с одним генераторам ударных волн 49, расположенным соосно с основной камерой сгорания 5 и одним кольцевым концентричным трубчатым устройством приемника воздуха с единым диффузором, образованным одним кольцевым центральным телом.

[97]

Кольцевой концентричный трубчатый приемник воздуха 41 снабжен круглым кольцевым диффузорам (сечение А-А) фиг. 8, образованным кольцевым центральным телом 40. Подсоединение приемника воздуха к основной камере сгорания показано в сечении Б-Б, фиг. 8.

[98]

Генератор ударных волн 49 снабжен системой 52 подачи горючей смеси и системой поджога 50.

[99]

С генератора ударных волн 49 импульсы поступают на вход основной камеры сгорания 5 через детонационную трубу 51.

[100]

На фиг. 9 представлен вариант схемного решения устройства реактивного двигателя с одним генераторам ударных волн 69, расположенным соосно с основной камерой сгорания 5 и находящегося внутри устройства приемника воздуха 68 с конусным центральным телом 67.

[101]

Генератор ударных волн 69 снабжен системой 71 подачи горючей смеси и системой поджога 70.

[102]

С генератора ударных волн импульсы поступают на вход основной камеры сгорания 5 через конусную детонационную трубу 53.

[103]

Поток воздуха из приемника воздуха, проточная часть которого ограничена с наружной стороны трубой 68, а с внутренней стороны поверхностями конусного центрального тела 67, конусной и цилиндрической поверхностями генератора ударных волн 69 и конусной детонационной трубой 53 поступает в камеру сгорания 5.

[104]

С целью более полного заполнения воздухом конической детонационной трубы 53 она может иметь перфорированные отверстия по окружности или быть составной, с кольцевыми зазорами между элементами трубы.

[105]

Отмеченные конструктивные особенности детонационной трубы 53 на рисунке не показаны.

[106]

Форсунки 12 и 24 подачи горючего на вход в основную камеру сгорания расположены на наружной поверхности воздуховода 68.

[107]

Форсунки 13 и 25 подачи горючего расположены в начале основной камеры сгорания 5.

[108]

На фиг. 10 представлен вариант схемного решения устройства реактивного двигателя с одним генератором ударных волн, расположенным соосно с основной камерой сгорания, входная часть которой выполнена в виде диффузора с патрубком.

[109]

Генератор ударных волн 69 снабжен системой 71 подачи горючей смеси и системой поджога 70.

[110]

С генератора ударных волн импульсы поступают на вход основной камеры сгорания 5 через детонационную трубу 73.

[111]

Поток воздуха в воздуховоде, проточная часть которого ограничена с наружной стороны трубой 68, а с внутренней стороны поверхностями конусного центрального тела 67, конусной и цилиндрической поверхностями генератора ударных волн 69 и детонационной трубой 73, поступает в основную камеру сгорания 5, входная часть которой выполнена в виде диффузора с патрубком 74.

[112]

Патрубок 74, длина которого определяется экспериментально, позволяет предотвратить обратный удар газов из основной камеры в период между двумя импульсами ударной волны, за время поступления которых обратное истечение газов из основной камеры не успевает преодолеть путь равный длине патрубка 74.

[113]

С целью более полного заполнения воздухом детонационной трубы 73 она может иметь перфорированные отверстия по окружности или быть составной с кольцевыми зазорами между элементами трубы.

[114]

Отмеченные конструктивные особенности детонационной трубы 73 на чертеже не показаны.

[115]

В представленных вариантах используются генераторы ударных волн, в которых заложены различные способы их работы.

[116]

Ниже представлены варианты устройств генераторов ударных волн, способ работы которых основаны на машинном и не машинном преобразовании химической энергии топлива в энергию направленного потока импульсов ударных волн.

[117]

Так взятый за аналог и прототип патент DE 1020140011962 А1 имеет генератор ударных волн, который можно отнести к машинному преобразованию энергии.

[118]

Здесь авторами применено свободное движение поршня в цилиндре, при котором продукты сгорания при высоком давлении, в конце такта в высшей мертвой точке, распределяются на две части, одна из которых отводится в детонационную трубу, а вторая часть расходуется на сжатие вновь поступившей топливной смеси.

[119]

Предложенный генератор ударных волн относится к поршневым машинным преобразователям энергии со свободным движением поршней.

[120]

Такой тип машин имеет ряд серьезных недостатков, что не позволяет их применение в стационарных и транспортных энергоустановках. К ним следует отнести неуравновешенность предложенного преобразователя энергии, не решенная проблема первого, особенно повторного запуска и однорежимность работы. Особенно это относится к преобразователям энергии с детонационным сжиганием топлива.

[121]

Кроме того, детонационное сгорание топлива может привести к разрушению камеры сгорания и других подвижных частей устройства, поэтому необходимо применение газового накопителя энергии и амортизатора, смягчающего удары детонационной волны.

[122]

Предложенное изобретение [заявка №2016111931/20 (018746)] лишено перечисленных недостатков.

[123]

Это достигается за счет применения двух поршней со встречным движением, один из которых связан с газовым накопителем энергии выполняющим также роль амортизатора, движение которого синхронизировано с движением другого поршня, связанного с кривошипно шатунным механизмом и маховиком. Генератор ударных волн с машинным преобразованием энергии в идеализированной постановке представляет поршневую тепловую машину по преобразованию тепловой энергии, выделившуюся при сгорании различных видов топлива, в кинетическую энергию продуктов сгорания в виде движущихся импульсов давления в одном направлении. Принцип машинного преобразования включает в себя процесс адиабатного сжатия топливной смеси поршнем в цилиндре до температуры самовоспламенения или принудительного воспламенения, в результате которого происходит сгорание топлива, как в детонационном, так и в не детонационном режиме.

[124]

Для детонационного режима сгорания газообразного топлива характерны высокие скорости протекания процесса с выделением практически всей теплоты химической реакции за короткое время с возникновением высоких температур и высоких давлений продуктов сгорания.

[125]

Отвод части газа, при максимально достигнутом давлении продуктов сгорания осуществляется через окно в регулируемое сопло и далее в детонационную трубу.

[126]

При истечении продуктов сгорания с такими параметрами через регулируемое сопло образуется ударная волна, скорость распространения которой может существенно превышать скорость звука. При детонационном сгорании топлива образуется более короткий импульс, чем при бездетонационном сгорании.

[127]

Собственно генератором ударных волн является периодическое производство таких ударных импульсов с частотой равной частоте возвратно поступательного движения поршней. Базовым вариантом при создании машинного генератора детонационных волн был принят двухтактный цикл.

[128]

Таким образом, принят способ работы генератора ударных волн, при котором энергия продуктов сгорания при высоком давлении в конце такта в высшей мертвой точке распределяется на две части, одна из которых отводится в детонационную трубу, а вторая часть расходуется на сжатие вновь поступившей горючей смеси.

[129]

При этом осуществляют работу двух поршней со встречным движением, один из которых связан с газовыми накопителями энергии, выполняющим при этом также роль амортизатора и управляет формированием импульсов ударных волн, а второй - с кривошипно шатунным механизмом и маховиком и служит для сжатия новой порции горючей смеси.

[130]

В предложенном устройстве реализована работа двух поршней со встречным движением, один из которых связан с газовыми накопителями энергии и управляет формированием импульсов ударных волн, а второй с кривошипно шатунным механизмом и маховиком.

[131]

На фиг. 11. представлен генератор ударных волн с машинным преобразованием энергии теплоты выделившейся при сгорании топлива, с газовым накопителем энергии выполняющим роль также амортизаторов в котором давление газа не меняется и равно атмосферному давлению окружающей среды, принцип действия которого основан на создании разреженного пространства в цилиндре с поршнем с дальнейшим силовым воздействием газов атмосферного давления на поршень и применим при работе на высоте до 5 км. Количество энергии накопленной разреженным пространством определяется созданным объемом этого пространства при преодолении силы давления газов атмосферы окружающей среды.

[132]

Устройство состоит из единого цилиндра 73 в, котором размещены поршни 71 и 72 и камера сгорания 74.

[133]

Поршень 71 посредство шатуна 75 соединен с коленчатым валом 76 и маховиком 77.

[134]

Открытием и закрытием окон для подачи горючей смеси через окно 78 и сброса продуктов сгорания через окно 79 управляет поршень 71, а функции накопителя энергии силового импульса сгорания горючей смеси выполняет второй поршень 72, находящийся в цилиндре 73.

[135]

Поршень 72 жестко связан со штоком 87 на котором закреплены поршни 85 и 86, находящиеся в открытых с одной стороны цилиндрах 83 и 84, соответственно.

[136]

Цилиндры 83 и 84 сверху открыты для воздействия давления газов окружающей атмосферы на находящихся в них поршни 85 и 86, соответственно.

[137]

Для выхода газовой струи в детонационную трубу 91 импульса ударной волны в цилиндре 73 имеется окно 90, открытие которого связано с газовым накопителем энергии посредством поршня 72.

[138]

Для отвода газовой струи импульса ударной волны в детонационную трубу 91 имеется регулируемое сопло 102.

[139]

Принцип действия газового накопителя энергии основан на создании разрежения в полостях 81 и 82 цилиндров 83 и 84 с размещенными в них поршнями 85 и 86 с преодолением силы давления газов атмосферы окружающей среды при их движении под действием поршня 72.

[140]

Количество поршней для создания разрежения в данном случае показано два (85 и 86), но при создании конкретного устройства их может быть 3, 4 и более.

[141]

В момент прохождения поршнем 71 высшей мертвой точки осуществляется поджог системой зажигания 101 горючей смеси, в результате чего силовой импульс сгорания горючей смеси воспринимается поршнем 72, который уходит вверх и посредством штока 87 приводит в движение поршни 85 и 86, которые, преодолевая силу атмосферного давления создают разрежение в полостях 81 и 82.

[142]

Одновременно открывается окно 90 и часть газов при высоком давлении в виде газового импульса ударной волны, через регулируемое сопло 102 уходит в детонационную трубу 91.

[143]

Под действием силы атмосферного давления поршни 85 и 86 возвращаются обратно и передают накопленную энергию и энергию расширения оставшейся части продуктов сгорания, посредством поршня 71, шатуна 75 и коленчатого вала 76, маховику 77.

[144]

Поршень 71, двигаясь вниз, открывает окно 79, через которое сбрасывается оставшаяся часть продуктов сгорания в атмосферу, и далее через открывшееся окно 78 поступает свежая порция горючей смеси в камеру сгорания 74. Накопленная энергия маховика 77 расходуется на сжатие свежей порции горючей смеси при дальнейшем движении поршня вверх.

[145]

Задача управления накопителями энергии заключается в создании необходимого разрежения и его стабилизации в полостях цилиндров накопителей энергии в зависимости от давления окружающей среды и осуществляется с помощью устройства создания предварительного разрежения включающего в себя вакуумный насос 92, соединенный с вакуумным ресивером 99, трубопроводом 93, на линии которого установлен управляемый вентиль 94, трубопровод 95 подсоединенный к полостям 81 и 82 посредством блока управления 96.

[146]

Для подачи воздуха в полости 81 и 82 имеется трубопровод 97 с управляемым вентилем 98.

[147]

Если нужно поднять давление в полостях цилиндров накопителей энергии открывается регулируемый вентиль 98, а для создания более глубокого разрежения открывается регулируемый вентиль 94.

[148]

Более точная настройка давления осуществляется с помощью блока управления 96, с подключенными к нему датчика перемещений 100 и датчика разрежения 103. При этом учитываются режимные и переходные характеристики процессов генератора ударных волн.

[149]

Подготовка горючей смеси и ее подвод в цилиндр двигателя, регулирование процессом детонационного сгорания топливной смеси, организация отвода продуктов сгорания на рисунке не показаны.

[150]

На фиг. 12 представлен генератор ударных волн с машинным преобразованием энергии теплоты, выделившейся при сгорании топлива, с устройством газовых накопителей энергии, выполняющих роль также амортизаторов, совмещающих в себе накопители энергии связанные одновременно, как с созданием разрежения, так и сжатием воздуха.

[151]

Такой накопитель энергии позволяет работать генератору ударных волн в разреженных слоях атмосферы, более 5 км.

[152]

Устройство состоит из единого цилиндра 105 разделенного перегородкой 122 и с крышкой 118, в каждой части которого находятся поршни 85 и 86 жестко соединенные со штоком 87 и с поршнем 72.

[153]

При движении поршня 72 в газовых пространствах 81, 82 цилиндра 105 происходит разрежение воздуха, а в газовых полостях 121, 120 цилиндра 105 происходит сжатие воздуха. Таким образом, роль накопителя энергии выполняет воздух под давлением созданным в полостях 120 и 121.

[154]

Управление газовыми накопителями энергии осуществляется аналогично управлению устройства, представленном на фиг. 11.

[155]

Управление накопителем энергии сжатого воздуха осуществляется с помощью создания давления в газовых полостях 121, 120 цилиндра 105 компрессором 111 по линии 110, на которой установлены газовый баллон 112 и управляемый вентиль 113. Для сброса воздуха из газовых полостей 121, 120 имеется трубопровод 126, на линии которого установлен управляемый вентиль 125.

[156]

Для контроля давления в газовых полостях 121 и 120 установлен датчик давления 114 с выводом данных на блок управления 96.

[157]

Блок управления 96 с помощью управляемых вентилей 125, 113 и компрессора 111, а также с учетом давления в полстях 81 и 82 создает и стабилизирует в полостях 120 и 121 давление воздуха. Также блок управления 96 создает и стабилизирует разрежение в полостях 81 и 82.

[158]

Ниже представлен вариант устройства генератора ударных волн, принцип действия которого основан на не машинном преобразовании химической энергии топливной смеси в энергию направленного потока импульсов ударных волн.

[159]

Так взятый за аналог и прототип патент RU 2429366 можно отнести к генератору ударных волн с не машинным преобразователем энергии, который одновременно является реактивным двигателем. Здесь представлен пульсирующий воздушно реактивный двигатель, в котором создаются условия взрывного сгорания горючей смеси в камере сгорания с дальнейшим выбросом продуктов сгорания через резонансную трубу с целью создания тяги.

[160]

Такой двигатель представляет собой генератор ударных волн и если его рассматривать только в таком виде, то представленный генератор может эффективно работать при его предварительном разгоне до скоростей больших скорости звука. При таком условии, взрывной характер горения топливной смеси позволяет осуществить выброс продуктов сгорания в резонансную трубу, так как впускной канал запирается скачком уплотнения образованным на острие центрального тела в виде конуса.

[161]

Указанного недостатка лишен предложенный генератор ударных волн, работа которого основана на взрывном характере горения топливной смеси в закрытом объеме камеры сгорания с выбросом продуктов сгорания только в детонационную трубу и не зависит от скорости его передвижения в воздушном пространстве.

[162]

На фиг. 13 представлен генератор ударных волн с преобразованием энергии теплоты, выделившейся при сгорании топливной смеси, в энергию направленного потока импульсов ударной волны без предварительного сжатия топливной смеси в камере сгорания.

[163]

Принцип действия такого генератора основан на способности топливной смеси детонировать без предварительного сжатия.

[164]

Генератор состоит из камеры 136 детонационного сгорания горючей смеси, соединенной с детонационной трубой 135 для отвода импульсов ударной волны.

[165]

Подвод газообразных горючего и окислителя в камеру детонационного сгорания 136 осуществляется раздельно с помощью трубопроводов 132 и 130 при одинаковом давлении в смеситель 131, после которого подготовленная смесь попадает через капиллярную трубную доску 133 в камеру сгорания. Для поджога горючей смеси и стабилизации частоты импульсов в камере детонационного сгорания 136 используется система поджога 134.

[166]

Капиллярная трубная доска 133 собрана из капиллярных трубок с высокой теплоаккумулирующей способностью и высокой теплопроводностью, например, из меди.

[167]

Генератор работает при близком к стехиометрическому соотношению горючего и окислителя, находящихся в газообразном состоянии. В качестве горючего может быть водород и углеводородные соединения с высоким содержанием водорода, например, метан, этан, пропан, ацетилен, а в качестве окислителя кислород или фтор.

[168]

Смеси таких составов могут детонировать при их поджоге без предварительного сжатия.

[169]

Генератор ударных волн работает следующим образом.

[170]

В первом цикле запуска газообразные горючее и окислитель через трубопроводы 130 и 132 при одинаковых давлениях поступает в камеру смесителя 131 и далее через капиллярную трубную доску в камеру детонационного сгорания 136. После поджога горючей смеси системой поджога 134 происходит ее сгорание в детонационном режиме, а возникший импульс ударной волны, отражаясь от капиллярной трубной доски, поступает в детонационную трубу 135 в которой вместе с воздухом, находящейся в трубе и, уплотняя его, выходит вместе с ним наружу.

[171]

Капиллярная трубная доска из за высокого гидравлического сопротивления каждого капилляра, а также высоких теплоаккумулирующих и теплопроводящих свойств препятствует проникновению пламени в камеру смешения 131.

[172]

После выхода ударного импульса из детонационной трубы 135 в нее устремляется воздух и происходит ее заполнение.

[173]

Одновременно со стороны капиллярной трубной доски 133, через ее капилляры поступает горючая смесь и заполняет камеру сгорания 136.

[174]

После встречи фронтов воздуха со стороны детонационной трубы и горючей смеси со стороны камеры сгорания производится следующий поджог свежей горючей смеси системой поджога 134.

[175]

Частота поджога определяется скоростью заполнения камеры сгорания 134 горючей смесью через капиллярную трубную доску 133 и скоростью заполнения воздухом детонационной трубы 135.

[176]

В качестве системы поджога могут быть применены свечи, например, с электрическим, электромагнитным и лазерным воздействием на горючую смесь.

[177]

На фиг. 14 представлены варианты исполнения труб для отвода импульсов ударной волны из детонационной камеры сгорания, где:

[178]

а - труба цельная, состоящая из одной трубы,

[179]

б - труба цельная перфорированная из одной трубы,

[180]

в - труба составная из цилиндрических элементов,

[181]

г - труба составная из конических элементов.

Как компенсировать расходы
на инновационную разработку
Похожие патенты