Изобретение относится к масложировой промышленности. Способ выделения жира из отходов при производстве майонеза включает предварительный нагрев отходов до температуры 135°С. Затем под вакуумом отходы диспергируют и подвергают при перемешивании дополнительному нагреву до 99°С. После дополнительного нагрева под вакуумом ведут отделение жира на фильтрующей сетке, расположенной под наклоном 20-30° к горизонтальной оси. Изобретение позволяет увеличить выход жира из отходов при производстве майонеза с 94 до 99%. 1 ил., 1 табл.
Способ выделения жира из отходов при производстве майонеза, включающий предварительный нагрев и дополнительный нагрев отходов до 99°С при перемешивании с последующим отделением жира под вакуумом, отличающийся тем, что предварительный нагрев отходов ведут до температуры 135°С, затем под вакуумом отходы диспергируют и подвергают их дополнительному нагреву, а отделение жира ведут на фильтрующей сетке, расположенной под наклоном 20-30° к горизонтальной оси.
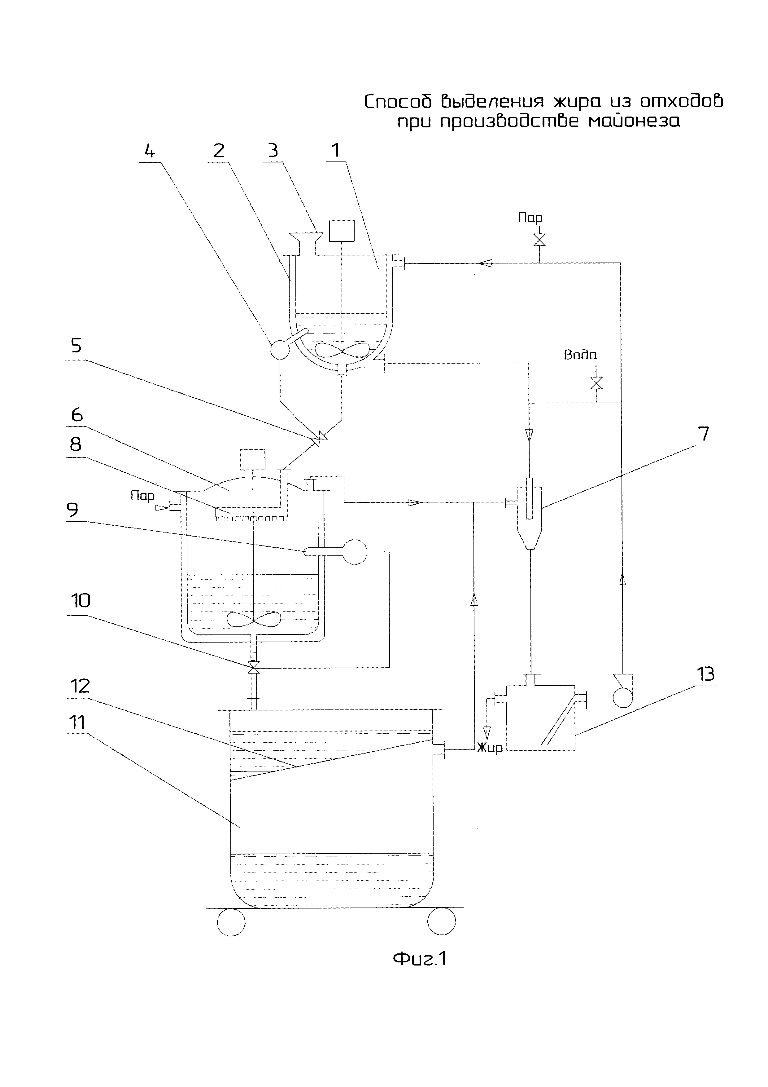
Изобретение относится к масложировой промышленности и касается способа выделения жира из отходов при производстве майонеза. Жировые отходы при производстве майонеза включают бракованный майонез, концентрированную эмульсию, образующуюся при пуске и остановке линии, жировой слой промывных вод после обработки слабоконцентрированных эмульсий. Наиболее близким по технической сущности является способ выделения жира из отходов при производстве майонеза, включающий предварительный нагрев и дополнительный нагрев отходов до 99°С при перемешивании, с последующим отделением жира под вакуумом, в котором предварительный нагрев отходов ведут до 40-55°С, затем отходы обрабатывают раствором поваренной соли в количестве 12% от массы отходов, после чего ведут дополнительный нагрев, затем отстаивают в течение 2-х часов, а затем отделяют растительные масла с помощью вакуумной системы, выход выделенного жира составляет 90-94%, см. SU Авторское свидетельство №1463743, МПК 4 C11В 13/00, 1989. Недостатками известного способа являются недостаточный выход выделенного масла, усложнение разделения фаз из-за наличия солевого раствора, а также загрязнение окружающей среды промывными водами. Технической проблемой является недостаточный выход выделенного масла, усложнение разделения фаз из-за наличия солевого раствора, а также загрязнение окружающей среды промывными водами. Техническая проблема решается способом выделения жира из отходов при производстве майонеза, включающим предварительный нагрев и дополнительный нагрев отходов до 99°С при перемешивании с последующим отделением жира под вакуумом, согласно изобретению предварительный нагрев отходов ведут до температуры 135°С, затем под вакуумом отходы диспергируют и подвергают их дополнительному нагреву, а отделение жира ведут на фильтрующей сетке, расположенной под наклоном 20-30° к горизонтальной оси. Решение технической задачи позволяет увеличить выход выделенного масла из отходов при производстве майонеза с 94% до 99%. Заявленный способ осуществляют следующим образом. Отходы майонеза загружают в емкость 1 с обогревательной рубашкой 2 через загрузочную воронку 3, предварительно прогревают при перемешивании до температуры 135°С. При достижении указанной температуры отходов от датчика температуры 4 открывается клапан 5 и содержимое из емкости 1 диспергируют в емкость 6, в которой предварительно создают вакуум, равный 50 кПа с помощью эжекционного насоса 7. После диспергирования отходов через форсунки 8 в емкость 6 производят при перемешивании дополнительный нагрев отходов до температуры 99°С. При достижении указанной температуры, от датчика температуры 9 открывается клапан 10 и работа эжекционного насоса переключается на вакуумирование емкости для сбора жира 11. В верхней части емкости 11 расположена фильтрующая сетка 12 под наклоном 20-30° к горизонтальной оси. В вакуумированную емкость 11 подачу отходов осуществляют в угол фильтрующей сетки 12. Образующиеся пары воды при дополнительном нагреве отходов в емкости 6 с помощью эжекционного насоса 7 конденсируют и направляют в флорентину 13, конденсат сепарируют от жира и возвращают в обогревательную рубашку 2 емкости 1 для предварительного нагрева отходов. Для лучшего понимания изобретения, приводим пример конкретного выполнения. Отходы при производстве майонеза марки «Провансаль», содержащего 67% жира, 25% воды, 3.7% углеводов, 2.8% белков, 1.5% золы и 0.6% органических кислот, предварительно нагревают в емкости 1 до температуры 135°С. Далее под вакуумом отходы диспергируют из емкости 1 через форсунки 8 в емкость 6 и подвергают их дополнительному нагреву до 99°С.После дополнительного нагрева под вакуумом ведут отделение жира на фильтрующей сетке 12, расположенной под наклоном 20-30° к горизонтальной оси емкости 11, при этом твердые остатки остаются на фильтрующей сетке, а чистое растительное масло с содержанием жира более 99% стекает на дно емкости для сбора жира 11. Выделившееся растительное масло (жиры) может использоваться в пищевой промышленности. Данные по режимным условиям осуществления способа выделения жира из отходов при производстве майонеза и количество выделяемого жира, % по прототипу и заявляемому объекту приведены в таблице. Таким образом, заявленный способ выделения жира из отходов при производстве майонеза по сравнению с прототипом экологически более чист и позволяет увеличить выход жира до 99%.