Изобретение относится к радиотехнике и может использоваться при построении фазовых пеленгаторов в составе радиоизмерительных устройств, систем и комплексов сверхвысокочастотного (СВЧ) диапазона. Достигаемый технический результат - исключение неопределенности фазовой неидентичности приемных радиоканалов, что позволяет исключить необходимость предварительной регулировки приемных радиоканалов. Указанный результат достигается за счет того, что пеленгатор СВЧ диапазона содержит N приемных радиоканалов (состоящих из приемной антенны, узла связи, преобразователя частоты и усилителя промежуточной частоты), частотно-генерирующее устройство (ЧГУ), первый, второй и третий двухканальные коммутаторы, кроме первого, нагруженные соответственно первой и второй согласованными нагрузками, гетеродин, подключенный к гетеродинным входам преобразователей частоты, блок обработки сигналов и управления (БОСУ), при этом ЧГУ формирует М сигналов калибровки на отличных друг от друга частотах, которые выбираются таким образом, чтобы на соседних частотах приращение разностей фаз сигнала калибровки с выходов приемных радиоканалов, для которых определяется фазовая неидентичность, не превышало по модулю значения π. БОСУ выполнен с возможностью управления алгоритмом работы частотно-генерирующего устройства. 3 з.п. ф-лы, 3 ил.
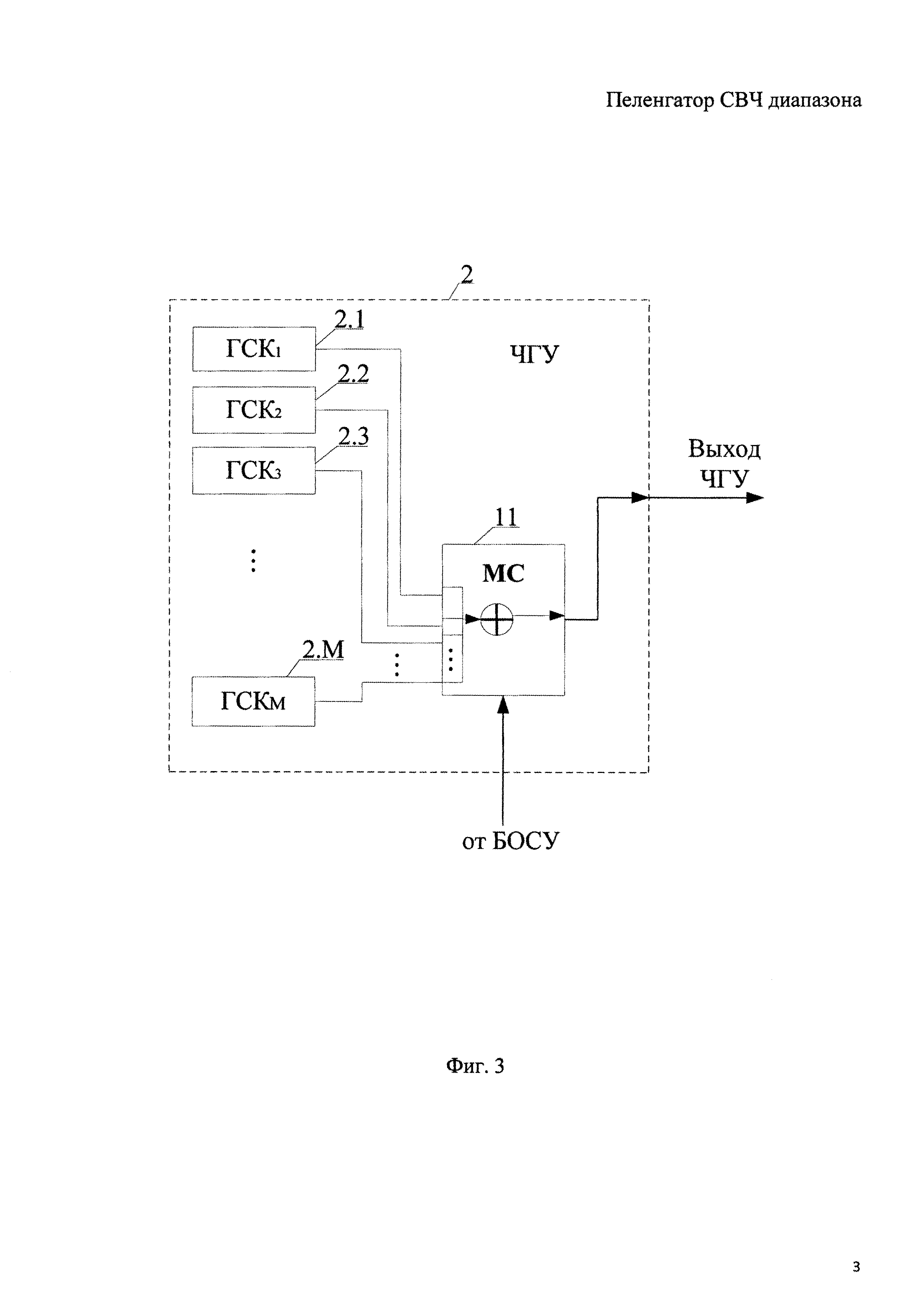
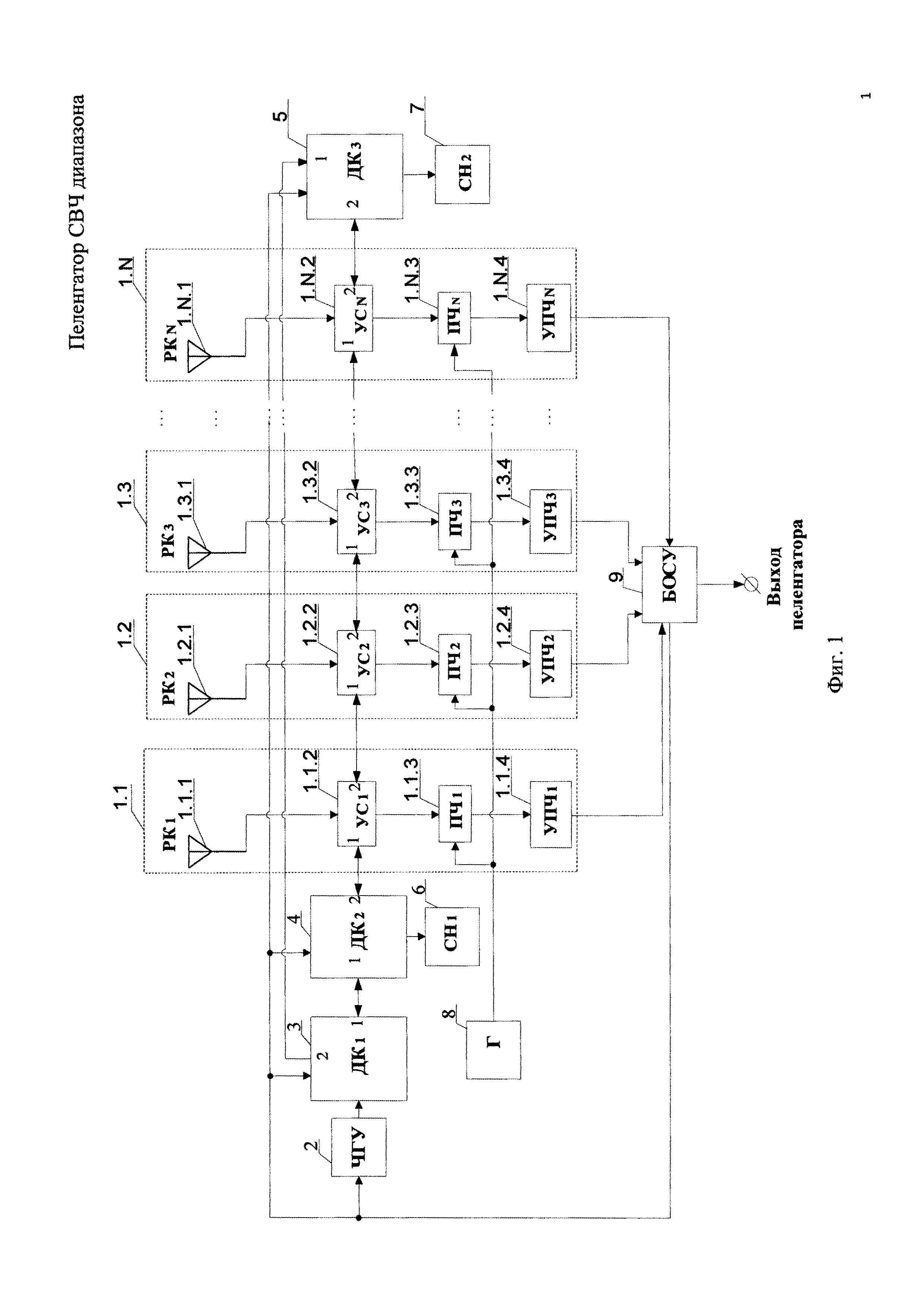
1. Пеленгатор СВЧ диапазона, содержащий N приемных радиоканалов, входы которых соответственны входам пеленгатора, при этом каждый приемный радиоканал выполнен из последовательно соединенных приемной антенны, узла связи, преобразователя частоты и усилителя промежуточной частоты, частотно-генерирующее устройство (ЧГУ), выход которого подключен к входу первого двухканального коммутатора, первый и второй входы - выходы которого подсоединены соответственно к первым входам - выходам второго и третьего двухканальных коммутаторов, нагруженных соответственно первой и второй согласованными нагрузками, второй вход - выход второго двухканального коммутатора соединен с первым входом - выходом узла связи первого приемного радиоканала, второй вход - выход узла связи каждого приемного радиоканала, кроме N-го, соединен с первым входом - выходом узла связи последующего приемного радиоканала, а второй вход - выход узла связи Ν-го приемного радиоканала соединен со вторым входом - выходом третьего двухканального коммутатора, гетеродин, подключенный к гетеродинным входам преобразователей частоты, блок обработки сигналов и управления (БОСУ), входы которого соединены с соответствующими выходами усилителей промежуточной частоты, управляющий выход - с соответствующими управляющими входами первого, второго и третьего двухканальных коммутаторов, а информационный выход - с выходом пеленгатора, отличающийся тем, что частотно-генерирующее устройство функционально выполнено формирующим M сигналов калибровки на отличных друг от друга частотах, выбираемых таким образом, чтобы на соседних частотах приращение полной фазы контрольного сигнала на выходах любых из приемных радиоканалов составляло не больше значения ±π, БОСУ выполнен с возможностью управления алгоритмами работы частотно-генерирующего устройства, при этом управляющий выход БОСУ подсоединен к управляющему входу ЧГУ. 2. Пеленгатор СВЧ диапазона по п. 1, отличающийся тем, что частотно-генерирующее устройство состоит из M генераторов сигнала калибровки и многоканального коммутатора, при этом сигнальные выходы всех генераторов сигнала калибровки соединены с соответствующими сигнальными входами многоканального коммутатора, управляющий вход и выход которого соединены соответственно с входом и выходом ЧГУ. 3. Пеленгатор СВЧ диапазона по п. 1, отличающийся тем, что частотно-генерирующее устройство состоит из M генераторов сигнала калибровки и многоканального сумматора, при этом сигнальные выходы всех генераторов сигнала калибровки соединены с соответствующими сигнальными входами многоканального сумматора, управляющий вход и выход которого соединены соответственно с входом и выходом ЧГУ. 4. Пеленгатор СВЧ диапазона по п. 1, отличающийся тем, что частотно-генерирующее устройство выполнено в виде управляемого генератора сигналов калибровки.
Изобретение относится к радиотехнике и может использоваться при построении фазовых пеленгаторов в составе радиоизмерительных устройств, систем и комплексов СВЧ диапазона. Известны технические решения построения фазовых пеленгаторов для определения пеленга источника излучения [1]. Фазовые пеленгаторы содержат следующие функциональные блоки: приемные радиоканалы, состоящие из последовательно соединенных антенного и приемного устройств, и вычислительное устройство. Антенное устройство каждого радиоканала через приемное устройство соединено с вычислительным устройством, при этом приемное устройство имеет структуру супергетеродинного приемника, а антенное устройство содержит антенну СВЧ диапазона (с направленной или с ненаправленной диаграммами направленности) с предварительным усилителем радиочастоты. Антенное устройство пеленгатора содержит две и более антенны (с направленной или с ненаправленной диаграммами направленности, либо их вариации) с предварительными усилителями радиочастоты. Пеленгаторы, образованные парами антенн, измеряют разность фаз сигнала источника излучения на соответствующих выходах приемных радиоканалов. Недостатком таких фазовых пеленгаторов является низкая точность определения направления на источник радиоизлучения (пеленг) из-за фазовой неидентичности приемных радиоканалов. Устранение фазовой неидентичности приемных радиоканалов техническими методами является сложной задачей. Известен фазовый пеленгатор, описанный в патенте США №4494118 от 15.01.1985 [2], имеющий структуру с общеизвестным типом построения пеленгационных устройств, который содержит N антенн и приемных радиоканалов, гетеродинный генератор, блок контроля и блок обработки и управления. На примере пеленгатора с двумя антеннами и приемными каналами представлено доказательство достижения технического результата - измерение фазовой неидентичности приемных радиоканалов для учета ее при определении истинной разности фаз сигнала, принимаемого антеннами. Недостатком данного устройства является зависимость систематической ошибки измерения идентичности приемного радиоканала от неидентичности элементов в цепи контроля, таких как делителей мощности и коммутаторов. Поэтому при одинаковой электрической длине радиоканалов разности фаз контрольных сигналов, измеренных на выходе этих радиоканалов на первом и втором этапах измерений, будут отличаться друг от друга на величину фазовой неидентичности этих элементов, что ограничивает значение потенциальной точности разности фаз. Прототипом изобретения является пеленгационное устройство (первый вариант, патент RU №2269791) [3]. По первому варианту исполнения изобретения радиопеленгатор содержит N приемных радиоканалов, состоящих из последовательно соединенных приемной антенны, ненаправленного элемента связи, смесителя и усилителя промежуточной частоты (УПЧ). Радиопеленгатор содержит также гетеродин, выходы которого подключены к гетеродинным входам смесителей, три двухканальных переключателя, причем выходы первого двухканального переключателя соединены с соответствующими входами второго и третьего двухканальных переключателей, выходные плечи второго и третьего двухканальных переключателей соединены соответственно с третьим плечом первого и четвертым плечом N-ого ненаправленных элементов связи, вторые выходные плечи второго и третьего двухканальных переключателей присоединены соответственно к входам согласованных нагрузок, контрольный генератор, выход которого подключен к входному плечу первого двухканального переключателя, выходы всех N усилителей промежуточной частоты соединены с соответствующими входами блока обработки и управления, четвертое плечо ненаправленного элемента связи каждого радиоканала, кроме последнего, соединено с третьим плечом ненаправленного элемента связи последующего радиоканала, то есть четвертое плечо первого ненаправленного элемента связи соединено с третьим плечом второго ненаправленного элемента связи, четвертое плечо второго ненаправленного элемента связи соединено с третьим плечом третьего ненаправленного элемента связи т.д., при этом четвертое плечо ненаправленного элемента связи N-ого приемного радиоканала соединено с выходным плечом третьего двухканального переключателя. Радиопеленгатор работает следующим образом. Через приемные антенны входные сигналы поступают на ненаправленные элементы связи, далее на сигнальные входы смесителей, где происходит их преобразование по частоте, то есть перенос сигнала из диапазона сверхвысоких частот в диапазон промежуточных частот. После смесителя сигналы усиливаются в усилителях промежуточной частоты и поступают на блок обработки и управления, в котором производятся фазовые измерения и вырабатываются согласно заданной программе сигналы, управляющие всеми двухканальными переключателями. Проверка фазовой идентичности радиоканалов выполняется в два этапа, при отсутствии входных сигналов. На первом этапе сигнал контрольного генератора через первый и второй двухканальные переключатели последовательно поступает во все приемные радиоканалы от первого к N-ому через плечи ненаправленных элементов связи, а также во вторую согласованную нагрузку через входное плечо и второе выходное плечо третьего двухканального переключателя, при этом первое выходное плечо третьего двухканального переключателя и первая согласованная нагрузка отключены от контрольного генератора с помощью первого и второго двухканальных переключателей. На втором этапе направление распространения контрольного сигнала изменяется на противоположное и происходит от N-ого приемного радиоканала к первому через плечи ненаправленных элементов связи, а также в согласованную нагрузку через второе выходное плечо второго двухканального переключателя. При этом вторая согласованная нагрузка отключается от контрольного генератора с помощью третьего двухканального переключателя. Проверка фазовой идентичности приемных радиоканалов с индексами i, j, (i≠j), i, j∈[1, N] производится путем обработки разности фаз контрольных сигналов на соответствующих выходах приемных радиоканалов, отличающихся друг от друга направлением распространения контрольного сигнала. В данном устройстве ошибка измерения фазовой неидентичности приемных радиоканалов зависит только от неидентичности узлов ненаправленного ввода контрольного сигнала и может быть сделана достаточно малой. Полученные значения фазовой неидентичности приемных радиоканалов учитываются в конечном результате измерений фаз сигналов или могут быть скомпенсированы с помощью управляемых фазовращателей, включенных в радиоканалы. Недостатком данного технического решения является неоднозначность измерения фазовой неидентичности приемных радиоканалов, в силу цикличности приращения полных фаз контрольного сигнала. Неопределенность измерения фазовой неидентичности приемных радиоканалов равна ±π, что приводит к необходимости предварительной настройки приемных радиоканалов таким образом, чтобы фазовая неидентичность приемных радиоканалов была в диапазоне Техническим результатом изобретения является исключение неопределенности фазовой неидентичности приемных радиоканалов, что позволяет исключить необходимость предварительной регулировки приемных радиоканалов. Технический результат достигается за счет того, что в пеленгаторе СВЧ диапазона, содержащем N приемных радиоканалов, при этом каждый из которых выполнен из последовательно соединенных приемной антенны, узла связи, преобразователя частоты и усилителя промежуточной частоты, частотно-генерирующее устройство (ЧГУ), выход которого подключен к входу первого двухканального коммутатора, первый и второй входы-выходы которого подсоединены соответственно к первым входам-выходам второго и третьего двухканальных коммутаторов, нагруженных соответственно первой и второй согласованными нагрузками, второй вход-выход второго двухканального коммутатора соединен с первым входом-выходом узла связи первого приемного радиоканала, второй вход-выход узла связи каждого приемного радиоканала, кроме N-ого, соединен с первым входом-выходом узла связи последующего приемного радиоканала, второй вход-выход узла связи N-ого приемного радиоканала соединен со вторым входом-выходом третьего двухканального коммутатора, гетеродин, подключенный к гетеродинным входам преобразователей частоты, блок обработки сигналов и управления (БОСУ), входы которого соединены с соответствующими выходами усилителей промежуточной частоты, управляющий выход - с соответствующими управляющими входами первого, второго и третьего двухканальных коммутаторов, а информационный выход - с выходом пеленгатора, частотно-генерирующее устройство функционально выполнено таким образом, что формирует М сигналов калибровки на отличных друг от друга частотах, которые выбираются так, чтобы на соседних частотах приращение разностей фаз сигнала калибровки с выходов приемных радиоканалов, для которых определяется фазовая неидентичность, не превышало по модулю значения π как на первом, так и на втором этапе измерений, и при этом разница соседних частот была минимальной. Блок обработки сигналов и управления выполнен с возможностью управления алгоритмом работы частотно-генерирующего устройства, при этом управляющий выход БОСУ подсоединен к управляющему входу ЧГУ. Частотно-генерирующее устройство может быть выполнено из М генераторов сигнала калибровки и многоканального коммутатора, при этом сигнальный выход каждого генератора сигнала калибровки соединен с соответствующим сигнальным входом многоканального коммутатора, управляющий вход и выход которого соединены соответственно с входом и выходом ЧГУ. Частотно-генерирующее устройство может быть выполнено из М генераторов сигнала калибровки и многоканального сумматора, при этом сигнальный выход каждого генератора сигнала калибровки соединен с соответствующим сигнальным входом многоканального сумматора, управляющий вход и выход которого соединены соответственно с входом и выходом ЧГУ. Частотно-генерирующее устройство может быть выполнено в виде управляемого генератора сигналов калибровки в аналоговом исполнении либо цифровом по общепринятым схемотехническим решениям. Изобретение поясняется структурными схемами, приведенными на фиг. 1, 2, 3. На фиг. 1 приведена структурная схема пеленгатора СВЧ диапазона. На фиг. 2, 3 приведены структурные схемы частотно-генерирующего устройства (варианты исполнения). Пеленгатор СВЧ диапазона (фиг. 1) содержит N приемных радиоканалов 1.1, 1.2, 1.3, …, 1.N, при этом каждый приемный радиоканал 1.1, 1.2, 1.3, …, 1.N состоит из последовательно соединенных приемной антенны 1.1.1, 1.2.1, 1.3.1, …, 1.N.1, узла связи 1.1.2, 1.2.2, 1.3.2, 1.N.2, преобразователя частоты 1.1.3, 1.2.3, 1.3.3, …, 1.N.3 и усилителя промежуточной частоты 1.1.4, 1.2.4, 1.3.4, …, 1.N.4, частотно-генерирующее устройство 2, выход которого подключен к входу первого двухканального переключателя 3, первый и второй входы-выходы которого подсоединены соответственно к первым входам-выходам второго и третьего двухканальных коммутаторов 4, 5, нагруженных соответственно первой и второй согласованными нагрузками 6, 7. Второй вход-выход второго двухканального коммутатора 4 соединен с первым входом-выходом узла связи 1.1.2, второй вход-выход каждого узла связи 1.1.2, 1.2.2, 1.3.2, …, 1.N-1.2, кроме 1.N.2, соединен соответственно с первым входом - выходом узла связи 1.2.2, 1.3.2, 1.4.2, …, 1.N.2 последующего радиоканала, а второй вход-выход узла связи 1.N.2 соединен со вторым входом-выходом третьего двухканального коммутатора 5. Гетеродин 8 подключен к гетеродинным входам преобразователей частоты 1.1.3, 1.2.3, 1.3.3, …, 1.N.3. Входы блока обработки сигналов и управления 9 соединены с соответствующими выходами усилителей промежуточной частоты 1.1.4, 1.2.4, 1.3.4, …, 1.N.4, управляющий выход соединен с соответствующими управляющими входами частотно-генерирующего устройства, первого, второго и третьего двухканальных коммутаторов, а информационный выход - с выходом пеленгатора. Частотно-генерирующее устройство 2 (фиг. 2) состоит из М генераторов сигнала калибровки 2.1, 2.2, 2.3, …, 2.М и многоканального коммутатора 10, при этом сигнальные выходы всех генераторов сигнала калибровки 2.1, 2.2, 2.3, …, 2.М соединены с соответствующими сигнальными входами многоканального коммутатора 10, управляющий вход которого соединен с входом ЧГУ, а выход - с выходом частотно-генерирующего устройства. Частотно-генерирующее устройство 2 (фиг. 3) состоит из М генераторов сигнала калибровки 2.1, 2.2, 2.3, …, 2.М и многоканального сумматора 11, при этом сигнальные выходы всех генераторов сигнала калибровки 2.1, 2.2, 2.3, …, 2.М соединены с соответствующими сигнальными входами многоканального сумматора 11, управляющий вход которого соединен с входом ЧГУ, а выход - с выходом частотно-генерирующего устройства. Пеленгатор СВЧ диапазона (фиг. 1) с частотно-генерирующим устройством 2 (фиг. 2, 3) работает следующим образом. Входные сигналы поступают на приемные антенны 1.1.1, 1.2.1, 1.3.1, …, 1.N.1 соответствующих приемных радиоканалов 1.1, 1.2, 1.3, …, 1.N и через узлы связи 1.1.2, 1.2.2, 1.3.2, …, 1.N.2 попадают на сигнальные входы преобразователей частоты 1.1.3, 1.2.3, 1.3.3, …, 1.N.3, где с помощью сигнала гетеродина 8 несущие частоты входных сигналов преобразуются в диапазон промежуточных частот. После преобразования частот эти сигналы усиливаются в усилителях промежуточной частоты 1.1.4, 1.2.4, 1.3.4, …, 1.N.4 и затем поступают в блок обработки сигналов и управления 9, в котором производятся фазовые измерения и формируются согласно заданной программе сигналы управления двухканальными коммутаторами 3, 4, 5 и частотно-генерирующим устройством. Проверка фазовой неидентичности приемных радиоканалов 1.1, 1.2, 1.3, …, 1.N пеленгатора СВЧ диапазона (фиг. 1) с частотно-генерирующим устройством 2 (фиг. 2) осуществляется обработкой результатов измерений приращения разностей фаз сигнала калибровки с выходов приемных радиоканалов на частотах, которые выбираются таким образом, чтобы на соседних частотах приращение полной фазы сигнала калибровки на выходах приемных радиоканалов не превышало значения ±π. Каждый этап разделен на М тактов. Этап определяет направление распространения сигнала калибровки, а такт соответствует выбору частоты сигнала калибровки. Для упрощения опишем алгоритм определения фазовой неидентичности на m-ном такте работы. На первом этапе m-ого такта, согласно заданной программе, сигнал на частоте На втором этапе направление распространения сигнала калибровки изменяется на противоположное. На втором этапе m-ого такта сигнал m-ого генератора сигнала калибровки 2.m через многоканальный коммутатор 10, первый и третий двухканальные коммутаторы 3, 5, последовательно распространяется от N-ого приемного радиоканала 1.N к первому приемному радиоканалу 1.1 через узлы связи 1.N.2, …, 1.3.2, 1.2.2, 1.1.2, а также в согласованную нагрузку 6 через второй вход-выход и выход второго двухканального коммутатора 4, при этом первый вход-выход второго двухканального коммутатора 4 и вторая согласованная нагрузка 7 отключены от m-ого генератора сигнала калибровки 2.m соответственно с помощью первого и третьего двухканальных коммутаторов 3, 5, а все остальные генераторы сигнала калибровки 2.1, 2.3, 2.4, …, 2.m-1, 2.m+1, …, 2.М отключены от выхода частотно-генерирующего устройства 2 многоканальным коммутатором 10. Затем согласно заданному алгоритму управления многоканальным коммутатором 10, формируемому в блоке обработки сигналов и управления 9, на втором этапе m-ого такта происходит отключение выхода частотно-генерирующего устройства 2 от m-ого генератора сигнала калибровки 2.m и его подключение к m+1-ому генератору сигнала калибровки 2.m+1, при этом все остальные генераторы сигнала калибровки 2.1, 2.3, 2.4, …, 2.m, 2.m+2, …, 2.М отключены от выхода частотно-генерирующего устройства 2 многоканальным коммутатором 10. Аналогично далее происходит отключение и подключение к выходу частотно-генерирующего устройства 2 всех остальных генераторов сигнала калибровки 2.1, 2.2, 2.3, …, 2.М, соответствующих своему такту. Алгоритм работы многоканального коммутатора 10 задан блоком обработки сигналов и управления 9 таким образом, что к выходу частотно-генерирующего устройства 2 подключается только один из множества генераторов сигнала калибровки 2.1, 2.2, 2.3, …, 2.М. Проверка фазовой неидентичности приемных радиоканалов 1.1, 1.2, 1.3, …, 1.N пеленгатора СВЧ диапазона (фиг. 1) с частотно-генерирующим устройством 2 (фиг. 3) осуществляется в два этапа в отсутствии входных сигналов. На первом этапе сигналы калибровки с частотами На втором этапе направление распространения сигналов калибровки изменяется на противоположное и происходит от N-го приемного радиоканала 1.N к первому приемному радиоканалу 1.1. Теперь сигналы с частотами Проверка фазовой неидентичности приемных радиоканалов 1.1, 1.2, 1.3, …, 1.N пеленгатора СВЧ диапазона (фиг. 1) с частотно-генерирующим устройством 2, которое представляет собой управляемый генератор сигналов калибровки, осуществляется обработкой результатов измерений приращения разностей фаз сигнала калибровки с выходов радиоканалов на частотах, которые выбираются таким образом, чтобы на соседних частотах приращение полной фазы сигнала калибровки на выходах приемных радиоканалов не превышало значения ±π. Выдача сигналов калибровки сетки частот При первом способе формирование сетки частот частотно-генерирующее устройство 2 выполняет с разделением по времени, то есть работа его соответствует работе частотно-генерирующего устройства 2 (фиг. 2). В этом случае каждый этап разделен на М тактов. Этап определяет направление распространения сигнала калибровки, а такт соответствует выбору частоты сигнала калибровки. Для упрощения опишем алгоритм определения фазовой неидентичности на m-ном такте работы. На первом этапе m-ого такта, согласно заданной программе, сигнал калибровки на частоте На втором этапе направление распространения сигнала калибровки изменяется на противоположное. На втором этапе m-ого такта сигнал калибровки на частоте При втором способе частотно-генерирующее устройство 2 выдает сетку частот без разделения по времени, то есть его работа соответствует работе частотно-генерирующего устройства 2 (фиг. 3). В этом случае этап работы определяет направление распространения сигнала калибровки. На первом этапе, согласно заданной программе, сигналы калибровки с частотами На втором этапе направление распространения сигналов калибровки изменяется на противоположное и происходит от N-ого приемного радиоканала 1.N к первому приемному радиоканалу 1.1. Теперь сигналы калибровки с частотами Проверка фазовой неидентичности приемных радиоканалов 1.1, 1.2, 1.3, …, 1.N проводится для произвольно выбранных пар приемных радиоканалов 1.1, 1.2, 1.3, …, 1.N на частотах Рассмотрим алгоритм устранения фазовой неидентичности приемных радиоканалов для многоканального фазового моноимпульсного пеленгатора, образованного N приемными радиоканалами, в котором оценивается разность фаз между выходами произвольно выбранных приемных радиоканалов (PKi, PKj, i≠j). Реализация алгоритма устранения фазовой неидентичности приемных радиоканалов осуществляется в блоке обработки сигналов и управления 9. Суть алгоритма заключается в попеременном введении фиксированных фазовых сдвигов на разных частотах в сигнал калибровки, поступающий на входы приемных радиоканалов фазового моноимпульсного пеленгатора, и по информации о величинах разностей фаз сигнала калибровки с выходов приемных радиоканалов с учетом частотной дисперсии этих разностей фаз определяется величина фазовой неидентичности приемных радиоканалов. Пусть частота сигнала калибровки равна где i и j - индексы радиоканалов; m - индекс частоты сигнала калибровки; L - номер этапа; На первом этапе полная фаза сигнала калибровки на частоте где ϕm,i - начальная фаза сигнала калибровки на частоте ωm в точке ввода сигнала приемного радиоканала с индексом i. Полная фаза сигнала калибровки на выходе приемного радиоканала с индексом j при распространении сигнала по линии связи от радиоканала с индексом i в направлении радиоканала с индексом j: где На втором этапе полная фаза сигнала калибровки на выходе радиоканала с индексом i при распространении сигнала по линии связи от радиоканала с индексом j в направлении радиоканала с индексом i определяется выражением: здесь ϕm,j - начальная фаза сигнала калибровки в точке ввода сигнала приемного радиоканала j; Вследствие принципа взаимности тракта передачи сигнала калибровки от радиоканала от точки ввода сигнала приемного радиоканала с индексом j(i) до точки ввода сигнала приемного радиоканала с индексом На частоте ωm полная фаза сигнала калибровки на выходе приемного радиоканала с индексом j равна: Нужно отметить, что измерение полной фазы сигнала θ в силу периодичности круговых функций невозможно. Ее значение можно определить с неопределенностью кратной значению 2π, то есть где k - параметр неоднозначности измерения фазы сигнала равный произвольному целому из диапазона (-∞, ∞); ϕ - измеренная часть полной фазы сигнала в диапазоне [-π, π]. Выражение (1) с учетом равенств (2, 3, 4, 5) и замечания (6) примет вид: где Величина Из (7) следует: здесь Введем функцию Р(α, β), определяющую разность углов α и β через круговые функции: P(α, β)=arctan(cos(α-β), sin(α-β)) здесь cos(α-β)=cosαcosβ+sinαsinβ sin(α-β)=sinαcosβ-cosαsinβ при этом разность углов α и β определяется в диапазоне [-π, π]. Из уравнения (7) следует, что величина полной фазовой неоднозначности радиоканалов с индексами i и j равна: Отсюда следует, что величина фазовой неидентичности радиоканалов с индексами i и j, которая определяется через измерения разностей фаз калибровки сигнала Для устранения данной коллизии используем частотную дисперсию величины фазовой задержки θ. Частоты Условие (10), может быть выполнено, безусловно, при достаточно малых приращениях частоты Δωm=ωm+1-ωm; m∈[1, М-1]; L=1, 2; Алгоритм устранения фазовой неоднозначности имеет следующий вид: 1. Вычисляются параметры фазовой неоднозначности измерения полной разности фаз радиоканалов с индексами i и j на частоте ω1 для первого и второго этапов калибровки: Выражение (1) для частоты ω1 на первом и втором этапах калибровки имеет вид: По определению: где Из (11), (12) с учетом (13), (14), (15), (16) для первого и второго этапов (L=1, 2) калибровки следует: L=1, 2 Отметим, что выполняются равенства: L=1, 2 где L=1, 2 При наличии случайных ошибок измерений оценка полных разностей фаз на частоте ωk равных для первого и второго этапов калибровки (L=1, 2) L=1, 2 здесь Из (20) следует: L=1, 2 и L=1, 2 здесь […]R - вычисление ближайшего целого значения операнда. 2. Вычисляются фазовая неидентичность радиоканалов с индексами i и j и фазовая задержка тракта передачи сигнала калибровки между этими радиоканалами на частоте ω, лежащей в интервале [ωm, ωm+1]: Полная разность фаз сигнала калибровки на частоте ω, (ω∈[ωm, ωm+1]) на первом и втором этапах калибровки с учетом (7) запишется в виде: здесь где: Величина фазовой неидентичности приемных радиоканалов с индексами i и j на частоте ω, находящейся в интервале частот [ωm, ωm+1], выраженная через разность полных фазовых задержек радиоканалов, равна: Величина полной фазовой задержки линии передачи сигнала калибровки между радиоканалами с индексами i и j на частоте ω, находящейся в интервале частот [ωm, ωm+1], равна: Отсюда следует: 1 - фазовая неидентичность приемных радиоканалов с индексами i и j на частоте ω, (ω∈[ωm, ωm+1]) обозначенная как и соответственно: здесь где 2 - фазовая задержка тракта передачи сигнала калибровки и соответственно: здесь где Расчет в блоке обработке сигналов и управления 9 значений фазовой неидентичности приемных радиоканалов с индексами i и j на частоте ω, [ω∈[ωm, ωm+1]) по выражению (21) и фазовой задержки тракта передачи сигнала калибровки Источники информации 1. Радиотехнические системы: Учеб. для вузов по спец. "Радиотехника" / Ю.П. Гришин, В.П. Ипатов, Ю.М. Казаринов и др.; Под ред. Ю.М. Казаринова. - М.: Высш. шк., 1990. - 496 с.: ил. (стр. 281-283, стр. 306-321, стр. 377-381). 2. Direction finding interferometer internal calibration system, United States Patent №4494118, G01S 5/02, date of patent: jan. 15, 1985. 3. Пеленгационное устройство СВЧ и его вариант, патент RU №2269791, G01S 3/10, G01S 7/40, бюл. №4 от 10.02.2006.
.
m-ого генератора сигнала калибровки частотно-генерирующего устройства 2 через многоканальный коммутатор 10 попадает на вход первого двухканального коммутатора 3, затем на первый вход-выход второго двухканального коммутатора 4 и далее последовательно поступает во все приемные радиоканалы 1.1, 1.2, 1.3, …, 1.N от первого к N-ому через узлы связи 1.1.2, 1.2.2, 1.3.2, …, 1.N.2, а также в согласованную нагрузку 7 через второй вход - выход и выход третьего двухканального коммутатора 5, при этом первый вход - выход третьего двухканального коммутатора 5 и согласованная нагрузка 6 отключены от m-ого генератора сигнала калибровки 2.m соответственно с помощью первого и второго двухканальных коммутаторов 3, 4, а все остальные генераторы сигнала калибровки 2.1, 2.2, 2.3, …, 2.m-1, 2.m+1, …, 2.М отключены от выхода частотно-генерирующего устройства 2 многоканальным коммутатором 10. Далее согласно заданному алгоритму управления многоканальным коммутатором 10, формируемому в блоке обработки сигналов и управления 9, на первом этапе m+1 такта происходит отключение выхода частотно-генерирующего устройства 2 от m-ого генератора сигнала калибровки 2.m и его подключение к m+1-ому генератору сигнала калибровки 2.m+1, при этом все остальные генераторы сигнала калибровки 2.1, 2.2, 2.3, …, 2.m, 2.m+2, …, 2.М отключены от выхода частотно-генерирующего устройства 2 многоканальным коммутатором 10. Аналогично далее происходит отключение и подключение к выходу частотно-генерирующего устройства 2 всех остальных генераторов сигнала калибровки 2.1, 2.2, 2.3, …, 2.М, соответствующих своему такту.
генераторов сигнала калибровки 2.1, 2.2, 2.3, …, 2.М частотно-генерирующего устройства 2 через многоканальный сумматор 11 попадают на вход первого двухканального коммутатора 3, затем на вход - выход второго двухканального коммутатора 4 и далее последовательно поступают во все приемные радиоканалы 1.1, 1.2, 1.3, …, 1.N от первого к N-ому через плечи узлов связи 1.1.2, 1.2.2, 1.3.2, …, 1.N.2, а также в согласованную нагрузку 7 через второй вход-выход и выход третьего двухканального коммутатора 5, при этом первый вход-выход третьего двухканального коммутатора 5 и согласованная нагрузка 6 отключены от выхода частотно - генерирующего устройства 2 соответственно с помощью первого и второго двухканальных коммутаторов 3, 4.
генераторов сигнала калибровки 2.1, 2.2, 2.3, …, 2.М через многоканальный сумматор 11, первый и третий двухканальные коммутаторы 3, 5 последовательно распространяются от N-го приемного радиоканала 1.N к первому через узлы связи 1.1.2, 1.2.2, 1.3.2, …, 1.N.2, а также в согласованную нагрузку 6 через второй вход - выход и выход второго двухканального коммутатора 4, при этом первый вход - выход второго двухканального коммутатора 4 и вторая согласованная нагрузка 7 отключены от выхода частотно-генерирующего устройства 2 соответственно с помощью первого и третьего двухканальных коммутаторов 3, 5.
частотно-генерирующим устройством 2 осуществляется двумя способами.
частотно-генерирующего устройства 2 попадает на вход первого двухканального коммутатора 3, затем на первый вход-выход второго двухканального коммутатора 4 и далее последовательно поступает во все приемные радиоканалы 1.1, 1.2, 1.3, …, 1.N от первого к N-ому через узлы связи 1.1.2, 1.2.2, 1.3.2, …, 1.N.2, а также в согласованную нагрузку 7 через второй вход-выход и выход третьего двухканального коммутатора 5, при этом первый вход - выход третьего двухканального коммутатора 5 и согласованная нагрузка 6 отключены от частотно-генерирующего устройства 2 соответственно с помощью первого и второго двухканальных коммутаторов 3, 4. Затем согласно заданному алгоритму управления частотно-генерирующим устройством 2, формируемому в блоке обработки сигналов и управления 9, на первом этапе m+1 такта происходит переключение частотно-генерирующего устройства 2 на выдачу сигнала калибровки частоты
.
через первый и третий двухканальные коммутаторы 3, 5, последовательно распространяется от N-ого приемного радиоканала 1.N к первому приемному радиоканалу 1.1 через узлы связи 1.1.2, 1.2.2, 1.3.2, …, 1.N.2, а также в согласованную нагрузку 6 через вход-выход и выход второго двухканального коммутатора 4, при этом первый вход-выход второго двухканального коммутатора 4 и вторая согласованная нагрузка 7 отключены от частотно-генерирующего устройства 2 соответственно с помощью первого и третьего двухканальных коммутаторов 3, 5. Затем согласно заданному алгоритму управления частотно-генерирующим устройством 2, формируемому в блоке обработки сигналов и управления 9, на втором этапе m+1 такта происходит переключение частотно-генерирующего устройства 2 на выдачу сигнала калибровки частоты
.
частотно-генерирующего устройства 2 попадают на вход первого двухканального коммутатора 3, затем на первый вход-выход второго двухканального коммутатора 4 и далее последовательно поступают во все приемные радиоканалы 1.1, 1.2, 1.3, …, 1.N от первого к N-ому через плечи узлов связи 1.1.2, 1.2.2, 1.3.2, …, 1.N.2, а также в согласованную нагрузку 7 через второй вход-выход и выход третьего двухканального коммутатора 5, при этом первый вход-выход третьего двухканального коммутатора 5 и согласованная нагрузка 6 отключены от частотно-генерирующего устройства 2 соответственно с помощью первого и второго двухканальных коммутаторов 3, 4.
управляемого генератора сигналов калибровки через двухканальные коммутаторы 3, 5 последовательно распространяются от N-ого приемного радиоканала 1.N к первому через узлы связи 1.1.2, 1.2.2, 1.3.2, …, 1.N.2, а также в согласованную нагрузку 6 через второй вход - выход и выход второго двухканального коммутатора 4. При этом первый вход - выход второго двухканального коммутатора и вторая согласованная нагрузка 7 отключены от частотно-генерирующего устройства 2 соответственно с помощью первого и третьего двухканальных коммутаторов 3, 5.
частным случаем является пример, когда один из приемных радиоканалов 1.1, 1.2, 1.3, …, 1.N выбирается как опорный и относительно него определяются параметры фазовой неидентичности приемных радиоканалов 1.1, 1.2, 1.3, …, 1.N. Измерения проводятся в два этапа, отличающихся друг от друга направлением распространения сигналов калибровки. Неидентичность электрических длин двух приемных радиоканалов 1.1, 1.2, 1.3, …, 1.N определяется через разность фаз сигналов калибровки на соответствующих частотах
измеренных в блоке обработки сигналов и управления 9 на первом и втором этапе, а неопределенность разности фаз определяется числом полных периодов разности фаз сигналов калибровки, вычисленных в блоке обработки сигналов и управления 9.
(m∈[1, М]) и соответственно круговая частота равна
тогда полная разность фаз сигнала калибровки с выходов радиоканалов с индексами i и j (i≠j, i, j∈[1, N]) на первом и втором этапах равна:
- полная разность фаз сигнала калибровки;
- полная фаза сигнала калибровки на выходе приемного радиоканала с индексом j на этапе L;
- полная фаза сигнала калибровки на выходе приемного радиоканала с индексом i на этапе L;
на выходе приемного радиоканала с индексом i равна:
- групповая задержка на частоте ωm приемного радиоканала с индексом i;
- групповая задержка на частоте ωm приемного радиоканала с индексом j;
- групповая задержка на частоте ωm распространения сигнала калибровки по линии связи от точки ввода сигнала приемного радиоканала с индексом i до точки ввода сигнала приемного радиоканала с индексом j.
- групповая задержка на частоте ωm распространения сигнала калибровки по линии связи от точки ввода сигнала приемного радиоканала с индексом j до точки ввода сигнала приемного радиоканала с индексом i.
.


- измеренные в диапазоне [-π, π] разности фаз сигналов калибровки на выходах радиоканалов с индексами i, j на первом и втором этапах процедуры оценки фазовой неидентичности радиоканалов равные:
здесь
- операция исключения по модулю 2π;
- неизвестные параметры фазовой неоднозначности измерения разностей фаз
равные:
где
- неизвестные параметры фазовой неоднозначности фаз сигналов радиоканалов с индексами i, j на первом и втором этапах процедуры оценки фазовой неидентичности радиоканалов.
является по определению величиной полной фазовой неидентичности радиоканалов с индексами i и j, а
- полной фазовой задержкой линии передачи сигнала калибровки между радиоканалами с индексами i и j на частоте ωm, (m∈[1, М]).
значения производных разностей фаз на частоте ωm.
и
на 1 и 2 этапах калибровки, равная
, имеет неопределенность кратную π.
выбираются таким образом, чтобы приращения полных разностей фаз между соседними частотами на обоих этапах калибровки не превышали по абсолютному значению величины равной π, то есть выполнялось неравенство:






- параметры фазовой неоднозначности измерения полной разности фаз на частоте ω1, на 1 и 2 этапах калибровки.

- приращения полной разности фаз при изменении частоты от ω1 до ωk для первого и второго этапов калибровки, вычисляемые по выражениям:
могут быть определены из решения систем уравнений следующих из выполнения равенств (18):
вычисляется через приращения разностей фаз следующим образом:


- параметры фазовой неоднозначности измерения полной разности фаз на частоте ω1 на 1 и 2 этапах калибровки определяются в соответствии выражением:

- измеренные разности фаз сигнала калибровки на частоте ω с выходов радиоканалов с индексами i и j для первого и второго этапов калибровки;
- приращения параметров неоднозначности измерений разностей полных фаз сигнала калибровки на частоте ω для первого и второго этапов калибровки относительно параметров неоднозначности измерения разностей полных фаз сигнала калибровки на частоте ω1 равные:
- приращение полной разности фаз при изменении частоты от ω1 до ω, (ω∈[ωm, ωm+1]) на первом этапе калибровки;

приведенная к интервалу [-π, π], равна:

- параметр устранения неоднозначности фазовой неидентичности радиоканалов с индексами i и j на частоте ω равный

между приемными каналами с индексами i и j на частоте ω, (ω∈[ωm, ωm+1]), приведенная к интервалу [-π, π], равна:

- параметр устранения неоднозначности фазовой неидентичности линии передачи сигнала калибровки от радиоканала с индексом i к радиоканалу с индексом j на частоте ω равный:

между приемными каналами по выражению (22) решает поставленную задачу.