Группа изобретений относится к медицине, а именно к лабораторной диагностике, и может быть использована для одновременного выявления представителей условных таксономических групп микроорганизмов, патогенных для человека и животных. Характеризуется использованием как минимум пяти иммунохроматографических стрип-тестов, размещенных в едином корпусе. При этом в первом и втором каналах корпуса устройства находятся стрип-тесты для выявления токсинов, в третьем канале - стрип-тест для выявления вегетативных форм бактерий, в четвертом - споровых форм бактерий, а в пятом - стрип-тест для выявления питательной среды культивирования вирусов и риккетсий. Тестирование ведут путем укладки корпуса иммунохроматических стрип-тестов в теплоизолирующий цефленовый пакет, состоящий из двух слоев цефлена, с теплоизолирующей прокладкой из пористого теплоизолирующего материала между ними, а корпус иммунохроматографических стрип-тестов внутри пакета нагревают источником постоянного тепла, причем отверстие пакета закрывают механическим зажимом и считают этот момент началом тестирования. Также предложено устройство для иммунохроматографического анализа. Группа изобретений позволяет увеличить производительность иммунохроматографического анализа, расширить температурный диапазон иммунохроматографического анализа от минус 20 до плюс 50°C, сократить время получения результата до 10 мин по сравнению с анализом при комнатной температуре (20 мин), при условии достижения одинаковой чувствительности, повысить чувствительность анализа по сравнению с анализом, проводимым при комнатной температуре. 2 н. и 7 з.п. ф-лы, 5 ил., 4 табл., 8 пр.
1. Способ одновременного выявления представителей условных таксономических групп микроорганизмов, патогенных для человека и животных, характеризующийся использованием как минимум пяти иммунохроматографических стрип-тестов, размещенных в едином корпусе, при этом в первом и втором каналах корпуса устройства находятся стрип-тесты для выявления токсинов, в третьем канале - стрип-тест для выявления вегетативных форм бактерий, в четвертом - споровых форм бактерий, а в пятом - стрип-тест для выявления питательной среды культивирования вирусов и риккетсий, отличающийся тем, что тестирование ведут путем укладки корпуса иммунохроматических стрип-тестов в теплоизолирующий цефленовый пакет, состоящий из двух слоев цефлена, с теплоизолирующей прокладкой из пористого теплоизолирующего материала между ними, а корпус иммунохроматографических стрип-тестов внутри пакета нагревают источником постоянного тепла, причем отверстие пакета закрывают механическим зажимом и считают этот момент началом тестирования. 2. Способ по п. 1, отличающийся тем, что используют химический источник тепла, который помещают в теплоизолирующий цефленовый пакет и кладут на горизонтальную поверхность, а сверху на химический источник тепла помещают устройство и пробирку с образцом; после прогрева вносят жидкий образец в устройство и вновь помещают устройство в теплоизолирующий цефленовый пакет на химический источник тепла, инкубируют в течение 20 мин и регистрируют результаты анализа. 3. Способ по п. 1, отличающийся тем, что используют электрический источник тепла, который помещают в теплоизолирующий цефленовый пакет и кладут на горизонтальную поверхность, а рядом с электрическим источником тепла помещают устройство и пробирку с образцом; после прогрева вносят жидкий образец в устройство и вновь помещают устройство в теплоизолирующий цефленовый пакет с электрическим источником тепла, инкубируют в течение 20 мин и регистрируют результаты анализа. 4. Способ по п. 3, отличающийся тем, что в качестве электрического источника тепла используют электрический нагреватель, контактный конец шнура питания которого выводят на внешнюю поверхность пакета в виде клеммы, к которой снаружи пакета подключают питание от розетки через адаптер 12 В либо от аккумулятора. 5. Способ по п. 3 или 4, отличающийся тем, что дополнительно внутри пакета вместе с электрическим источником тепла размещают датчик температуры, который используют для отключения электропитания нагревателя при превышении температуры внутри пакета определенного порогового значения. 6. Устройство для иммунохроматографического анализа, содержащее иммунохроматографические стрип-тесты, размещенные в едином корпусе, при этом в первом и втором каналах корпуса устройства находятся стрип-тесты для выявления токсинов, в третьем канале - стрип-тест для выявления вегетативных форм бактерий, в четвертом - споровых форм бактерий, а в пятом - стрип-тест для выявления питательной среды культивирования вирусов и риккетсий, отличающееся тем, что корпус иммунохроматических стрип-тестов помещен в теплоизолирующий цефленовый пакет, состоящий из двух слоев цефлена, с теплоизолирующей прокладкой из пористого теплоизолирующего материала между ними, а корпус иммунохроматографических стрип-тестов внутри пакета расположен вплотную или рядом с источником постоянного тепла, причем отверстие пакета выполнено с возможностью закрытия механическим зажимом. 7. Устройство по п. 6, отличающееся тем, что использован химический источник тепла. 8. Устройство по п. 6, отличающееся тем, что использован электрический источник тепла в виде электрического нагревателя, контактный конец шнура питания которого выведен на внешнюю поверхность пакета в виде клеммы, к которой снаружи пакета подключают питание от розетки через адаптер 12В либо от аккумулятора. 9. Устройство по п. 7, отличающееся тем, что дополнительно внутри пакета вместе с электрическим источником тепла размещен датчик температуры, который подключен к прерывателю электрического контакта, подающего электропитание на нагреватель.
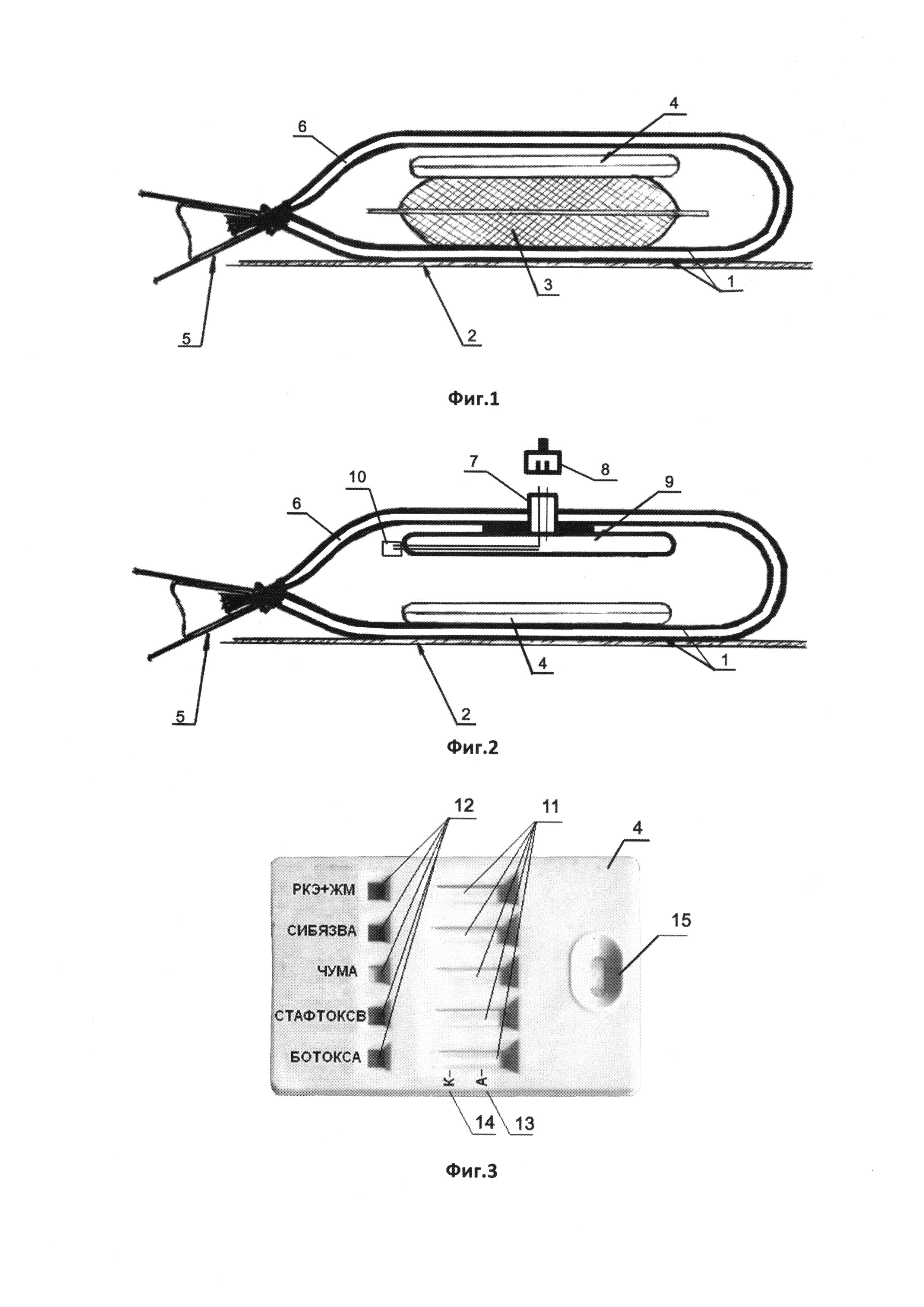
Изобретение относится к иммунологическому анализу и может найти применение в иммунохроматографическом анализе, осуществляемом на стрип-тестах. Для одновременного выявления патогенов иммунохроматографическим анализом применяются устройства с одним стрип-тестом в одном корпусе и несколькими стрип-тестами объединенными в один пластиковый корпус. Известны способы получения устройств с несколькими стрип-тестами: патент US 5238847, патент US 5556789, патент US 5962336, патент US 6203757, международная заявка WO 2007024633, заявка AU 2007349145. Известны способы соединения нескольких стрип-тестов в одном устройстве: патент US 5238847, патент US 5556789, патент US 6203757. Наиболее близким аналогом является устройство «RAID 5» для одновременного выявления иммунохроматографическим анализом спор сибирской язвы, рицина, ботулинических токсинов, стафилококкового энтеротоксина B, чумы производства Alexeter Technologies LLC, США [http://www.alexeter.com/biow/products/products/strips/RAID.asp; опубл.: 18.07.2015]. Устройство для выявления нескольких патогенов, состоящее из иммунохроматографических стрип-тестов, предназначенных для выявления одного вида патогена, помещенных в единый корпус, работает следующим образом. Жидкий образец, содержащий патогены, вносят в отверстие корпуса, под которым находится пористая впитывающая жидкость мембрана, соединяющая отдельные стрип-тесты между собой. Жидкая проба, содержащая патогенны, смачивает данную мембрану и распространяется далее по стрип-тестам. Каждый стрип-тест состоит из полоски мультимембранного композита: мембраны для нанесения образца, мембраны с конъюгатом антител к выявляемому патогену, аналитической мембраны, на которой нанесены в тестовой зоне антитела к выявляемому патогену, в контрольной зоне - антивидовые антитела по отношению к антителу конъюгата, впитывающей мембраны. В процессе иммунохроматографического анализа жидкая проба, содержащая патогены, специфично взаимодействует с антителом конъюгата, образованные иммунные комплексы с током жидкости перемещаются по аналитической мембране до тестовых зон, где происходит взаимодействие с комплексом, в результате чего образуется окраска, не прореагировавший с патогеном конъюгат связывается с антителами контрольной зоны. Впитывающая мембрана, установленная на противоположном (от места нанесения образца) конце стрип-теста, служит для продвижения капиллярного тока жидкости по мембранам стрип-теста. На наличие патогена(-ов) в образце указывает окраска тестовой зоны, окраска контрольной зоны указывает на правильность проведения иммунохроматографического анализа, достаточность объема образца, сохранность функциональных свойств стрип-теста. Недостатком прототипа и иных известных решений является то, что в аналогичных устройствах выявляются споры возбудителя сибирской язвы, возбудитель чумы, токсины, но нет возможности выявления биологического препарата на основе развивающегося куриного эмбриона и желточного мешка (РКЭ+ЖМ), который является питательной средой для выращивания вирусов и риккетсий, наличие которого в исследуемом образце может свидетельствовать о присутствии вирусов и риккетсий. Также недостатком является то, что температурный диапазон применения данных устройств колеблется от комнатной температуры до плюс 48,9°C, что существенно снижает возможности тестирования, поскольку на практике определение патогенных микробов и токсинов может осуществляться во внелабораторных (полевых) условиях, где температура окружающей среды может быть ниже нуля. Задача изобретения - одновременное выявление патогенных микроорганизмов и токсинов, относящихся к разным условным таксономическим группам в широком температурном диапазоне в смывах, полученных из объектов окружающей среды. Технический результат изобретения: - увеличивается производительность иммунохроматографического анализа; - расширяется температурный диапазон иммунохроматографического анализа от минус 20 до плюс 50°C; - сокращается время получения результата до 10 мин по сравнению с анализом при комнатной температуре (20 мин), при условии достижении одинаковой чувствительности; - повышается чувствительность анализа по сравнению с анализом, проводимым при комнатной температуре. Указанный технический результат достигается за счет того, что заявлен способ одновременного выявления представителей условных таксономических групп микроорганизмов, патогенных для человека и животных, характеризующийся использованием как минимум пяти иммунохроматографических стрип-тестов, размещенных в едином корпусе, при этом в первом и втором каналах корпуса устройства находятся стрип-тесты для выявления токсинов, в третьем канале - стрип-тест для выявления вегетативных форм бактерий, в четвертом - споровых форм бактерий, а в пятом - стрип-тест для выявления питательной среды культивирования вирусов и риккетсий, отличающийся тем, что тестирование ведут путем укладки корпуса иммунохроматографических стрип-тестов в теплоизолирующий цефленовый пакет, состоящий из двух слоев цефлена, с теплоизолирующей прокладкой из пористого теплоизолирующего материала между ними, а корпус иммунохроматографических стрип-тестов внутри пакета нагревают источником постоянного тепла, причем отверстие пакета закрывают механическим зажимом и считают этот момент началом тестирования. Предпочтительно, используют химический источник тепла, который помещают в теплоизолирующий цефленовый пакет и кладут на горизонтальную поверхность, а сверху на химический источник тепла помещают устройство и пробирку с образцом; после прогрева вносят жидкий образец в устройство и вновь помещают устройство в теплоизолирующий цефленовый пакет на химический источник тепла, инкубируют в течение 20 мин и регистрируют результаты анализа. Предпочтительно, используют электрический источник тепла, который помещают в теплоизолирующий цефленовый пакет и кладут на горизонтальную поверхность, а рядом с электрическим источником тепла помещают устройство и пробирку с образцом; после прогрева вносят жидкий образец в устройство и вновь помещают устройство в теплоизолирующий цефленовый пакет с электрическим источником тепла, инкубируют в течение 20 мин и регистрируют результаты анализа. Предпочтительно, в качестве электрического источника тепла используют электрический нагреватель, контактный конец шнура питания которого выводят на внешнюю поверхность пакета в виде клеммы, к которой снаружи пакета подключают питание от розетки через адаптер 12B либо от аккумулятора. Предпочтительно, дополнительно внутри пакета вместе с электрическим источником тепла размещают датчик температуры, который используют для отключения электропитания нагревателя при превышении температуры внутри пакета определенного порогового значения. Также заявлено устройство для иммунохроматографического анализа, содержащее иммунохроматографические стрип-тесты, размещенные в едином корпусе, при этом в первом и втором каналах корпуса устройства находятся стрип-тесты для выявления токсинов, в третьем канале - стрип-тест для выявления вегетативных форм бактерий, в четвертом - споровых форм бактерий, а в пятом - стрип-тест для выявления питательной среды культивирования вирусов и риккетсий, отличающееся тем, что корпус иммунохроматографических стрип-тестов помещен в теплоизолирующий цефленовый пакет, состоящий из двух слоев цефлена, с теплоизолирующей прокладкой из пористого теплоизолирующего материала между ними, а корпус иммунохроматографических стрип-тестов внутри пакета расположен вплотную или рядом с источником постоянного тепла, причем отверстие пакета выполнено с возможностью закрытия механическим зажимом. Предпочтительно, использован химический источник тепла. Предпочтительно, использован электрический источник тепла в виде электрического нагревателя, контактный конец шнура питания которого выведен на внешнюю поверхность пакета в виде клеммы, к которой снаружи пакета подключают питание от розетки через адаптер 12B либо от аккумулятора. Предпочтительно, дополнительно внутри пакета вместе с электрическим источником тепла размещен датчик температуры, который подключен к прерывателю электрического контакта, подающего электропитание на нагреватель. Краткое описание чертежей На Фиг. 1 показана схема проведения иммунохроматографического анализа с применением химического источника тепла, где: 1 - слой цефлена, 2 - горизонтальная поверхность, 3 - химический источник тепла, 4 - устройство для одновременного выявления представителей условных таксономических групп микроорганизмов и токсинов, патогенных для человека и животных, 5 - зажим, 6 - слой теплоизолятора. На Фиг. 2 показана схема проведения иммунохроматографического анализа с применением электрического источника тепла, где: 7 - электрический контакт нагревателя, выведенный наружу пакета, 8 - штекер шнура подачи электропитания, 9 - электронагреватель, 10 - датчик температуры. На Фиг. 3 показано устройство для одновременного выявления представителей условных таксономических групп микроорганизмов, патогенных для человека и животных, где: 11 - отверстия для регистрации результата анализа, 12 - отверстия для контроля правильности укладки стрип-тестов, 13 - тестовая зона, 14 - контрольная зона, 15 - отверстие для нанесения образца. На Фиг. 4 показаны примеры результатов иммунохроматографического анализа образцов, содержащих представителей условных таксономических групп микроорганизмов, патогенных для человека и животных, где: А - положительный результат анализа для ботулинического токсина типа А, Б - положительный результат анализа для стафилококкового энтеротоксина типа В, В - положительный результат анализа для возбудителя чумы, Г - положительный результат анализа для спор возбудителя сибирской язвы, Д - положительный результат анализа для биологического препарата (РКЭ+ЖМ). На Фиг. 5 показан результат иммунохроматографического анализа образца, содержащего представителей пяти условных таксономических групп микроорганизмов и токсинов, патогенных для человека и животных. Осуществление изобретения Сущность изобретения заключается в том, что в устройстве применяются иммунохроматографические стрип-тесты, выявляющие представителей условных таксономических групп патогенных микроорганизмов (спор бактерий, вегетативных форм бактерий, вирусов и риккетсий), токсинов, и внешний химический источник тепла, позволяющие осуществлять иммунохроматографический анализ при температурах от минус 20°C до плюс 10°C, ускорять и повышать чувствительность анализа, если он проводится при температурах выше плюс 10°C. О наличии в исследуемой пробе патогенных микроорганизмов или токсинов судят по появлению двух окрашенных полос на поверхности аналитической мембраны. Способ характеризуется использованием как минимум пяти иммунохроматических стрип-тестов, размещенных в едином корпусе, при этом в первом и втором каналах корпуса устройства находятся стрип-тесты для выявления токсинов, в третьем канале - стрип-тест для выявления вегетативных форм бактерий, в четвертом - споровых форм бактерий, а в пятом - стрип-тест для выявления питательной среды культивирования вирусов и риккетсий. Отличием является то, что тестирование ведут путем укладки корпуса иммунохроматических стрип-тестов в теплоизолирующий цефленовый пакет, состоящий из двух слоев цефлена, с теплоизолирующей прокладкой из пористого теплоизолирующего материала между ними, а корпус иммунохроматических стрип-тестов внутри пакета нагревают источником постоянного тепла, причем отверстие пакета закрывают механическим зажимом и считают этот момент началом тестирования. Способ может быть реализован с использованием устройства (см. Фиг. 1, Фиг. 2) для иммунохроматографического анализа, содержащего иммунохроматографические стрип-тесты 4, размещенные в едином корпусе, содержащем каналы 11 стрип-тестов. При этом в первом и втором каналах корпуса устройства находятся стрип-тесты для выявления токсинов, в третьем канале - стрип-тест для выявления вегетативных форм бактерий, в четвертом - споровых форм бактерий, а в пятом - стрип-тест для выявления питательной среды культивирования вирусов и риккетсий. Корпус иммунохроматографических стрип-тестов 4 помещен в цефленовый пакет, состоящий из двух слоев цефлена 1, с теплоизолирующей прокладкой 6 из пористого теплоизолирующего материала между ними. Цефленовый пакет, в который помещают корпус с иммунохроматографическими стрип-тестами 4 содержит источник постоянного тепла, причем отверстие пакета выполнено с возможностью закрытия механическим зажимом 5. В качестве источника тепла может быть использован химический источник тепла 3 (см. Фиг. 1), который помещают в теплоизолирующий цефленовый пакет и кладут на горизонтальную поверхность, а сверху на химический источник тепла 3 помещают устройство 4 и пробирку с образцом. После прогрева вносят жидкий образец в устройство 4 и вновь помещают устройство 4 в теплоизолирующий цефленовый пакет на химический источник тепла 3, инкубируют в течение 20 мин и регистрируют результаты анализа. В качестве источника тепла может быть использован также электрический источник тепла 9 (см. Фиг. 2), который помещают в теплоизолирующий цефленовый пакет и кладут на горизонтальную поверхность, а рядом с электрическим источником тепла 9 помещают устройство 4 и пробирку с образцом; после прогрева вносят жидкий образец в устройство 4 и вновь помещают устройство в теплоизолирующий цефленовый пакет с источником тепла 9, инкубируют в течение 20 мин и регистрируют результаты анализа. Электрический нагреватель 9 может быть выполнен так, что его контактный конец шнура питания выведен на внешнюю поверхность пакета в виде клеммы 7, к которой снаружи пакета подключают питание 8 от розетки через адаптер 12B либо от аккумулятора. Желательно, чтобы внутри пакета вместе с электрическим нагревателем 9 был размещен датчик температуры 10, который используют для отключения электропитания нагревателя при превышении температуры внутри пакета определенного порогового значения. Датчик температуры 10 позволяет исключить перегрев образцов в корпусе 4 в случае проведения тестирования при высоких окружающих температурах воздуха и тем самым повысить качество тестирования. При отрицательных температурах воздуха использование датчика температуры 10 не обязательно. Многие вирусы (вирусы вакцины, бешенства, свинки, кори, герпеса и др.) [Общая вирусология. Лурия С., Дарнелл Дж., Балтимор Д., Кэмпбелл Э. Пер. с англ. Меклера Л.Б. / М.: Мир. 1981. 680 с.] и риккетсий [Лобан К.М. Лихорадка Ky (коксиеллез). / М.: Медицина. 1987. 128 с.] хорошо культивируются в клетках развивающегося куриного эмбриона. Наибольшее практическое применение получило нанесение вируса на хорион-аллантоисную оболочку, введение в аллантоисную, амниотическую полость и в желточный мешок куриного эмбриона [Справочник по микробиологическим и вирусологическим методам исследования. / Под ред. Бирнера М.О. / М.: Медицина. 1982. 464 с.]. Для культивирования риккетсий широко используют желточные мешки развивающихся куриных эмбрионов. Поэтому выявление сопутствующих выше описанным рецептурам белков среды накопления позволяет предполагать наличие в исследуемой пробе, взятой из объектов окружающей среды, вирусов или риккетсий. Путем иммунизации животных белковым препаратом, содержащим ткани развивающегося куриного эмбриона и желточный мешок, нарабатывают и выделяют из сыворотки крови животных специфические иммуноглобулины (антитела) против указанного антигена. Получают конъюгаты наночастиц коллоидного золота с указанными антителами, а также с антителами к спорам сибирской язвы, возбудителю чумы, ботулиническому токсину типа А и стафилококковому энтеротоксину типа В. Наносят конъюгаты на конъюгатные мембраны и высушивают. Получают пять конъюгатных мембран с нанесенными конъюгатами антител и коллоидным золотом. Получают пять аналитических мембран нанесением в виде тонких линий в тестовой зоне антител к биологическому препарату (РКЭ+ЖМ), антител к спорам сибирской язвы, возбудителя чумы, ботулинического токсина типа A и стафилококкового энтеротоксина типа В. Собирают мультимембранные композиты, комбинируя конъюгаты нанесенные на мембраны и аналитические мембраны для выявления одного патогена. Мультимембранные композиты нарезают на полоски, получают стрип-тесты, которые укладывают по одному каждого вида в твердый корпус. Твердый корпус состоит из двух частей. Нижняя часть - предназначена для укладывания и фиксирования стрип-тестов в определенных позициях. Верхняя часть корпуса имеет отверстия для проведения анализа, регистрации результата анализа и контроля правильности укладки стрип-тестов в нижней части корпуса. Стрип-тесты соединяют между собой мембраной, которая накладывается на мембраны для нанесения образца стрип-тестов под углом 90°, накрывают верхней частью корпуса, верхнюю и нижнюю части корпуса соединяют. Получают устройство для одновременного выявления представителей условных таксономических групп микроорганизмов, патогенных для человека (далее устройство). Устройство помещают и запаивают до употребления в цефленовый мешок с осушителем. Готовят теплоизолирующий цефленовый пакет (см. Фиг. 1), состоящий из двух слоев цефлена, с теплоизолирующей прокладкой из пористого теплоизолирующего материала, например пенополиуретана или холофайбера, с одним отверстием, которое закрывается механическим зажимом. Для проведения анализа при температуре окружающей среды от минус 20°C до плюс 10°C активируют химический источник тепла, помещают его в теплоизолирующий цефленовый пакет, который кладут на горизонтальную поверхность. Сверху на химический источник тепла помещают устройство и пробирку с образцом. После прогрева вносят жидкий образец в устройство и вновь помещают устройство в теплоизолирующий цефленовый пакет на химический источник тепла, инкубируют в течение 20 мин и регистрируют результаты анализа. Для ускорения анализа и повышения его чувствительности при температуре окружающей среды выше плюс 10°C активируют химический (или электрический) источник тепла, помещают его в теплоизолирующий цефленовый пакет, который кладут на горизонтальную поверхность. Вносят жидкий образец в устройство, помещают устройство в теплоизолирующий цефленовый пакет на химический (или электрический) источник тепла, инкубируют в течение 20 мин и регистрируют результаты анализа. Пример 1. Получение устройства для одновременного выявления представителей условных таксономических групп микроорганизмов, патогенных для человека и животных Получение мембран с конъюгатами. Применяют конъюгаты наночастиц коллоидного золота со средним диаметром 20 нм с антителами к биологическому препарату (РКЭ+ЖМ), спор сибирской язвы, возбудителя чумы, ботулинического токсина типа A и стафилококкового энтеротоксина типа B. Конъюгаты с оптической плотностью А525=3,0 наносят на стекловолоконные мембраны Millipore и высушивают в помещении с относительной влажностью воздуха от 20 до 30% и температуре плюс 50°C. Получение аналитических мембран. На нитроцеллюлозные мембраны Millipore для иммунохроматографии в виде тонких линий наносят антитела в концентрации 2,0 мг/мл. Для стрип-теста для выявления биологического препарата (РКЭ+ЖМ) в тестовую зону наносят антитела к биологическому препарату (РКЭ+ЖМ), в контрольную зону аналитической мембраны - козьи антитела к иммуноглобулинам кролика. Для стрип-теста для выявления спор сибирской язвы в тестовую зону наносят антитела к спорам сибирской язвы, в контрольную - кроличьи антитела к иммуноглобулинам мыши. Для стрип-теста для выявления возбудителя чумы в тестовую зону наносят антитела к возбудителю чумы, в контрольную - кроличьи антитела к иммуноглобулинам мыши. Для стрип-теста для выявления ботулинического токсина типа A в тестовую зону наносят антитела к ботулиническому токсину типа A, в контрольную - кроличьи антитела к иммуноглобулинам мыши. Для стрип-теста для выявления стафилококкового энтеротоксина типа B в тестовую зону наносят антитела к стафилококковому энтеротоксину типа B, в контрольную - кроличьи антитела к иммуноглобулинам мыши. Полученные аналитические мембраны высушивают в помещении с относительной влажностью воздуха от 20 до 30% и температуре от плюс 20 до плюс 25°C. Сборка мультимембранных композитов. На пластиковую подложку с клеевым слоем для прикрепления мембран мультимембранного композита с перекрытием аналитической мембраны наклеивают мембрану с конъюгатом, на мембрану с конъюгатом - мембрану для нанесения образца (целлюлозную мембрану Millipore). С другой стороны аналитической мембраны - впитывающую мембрану (целлюлозную мембрану Millipore) и цветную самоклеющуюся пленку для цветографической маркировки стрип-теста. Для ботулинического токсина типа A цвет пленки оранжевый, стафилококкового энтеротоксина типа B - зеленый, возбудителя чумы - желтый, спор сибирской язвы - синий, биологического препарата на основе развивающегося куриного эмбриона и желточного мешка - красный. Получение стрип-тестов. Мультимембранные композиты нарезают на полоски шириной 4 мм. Сборка устройства. В нижнюю часть пластиковой оправы помещают стрип-тесты, на подложки для нанесения образца накладывают стекловолоконную мембрану для соединения стрип-тестов. Наклеивают этикетку с наименованием выявляемых аналитов на верхнюю часть оправы. На этикетке наносят маркировку: - БОТОКСА - стрип-тест выявляет ботулинический токсин типа A, - СТАФТОКСВ - стрип-тест выявляет стафилококковый энтеротоксин типа B, - ЧУМА - стрип-тест выявляет возбудитель чумы, - СИБЯЗВА - стрип-тест выявляет споры сибирской язвы - РКЭ+ЖМ - стрип-тест выявляет биологический препарат на основе развивающегося куриного эмбриона и желточного мешка. Пластиковые оправы с мультимембранным композитом помещают в упаковочные пакеты с осушителем и герметично упаковывают. Получают устройство (Фиг. 3), которое имеет отверстие для нанесения образца (15), пять отверстий для регистрации результата анализа (11) и пять отверстий для контроля правильности укладки стрип-тестов (12). В устройстве выполнена тестовая 13 и контрольная 14 зоны. Пример 2. Выявление представителей условных таксономических групп микроорганизмов, патогенных для человека, при температуре окружающей среды выше плюс 10°C В буфере для проведения иммунохроматографического анализа (ТУ 4354-05031637-2007) готовят по 1,0 мл растворов ботулинического анатоксина типа A с концентрацией 30 нг/мл, энтеротоксина типа B из Staphilococcus aureus в концентрации 40 нг/мл, биологический препарат на основе развивающегося куриного эмбриона и желточного мешка в концентрации 100 нг/мл; суспензий вакцины сибиреязвенной живой штамм СТИ-1 (споры В. anthracis) (ФС 42-0095-1376-01) с концентрацией 1×106 спор/мл, взвеси убитой культуры Yersinia pestis вакцинный штамм EV (ФС 42-3810-99) с концентрацией 5×105 м.к./мл. Вскрывают пять упаковочных пакетов, вынимают устройства, кладут их на горизонтальную поверхность лицевой стороной вверх. В отверстие для нанесения образца 1 (рисунок 5) каждого из устройств, вносят по 500 мкл одного вида приготовленных растворов или взвесей бактериальных клеток. Через 20-25 мин регистрируют результат анализа. В отверстии для регистрации результата анализа, соответствующем ботулиническому токсину типа A (БОТОКСА), наблюдают две окрашенные линии в тестовой зоне и контрольной зоне (положительный результат), в остальных отверстиях - по одной окрашенной линии в контрольных зонах (отрицательный результат) (Фиг. 4А). В отверстии для регистрации результата анализа, соответствующем стафилококковому энтеротоксину типа В (СТАФТОКСВ), наблюдают две окрашенные линии в тестовой зоне и контрольной зоне (положительный результат), в остальных отверстиях - по одной окрашенной линии в контрольных зонах (отрицательный результат) (Фиг. 4Б). В отверстии для регистрации результата анализа, соответствующем возбудителю чумы (ЧУМА), наблюдают две окрашенные линии в тестовой зоне и контрольной зоне (положительный результат), в остальных отверстиях - по одной окрашенной линии в контрольных зонах (отрицательный результат) (Фиг. 4В). В отверстии для регистрации результата анализа, соответствующем возбудителю спор сибирской язвы (СИБЯЗВА), наблюдают две окрашенные линии в тестовой зоне и контрольной зоне (положительный результат), в остальных отверстиях - по одной окрашенной линии в контрольных зонах (отрицательный результат) (Фиг. 4Г). В отверстии для регистрации результата анализа, соответствующем биологическому препарату (РКЭ+ЖМ), наблюдают две окрашенные линии в тестовой зоне и контрольной зоне (положительный результат), в остальных отверстиях - по одной окрашенной линии в контрольных зонах (отрицательный результат) (Фиг. 4Д). Пример 3. Одновременное выявление представителей условных таксономических групп микроорганизмов, патогенных для человека, при температуре окружающей среды выше плюс 10°C В буфере для проведения иммунохроматографического анализа (ТУ 4354-05031637-2007) готовят по 1,0 мл растворов ботулинического анатоксина типа A с концентрацией 150 нг/мл, энтеротоксина типа B из Staphilococcus aureus в концентрации 200 нг/мл, биологический препарат (РКЭ+ЖМ) в концентрации 500 нг/мл; суспензий вакцины сибиреязвенной живой (споры В. anthracis) штамм СТИ-1 (ФС 42-0095-1376-01) с концентрацией 5×106 спор/мл, взвеси убитой культуры Yersinia pestis вакцинный штамм EV (ФС 42-3810-99) с концентрацией 2,5×106 м.к./мл. Смешивают по 100 мкл приготовленных растворов, получая 500 мкл исследуемого образца. Вскрывают один упаковочный пакет, вынимают устройство, помещают его на горизонтальную поверхность. В отверстие для нанесения образца устройства вносят 500 мкл приготовленного, как описано выше, образца. Через 20-25 мин регистрируют результат анализа. Во всех пяти отверстиях регистрации результата анализа наблюдали положительный результат - две окрашенные линии в тестовой и контрольной зонах (Фиг. 5). Пример 4. Выявление биологического препарата на основе развивающегося куриного эмбриона и желточного мешка при температуре окружающей среды ниже 0°C. Обычно при температуре окружающей среды от 0 до 10°C иммунохимические реакции идут очень медленно, капиллярное движение тока жидкости и диффузия в иммунохроматографических мембранах затруднены из-за повышенной вязкости водно-солевых буферных растворов. Проведение анализа при отрицательных температурах невозможно из-за того, что водные растворы образцов находятся в замороженном состоянии. Тем не менее на практике выявление патогенов в окружающей среде необходимо и при пониженных температурах. На данном примере показана возможность проведения иммунохроматографического анализа при температуре окружающей среды минус 20°C. Механическим воздействием активируют автономный химический источник тепла 3 (например, АИСТ ТУ 2389-003-14665192-2004) до ощущения тепла и помещают его в цефленовый пакет, имеющий слой изолятора 6, размещенный между слоями цефлена 1. Устройство в упаковке, пробирку с раствором биологического препарата (РКЭ+ЖМ), помещают на разогретый химический источник тепла в теплоизолирующем цефленовом пакете, пакет закрывают зажимом, кладут на горизонтальную поверхность в климатической камере, где температура окружающего воздуха составляет минус 20°C. Через 10 мин открывают теплоизолирующий цефленовый пакет, вынимают устройство 4 в упаковке и пробирку с раствором аналита. Вскрывают пакет устройства, в отверстие вносят 500 мкл раствора биологического препарата (РКЭ+ЖМ) пипеткой устройства. Устройство аккуратно помещают на химический источник тепла 3 в теплоизолирующем цефленовом пакете, который закрывают зажимом 5. Через 20-25 мин регистрируют результат анализа. В отверстии для регистрации результата анализа, соответствующем биологическому препарату (РКЭ+ЖМ), наблюдают две окрашенные линии в аналитической зоне и контрольной зоне, в остальных отверстиях - по одной окрашенной линии в контрольных зонах (Фиг. 4). Пример 5. Ускоренное выявление спор возбудителя сибирской язвы При температуре окружающей среды от 10 до 35°C иммунохроматографический анализ спор возбудителя сибирской язвы занимает 20-25 мин. Для снижения времени анализа в два раза активируют автономный химический источник тепла (например, АИСТ ТУ 2389-003-14665192-2004), кладут грелку на горизонтальную поверхность в теплоизолирующем цефленовом пакете, как это описано в примере 4. В буфере для проведения иммунохроматографического анализа готовят суспензию вакцины сибиреязвенной живой (споры В. anthracis) штамм СТИ-1 (ФС 42-0095-1376-01) с концентрацией 1×106 спор/мл объемом 1,0 мл. Вскрывают два упаковочных пакета, вынимают два устройства, одно кладут на химический источник тепла, второе - на горизонтальную поверхность. Отбирают 500 мкл суспензии спор возбудителя сибирской язвы пипеткой и вносят ее в отверстие для нанесения образца обоих устройств. Регистрируют результат анализа через 5 мин, 10 мин, 15 мин, 20 мин. Результаты анализа показаны в таблице 1. Пример 6. Увеличение чувствительности выявления клеток возбудителя чумы При температуре окружающей среды от 10 до 35°C чувствительность выявления клеток Y. pestis вакцинный штамм EV с помощью устройства составляет 5×105 м.к./мл. Для увеличения чувствительности в пять раз механически активируют два автономных химических источника тепла (например, АИСТ ТУ 2389-003-14665192-2004), помещают их в теплоизолирующие цефленовые пакеты на горизонтальной поверхности. В буфере для проведения иммунохроматографического анализа готовят суспензии из взвеси убитой культуры Yersinia pestis вакцинный штамм EV (ФС 42-3810-99) с концентрациями 1×105 м.к./мл и 5×105 м.к./мл объемом 1,0 мл. Вскрывают четыре упаковочных пакета, вынимают устройства, два устройства кладут на химический источник тепла, по одному на каждый, и в теплоизолирующий цефленовый пакет, как это описано в примере 4, оставшиеся - на горизонтальную поверхность без нагрева. Отбирают 500 мкл суспензии клеток возбудителя чумы с концентрацией 1×105 м.к./мл и вносят ее в отверстие для нанесения образца одного из устройств, расположенных на грелке, и на горизонтальной поверхности. В оставшиеся устройства вносят суспензию клеток возбудителя чумы с концентрацией 5×105 м.к./мл. Через 20 мин регистрируют результат анализа. Результаты анализа представлены в таблице 2. Пример 7. Ускоренное выявление спор возбудителя сибирской язвы При температуре окружающей среды от 10 до 35°C иммунохроматографический анализ спор возбудителя сибирской язвы занимает 20-25 мин. Для снижения времени анализа в два раза используют электрический нагреватель, работающий от электрического адаптера 12B. В буфере для проведения иммунохроматографического анализа готовят суспензию вакцины сибиреязвенной живой (споры В. anthracis) штамм СТИ-1 (ФС 42-0095-1376-01) с концентрацией 1×106 спор/мл объемом 1,0 мл. Вскрывают два упаковочных пакета, вынимают два устройства, одно кладут на нагреватель, второе - на горизонтальную поверхность. Отбирают 500 мкл суспензии спор возбудителя сибирской язвы пипеткой и вносят ее в отверстие для нанесения образца обоих устройств. Регистрируют результат анализа через 5 мин, 10 мин, 15 мин, 20 мин. Результаты анализа показаны в таблице 3. Пример 8. Увеличение чувствительности выявления стафилококкового энтеротоксина типа B При температуре окружающей среды от 10 до 35°C чувствительность выявления стафилококкового энтеротоксина типа B составляет 40 нг/мл. Для увеличения чувствительности в два раза используют электрический нагреватель, работающий от электрического адаптера 12B, помещенный в теплоизолирующие цефленовые пакеты и обеспечивающий температуру 50°C. В буфере для проведения иммунохроматографического анализа готовят раствор стафилококкового энтеротоксина типа В с концентрациями 20 нг/мл и 40 нг/мл объемом 1,0 мл каждой концентрации. Вскрывают четыре упаковочных пакета, вынимают устройства, два устройства помещают в теплоизолирующий цефленовый пакет с электрическим нагревателем, оставшиеся - на горизонтальную поверхность без нагрева. Отбирают 500 мкл раствора энтерококкового токсина типа B с концентрацией 20 нг/мл и 40 нг/мл и вносят их в отверстия для нанесения образца каждого из устройств, расположенных в цефленовых пакетах с нагревателем. В оставшиеся устройства, расположенные на горизонтальной поверхности без нагрева, вносят раствор энтерококкового токсина типа B с концентрацией 20 нг/мл и 40 нг/мл. Через 20 мин регистрируют результат анализа. Результаты анализа представлены в таблице 4. Из всего вышесказанного следует, что благодаря проведению тестирования с использованием двойного цефленового пакета с теплоизоляционным слоем между слоями цефлена, внутрь которого помещают устройство для стрип-тестов и проводят его нагрев, а сам пакет закрывают и фиксируют зажимом, удается обеспечить стабильную температуру внутри пакета, которая оптимальна для осуществления иммунохимической реакции с антигенами микроорганизмов или токсинов. Это позволяет: - увеличить производительность иммунохроматографического анализа, т.к. за один цикл анализа одновременно выявляется как минимум пять наименований патогенов, относящихся к различным условным таксономическим группам (у прототипа нет возможности для обнаружения среды накопления вирусов и риккетсий); - расширить температурный диапазон иммунохроматографического анализа от минус 20 до плюс 50°C (у прототипа температурный диапазон от комнатной температуры и до плюс 48,9°C); - сократить время получения результата до 10 мин по сравнению с анализом при комнатной температуре (20 мин), при условии достижения одинаковой чувствительности; - повысить чувствительность анализа по сравнению с анализом, проводимым при комнатной температуре.


