патент
№ RU 2677121
МПК G01B11/03

СПОСОБ И СИСТЕМА ДЛЯ ПОЗИЦИОНИРОВАНИЯ ОБЪЕКТА В ПРОСТРАНСТВЕ

Авторы:
Иванов Борис Владимирович
Номер заявки
2016119930
Дата подачи заявки
24.05.2016
Опубликовано
15.01.2019
Страна
RU
Как управлять
интеллектуальной собственностью
Чертежи 
8
Реферат

Группа изобретений относится к технологии машиностроения. Система, реализующая способ для позиционирования объектов в пространстве, содержит: координатный стол с базовыми отверстиями для установки стоек; основание с установленной в нем стойкой, в основании размещается механизм прямолинейного перемещения стойки и фиксатор ее положения; стойку, имеющую сменный элемент для удержания объекта, связанный со стойкой посредством соединительного модуля, выбранного из группы: модуль углового перемещения, модуль прямолинейного перемещения. Каждый модуль выполнен с возможностью регулировки перемещения. На модуле установлена метка, позволяющая определять его положение в пространстве с помощью средств бесконтактных измерений. Система снабжена средствами бесконтактных измерений положения каждого модуля и средством визуализации для визуализации позиционируемого объекта и цифрового прототипа потребного расположения в пространстве позиционируемого объекта. Технический результат заключается в создании средства, обеспечивающего возможность позиционировать сложно-пространственные изделия или их компоненты с высокой точностью и производительностью. 2 н. и 7 з.п. ф-лы, 8 ил.

Формула изобретения

1. Система для позиционирования объектов в пространстве, содержащая

координатный стол с базовыми отверстиями для установки стоек;

основание с установленной в нем стойкой, при этом в основании размещается механизм прямолинейного перемещения стойки и фиксатор ее положения;

по крайней мере, одну стойку, имеющую сменный элемент для удержания объекта, связанный со стойкой посредством, по крайней мере, одного соединительного модуля, выбранного из группы: модуль углового перемещения, модуль прямолинейного перемещения;

каждый модуль выполнен с возможностью регулировки перемещения;

по крайней мере, на одном модуле установлена метка, позволяющая определять его положение в пространстве с помощью средств бесконтактных измерений;

система снабжена средствами бесконтактных измерений положения каждого модуля и средством визуализации для визуализации позиционируемого объекта и цифрового прототипа потребного расположения в пространстве позиционируемого объекта.

2. Система по п. 1, отличающаяся тем, что элемент для удержания объекта выполнен в виде средства, исключающего степени свободы у объекта.

3. Система по п. 2, отличающаяся тем, что элемент для удержания объекта выполнен в виде трехкулачкового или четырехкулачкового патрона.

4. Система по п. 1, отличающаяся тем, что элемент для удержания объекта выполнен в виде средства, допускающего перемещение объекта по некоторым степеням свободы.

5. Система по п. 4, отличающаяся тем, что элемент для удержания объекта выполнен в виде призмы, упора или угольника.

6. Система по п. 1, отличающаяся тем, что в качестве бесконтактного метода измерений используется фотометрия, фотограмметрия, оптико-электронные или лазерные измерения.

7. Система по п. 1, отличающаяся тем, что модуль прямолинейного перемещения содержит корпус, средства присоединения модуля к другим элементам, при этом в корпусе размещается стержень, механизм его прямолинейного перемещения и фиксатор положения стержня.

8. Система по п. 1, отличающаяся тем, что модуль углового перемещения содержит основание, поворотное основание, приводимое в движение механизмом углового перемещения, и средства присоединения модуля к другим элементам.

9. Способ позиционирования объектов в пространстве, состоящий в том, что

в базовых отверстиях координатного стола устанавливают необходимое количество регулируемых стоек, удерживающих позиционируемый объект, при этом каждая из стоек содержит модули углового и/или прямолинейного перемещения, а также элемент для удержания объекта;

устанавливают, по крайней мере, на одном из упомянутых модулей стойки метку, позволяющую определять положение модуля в пространстве с помощью средств бесконтактных измерений;

создают цифровой прототип потребного расположения в пространстве позиционируемого объекта;

используя упомянутый цифровой прототип, выводят на экран визуальную информацию о потребном расположении позиционируемого объекта;

определяют положение каждого упомянутого модуля с помощью средств бесконтактных измерений;

производят настройку положения каждого упомянутого модуля стойки, совмещая положение каждой метки, установленной на модуле, с изображенной на экране соответствующей точкой цифрового прототипа с использованием обратной связи от измерительной системы.

Описание

[1]

Область техники, к которой относится изобретение

[2]

Изобретение относится к технологии машиностроения, в частности к средствам для позиционирования объектов сложной формы в пространстве, и может быть использовано для сборки, контроля и измерений сложных пространственных конструкций, например, трубопроводов, ферм, стержневых конструкций и других составных изделий, требующих высокой точности позиционирования составных элементов.

[3]

Уровень техники

[4]

Из уровня техники известно большое количество средств для позиционирования объектов в пространстве.

[5]

В качестве наиболее близкого аналога выбрано известное средство позиционирования объектов в пространстве, раскрытое в патентном документе SU №1747866 (G01B 5/20, опубликовано 15.07.1992). Данное известное устройство содержит стойки, выполненные на базе стандартных штангрейсмусов. Устройство состоит из рамы основания с отверстиями на торцах и боковых стенках, базовых и концевых фиксаторов положения, а также подвижных вдоль рамы поперечных балок с опорными штангрейсмусами. Конструкция данного приспособления позволяет гибко и бесступенчато менять координаты узлов базирования с одновременным определением отклонений угловых и линейных координат элементов трубопровода. При работе элементы приспособления выставляются в соответствие с чертежом или шаблоном трубопровода, после чего на него устанавливается контролируемый трубопровод. Недостатком данного известного средства является высокая трудоемкость настройки приспособления. Кроме этого, в настоящее время, при переходе к безбумажным (цифровым) технологиям производства, применение шаблонов недопустимо.

[6]

Сущность изобретения

[7]

Задачей, на решение которой направлена настоящее изобретение, является создание средства, позволяющего позиционировать сложно-пространственные изделия или их компоненты с высокой точностью и производительностью.

[8]

В ходе решения данной задачи достигается совокупность технических результатов: уменьшение времени настройки устройства и собственно позиционирования; возможность исключить шаблоны для настройки устройства; повышение универсальности и расширение сферы применения; возможность автоматизации настройки и компьютеризации позиционирования.

[9]

Данная совокупность технических результатов достигается тем, что способ позиционирования объектов в пространстве состоит в том, что:

[10]

- в базовых отверстиях координатного стола устанавливают необходимое количество регулируемых стоек, удерживающих позиционируемый объект, при этом каждая из стоек содержит модули углового и/или прямолинейного перемещения, а также элемент для удержания объекта;

[11]

- устанавливают на каждом упомянутом модуле стойки метку, позволяющую определять ее положение в пространстве с помощью средств бесконтактных измерений;

[12]

- создают цифровой прототип потребного расположения в пространстве позиционируемого объекта, представляющий собой трехмерную пространственную модель, включающую модель самого объекта/объектов, стоек, координатного стола;

[13]

- используя упомянутый цифровой прототип выводят на экран визуальную информацию о потребном расположении позиционируемого объекта;

[14]

- определяют положение каждой упомянутой метки с помощью средств бесконтактных измерений;

[15]

- производят настройку положения каждого упомянутого модуля стойки, совмещая реальное положение каждой метки, установленной на модуле, с положением, заданным в цифровом прототипе. Совмещение производится с использованием бесконтактной системы измерения. Текущее и требуемое положение метки отображается для оператора на средстве визуализации, например, на дисплее, либо на экране очков дополненной реальности.

[16]

Указанная совокупность технических результатов достигается также тем, что система для позиционирования объектов в пространстве содержит:

[17]

- координатный стол с базовыми отверстиями для установки стоек, причем отверстия могут быть любой формы включая паз;

[18]

- основание с установленной в нем стойкой, при этом в основании размещается механизм прямолинейного перемещения стойки и фиксатор ее положения;

[19]

- по крайней мере, одну стойку, имеющую сменный элемент для удержания объекта, связанный со стойкой посредством, по крайней мере, одного соединительного модуля, выбранного из группы: модуль углового перемещения, модуль прямолинейного перемещения;

[20]

- каждый модуль выполнен с возможностью регулировки перемещения. При этом он может быть выполнен с возможностью как грубой так и точной регулировки перемещения, либо с возможностью только грубой либо только точной регулировки;

[21]

- на модулях установлены метки, позволяющие определять его положение в пространстве с помощью средств бесконтактных измерений. Метки могут быть установлены на каждом модуле или на отдельных выбранных оператором модулях;

[22]

- система снабжена средствами бесконтактных измерений положения каждого модуля и средствами визуализации, например, экраном, либо очками с встроенным дисплеем для визуализации информации о положении позиционируемого объекта.

[23]

Отличительной особенностью данного изобретения является то, что используются сменные модули прямолинейного и углового перемещений, способные соединяться между собой и с элементом для удержания объекта для образования устройства необходимой конфигурации. Размещенные на модулях метки позволяют определять их положение в пространстве и сравнивать его с положением соответствующих точек цифровой модели (прототипа) размещения в пространстве позиционируемого объекта.

[24]

Краткое описание фигур чертежей

[25]

На ФИГ. 1 - ФИГ. 4 показаны конфигурации стоек при различном сочетании модулей.

[26]

На ФИГ. 5 показан общий вид модуля угловых перемещений.

[27]

На ФИГ. 6 показан общий вид модуля прямолинейных перемещений.

[28]

На ФИГ. 7 показана сборка модуля угловых перемещений и модуля прямолинейных перемещений.

[29]

На ФИГ. 8 показана система в сборе.

[30]

Осуществление изобретения

[31]

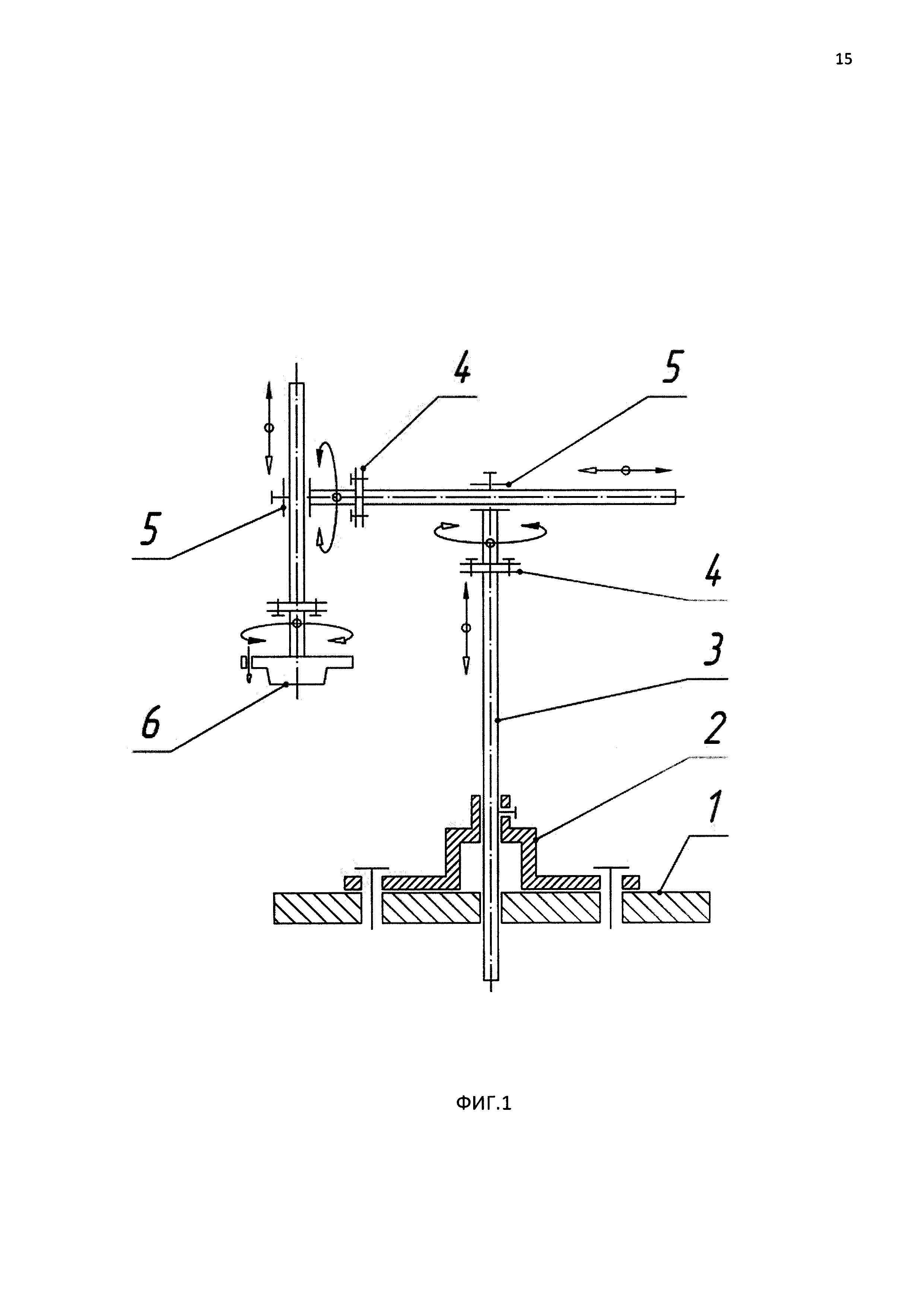
Система для позиционирования объекта в пространстве содержит координатный стол 1 с базовыми отверстиями для установки стоек 3. Стойка 3 устанавливается в основание 2 с возможностью настройки по высоте. В этом случае основание 2 представляет собой модуль, в котором размещается механизм прямолинейного перемещения стойки 3 и фиксатор ее положения. Основание 2 с установленной в нем стойкой 3 закрепляется в базовом отверстии координатного стола 1 или, в качестве альтернативы, на любой иной базовой конструкции (например, сборочного стенда), где необходимо осуществить позиционирование объекта.

[32]

Крепление стойки 3 в основании 2 и само основание 2 могут быть выполнены любым известным способом, например, в виде конуса Морзе. Механизм прямолинейного перемещения стойки и фиксатор могут также быть выполнены любым известным способом, например, в виде пары шестеренка-зубчатая рейка или винт-гайка.

[33]

Стойка 3 содержит сменный элемент для удержания позиционируемого объекта. Сменный элемент для удержания объекта может быть выполнен в виде средства 6, исключающего степени свободы у объекта. В качестве элемента для удержания могут использоваться патроны различных типов (трехкулачковые, четырехкулачковые), грибовидные фланцы, центрирующие конические упоры. Выбор элемента для удержания определяется конструкцией позиционируемого объекта.

[34]

В случае позиционирования объекта типа «круглая труба» могут применяться грибовидные фланцы или ступенчатые диски. При этом труба фиксируется от перемещения в осевом направлении упором торца трубы в грибовидный выступ фланца или ступенчатый переход диска, а перемещения в радиальном направлении ограничиваются тем, что труба одевается внутренним диаметром на выступ фланца или диска меньшего диаметра. Также могут применяться центрирующие конические упоры, при этом упор центрируется по внутреннему диаметру трубы.

[35]

При работе с профильной трубой можно использовать все фиксирующие элементы, которые используются для работы с круглой трубой с поправкой на сечение трубы, т.е. упоры и фланцы повторяют профильное сечение трубы или имеют внутренние непараллельные контактные площадки, вместо трехкулачкового патрона используется четырехкулачковый.

[36]

Для фиксации других элементов металлоконструкций типа «рамы» и «фермы», таких как уголок, швеллер или тавр, необходимо использовать упорные элементы, ограничивающие их перемещение по всем координатам - плиты с закрепленными на них упорами, пальцами или профильными накладками.

[37]

В зависимости от поставленных задач элемент для удержания объекта может быть выполнен в виде средства 7, допускающего перемещение объекта по некоторым степеням свободы. В качестве таких удерживающих средств могут использоваться различные ложементы, призмы, прямоугольные упоры или угольники.

[38]

При любом варианте исполнения, элемент для удержания объекта выполняется съемным с возможностью его замены, что позволяет расширить функциональные возможности устройства, упростить его настройку и уменьшить трудоемкость операций позиционирования.

[39]

Элемент для удержания позиционируемого объекта соединен со стойкой 3 посредством, по крайней мере, одного соединительного модуля, выбранного из группы: модуль 4 углового перемещения, модуль 5 прямолинейного перемещения.

[40]

Модуль 4 углового перемещения содержит основание 8, поворотное основание 9, приводимое в движение механизмом 10 углового перемещения и средства присоединения модуля к другим элементам (ФИГ. 5).

[41]

Модуль 5 прямолинейного перемещения содержит корпус 11, средства присоединения модуля к другим элементам, при этом в корпусе 11 размещается стержень 12, механизм его прямолинейного перемещения и фиксатор 13 положения стержня (ФИГ 6).

[42]

Каждый модуль 4 и 5 выполнен с возможностью грубой и точной регулировки, соответственно углового или прямолинейного, перемещения.

[43]

Модуль 4 углового перемещения, который может быть также назван поворотным или вращательным, может иметь цилиндрическую форму, как показано на ФИГ. 5. Он устанавливается одним из своих оснований 8, например, на вертикальную стойку 3 или стержень 12 модуля 5 прямолинейного перемещения. На верхнем торце модуля 4 углового перемещения размещается посадочный фланец с крепежными элементами для закрепления и базирования присоединяемого модуля 5 прямолинейного перемещения. Для присоединения к стойке 3 или стержню 12 модуль 4 комплектуется сменным фланцем нужного размера. Конструкция позволяет осуществлять точный поворот модуля 5, закрепленного на поворотном основании 9 модуля 4, относительно вертикальной стойки 3 или стержня, закрепленных со стороны основания 8. Для осуществления точного поворота в модуле 4 смонтирован механизм точного поворота на базе червяной пары или планетарного редуктора. При этом поворотное основание 9 связано блокировкой с червяным колесом или водилом планерного редуктора. При необходимости ускоренного поворота (грубой настройки) поворотное основание 9 разблокируется от червячного колеса или водила, после чего вручную поворачивается относительно основания 8 модуля 4.

[44]

В модуле 5 прямолинейного перемещения производится перемещение стержня 12 вдоль его оси без возможности его поворота. Стержень 12 может иметь круглое сечение с выбранной по всей длине лыской, как показано на ФИГ. 6. Базовым элементом модуля 5 является корпус 11, в частности прямоугольной формы. Внутри корпуса 11 установлен механизм прямолинейного перемещения и башмак, который при совмещении с лыской направляющей обеспечивает ее фиксацию от поворота и создает необходимый натяг в радиальном направлении. В механизме прямолинейного перемещения фрикционного типа или типа «шестерня - зубчатая рейка» перемещение производится вращением валика или шестерни совмещенного с маховиком. В корпусе 11 предусмотрен стопорный винт 13 для зажима стержня 12 в необходимом положении. На корпусе 11, параллельно оси движения стержня, предусмотрен присоединительный фланец с крепежными элементами для присоединения корпуса 11 к другому модулю или элементу устройства.

[45]

На каждом модуле 4 и 5 установлена идентификационная метка, позволяющая определять положение соответствующего модуля в пространстве с помощью бесконтактного метода измерений.

[46]

Отличительной особенностью конструкции устройства по настоящему изобретению является размещение на модулях 4 и 5 (в качестве одного из вариантов осуществления метки могут устанавливаться на основании 2 стойки 3 и элементе для удержания позиционируемого объекта) сменных идентификационных меток, которые позволяют отслеживать положение каждого модуля в пространстве при помощи бесконтактных методов измерения - фотометрических, фотограмметрических, оптико-электронных, лазерных или других. В зависимости от использованного метода выбирается тип идентификационной метки. Каждой метке присваивается уникальный номер в используемой системе измерений.

[47]

Используемые метки могут имеют унифицированные посадочные поверхности в виде цилиндрического пальца с ограничительным фланцем. При таком исполнении метки устанавливаются в основание 2 стойки 3 или модули 4, 5 устройства в специальные гнезда с центральным отверстием для пальца и цилиндрическим углублением вокруг него. При установке метки в гнездо ее утапливают в цилиндрическое углубление до упора. Возможны и иные способы установки меток на элементы устройства.

[48]

Устройство снабжено средствами 14 бесконтактного измерения положения каждого модуля. Выбор данных средством определяется типом применяемой идентификационной метки. Идентификационная метка и средства 14 бесконтактного измерения образуют бесконтактную контрольно-измерительную систему, которая может быть выполнена любым известным образом.

[49]

Система снабжена экраном 15, на который выводится информация о позиционировании объекта. Так, на экран 15 может выводится цифровая модель (прототип), наглядно показывающая какое положение в пространстве должен принять объект.

[50]

Применение метода бесконтактных измерений позволяет производить настройку положения элемента для удержания позиционируемого объекта с использованием цифрового прототипа изготавливаемого или контролируемого изделия (трубопровода, рамы, фермы и др.). Используя экран 15 с выводимой на него визуальной информацией, настройщик может производить настройку положения каждого модуля стойки до совмещения положения объекта в цифровом прототипе и измеряемого фактического положения объекта.

[51]

Система реализует следующий способ позиционирования объекта.

[52]

В базовых отверстиях координатного стола 1 устанавливают необходимое количество регулируемых стоек 3, удерживающих позиционируемый объект (как показано на ФИГ. 8). Каждая из стоек 3 содержит модули 4, 5 углового и/или прямолинейного перемещения, а также элемент 1 для удержания объекта.

[53]

Устанавливают на каждом упомянутом модуле 4, 5 стойки 3 метку, позволяющую определять положение модуля 4, 5 в пространстве с помощью средств бесконтактных измерений 14.

[54]

Создают цифровой прототип потребного расположения в пространстве позиционируемого объекта. Такой цифровой прототип представляет собой цифровой чертеж объекта и может быть выполнен в любом пригодном для этой цели компьютерном приложении (CAD программе, и др.).

[55]

Используя упомянутый цифровой прототип (трехмерную модель) выводят на экран 15 визуальную информацию о потребном расположении позиционируемого объекта.

[56]

Определяют положение каждого упомянутого модуля 4, 5 с помощью средств бесконтактных измерений 14.

[57]

Производят настройку положения каждого упомянутого модуля 4, 5 стойки 3, совмещая положение каждой метки, установленной на модуле, с изображенной на экране 15 соответствующей точкой цифрового прототипа.

[58]

Таким образом, предлагаемая конструкция системы в соответствии с настоящим изобретением обладает значительными преимуществами по сравнению с известными аналогами.

[59]

Модульная конструкция системы позволяет собирать различные ее варианты с необходимым количеством настраиваемых координат, что позволяет осуществлять удержание деталей собираемых конструкций любой сложности. Применение в модулях 4 и 5 грубой и точной настройки позволяет производить настройку конечного положения удерживаемых объектов за минимальное время и с необходимой точностью. Использование для удержания деталей собираемых конструкций сменных конечных элементов позволяет расширить функциональные возможности устройства. Использование в конструкции стойки быстросменных идентификационных (измерительных) меток, пространственные координаты которых могут быть измерены с необходимой точностью средствами бесконтактных измерений (фотограмметрическими, лазерными и др.), позволяют осуществить автоматизацию и компьютеризацию работы устройства. Возможность устанавливать стойку на широко распространенные столы с сеткой базовых отверстий расширяет область применения устройства.

Как компенсировать расходы
на инновационную разработку
Похожие патенты