патент
№ RU 2666784
МПК H01J9/02

МАТРИЧНЫЙ АВТОЭМИССИОННЫЙ КАТОД И СПОСОБ ЕГО ИЗГОТОВЛЕНИЯ

Авторы:
Голишников Александр Анатольевич Тимошенков Валерий Петрович Рязанов Роман Михайлович
Все (6)
Номер заявки
2017144840
Дата подачи заявки
20.12.2017
Опубликовано
12.09.2018
Страна
RU
Как управлять
интеллектуальной собственностью
Чертежи 
2
Реферат

Изобретение относится к приборам твердотельной и вакуумной электроники, в частности к автоэмиссионным элементам на основе системы Si-SiC-графен, используемых в качестве катодов: к диодам, к триодам и к устройствам на их основе. Технический результат - повышение тока автоэмиссии и временной стабильности этой величины, уменьшение рабочих напряжений в приборах вакуумной микроэлектроники на основе углеродосодержащих материалов и, как следствие, продление их срока службы. Матричный автоэмиссионный элемент с катодами на основе системы Si-SiC-графен включает монокристаллическую кремниевую подложку, на лицевой поверхности которой сформирован катодный узел в виде многоострийных эмиссионных структур, имеющих форму конуса, на кончике эмиссионной структуры сформированы пленки нижележащего карбида кремния и графена, контактный слой, сформированный на обратной поверхности полупроводниковой подложки, состоящий из адгезионного слоя, расположенного на обратной поверхности полупроводниковой подложки, и токоведущего слоя, расположенного на поверхности адгезионного слоя. 2 н.п. ф-лы, 4 ил.

Формула изобретения

1. Матричный автоэмиссионный элемент, содержащий подложку, на лицевой поверхности которой сформирован катодный узел в виде многоострийных эмиссионных структур, имеющих форму конуса, отличающийся тем, что в качестве материала подложки используется монокристаллический кремний, катодный узел сформирован на пьедестале, на кончике эмиссионной структуры сформированы пленки нижележащего карбида кремния и графена, на обратной стороне подложки сформирован базовый контакт, состоящий из адгезионного подслоя титана и токоведущего слоя никеля.

2. Способ изготовления матричного автоэмиссионного элемента, включающий формирование на лицевой поверхности подложки катодного узла в виде многоострийных эмиссионных структур, имеющих форму конуса, отличающийся тем, что на лицевой поверхности монокристаллической кремниевой подложки последовательно получают слои карбида кремния и графена, на обратной поверхности подложки формируют базовый контакт последовательным осаждением адгезионного слоя титана и токоведущего слоя никеля методом магнетронного распыления в едином вакуумном цикле, формируют пьедестал катодного узла, который создают с помощью фотолитографии и реактивного-ионного травления, формируют металлический слой алюминия, расположенный по периметру пьедестала катодного узла методами магнетронного распыления и взрывной фотолитографии, формируют матрицу наноразмерной металлической маски на поверхности слоя графена пьедестала методом ионного распыления металлического слоя, формируют массив наноразмерных острий, представляющих систему Si-SiC-графен, на поверхности пьедестала катодного узла методом реактивного-ионного травления графена, карбида кремния и монокристаллического кремния, удаляют наноразмерную металлическую маску с кончиков эмиссионных структур и металлический слой, расположенный по периметру пьедестала катодного узла, жидкостным травлением.

Описание

[1]

Изобретение относится к приборам твердотельной и вакуумной электроники, в частности к автоэмиссионным элементам на основе системы Si-SiC-графен, используемых в качестве катодов: к диодам, к триодам и к устройствам на их основе.

[2]

В последние годы большой интерес вызывают исследования связанные с необычными физико-химическими свойствами углеродосодержащих материалов (УСМ), благодаря которым УСМ являются привлекательным объектом не только фундаментальной науки, но и прикладного их использования.

[3]

Известно, что холодный катод, используемый в качестве источника электронной эмиссии в электронном приборе, должен удовлетворять таким основным требованиям, как высокая стабильность тока, высокая поверхностная однородность эмиссионных характеристик эмиттера и малый разброс энергии эмиттируемых электронов. Катоды на основе УСМ в большей степени удовлетворяют сформулированным требованиям и в отношении указанных параметров не уступают наиболее распространенным коммерческим источникам холодной эмиссии.

[4]

Аналогом предлагаемого автоэмиссионного элемента и способа его изготовления является холодно-эмиссионный пленочный катод в виде подложки с нанесенной на нее углеродной пленкой, позволяющей получать высокую плотность эмиссионных токов 0,15-0,5 А/см2 [1]. Углеродная пленка представляет собой структуру, состоящую из углеродных микро- и наноребер или микро- и нанонитей, ориентированных перпендикулярно поверхности подложки, с характерным размером от 0,05 до 1 мкм. Особенности технологии формирования эмиссионных катодов на основе углеродных материалов (такие как высокая температура осаждения, недопустимость осаждения других слоев на сформированную эмиссионную поверхность) затрудняют создание интегрированных эмиссионных элементов (диодов и триодов), что требует разработки новых структур полевых эмиссионных элементов.

[5]

Также известно устройство интегральных автоэмиссионных элементов с эмиттерами на основе наноалмазных покрытий, что позволяет получить большие плотности тока [2]. Для получения больших плотностей автоэмиссионных токов полевой катод должен быть изготовлен из материала с достаточно высокой электронной проводимостью, которая в поликристаллических алмазных пленках обуславливается различными структурными дефектами, формирующими системы дополнительных уровней в запрещенной зоне алмаза. Эмиссионные свойства алмазных пленок значительно улучшаются с увеличением их дефектности вплоть до формирования аморфного материала, существенным признаком которого остается алмазный тип гибридизации связей валентных электронов атома углерода. Однако, во-первых, контролировать и управлять процессом получения алмазоподобных пленок с вышеуказанными параметрами довольно-таки затруднительно, а, следовательно, получаются приборы с невоспроизводимыми эмиссионными характеристиками и, во-вторых, наиболее предпочтительной формой эмиттеров являются микро- и наноострия или структуры в виде лезвий, в отличие от предлагаемой планарной структуры эмиттеров на основе наноалмазных покрытий.

[6]

Прототипом устройства автоэмиссионного элемента, наиболее близким к заявляемому техническому решению, является углеродный многоострийный автоэмиссионный катод и способ его изготовления, представленные в [3]. Для создания периодической структуры из микроострий на поверхности монолитной углеродной подложки в качестве микро-, наноразмерной обработки используется способ группового микрозаострения в низкотемпературной плазме ВЧ-разряда в кислородной или в смеси кислородной и инертной газовых средах. Предварительно поверхность углеродной пластины подвергается механической обработке с целью подготовки поверхности и ее активации перед нанесением маски из фоторезиста. Проводится процесс шлифования с использованием тонкого микропорошка, а затем полирование, где в результате этих обработок съем материала с поверхности углеродной пластины 0,015÷0,03 мм. После чего проводится активация поверхности углеродной пластины с помощью низкотемпературной плазмы. Далее формируют фоторезистивную маску, представляющую периодически расположенные на поверхности основания из фоторезиста, имеющих форму круга. После чего на поверхность пластины наносится пленка переходного металла с целью дальнейшего проведения травления пленкой металла в свободных от фоторезиста периодических основаниях углеродной структуры. В результате травления происходит интенсивное растворение атомов углерода в пленке металла и последующая диффузия атомов углерода через структуру пленки металла без образования химического соединения на поверхность и взаимодействие атомов углерода с газообразной средой. Затем проводится удаление остатков пленки переходных металлов в смеси кислот. Для увеличения напряженности электростатического поля на вершинах образованной периодической углеродной структуры с заданной высотой микроразмерных столбиков данную структуру подвергают групповому микро-, наноразмерному заострению в низкотемпературной плазме ВЧ-разряда в кислородной или в кислородно-инертной газовых средах с получением углеродных микроострий.

[7]

Однако одним из недостатков эмиссионных структур на основе углеродных многоострийных автоэмиссионных катодов является их невысокая плотность на единице поверхности пластины, связанная с разрешающей способностью процесса фотолитографии, и соответственно, приборы на их основе имеют невысокие плотности автоэмиссионного тока. Кроме того, использование в качестве подложки монолитной углеродной пластины значительно увеличивает стоимость изготавливаемых автоэмиссионных приборов.

[8]

Задачей данного изобретения является повышение тока эмиссии, уменьшение рабочих напряжений в приборах вакуумной микроэлектроники на основе системы графен-карбид кремниевых пленок, расположенных на полупроводниковой подложке.

[9]

Поставленная задача решается за счет создания матричного автоэмиссионного элемента с катодами на основе системы Si-SiC-графен, содержащего подложку из монокристаллического кремния, на лицевой поверхности которой сформирован катодный узел, представляющий собой многоострийные эмиссионные структуры, имеющие форму конуса, на кончике эмиссионной структуры сформированы пленки нижележащего карбида кремния и графена, обладающего низкой работой выхода электронов, имеющего высокую адгезионную прочность к карбиду кремния и стабильность параметров, многоострийные эмиссионные структуры расположены на пьедестале монокристаллической кремниевой подложки, контактный слой, сформирован на обратной поверхности монокристаллической кремниевой подложки, состоящий из адгезионного слоя титана и токоведущего слоя никеля, расположенного на поверхности адгезионного слоя.

[10]

Способ изготовления матричного автоэмиссионного элемента включает формирование на лицевой стороне монокристаллической кремниевой подложки слоя карбида кремния, формирование слоя графена на поверхности слоя SiC, формирование контактного слоя на обратной поверхности монокристаллической кремниевой подложки, состоящего из адгезионного слоя титана и токоведущего слоя никеля, расположенного на поверхности адгезионного слоя, формирование пьедестала катодного узла на лицевой стороне монокристаллической кремниевой подложки, состоящего из материала монокристаллической кремниевой подложки, слоя карбида кремния, расположенного на поверхности монокристаллической кремниевой подложки, и слоя графена, расположенного на поверхности слоя SiC, формирование металлического слоя алюминия, расположенного по периметру пьедестала катодного узла, формирование матрицы наноразмерной маски на поверхности слоя графена пьедестала, состоящей из наночастиц металлического слоя, формирование массива наноразмерных острий на поверхности пьедестала катодного узла, удаление наноразмерной металлической маски с кончиков эмиссионных структур и металлический слой, расположенный по периметру пьедестала катодного узла, жидкостным травлением.

[11]

Совокупностью отличительных признаков изобретения является то, что в качестве материала подложки используется монокристаллический кремний, катодный узел сформирован на пьедестале лицевой стороны монокристаллической кремниевой подложки, на кончике эмиссионной структуры сформированы пленки нижележащего карбида кремния и графена, на обратной стороне подложки сформирован базовый контакт, состоящий из адгезионного подслоя титана и токоведущего слоя никеля, получение углеродосодержащих слоев нижележащего карбида кремния и графена производится с помощью методов самоформирования, формирование массива наноразмерных острий на поверхности пьедестала катодного узла осуществляется через металлическую наноразмерную маску.

[12]

Несмотря на то, что углеродосодержащий материал подложки, как правило, карбид кремния обладает рядом ценных качеств (стойкость к химическим воздействиям, высокая твердость (33400 Мн/м2), большая ширина запрещенной зоны (2,3-3,3 эВ), высокая температура плавления (2830°С) и т.д.), главным препятствием на пути его широкого использования в технологии полупроводниковых приборов является высокая стоимость (в среднем 100 долларов США за 1 кв. дюйм поверхности монокристалла SiC).

[13]

Использование технологических приемов самоформирования при изготовлении различного рода приборов микро- и наноэлектроники, микро- и наносистемной техники позволяют значительно упростить технологический маршрут, повысить точность совмещения конструкционных элементов приборов, обеспечить воспроизводимость геометрических и физико-химических параметров входящих в него функциональных слоев и, как следствие, добиться стабильности его характеристик, включая высокую эмиссионную способность и временную стабильность величины тока эмиссии.

[14]

Для увеличения тока электронной эмиссии, снижения рабочих напряжений необходимо на эмитирующую поверхность наносить тонкие пленки материалов, обладающих низкой работой выхода. Использование пленок графена является перспективным для этих целей, благодаря тому, что они обладают низкой работой выхода электронов, имеют высокую адгезионную прочность к карбиду кремния и стабильность параметров.

[15]

Изобретение иллюстрируется следующими чертежами:

[16]

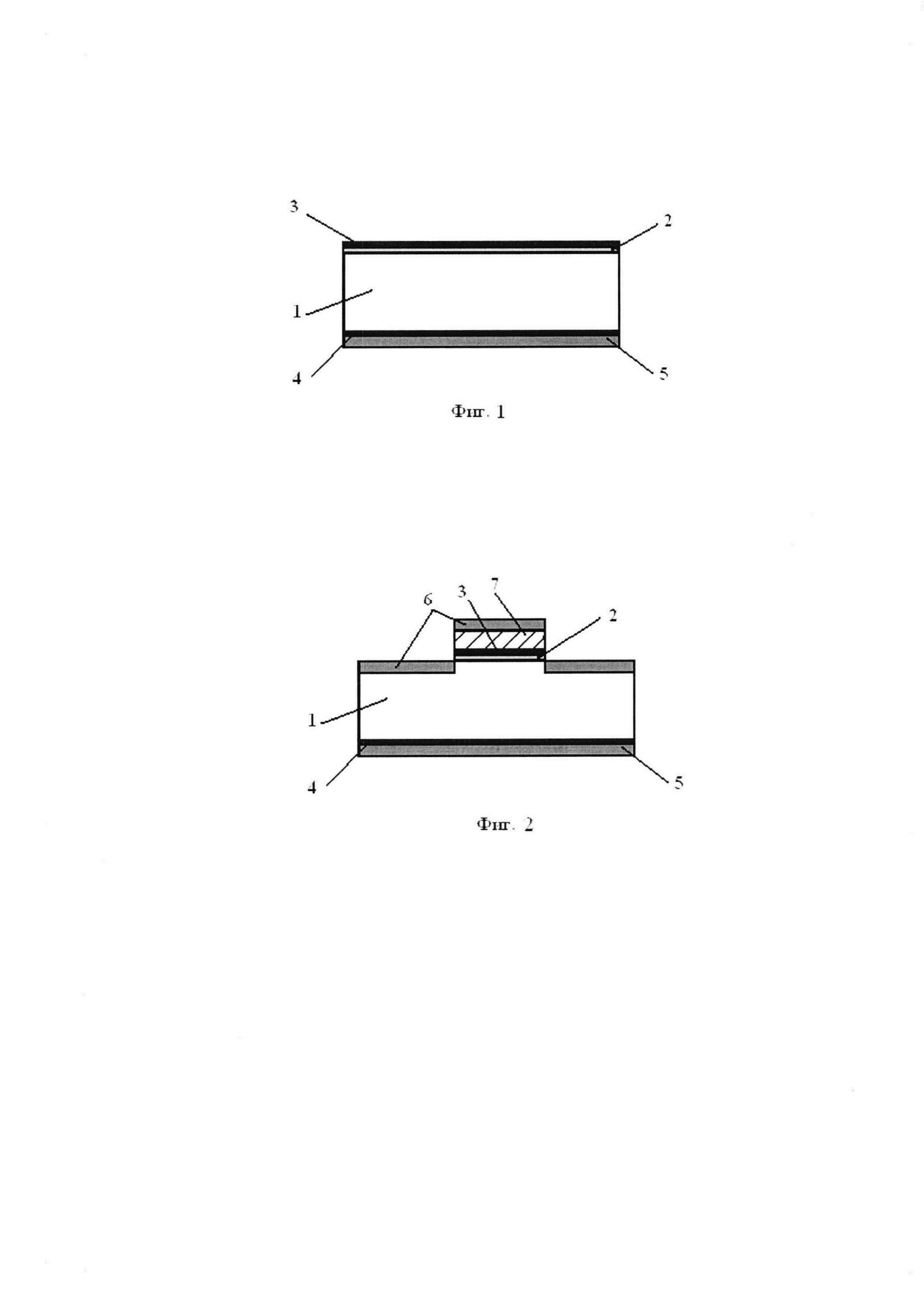
на фиг. 1 представлена многослойная структура, состоящая из: 1 - полупроводниковая подложка, 2 - слой карбида кремния, 3 - слой графена, 4 - адгезионный слой, 5 - токоведущий слой;

[17]

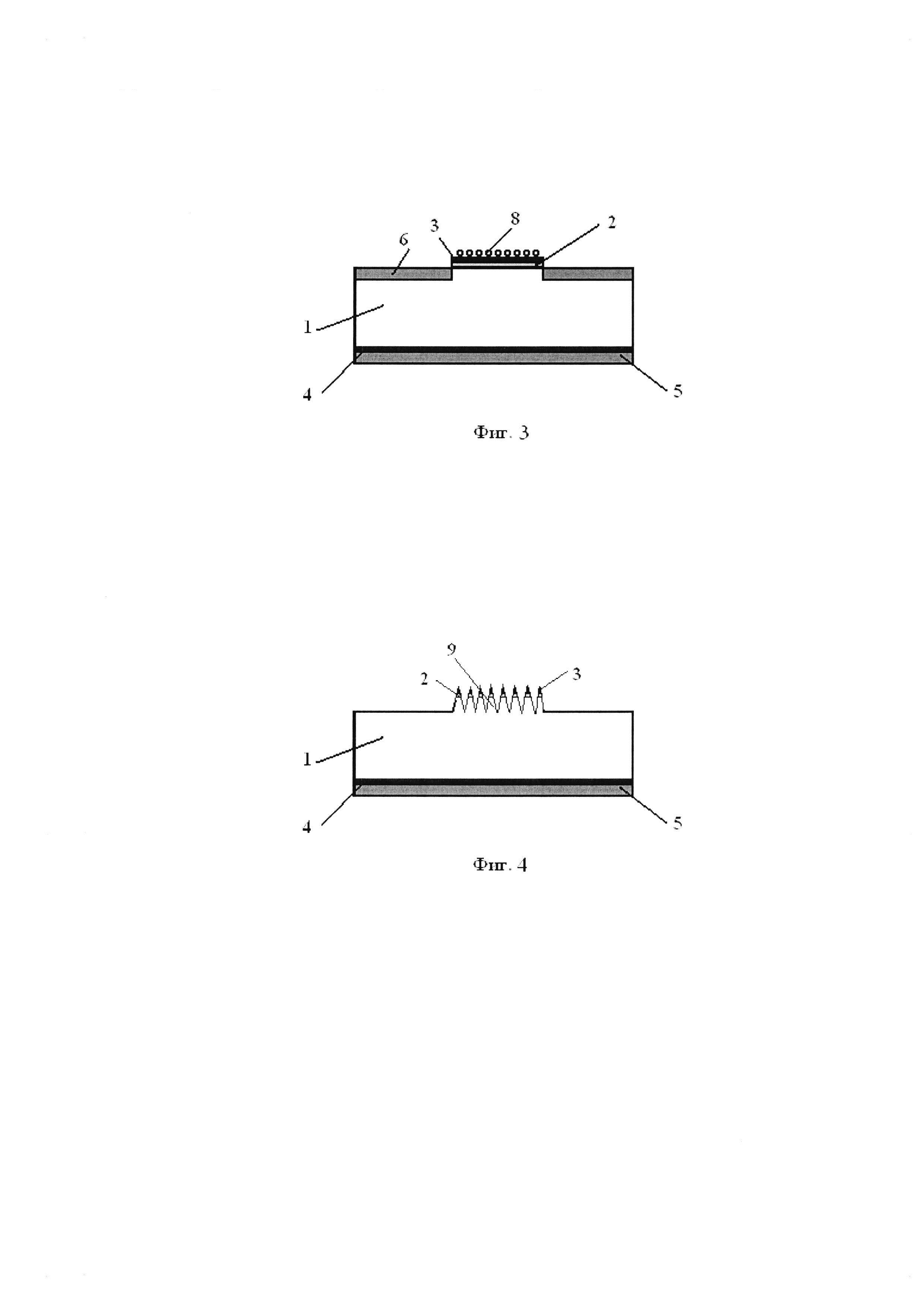
на фиг. 2 представлена структура после формирования пьедестала катодного узла и нанесения перераспыляемого металлического слоя 6 по периметру пьедестала катодного узла и на поверхность фоторезистивной маски 7;

[18]

на фиг. 3 представлена структура после формирования матрицы наноразмерной маски 8 на поверхности слоя графена;

[19]

на фиг. 4 представлена структура матричного автоэмиссионного элемента с катодами 9 на основе системы Si-SiC-графен.

[20]

Матричный автоэмиссионный элемент с катодами на основе системы Si-SiC-графен изготавливают следующим образом. На лицевой поверхности монокристаллической кремниевой подложки, прошедшей химическую обработку в растворах КАРО и перекисно-аммиачном, формируют слой карбида кремния толщиной порядка 150 нм методом ионного легирования ионами12С+ поверхности кремниевой подложки и последующего отжига при 1200°С, формируют слой графена на поверхности SiC путем термического разложения карбида кремния в вакууме при температуре 1250°С в течение 15 мин., формируют контактный слой на обратной стороне монокристаллической кремниевой подложки последовательным магнетронным напылением адгезионного слоя титана толщиной 15 нм и токоведущего слоя никеля, толщиной 500-600 нм, отжигают сформированную структуру контактного слоя при температуре 950°С быстрым термическим отжигом, формируют квадратный пьедестал катодного узла размером 10 мкм ×10 мкм и высотой 2 мкм на лицевой стороне монокристаллической кремниевой подложки при проведении контактной фотолитографии и реактивного ионного плазменного травления (РИПТ) системы графен-SiC-Si, формируют металлический слой алюминия толщиной 100-200 нм магнетронным распылением, удаляют металлический слой с поверхности пьедестала катодного узла взрывной фотолитографией, формируют матрицу наноразмерной маски на поверхности слоя графена переосаждением наночастиц металлического слоя при его бомбардировке ионами аргона в процессе ионного травления, формируют массив наноразмерных острий в области пьедестала катодного узла реактивным ионным плазменным травлением структуры графен-SiC-Si, удаляют наноразмерную маску со сформированного массива наноразмерных острий и металлический слой с поверхности подложки вокруг катодного узла жидкостным химическим травлением, проводят последовательно химическую обработку поверхности подложки в растворе демитилформамида, промывку в деионизованной воде и сушку подложки.

[21]

Таким образом, предлагаемое решение конструкции матричного автоэмиссионного элемента с катодами на основе системы Si-SiC-графен и способа его изготовления, по сравнению с прототипом, имеет ряд преимуществ, связанных с повышением тока автоэмиссии и временной стабильности этой величины, уменьшением рабочих напряжений. Указанные преимущества достигаются в конструкции матричного автоэмиссионного элемента с катодами на основе системы Si-SiC-графен за счет того, что наноразмерные острия катода покрыты графеном, который снижает работу выхода электронов с поверхности катода, имеет высокую адгезионную прочность к карбиду кремния и стабильность параметров, улучшена стабильность характеристик автоэмиссионного катода, включая эмиссионную способность, за счет применения методов самоформирования при его изготовлении.

[22]

Источники информации:

[23]

1. Патент РФ №2194328.

[24]

2. Патент РФ №2455724.

[25]

3. Патент РФ №2486625 - прототип.

Как компенсировать расходы
на инновационную разработку
Похожие патенты