патент
№ RU 2680619
МПК E21B23/06

Гидравлический якорь

Авторы:
Абсалямов Руслан Шамилевич
Номер заявки
2017146911
Дата подачи заявки
28.12.2017
Опубликовано
25.02.2019
Страна
RU
Как управлять
интеллектуальной собственностью
Чертежи 
1
Реферат

Изобретение относится к гидравлическим якорям пакера. Техническим результатом является упрощение конструкции. Гидравлический якорь пакера включает корпус с продольными пазами, винтами и отверстиями, в которых установлены поршни с рифленой наружной поверхностью и с пазом на этой поверхности. Поршень выполнен в форме колпака с рифленой поверхностью на наружной стороне дна и с пазом на этой поверхности. У поршня находится один винт, который проходит через отверстие, выполненное на одном конце пластинчатой пружины, расположенной в продольном пазу корпуса и упирающейся другим концом в дно паза поршня. На близлежащем к винту конце дна паза поршня имеется наклонная поверхность, образующая с пластинчатой пружиной острый угол, расширяющийся в сторону винта. 2 ил.

Формула изобретения

Гидравлический якорь пакера, включающий корпус с продольными пазами, винтами и отверстиями, в которых установлены поршни с рифленой наружной поверхностью и с пазом на этой поверхности, отличающийся тем, что каждый поршень выполнен в форме колпака с рифленой поверхностью на наружной стороне дна и с пазом на этой поверхности, причем возле каждого поршня находится один винт, который проходит через отверстие, выполненное на одном конце пластинчатой пружины, расположенной в продольном пазу корпуса и упирающейся другим концом в дно паза поршня, причем на близлежащем к винту конце дна паза поршня имеется наклонная поверхность, образующая с пластинчатой пружиной острый угол, расширяющийся в сторону винта.

Описание

[1]

Изобретение относится к нефтегазодобывающей промышленности и может использоваться в пакерах, предназначенных для перекрытия межтрубного пространства нефтяных и газовых скважин при разработке и эксплуатации многопластовых месторождений углеводородов.

[2]

Известен гидравлический якорь пакера (заявка изобретения РФ 2011147655, МПК Е21В 23/04, дата публ. 27.05.2013), включающий корпус с отверстиями, в которых установлены поршни с рифленой наружной поверхностью, подпружиненные относительно ограничительной планки, выполненной из пружинной стали, установленной в продольном пазу и закрепленной к корпусу винтами, причем в ограничительной планке выполнены п-образные вырезы, расположенные в центре этой планки и центральная часть которых отогнута внутрь и выполняет функцию плоской пружины. Недостатком известного устройства является то, что выполнение и гибка п-образных вырезов в каждой ограничительной планке из пружинной стали трудоемка и требует значительных затрат при изготовлении.

[3]

Так же известен гидравлический якорь пакера (патент RU пол. модели №116178, МПК Е21В 23/06, Е21В 33/12, опубл. 20.05.2012), включающий корпус с продольными пазами, винтами и отверстиями, в которых установлены поршни с рифленой наружной поверхностью и с пазом на этой поверхности. Поршни выполнены с двумя несквозными отверстиями, в которые установлены пружины сжатия, упирающиеся одним концом на дно отверстия, а другим - на ограничительную планку, закрепленную в корпусе винтами. Наличие ограничительной планки и иесквозных отверстий на поршне для пружин сжатия и значительное количество этих пружин усложняют конструкцию выбранного прототипа.

[4]

Технической задачей изобретения является упрощение конструкции. Поставленная техническая задача решается тем, что в гидравлическом якоре пакера, включающем корпус с продольными пазами, винтами и отверстиями, в которых установлены поршни с рифленой наружной поверхностью и с пазом на этой поверхности, новым является то, что каждый поршень выполнен в форме колпака с рифленой поверхностью на наружной стороне дна и с пазом на этой поверхности, причем возле каждого поршня находится один винт который проходит через отверстие, выполненное на одном конце пластинчатой пружины, расположенной в продольном пазу корпуса и упирающейся другим концом на дно паза поршня, причем на близлежащем к винту конце дна паза поршня имеется наклонная поверхность, образующая с пластинчатой пружиной острый угол, расширяющийся в сторону винта.

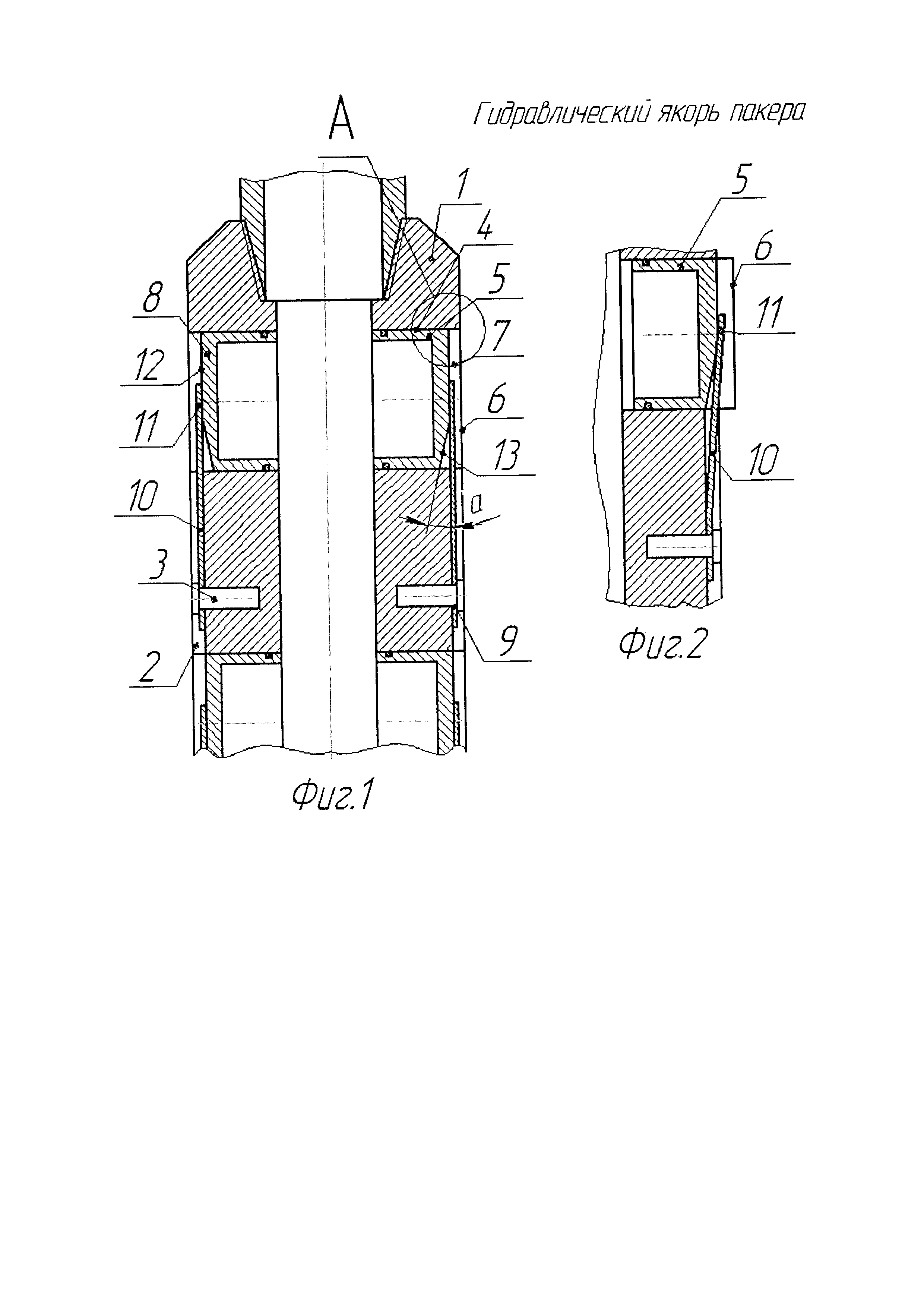
[5]

Сущность изобретения поясняется фигурами. На фиг. 1 схематично изображен гидравлический якорь пакера в разрезе; на фиг. 2 изображен разрез устройства, поясняющий принцип ее работы. Гидравлический якорь пакера включает корпус 1 с продольными пазами 2, винтами 3 и отверстиями 4. В отверстиях 4 установлены поршни 5 с рифленой наружной поверхностью бис пазом 7 на этой поверхности 6. Каждый поршень 5 выполнен в форме колпака с рифленой поверхностью 6 на наружной стороне дна 8 и с пазом 7 на этой поверхности. Возле каждого поршня 5 находится один винт 3, который проходит через отверстие 9, выполненное на одном конце пластинчатой пружины 10. Эта пружина расположена в продольном пазу 2 корпуса 1 и упирается другим концом 11 на дно 12 паза 7 поршня. На близлежащем к винту 3 конце дна 12 паза поршня имеется наклонная поверхность 13. образующая с пластинчатой пружиной 10 острый угол а, расширяющийся в сторону винта 3. Пластинчатая пружина 10, упираясь на дно 12 паза, в исходном положении устройства предотвращает осевое перемещение поршня в сторону от корпуса 1. Из-за наличия наклонной поверхности 13. образующей с пластинчатой пружиной 10 острый угол а, верхний (свободный) конец 11 пластинчатой пружиной 10 не выступает через паз 7 поршня когда рифленная поверхность 6 упирается к внутренней поверхности обсадной трубы.

[6]

Гидравлический якорь пакера работает следующим образом. Он вместе с пакером на колонне труб (на фигурах не показана) спускается в интервал установки. В колонне труб и внутри корпуса 2 повышают давление жидкости. За счет этого поршни 6 выдвигаются от корпуса 1. При этом пластинчатая пружина 10 деформируется и принимает изогнутую форму (как изображено па фиг. 2). а наружной рифленая поверхность 8 поршня прижимаются к внутренней поверхности обсадной трубы. Таким образом поршни 6 фиксируют пакер от перемещения. Для снятия пакера выравнивают давление внутри корпуса 2 и снаружи. При этом пластинчатые пружины 10 за счет силы упругости металла пружин возвращают поршни 5 в исходное положение.

[7]

В предлагаемом гидравлическом якоре пакера упрощается конструкция. Это вытекает из-за того, что в отличие от прототипа, в нем отсутствуют ограничительные планки и несквозные отверстия на поршне, а количество пружин в два раза меньше. Так же количество винтов и резьбовых отверстий для них в одном вертикальном ряду (по фиг. 1) меньше па единицу в каждом ряду, так как отсутствует винт над верхним поршнем. Так же применение предлагаемого устройства позволяет ускорить замену пружин и уменьшить металлоемкость гидравлического якоря пакера.

Как компенсировать расходы
на инновационную разработку
Похожие патенты