патент
№ RU 2647653
МПК G06F17/00

МОДЕЛЬ УПРАВЛЕНИЯ ПРОЦЕССОМ ЛИЗИНГА В ПРОМЫШЛЕННОСТИ

Авторы:
Казакова Наталия Александровна Дун Игорь Валерьевич Казаков Алексей Юрьевич
Все (4)
Номер заявки
2015151897
Дата подачи заявки
03.12.2015
Опубликовано
16.03.2018
Страна
RU
Как управлять
интеллектуальной собственностью
Чертежи 
1
Реферат

Изобретение относится к модели управления процессом лизинга в промышленности. Технический результат заключается в автоматизации управления процессом лизинга в промышленности. Модель содержит соединенные блоки, моделирующие поведение лизингодателя, лизингополучателя, банка-кредитора, страховой компании производителя имущества, сдаваемого в лизинг, блоки задания условий договора кредитования, договора страхования имущества, сдаваемого в лизинг, договора купли-продажи у производителя, сдаваемого в лизинг имущества, договора гарантии обеспечения возврата кредитных средств, блок задания условий договора лизинга, информационный блок задания графиков лизинговых платежей, блок моделирования поведения координатора, блок задания условий договора поставки имущества, сдаваемого в лизинг, блок моделирования схем формирования лицензионных платежей, блок определения финансовой эффективности сделки. 1 ил.

Формула изобретения

Модель управления процессом лизинга в промышленности содержит блоки, моделирующие поведение лизингодателя, лизингополучателя, банка-кредитора, страховой компании производителя имущества, сдаваемого в лизинг, а также блоки задания условий договора кредитования, договора страхования имущества, сдаваемого в лизинг, договора купли-продажи у производителя, сдаваемого в лизинг имущества, договора гарантии обеспечения возврата кредитных средств, блок задания условий договора лизинга, информационный блок задания графиков лизинговых платежей, блок моделирования поведения координатора и блок задания условий договора поставки имущества, сдаваемого в лизинг, отличающаяся тем, что она дополнительно содержит блок моделирования схем формирования лицензионных платежей, характеризующий поведение лизингодателя и лизингополучателя, который соединен с блоками, моделирующими поведение лизингодателя, лизингополучателя, банка-кредитора, страховой компании производителя имущества, сдаваемого в аренду, блоком задания условий лицензионных договоров, моделирующим поведение лизингодателя и лизингополучателя, блоком задания условий договора купли-продажи, моделирующим поведение лизингодателя, лизингополучателя и поставщика, блоком, моделирующим условия договора поставки, характеризующим поведение поставщика и лизингодателя, и блок определения финансовой эффективности сделки, характеризующий поведение лизингодателя, который соединен с блоком, моделирующим поведение лизингодателя, и блоком моделирования схем формирования лицензионных платежей, характеризующим поведение лизингодателя, лизингополучателя и банка-кредитора.

Описание

[1]

Изобретение относится к моделированию специальных процессов и систем и может быть использовано для моделирования управления процессом лизинга в промышленности.

[2]

Известна модель управления процессом лизинга в промышленности, служащая прототипом (свидетельство на полезную модель РФ №28558, 2003 г.), для исследования и оптимизации параметров финансовых процессов при нарушении условий лизингового договора, изъятия имущества у недобросовестного лизингополучателя, при наступлении страховых случаев и т.д.

[3]

Эта модель состоит из следующих блоков:

[4]

- блока, моделирующего поведение лизингодателя;

[5]

- блока заданий условий договора кредитования;

[6]

- блока задания условий договора страхования сдаваемого в лизинг имущества;

[7]

- блока, моделирующего поведение банка;

[8]

- блока, моделирующего поведение страховой компании,

[9]

- блока, моделирующего поведение лизингополучателя;

[10]

- блока заданий условий договора гарантий;

[11]

- блока заданий условий лизинговых договоров, включающий информационный блок условий поставки имущества в лизинг, информационный блок задания графиков лизинговых платежей, информационный блок задания условий взаимных поручительств и информационный блок задания условий перераспределения сданной в лизинг техники;

[12]

- блока, моделирующего поведение координатора;

[13]

- блока заданий условий договора купли-продажи;

[14]

- блока, моделирующего условия договора поставки;

[15]

- блока, моделирующего поведение поставщика.

[16]

При этом блоки соединены следующим образом.

[17]

Блок, моделирующий поведение лизингодателя, соединен через блоки задания условий договора кредитования и задания условий договора страхования сдаваемого в лизинг имущества с блоками, моделирующими поведение банка и поведение страховой компании.

[18]

Блок, моделирующий поведение лизингополучателя, соединен через блоки задания условий договора гарантий и условий лизинговых договоров с блоком, моделирующим поведение лизингодателя.

[19]

Блок, моделирующий поведение координатора, соединен через блок задания условий договора купли-продажи с блоком, моделирующим поведение лизингодателя, и через блок, моделирующий условия договора поставки, с блоком, моделирующим поведение поставщика, который в свою очередь соединен с блоком моделирования лизингополучателей.

[20]

Недостатком известной модели управления процессом лизинга в промышленности является отсутствие анализа структуры лизинговых платежей.

[21]

Задачей, на решение которой направлено заявляемое изобретение, является разработка модели управления лизингом в промышленности, позволяющей быстро анализировать структуру лизинговых платежей и финансовую эффективность лизинговых операций.

[22]

Техническим результатом является модель процесса управления лизингом в промышленности, обеспечивающая минимизацию рисков лизинга за счет анализа структуры лизинговых платежей.

[23]

Поставленная задача достигается за счет того, что в модель, содержащую блоки, моделирующие поведение лизингодателя, лизингополучателя, банка-кредитора, страховой компании производителя имущества, сдаваемого в лизинг, а также блоки задания условий договора кредитования, договора страхования имущества, сдаваемого в лизинг, договора купли-продажи у производителя, сдаваемого в лизинг имущества, договора гарантии обеспечения возврата кредитных средств, блок задания условий договора лизинга, информационный блок задания графиков лизинговых платежей, блок моделирования поведения координатора и блок задания условий договора поставки имущества, сдаваемого в лизинг, дополнительно введен блок моделирования схем формирования лицензионных платежей, характеризующий поведение лизингодателя и лизингополучателя, который соединен с блоками, моделирующими поведение лизингодателя, лизингополучателя, банка-кредитора, страховой компании производителя имущества, сдаваемого в аренду, блоком задания условий лицензионных договоров, моделирующий поведение лизингодателя и лизингополучателя, блоком задания условий договора купли-продажи, моделирующим поведение лизингодателя, лизингополучателя и поставщика, блоком, моделирующим условия договора поставки, характеризующим поведение поставщика и лизингодателя, и блок определения финансовой эффективности сделки, характеризующий поведение лизингодателя, который соединен с блоком, моделирующим поведение лизингодателя, и блоком моделирования схем формирования лицензионных платежей.

[24]

Отличительным признаком предлагаемого изобретения является введение в существующую модель блока моделирования схем формирования лицензионных платежей, который соединен с блоками, моделирующими поведение лизингодателя, лизингополучателя, банка-кредитора страховой компании производителя имущества, сдаваемого в аренду, блоком задания условий лицензионных договоров, блоком задания условий договора купли-продажи, блоком, моделирующим условия договора поставки, и блок определения финансовой эффективности сделки, который соединен с блоком, моделирующим поведение лизингодателя, и блоком моделирования схем формирования лицензионных платежей, характеризующий поведение лизингодателя, лизингополучателя и банка-кредитора.

[25]

Блок моделирования схем формирования лицензионных платежей содержит программы расчета размера лицензионных платежей, составленные на основе двух схем.

[26]

Первая схема основана на первоначальном расчете размера процентных платежей и суммы погашения долга с последующим определением общей и средней величины лизинговых платежей.

[27]

По второй схеме сначала определяют величину лизинговых платежей, а далее они распределяются на процентные платежи и суммы погашения долга.

[28]

При этом расчеты лицензионных платежей проводят по двум вариантам: методом уменьшаемого остатка (с ускоренной амортизацией) и при линейном законе амортизации с определением следующих выплат:

[29]

- по размеру платежей (постоянные, переменные);

[30]

- по применяемой процентной ставке: простая для очень коротких платежей, сложная - для средних и долгосрочных, постоянная или переменная;

[31]

- по моменту производства платежей: пренумерандо - в начале периода, постнумерандо - в конце периода;

[32]

- по периодичности выплат.

[33]

Расчет финансовой эффективности лизинговых операций определяют по разности между лизинговой ставкой и нормой амортизации (без учета расходов на обслуживание и ремонт имущества, сдаваемого в лизинг) для всех вариантов и выбирают наиболее выгодный и приемлемый.

[34]

На основе полученных результатов выбирают наиболее удобную и гибкую схему финансирования лизинговых операций и заключают все необходимые договора.

[35]

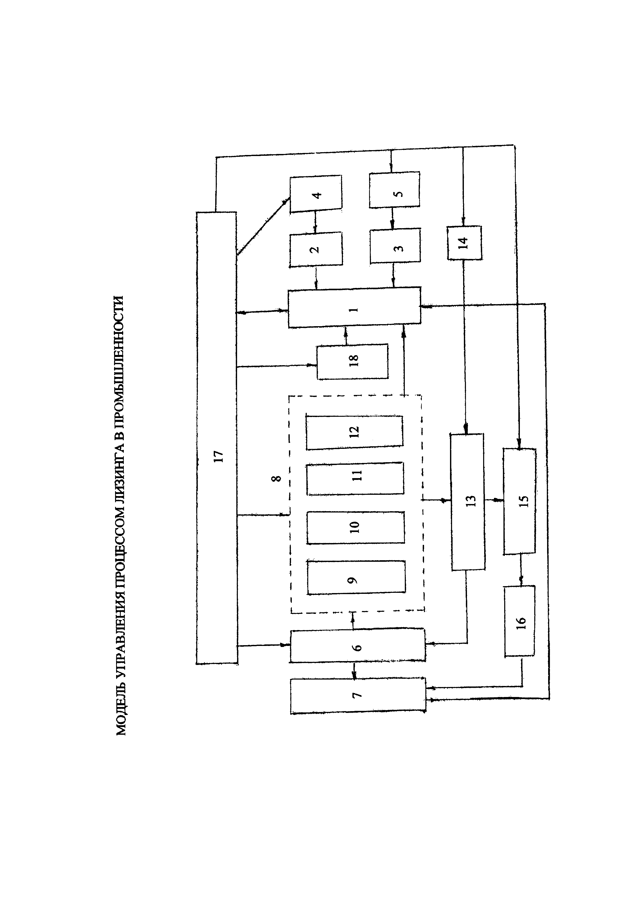
Заявляемая схема модели управления процессом лизинга в промышленности приведена на чертеже.

[36]

Модель содержит блок 1, моделирующий поведение лизингодателя, соединенный через блок 2 задания условий договора кредитования и блок 3 задания условий страхования сдаваемого в лизинг имущества с блоками 4 и 5, моделирующими поведение банка и страховой компании соответственно, с блоком 17 моделирования схем формирования лицензионных платежей, характеризующий поведение лизингодателя и лизингополучателя, и блоком 18 определения финансовой эффективности сделки, блок 6, моделирующий поведение лизингополучателя, соединенный через блоки 7 и 8 задания условий договора гарантий и условий лизинговых договоров, включающий информационные блоки 9, 10, 11 и 12 условий поставки имущества в лизинг, задания графиков лизинговых платежей, условий взаимных поручительств и условий перераспределения сданной в лизинг техники с блоком 1 и через блоки 15 и 16, моделирующими условия договора поставки и поведение поставщика, который соединен с блоком 6, блок 17 моделирования схем формирования лицензионных платежей, который соединен с блоками 1, 6, 4, 5, моделирующими поведение лизингодателя, лизингополучателя, банка-кредитора, страховой компании производителя имущества, сдаваемого в аренду, соответственно, блоком задания условий лицензионных договоров 8, моделирующим поведение лизингодателя и лизингополучателя, блоком задания условий договора купли-продажи 14, моделирующим поведение лизингодателя, лизингополучателя и поставщика, блоком, моделирующим условия договора поставки 15, характеризующим поведение поставщика и лизингодателя, и блока определения финансовой эффективности сделки 18, который соединен с блоком 1, моделирующим поведение лизингодателя, и блоком моделирования схем формирования лицензионных платежей 17, характеризующий поведение лизингодателя, лизингополучателя и банка-кредитора.

[37]

Заявляемая модель процесса управления лизингом в промышленности работает следующим образом. Данные кредитного договора, условия которого заданы в блоках 2 и 3, моделирующими поведение банка, через блок 1, моделирующий поведение лизингодателя, поступают в блок 17 моделирования схем формирования лицензионных платежей. Данные расчетов размера лицензионных платежей с блока 17 поступают в блок 18 для определения финансовой эффективности сделки. Полученные результаты передают лизингодателю в блок 1, где выбирают наиболее выгодный и приемлемый для всех участников лизинговой сделки вариант, который возвращают в блок 17 моделирования схем формирования лицензионных платежей. Лизинговые платежи, соответствующие этому варианту, поступают в блок 6, моделирующий поведение лизингополучателя, блок 8 задания условий договора гарантий и условий лизинговых договоров, включающий информационные блоки 9, 10, 11 и 12 условий поставки имущества в лизинг, задания графиков лизинговых платежей, условий взаимных поручительств и условий перераспределения сданной в лизинг техники, блоки 4 и 5, моделирующие поведение банка и страховой компании соответственно, блоки 14 и 15 для заключения договоров купли-продажи и поставки лизинговой техники. Затем моделируют процесс перечисления средств лизингодателя через координатора 13 поставщику, поведение которого моделируется блоком 16, и процесс поставок сдаваемой в лизинг техники лизингополучателю (блок 6).

[38]

Дополнительное введение блока 17 моделирования схем формирования лицензионных платежей по всем возможным вариантам с последующей передачей результатов в блок 18 для определения финансовой эффективности сделки по всем вариантам позволяет в короткие сроки реально оценить эффективность стоимости лизинговой сделки, выработать удобную и гибкую схему финансирования и минимизировать стоимость лизингового бизнеса.

Как компенсировать расходы
на инновационную разработку
Похожие патенты