патент
№ RU 2621127
МПК F16J13/20

Затвор концевой байонетный

Авторы:
Порошкин Константин Владимирович
Номер заявки
2016121767
Дата подачи заявки
01.06.2016
Опубликовано
31.05.2017
Страна
RU
Как управлять
интеллектуальной собственностью
Чертежи 
3
Реферат

Затвор предназначен для запирания крышек сосудов, аппаратов, концевых и тупиковых участков трубопроводов, работающих под давлением. Затвор включает составной полый корпус из неподвижной и вращающейся частей, соединенных многозаходной прямоугольной резьбой, крышку, закрепленную на откидном рычаге и имеющую возможность поворачиваться на оси подшипникового узла, перпендикулярной плоскости крышки, а также возможность откидываться вместе с указанным рычагом посредством подшипникового узла на кронштейне, установленном на корпусе, запорное устройство, выполненное в виде байонетного соединения. На крышке выполнены выступы, охватываемые выполненными на вращающейся части корпуса пазами. На крышке затвора закреплен зубчатый сектор, разделенный упором на два участка, взаимодействующих с ключом-шестерней, устанавливаемым последовательно на пальцах, расположенных на вращающейся части корпуса, с обеспечением предварительного и полного взаимного поворота крышки и вращающейся части корпуса. В конце участка предварительного поворота крышка имеет возможность осевого перемещения на высоту уступов, выполненных на выступах крышки. Величина шага и количество заходов резьбы подобраны таким образом, что при закрытии байонетного соединения, когда выступ вращающейся части корпуса полностью перекрывает выступ крышки, происходит осевое перемещение вращающейся части корпуса, достаточное для обжатия уплотнителя, расположенного в канавке на уплотнительной поверхности неподвижной корневой части корпуса и достижения герметичного соединения неподвижной корневой части корпуса и крышки. Байонетные выступы крышки и вращающейся части корпуса имеют форму, обеспечивающую расположение их контактных поверхностей в одной плоскости, перпендикулярной оси вращения вращающейся части корпуса. На неподвижной части корпуса закреплена стопорная планка, на которой установлен предохранительный узел, состоящий из рукоятки с эксцентриком, связанной посредством тяги со стопором, а посредством вала связанной с запорным элементом выпускного крана, соединенного патрубком с полостью под крышкой затвора, причем стопор имеет возможность входа и выхода из стопорного паза на вращающейся части корпуса, на которой также выполнены угловые упоры для предотвращения отворачивания вращающейся части корпуса от его неподвижной части. На неподвижной корневой части корпуса выполнены внутренние упоры для предотвращения проворота крышки относительно неподвижной корневой части корпуса. Технический результат - повышение надежности и герметичности в эксплуатации затвора. 5 ил.

Формула изобретения

Затвор концевой байонетный, включающий полый корпус и устанавливаемую на его уплотнительную поверхность крышку, закрепленную на откидном рычаге и имеющую возможность поворачиваться на оси первого подшипникового узла, перпендикулярной плоскости крышки, а также возможность откидываться вместе с указанным рычагом на шарнирном соединении с корпусом, запорное устройство, выполненное в виде байонетного соединения, для чего на крышке выполнены выступы, охватываемые выполненными на корпусе пазами, причем затвор снабжен предохранительным узлом, связанным посредством рукоятки с расположенным на корпусе выпускным краном, а на крышке затвора закреплен зубчатый сектор, разделенный упором на два участка, взаимодействующих с ключом-шестерней, устанавливаемым последовательно на пальцах, расположенных на корпусе, с обеспечением предварительного и полного взаимного поворота крышки и корпуса, причем в конце участка предварительного поворота крышка имеет возможность осевого перемещения на высоту уступов, выполненных на выступах крышки, отличающийся тем, что корпус выполнен составным и имеет неподвижную корневую часть с наружной многозаходной прямоугольной резьбой и вращающуюся часть с внутренней ответной многозаходной прямоугольной резьбой в нижней части и с байонетными выступами в верхней части, причем величина шага и количество заходов резьбы подобраны таким образом, что при закрытии байонетного соединения, когда выступ вращающейся части корпуса полностью перекрывает выступ крышки, происходит осевое перемещение вращающейся части корпуса, достаточное для обжатия уплотнителя, расположенного в канавке на уплотнительной поверхности неподвижной корневой части корпуса, и достижения герметичного соединения неподвижной корневой части корпуса и крышки, а байонетные выступы крышки и вращающейся части корпуса имеют форму, обеспечивающую расположение их контактных поверхностей в одной плоскости, перпендикулярной оси вращения вращающейся части корпуса, при этом на неподвижной части корпуса установлены кронштейны для крепления шарнирного соединения в виде вала откидного рычага и второго подшипникового узла, а также закреплена стопорная планка, на которой установлен предохранительный узел, состоящий из рукоятки с эксцентриком, связанной посредством тяги со стопором, а посредством вала связанной с запорным элементом выпускного крана, соединенного патрубком с полостью под крышкой затвора, причем стопор имеет возможность входа и выхода из стопорного паза на вращающейся части корпуса, на которой выполнены угловые упоры для предотвращения отворачивания вращающейся части корпуса от его неподвижной корневой части, притом на неподвижной корневой части корпуса выполнены внутренние упоры для предотвращения проворота крышки относительно неподвижной корневой части корпуса.

Описание

[1]

Изобретение относится к области машино- и аппаратостроения, в частности к быстроразъемным соединениям для запирания крышек сосудов, аппаратов и днищ, концевых и тупиковых участков трубопроводов, работающих под давлением, эксплуатация которых связана с частым открытием и закрытием, обеспечивая высокую надежность, герметичность и быстрое открытие и закрытие крышек и днищ.

[2]

Изобретение может быть использовано в нефтегазовой, нефтехимической, химической промышленности и других отраслях для обеспечения быстрого периодического доступа во внутреннюю полость сосудов и аппаратов, работающих под давлением, - камер запуска и приема поточных средств в трубопроводы, фильтров - грязеуловителей, люков - лазов и др., в штатном режиме работы и при проведении обслуживания, ремонта и диагностического осмотра.

[3]

Из уровня техники известен затвор байонетный (патент РФ №2546142, МПК F16J 13/20, опубликовано 10.04.2015), включающий полый корпус и крышку с элементами байонетного соединения с возможностью поворота на оси подшипникового узла, уплотнительные элементы, устройство сброса давления внутри системы и блокировки поворота крышки относительно корпуса, механизм перемещения крышки по оси и по окружности. Крышка затвора закреплена на откидном рычаге поворотной опоры в радиально-упорном подшипнике в стакане, установленном на крышке; уплотнительные элементы установлены в кольцевые пазы крышки; механизм перемещения крышки по оси и по окружности выполнен в виде вилки, жестко закрепленной на крышке затвора, и ходового винта, закрепленного на опорах на корпусе затвора с установленными на нем траверсой с бобышкой и ходовой гайкой, устройство сброса давления и блокировки поворота крышки относительно корпуса выполнено в виде стопора, один конец которого введен через стенку корпуса в один из пазов, а второй конец закреплен посредством кронштейна на винте со штурвалом, установленным в канале сброса давления в стенке корпуса, при этом канал оканчивается втулкой с коническим отверстием, а торец винта - коническим наконечником.

[4]

Наиболее близким аналогом является затвор концевой байонетный (патент РФ №2418218, МПК F16J 13/16, опубликовано 10.05.2011), содержащий полый корпус и устанавливаемую на его уплотнительную поверхность крышку, имеющую возможность поворачиваться на оси подшипникового узла, расположенного на откидном рычаге, при этом ось подшипникового узла закреплена на крышке с помощью шаровой опоры, обеспечивающей прилегание уплотнительных поверхностей корпуса и крышки, а также возможность откидываться вместе с указанным рычагом на шарнире, и которая снабжена обеспечивающим сжатие уплотнителя, расположенного в канавке уплотнительной поверхности корпуса, запорным устройством, выполненным в виде байонетного соединения, для чего крышка снабжена выступами, охватываемыми выполненными на корпусе пазами. Для придания крышке осевого перемещения при ее повороте относительно корпуса контактные поверхности указанных элементов байонетного соединения выполнены по винтовой поверхности, соответствующей многозаходной прямоугольной резьбе, а блокировка поворота крышки относительно корпуса, исключающая возможность открытия затвора при наличии в нем давления, осуществляется с помощью фиксатора, приводимого в действие через систему рычагов от рукоятки расположенного на корпусе выпускного крана, при этом поворот крышки после сброса давления осуществляется с помощью ключа-шестерни, устанавливаемого на закрепленные на корпусе оси и взаимодействующего с зубчатым сектором, закрепленным на крышке и разделенным упором на два участка, на первом из которых происходит предварительный поворот и осевое перемещение крышки на величину уступов, выполненных на выступах крышки, а на втором, при перестановке ключа-шестерни на соответствующую второму участку зубчатого сектора другую ось, происходит полный поворот крышки с последующим перемещением на откидывающемся рычаге. Съемный ключ снабжен храповым механизмом.

[5]

В приведенных изобретениях механизм активации уплотняющего эффекта и закрытие байонетного соединения реализуется следующим образом:

[6]

- при установке крышки в корпус, когда выступы крышки прошли в пазы корпуса, крышка ложится на уплотняющее кольцо;

[7]

- затем происходит поворот крышки относительно корпуса на ширину выступа крышки так, чтобы он полностью зашел под выступ корпуса, одновременно с поворотом крышки происходит прижатие крышки к корпусу за счет выполненных по винтовой траектории поверхностей выступов крышки и корпуса, таким образом, уплотняющее кольцо становится зажатым в канавке и обеспечивает герметизацию стыка.

[8]

Основным недостатком данных изобретений является:

[9]

- технологическая сложность выполнения винтовой поверхности на выступах крышки и еще более высокая сложность выполнения данной поверхности на внутренних поверхностях выступов корпуса, так как при изготовлении данных поверхностей применяются станки с ЧПУ со специальными фрезерными головками;

[10]

- требование высокой точности винтовых поверхностей объясняется высокой жесткостью корпуса и крышки, а отклонения от теоретического профиля приводят к заклиниванию крышки в затворе либо невозможности активации уплотняющего эффекта ввиду большой величины зазора между корпусом и крышкой;

[11]

- повышенный износ полимерного уплотнения из-за того, что при прижатии крышки к корпусу происходит срезание полимерного уплотнения при проворачивания крышки относительно корпуса, данная особенность также сказывается при открытии затвора, когда «прикипевшая» полимерная смесь не позволяет сдвинуть крышку из положения «закрыто» даже при полном сбросе давления.

[12]

Задачей изобретения является создание простого, надежного и технологичного байонетного затвора.

[13]

Технический результат заключается в упрощении технологического процесса изготовления байонетного соединения и повышении надежности в эксплуатации затвора.

[14]

Задача решается и технический результат достигается затвором концевым байонетным, включающим полый корпус и устанавливаемую на его уплотнительную поверхность крышку, закрепленную на откидном рычаге и имеющую возможность поворачиваться на оси первого подшипникового узла, перпендикулярной плоскости крышки, а также возможность откидываться вместе с указанным рычагом на шарнирном соединении с корпусом, запорное устройство, выполненное в виде байонетного соединения, для чего на крышке выполнены выступы, охватываемые выполненными на корпусе пазами, причем затвор снабжен предохранительным узлом, связанным посредством рукоятки с расположенным на корпусе выпускным краном, а на крышке затвора закреплен зубчатый сектор, разделенный упором на два участка, взаимодействующих с ключом-шестерней, устанавливаемым последовательно на пальцах, расположенных на корпусе, с обеспечением предварительного и полного взаимного поворота крышки и корпуса, причем в конце участка предварительного поворота крышка имеет возможность осевого перемещения на высоту уступов, выполненных на выступах крышки.

[15]

В отличие от прототипа корпус выполнен составным и имеет неподвижную корневую часть с наружной многозаходной прямоугольной резьбой и вращающуюся часть с внутренней ответной многозаходной прямоугольной резьбой в нижней части и с байонетными выступами в верхней части, причем величина шага и количество заходов резьбы подобраны таким образом, что при закрытии байонетного соединения, когда выступ вращающейся части корпуса полностью перекрывает выступ крышки, происходит осевое перемещение вращающейся части корпуса, достаточное для обжатия уплотнителя, расположенного в канавке на уплотнительной поверхности неподвижной корневой части корпуса, и достижения герметичного соединения неподвижной корневой части корпуса и крышки, а байонетные выступы крышки и вращающейся части корпуса имеют форму, обеспечивающую расположение их контактных поверхностей в одной плоскости, перпендикулярной оси вращения вращающейся части корпуса, при этом на неподвижной части корпуса установлены кронштейны для крепления шарнирного соединения в виде вала откидного рычага и второго подшипникового узла, а также закреплена стопорная планка, на которой установлен предохранительный узел, состоящий из рукоятки с эксцентриком, связанной посредством тяги со стопором, а посредством вала связанной с запорным элементом выпускного крана, соединенного патрубком с полостью под крышкой затвора, причем стопор имеет возможность входа и выхода из стопорного паза на вращающейся части корпуса, на которой выполнены угловые упоры для предотвращения отворачивания вращающейся части корпуса от его неподвижной корневой части, притом на неподвижной корневой части корпуса выполнены внутренние упоры для предотвращения проворота крышки относительно неподвижной корневой части корпуса.

[16]

Сущность изобретения поясняется чертежами, где на фиг. 1 изображен общий вид затвора с открытой крышкой, на фиг. 2 - вид сверху на затвор с закрытой крышкой, на фиг. 3 - сечение затвора с открытой крышкой, на фиг. 4 - предохранительное устройство вид сбоку, на фиг. 5 - вид сверху на предохранительное устройство в закрытом а) и открытом б) положении рукоятки.

[17]

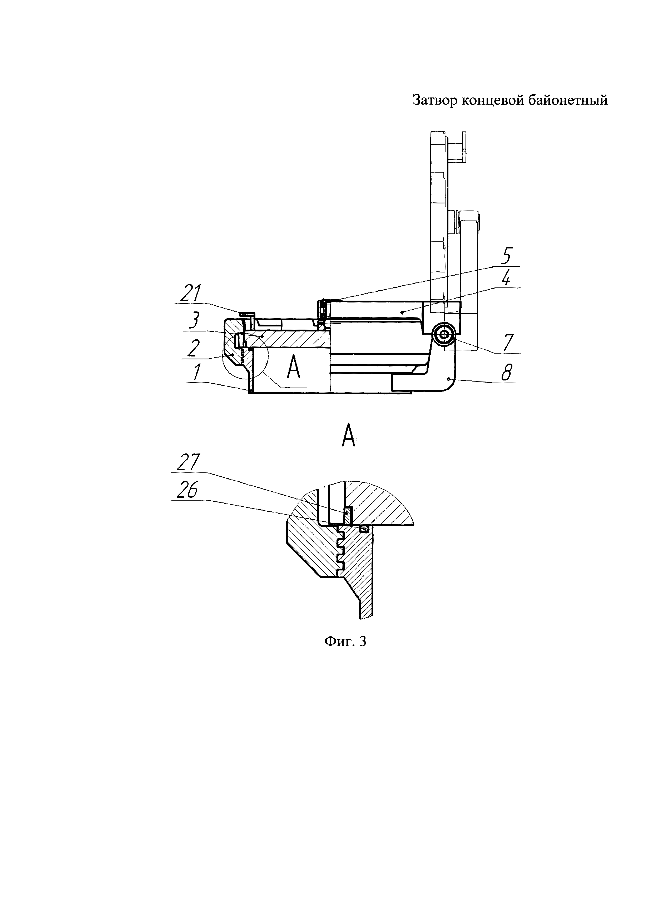
Затвор концевой байонетный (фиг. 1-5) включает составной полый корпус, имеющий неподвижную часть 1 с наружной многозаходной прямоугольной резьбой и вращающуюся часть 2 с внутренней ответной многозаходной прямоугольной резьбой. Крышка 3 закреплена на откидном рычаге 4 и устанавливается на уплотнительной поверхности неподвижной части 1 корпуса с возможностью поворота на оси первого подшипникового узла 5, перпендикулярной плоскости крышки. Крышка 3 имеет возможность откидываться вместе с указанным рычагом посредством вала 6 откидного рычага и второго подшипникового узла 7, расположенного на кронштейнах 8, прикрепленных к неподвижной части корпуса. Запорное устройство выполнено в виде байонетного соединения, для чего на крышке 3 выполнены выступы 9, охватываемые выполненными на вращающейся части 2 корпуса пазами 10. На неподвижной части 1 корпуса закреплена стопорная планка 11, предназначенная для ограничения углового перемещения вращающейся части корпуса путем установки угловых упоров 12, установленных на вращающейся части корпуса, ограничивая его в положениях «открыто» и «закрыто» для предотвращения отворачивания вращающейся части корпуса от его неподвижной части. На стопорной планке 11 (фиг. 4, 5) закреплен предохранительный узел, состоящий из рукоятки 13 с эксцентриком 14, связанной посредством тяги 15 со стопором 16, а посредством вала 17 связанной с запорным элементом выпускного крана 18, соединенного патрубком 19 с полостью под крышкой 3 затвора, причем стопор 16 имеет возможность входа и выхода из стопорного паза 20, выполненного на вращающейся части корпуса. На крышке 3 затвора закреплен зубчатый сектор 21 (фиг. 1, 2), разделенный упором 22 на два участка, взаимодействующих с ключом-шестерней 23, устанавливаемым последовательно на пальцах 24, расположенных на вращающейся части 2 корпуса, с обеспечением предварительного и полного взаимного поворота вращающейся части 2 корпуса относительно крышки 3, причем в конце участка предварительного поворота крышка 3 имеет возможность осевого перемещения на высоту уступов 25, выполненных на выступах 9 крышки. В канавке на уплотнительной поверхности неподвижной части 2 корпуса размещен уплотнитель 26 (фиг. 3). Байонетные выступы 9 крышки 3 и вращающейся части 2 корпуса имеют в сечении прямоугольную форму, обеспечивающую расположение их контактных поверхностей в одной плоскости, перпендикулярной оси вращения. На неподвижной части 1 корпуса выполнены внутренние упоры 27 (фиг. 1) для предотвращения проворота крышки 3 относительно неподвижной части 1 корпуса.

[18]

Затвор действует следующим образом.

[19]

При открывании затвора необходимо освободить от стопорения предохранительным узлом вращающуюся часть 2 корпуса путем поворота ручки 13 в положение «открыто», тем самым вытягивая стопор 16 из стопорного паза 20 на вращающейся части корпуса. При повороте ручки 13 одновременно происходит открытие предохранительного крана 18, что вызывает принудительный сброс давления из-под крышки затвора. Открытие байонетного затвора происходит путем поворота вращающейся части 2 корпуса относительно неподвижной крышки 3, которая удерживается от проворота в неподвижной части 1 корпуса расположенными там внутренними упорами 27, взаимодействующими с выступами 9 крышки. Поворот вращающейся части корпуса осуществляется с помощью ключа-шестерни 2, последовательно устанавливаемого на пальцы 24 и взаимодействующего с зубчатым сектором 21. Зубчатый сектор разделен упором 22 на участок предварительного и окончательного поворота вращающейся части корпуса. В конце участка предварительного поворота крышка получает осевое перемещения на высоту уступов 25, выполненных на выступах 9 крышки 3. При этом происходит полное стравливание давления из полости затвора через зазор между крышкой 3 и уплотнителем 26. В конце участка окончательного поворота вращающейся части корпуса происходит полное расцепление байонетного соединения крышки 3 и вращающейся части 2 корпуса и крышка отводится на рычаге 4 в положение, обеспечивающее доступ к внутренней полости затвора.

[20]

Закрытие затвора происходит в обратной последовательности. Крышка 3, поворачиваясь на рычаге 4, укладывается на уплотнительную поверхность неподвижной части 1 корпуса. Вращающаяся часть 2 корпуса затвора в момент закрытия крышки 3 имеет угловое положение, обеспечивающее беспрепятственное прохождение выступов крышки 9 в пазы 10 вращающейся части корпуса. Данное угловое положение обеспечивается касанием углового упора 12 в положении «открыто» со стопорной планкой 11. При укладке крышки 3 на уплотнительную поверхность происходит угловая фиксация крышки относительно неподвижной части 1 корпуса затвора внутренними угловыми упорами 27, контактирующими с выступами 9. Закрытие затвора осуществляется воздействием ключ-шестерни 23 на пальцы 24 через зубчатый сектор 21. Вначале происходит поворот вращающейся части 2 корпуса с помощью предварительного участка зубчатого сектора 21 до упора 22, затем для активации окончательного участка зубчатого сектора 21 ключ-шестерня 23 переставляется на следующий палец 24 и происходит окончательный поворот вращающейся части 2 корпуса до касания углового упора 12 стопорной планки 11 в положении «закрыто». В этом положении выступ 9 крышки 3 полностью перекрывается выступом байонетного соединения вращающейся части 2 корпуса. Тем самым вращающаяся часть 2 корпуса, наворачиваясь на резьбу неподвижной части 1 корпуса, совершает одновременно с вращательным поступательное движение, достаточное для вдавливания уплотнителя 26 в канавку, тем самым обеспечивая предварительный поджим уплотнителя 26 и герметизацию стыка неподвижной части 1 корпуса и крышки 3. Стопорение вращающейся части 2 корпуса обеспечивается предохранительным узлом путем поворота ручки 13 в положение «закрыто», тем самым выталкивая стопор 16 в стопорный паз 20 на вращающейся части корпуса. При повороте ручки 13 одновременно происходит закрытие предохранительного крана 18.

[21]

При работе ключа-шестерни зубчатый сектор будет оставаться неподвижным, т.к. крышка удерживается неподвижно внутренними упорами, расположенными на неподвижной части корпуса, а вращающийся корпус начнет проворачиваться под действием силы, воздействующей на пальцы. При повороте вращающаяся часть корпуса будет наворачиваться на резьбу неподвижного корпуса и тем самым участвовать в сложном движении: перемещаться в осевом направлении, толкая крышку вперед и открывая байонетное соединение. В свою очередь крышка будет иметь поступательное движение, освобождая уплотнитель, вдавленный в канавку. Предохранительный узел стопорит вращающуюся часть корпуса относительно неподвижной, и крышка в механизме фиксирования участия не принимает.

[22]

Таким образом, предложенная конструкция затвора позволяет выполнять поверхности выступов крышки и корпуса в виде цилиндрических и плоских поверхностей, обеспечивая технологичность и простоту изготовления. Отсутствие вращательного движения крышки относительно корпуса при манипуляциях открытия и закрытия не подвергает уплотняющий элемент срезающим нагрузкам, что повышает надежность в эксплуатации затвора.

Как компенсировать расходы
на инновационную разработку
Похожие патенты