патент
№ RU 2653935
МПК B64G3/00

Способ обмена данными с космическими аппаратами и наземный комплекс управления для осуществления данного способа

Авторы:
Жидкова Светлана Кирилловна
Номер заявки
2017124162
Дата подачи заявки
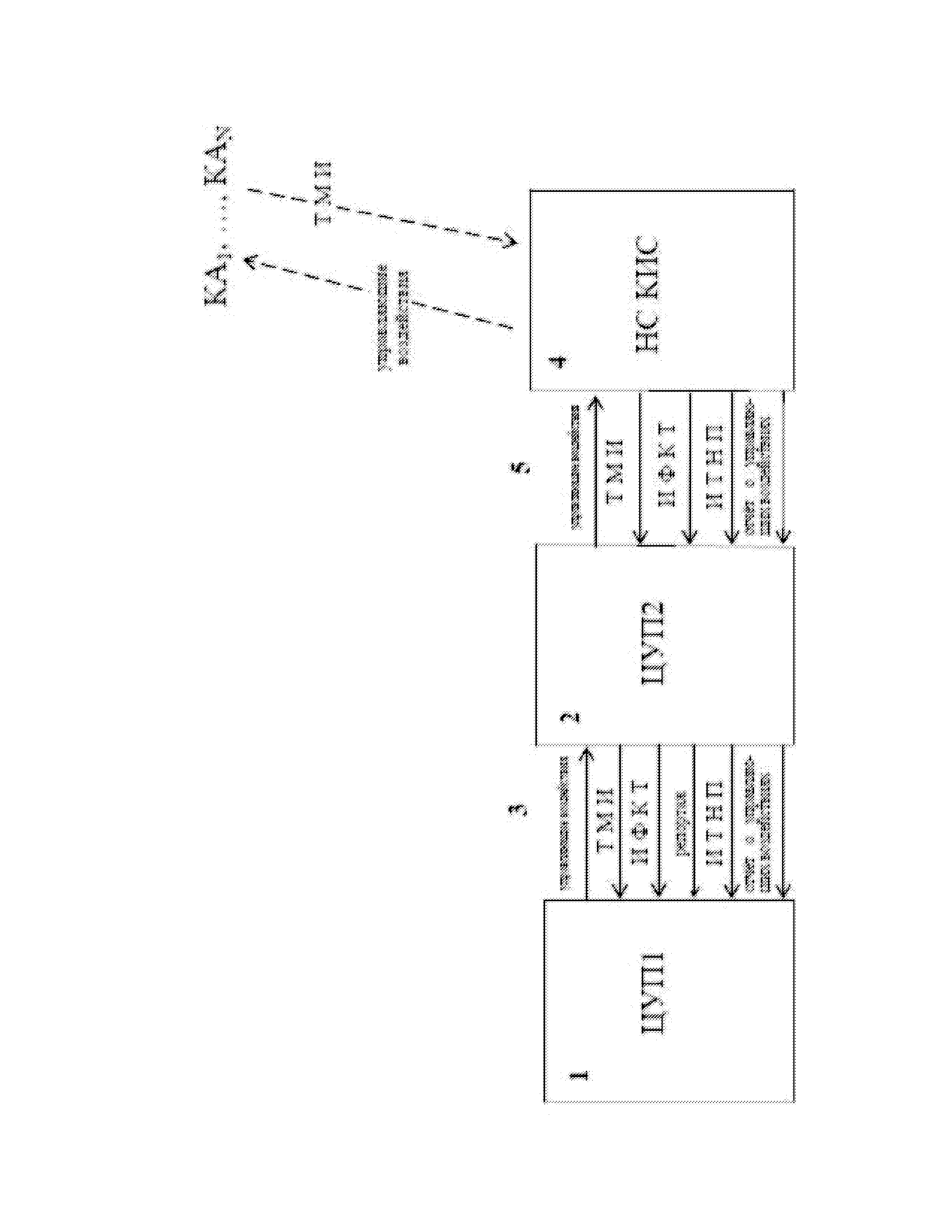
07.07.2017
Опубликовано
15.05.2018
Страна
RU
Как управлять
интеллектуальной собственностью
Чертежи 
1
Реферат

Группа изобретений относится к способу обмена данными с космическими аппаратами (КА) и наземному комплексу управления. Наземный комплекс управления содержит два комплекса средств управления полетом КА, соответствующие первому и второму центру управления полетом (ЦУП1 и ЦУП2), наземную станцию командно-измерительной системы (НС КИС), связанных через линию передачи данных управляющих воздействий, телеметрической информации (ТМИ) и информации функционального контроля (ИФКТ) определенным образом. Для обмена данными с КА формируют управляющие воздействия в ЦУП1, которые передают через ЦУП2 и НС КИС на космический аппарат, осуществляют прием ТМИ от КА в ЦУП1 через ЦУУП2, осуществляют прием ИФКТ от НС КИС в ЦУП1 через ЦУП2, а также репортаж об ответной реакции на управляющие воздействия, поступающие от ЦУП2. Обеспечивается информационная безопасность доступа к НС КИС, повышение надежности управления. 2 н.п. ф-лы, 1 ил.

Формула изобретения

1. Способ обмена данными с космическими аппаратами, предусматривающий

формирование управляющих воздействий в первом комплексе средств управления полётом космического аппарата, представляющим собой систему «человек – машина», и передачу указанных управляющих воздействий на космический аппарат через

второй комплекс средств управления полётом космического аппарата, представляющий собой систему «человек – машина» и по меньшей мере одну наземную станцию командно-измерительной системы космического аппарата, и

приём в первом комплексе средств управления полётом космического аппарата

телеметрической информации, поступающей с космического аппарата через наземную станцию командно-измерительной системы космического аппарата и второй комплекс средств управления полётом космического аппарата, а также

информации функционального контроля, поступающей с по меньшей мере одной наземной станции командно-измерительной системы космического аппарата через второй комплекс средств управления полётом космического аппарата, отличающийся тем, что

формируют управляющие воздействия в первом центре управления полётом, который соответствует упомянутому первому комплексу средств управления полётом космического аппарата, и

выполняют передачу управляющих воздействий на космический аппарат, последовательно, через второй центр управления полётом, который соответствует упомянутому второму комплексу средств управления полётом космического аппарата, и, по существу, идентичен по составу используемых технических средств первому центру управления полётом, и по меньшей мере одну доступную наземную станцию командно-измерительной системы космического аппарата, и приём в первом центре управления полётом телеметрической информации, поступающей с космического аппарата последовательно через указанную доступную наземную станцию командно-измерительной системы космического аппарата и второй центр управления полётом, а также

информации функционального контроля, измерений текущих навигационных параметров, отчёта о выданных управляющих воздействиях, поступающих с указанной доступной наземной станции командно-измерительной системы космического аппарата через второй центр управления полётом, и

репортажа об ответной реакции на управляющие воздействия, поступающего со второго центра управления полётом.

2. Наземный комплекс управления, включающий

первый комплекс средств управления полётом космического аппарата, представляющий собой систему «человек – машина», связанный через линию передачи данных управляющих воздействий, телеметрической информации и информации функционального контроля со

вторым комплексом средств управления полётом космического аппарата, который представляет собой систему «человек – машина» и связан через линию передачи данных управляющих воздействий, телеметрической информации и информации функционального контроля с по меньшей мере одной наземной станцией командно-измерительной системы, отличающийся тем, что для обеспечения обмена данными с космическими аппаратами согласно п.1

упомянутому первому комплексу средств управления полётом космического аппарата соответствует первый центр управления полётом, связанный со

вторым центром управления полётом, который соответствует упомянутому второму комплексу средств управления полётом космического аппарата, и, по существу, идентичен по составу используемых технических средств первому центру управления полётом, причём

второй центр управления полётом связан с по меньшей мере одной наземной станцией командно-измерительной системы.

Описание

[1]

Предлагаемая группа изобретений относится к области космонавтики, а именно к средствам наблюдения и слежения за полётом космических кораблей, и направлена на решение технической проблемы, заключающейся в необходимости обеспечения информационной безопасности при эксплуатации наземного комплекса управления космическими аппаратами.

[2]

Один из аспектов проблемы обеспечения информационной безопасности наземных комплексов управления заключается в необходимости ограничения доступа к наземным средствам командно-измерительной системы космического аппарата, например, при международном сотрудничестве и необходимости управления полётом космических аппаратов страны – потребителя космической услуги. С данным аспектом проблемы обеспечения информационной безопасности тесно связана проблема надёжности управления наземными средствами командно-измерительной системы, расположенными в удалённых местностях, при минимизации затрат на поддержание их функционирования. Очевидным решением данной технической проблемы является использование комплексов оборудования, обеспечивающих взаимодействие наземных средств командно-измерительной системы и средств управления полётом космического аппарата.

[3]

Из патента на изобретение RU 2503127, ИСС им. Акад. М.Ф.Решетнёва, опубл. 2013, известна многофункциональная космическая система ретрансляции для информационного обмена с космическими и наземными абонентами. В состав наземной части данной космической системы входят первый и второй комплексы средств управления полётом космического аппарата: центр управления ретрансляцией и связью, связанный с наземным комплексом управления космическими аппаратами, и пункт приёма и передачи информации, связанный с центром управления ретрансляцией и связью. Очевидно, что первый и второй комплексы средств управления полётом космического аппарата представляют собой системы «человек – машина». В результате, при осуществлении одного из вариантов работы космической системы из RU 2503127, первый комплекс средств управления полётом космического аппарата связан через линию передачи данных управляющего воздействия, телеметрической информации и информации функционального контроля со вторым комплексом средств управления полётом космического аппарата. В свою очередь, второй комплекс связан через линию передачи данных управляющего воздействия, телеметрической информации и информации функционального контроля с наземной станцией командно-измерительной системы. Работа космической системы с указанными выше связями между её составными частями включает: формирование управляющих воздействий в первом комплексе средств управления и передачу их на космический аппарат, через второй комплекс средств управления полётом и наземную станцию командно-измерительной системы космического аппарата. В первом комплексе средств управления принимают телеметрическую информацию, поступающую с космического аппарата через наземную станцию командно-измерительной и второй комплекс средств управления, а также информации функционального контроля, поступающей аналогичным образом с наземной станции командно-измерительной системы.

[4]

Предложенная в RU 2503127 космическая система должна обеспечить оперативность доставки информации от космических абонентов и обеспечить централизованное управление каналами ретрансляции и связи космической системы ретрансляции. При использовании данной космической системы обеспечивается возможность управления космическим аппаратом и съёма целевой информации в любой точке орбиты, обеспечивается подготовка земного сегмента к проведению сеансов ретрансляции. То есть известная космическая система предназначена для эффективного управления телекоммуникационными космическими аппаратами. В свою очередь, предлагаемая группа изобретений позволит расширить область использования космических систем со схемами построения наземных средств, схожими с указанной выше, для обеспечения информационной безопасности – ограничении доступа к наземным средствам командно-измерительной системы космического аппарата. Одновременно, предложенное изобретение позволит повысить надёжность управления наземными средствами командно-измерительной системы, в том числе расположенными в удалённых местностях.

[5]

Указанный выше технический результат достигается при использовании способа обмена данными с космическими аппаратами, который предусматривает формирование и приём управляющих воздействий следующим образом. Формируют управляющие воздействия в первом комплексе средств управления полётом космического аппарата, представляющим собой систему «человек – машина», для последующей передачи указанных управляющих воздействий на космический аппарат. Управляющие воздействия передают на космический аппарат, через второй комплекс средств управления полётом космического аппарата, представляющий собой систему «человек – машина» и по меньшей мере одну наземную станцию командно-измерительной системы космического аппарата. В первом комплексе средств управления полётом космического аппарата принимают телеметрическую информацию, поступающую с космического аппарата через наземную станцию командно-измерительной системы космического аппарата и второй комплекс средств управления полётом космического аппарата. Также, в первом комплексе управления принимают информацию функционального контроля, поступающую с по меньшей мере одной наземной станции командно-измерительной системы космического аппарата через второй комплекс средств управления полётом космического аппарата.

[6]

В отличие от аналога, формируют управляющие воздействия в первом центре управления полётом, который соответствует упомянутому первому комплексу средств управления полётом космического аппарата. Выполняют передачу данных файлов на космический аппарат, последовательно, через второй центр управления полётом, который соответствует упомянутому второму комплексу средств управления полётом космического аппарата, и, по существу, идентичен по составу используемых технических средств первому центру управления полётом и по меньшей мере одну доступную наземную станцию командно-измерительной системы космического аппарата. В первом центре управления полётом принимают телеметрическую информацию, поступающую с космического аппарата последовательно через указанную доступную наземную станцию командно-измерительной системы космического аппарата и второй центр управления полётом. Также, в первом центре управления полётом принимают информацию функционального контроля, измерения текущих навигационных параметров, отчёт о выданных управляющих воздействиях, поступающие с указанной доступной наземной станции командно-измерительной системы космического аппарата через второй центр управления полётом, и репортажа об ответной реакции на управляющие воздействия, поступающего со второго центра управления полётом.

[7]

Также, указанный выше технический результат достигается при использовании наземного комплекса управления, включающего первый и второй комплексы средств управления полётом космического аппарата, представляющие собой системы «человек – машина». Первый комплекс связан через линию передачи данных управляющих воздействий, телеметрической информации и информации функционального контроля со вторым комплексом, который, в свою очередь, связан через линию передачи данных управляющих воздействий, телеметрической информации и информации функционального контроля с по меньшей мере одной наземной станцией командно-измерительной системы. В отличие от аналога, для обеспечения обмена данными с космическими аппаратами согласно описанному выше способу первому и второму комплексам средств управления полётом космического аппарата соответствуют первый и второй центры управления полётом. Второй центр управления полётом, по существу, идентичен по составу используемых технических средств первому центру управления полётом. Первый центр управления полётом связан через физически единый канал (линию) передачи данных: управляющих воздействий, телеметрической информации, информации функционального контроля, измерений текущих навигационных параметров, отчёта о выданных управляющих воздействиях и репортажа об ответной реакции на управляющие воздействия со вторым центром управления полётом. Второй центр управления полётом связан через физически единый канал (линию) передачи данных: управляющих воздействий, телеметрической информации, информации функционального контроля, измерений текущих навигационных параметров, отчёта о выданных управляющих воздействиях с по меньшей мере одной наземной станцией командно-измерительной системы.

[8]

Осуществление предложенного изобретения может быть пояснено следующим образом (см. также блок-схему).

[9]

Наземный комплекс управления космическими аппаратами основан на использовании совокупности средств управления полётом космического аппарата, представляющих собой системы «человек – машина». (Под системой «человек – машина» понимается система, сочетающая деятельность человека и функционирование объекта техники, основанные на взаимодействии в соответствии с получаемой информацией с объектом управления и машиной посредством органов управления, технические особенности которых будут определяться через их функциональное назначение). К средствам управления полётом в предложенном наземном комплексе управления космическими аппаратами относится первый 1 и второй 2 центры управления полётом (ЦУП1, ЦУП2, соответственно), практически идентичные друг другу по составу используемых технических средств. Центры управления полётом (ЦУП1, ЦУП2) 1 и 2, как и было указано выше, представляют собой объекты техники, которые могут быть рассмотрены в качестве систем «человек – машина». При этом центр управления полётом – орган, осуществляющий централизованное оперативно-техническое руководство всем комплексом работ (процессов, операций) по управлению полётами, включает совокупность рабочих мест, оборудованных каналами связи для передачи команд и программ обмена информацией (баллистической, телеметрической и др.) с космическими аппаратами, измерительным комплексом, информационно-вычислительным комплексом и т.п. для осуществления указанного выше назначения.

[10]

Первый 1 и второй 2 центры управления полётом (ЦУП1, ЦУП2) связаны между собой физические единым каналом (линией) передачи данных 3 для передачи управляющих воздействий, телеметрической информации (ТМИ), информации функционального контроля (ИФКТ), измерений текущих навигационных параметров (ИТНП), отчёта о выданных управляющих воздействиях и репортажа об ответной реакции на управляющие воздействия. В свою очередь, второй центр управления полётом (ЦУП2) 2 связан с несколькими или одной наземной станцией командно-измерительной системы 4 (НС КИС) космического аппарата доступной для связи физические единым каналом (линией) передачи данных 5 для передачи управляющих воздействий, телеметрической информации (ТМИ), информации функционального контроля (ИФКТ), измерений текущих навигационных параметров (ИТНП) и отчёта о выданных управляющих воздействиях. Таким образом, первый центр управления полётом (ЦУП1) 1 не имеет непосредственного доступа к наземным станциям командно-измерительной станции (НС КИС). Равные функциональные возможности первого (ЦУП1) 1 и второго (ЦУП2) 2 центров управления полётами обеспечат безопасный доступ к командно-измерительной системе с сохранением возможности управления космическими аппаратами и сбора данных с них.

[11]

При работе предложенного наземного комплекса управления соединение ЦУП1↔ЦУП2↔НС КИС1…N устанавливается на момент сеанса связи. В период предсеансной подготовки существует соединение ЦУП1↔XML↔ЦУП2 с передачей информации, например, в виде XML файлов. В первом центре управления полётом (ЦУП1) 1 формируют управляющие воздействия. Далее, от первого центра управления полётом (ЦУП1) 1 управляющие воздействия по линии передачи данных 3 передаются на второй центр управления полётом (ЦУП2) 2, который выбирает командно-измерительные системы КИС1, КИСN-1, КИСN, доступные для связи в данный момент времени. Со второго центра управления полётом (ЦУП2) 2 управляющие воздействия по линии передачи данных 5 передаются на доступные для связи наземные станции 41…4n командно-измерительной системы (НС КИС). Командно-измерительная система выполняет измерение текущих навигационных параметров, обеспечивающих навигацию спутника, выполняется измерение запросной дальности, углов направления линии визирования, радиальной скорости.

[12]

Одновременно с описанной выше передачей файлов управляющих воздействий в первом центре управления полётом (ЦУП1) 1 в режиме реального времени принимают телеметрическую информацию (ТМИ), информацию функционального контроля (ИФКТ), измерения текущих навигационных параметров (ИТНП), отчёт о выданных управляющих воздействиях и репортаж об ответной реакции на управляющие воздействия. Телеметрическая информация (ТМИ) поступает с космического аппарата через доступные наземные станции 41…4n командно-измерительной системы (в предельном случае может быть использована одна наземная станция) (НС КИС), канал (линию) передачи данных 5, второй центр управления полётом (ЦУП2) 2, канал (линию) передачи данных 3. Информация функционального контроля (ИФКТ), измерения текущих навигационных параметров (ИТНП), отчёт о выданных управляющих воздействиях поступают с доступной наземной станции 41…4n командно-измерительной системы (НС КИС) через канал (линию) передачи данных 5, второй центр управления полётом (ЦУП2) 2, канал (линию) передачи данных 3. Репортаж об ответной реакции на управляющие воздействия поступает в первый центр управления полётом (ЦУП1) 1 со второго центра управления полётом (ЦУП2) 2.

[13]

То есть предложен наземный комплекс управления, обеспечивающий информационную безопасность при доступе к командно-измерительной системе при обеспечении надёжности её управления.

Как компенсировать расходы
на инновационную разработку
Похожие патенты