Изобретение относится к способам измерения трения в подшипниках. Способ определения коэффициента трения подшипника заключается в создании усилия на подшипник от нагрузочного устройства. При этом создается дополнительное усилие от силовозбудителя. Причем усилия, приложенные к подшипнику от нагрузочного устройства и от силовозбудителя, создаются на равных, но противоположных плечах с последующим расчетом коэффициента трения по формуле,где F- усилие, приложенное к подшипнику от силовозбудителя; F- усилие, приложенное к подшипнику от нагрузочного устройства; L - плечо приложения силы; D - диаметр подшипника. Техническим результатом является создание устройства, обеспечивающего определение коэффициента трения подшипника. 4 ил.
Способ определения коэффициента трения подшипника, заключающийся в создании усилия на подшипник от нагрузочного устройства, отличающийся тем, что создается дополнительное усилие от силовозбудителя, причем усилия, приложенные к подшипнику от нагрузочного устройства и от силовозбудителя, создаются на равных, но противоположных плечах с последующим расчетом коэффициента трения по формуле:
,
где F1 - усилие, приложенное к подшипнику от силовозбудителя;
F2 - усилие, приложенное к подшипнику от нагрузочного устройства;
L - плечо приложения силы;
D - диаметр подшипника.
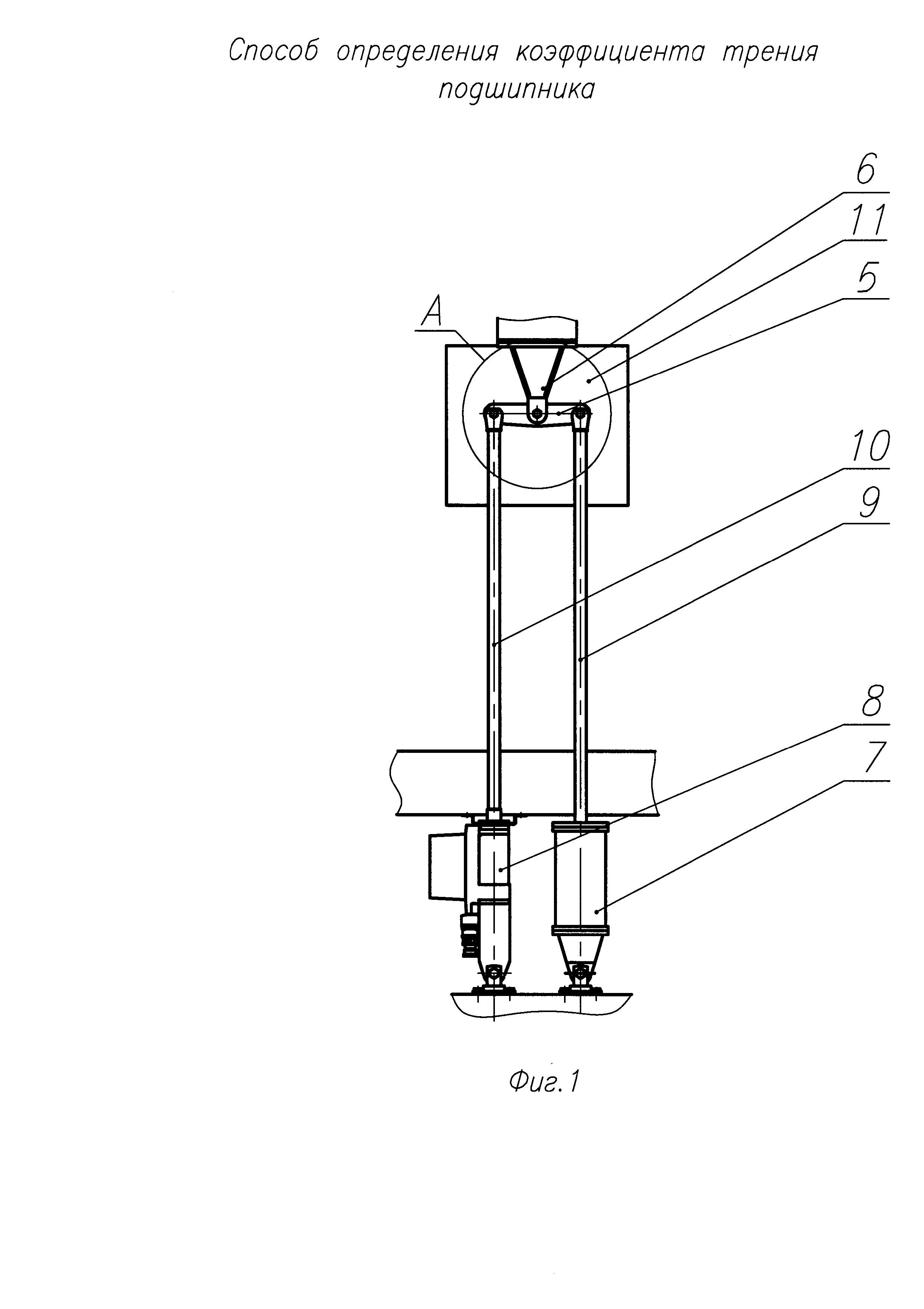
Изобретение относится к способам измерения трения в подшипниках. Известен метод определения коэффициента трения и интенсивности изнашивания ОСТ 92-4613-2012, который и был принят авторами за аналог. Данный способ заключается в определении силы (коэффициента) трения и интенсивности изнашивания, перемещающихся относительно друг друга пар трения (подшипника) из испытываемых материалов с постоянными и переменными скоростями скольжения, статическими нагрузками и температурами в течение определенного заданного времени. Нагрузка прилагается к подшипнику. Однако если рассматривать случай, когда на подшипник нагрузка приходит через плечо определенной длины, при расчете силы (коэффициента) трения необходимо учитывать размер плеча. Также если рассматривать подшипники, которые устанавливаются, например, в элементах управления ракеты (элевоны, элероны), где максимальный поворот происходит на небольшие углы, не более 25°, необходимо рассматривать случай качания подшипников. В силу вышеизложенного, с учетом приложения нагрузки через плечо определение коэффициента трения подшипника заключается в создание усилия на подшипник от нагрузочного устройства, а также создание дополнительного усилия от силовозбудителя, причем усилия, приложенные к подшипнику от нагрузочного устройства и от силовозбудителя, создаются на равных, но противоположных плечах с последующим расчетом коэффициента трения по формуле где F1 - усилие, приложенное к подшипнику от силовозбудителя; F2 - усилие, приложенное к подшипнику от нагрузочного устройства; L - плечо приложения силы; D - диаметр подшипника. Предложенное техническое решение поясняется чертежами на примере измерения коэффициента трения шарнирного подшипника на стенде, показанном на фиг. 1-4, где изображен общий вид и сечение по отдельным элементам. На фиг. 1-4 указаны позиции в следующем порядке: 1 - шарнирный подшипник; 2 - внутреннее кольцо; 3 - наружное кольцо; 4 - ось; 5 - качалка; 6 - кронштейн; 7 - нагрузочное устройство; 8 - силовозбудитель; 9 - тяга; 10 - тяга; 11 - нагревательный элемент. Стенд состоит из шарнирных подшипников (1), один из которых установлен в центре качалки (5), а два других по ее концам. Подшипник (1) содержит внутреннее кольцо (2), в котором размещена ось (4), и наружное кольцо (3). Ось (4) подшипника (1), расположенного в центре качалке (5), шарнирно установлена в кронштейне (6). Оси (4) подшипников (1), расположенных по концам качалки (5), шарнирно соединены с тягами (9) и (10) нагрузочного устройства (7) и силовозбудителя (8). Реализуется предлагаемый способ измерения коэффициента трения шарнирного подшипника следующим образом. При подаче управляющего сигнала на силовозбудитель (8) тяга (10) перемещается на расчетную величину и поворачивает на заданный угол качалку (5). Одновременно на ту же величину перемещается тяга (9), которая воздействует на нагрузочное устройство (7). Затем меняется полярность управляющего сигнала, качалка (5) поворачивается в обратном направлении. С помощью нагревательного элемента (11) на подшипнике обеспечивается необходимый температурный режим. При этом в подшипниках возникают моменты трения М, М1, М2 от сил, действующих на них: где F1 - усилие, приложенное к подшипнику от силовозбудителя, а F2 - усилие, приложенное к подшипнику от нагрузочного устройства, D - диаметр подшипника, f - коэффициент трения. ΣM=0 тогда или отсюда коэффициент трения определяется по формуле Таким образом, можно определить коэффициент трения подшипника, на который приходит нагрузка через плечо.,
,
, 


