патент
№ RU 2556884
МПК G01R31/34

СПОСОБ НАСТРОЙКИ ВЕНТИЛЬНОГО ЭЛЕКТРОДВИГАТЕЛЯ

Авторы:
Калихман Дмитрий Михайлович Нахов Сергей Федорович Седышев Владимир Антонович
Все (8)
Номер заявки
2014120086/07
Дата подачи заявки
19.05.2014
Опубликовано
20.07.2015
Страна
RU
Как управлять
интеллектуальной собственностью
Чертежи 
2
Реферат

Изобретение относится к области электротехники и может быть использовано для настройки вентильных электродвигателей. Техническим результатом является обеспечение угловой стабильности момента двигателя. В способе настройки вентильный электродвигатель, представляющий собой моментный двигатель постоянного тока, устанавливают в настроечный стенд, обеспечивающий заторможенный режим и поворот ротора двигателя, подают управляющее напряжение на входную обмотку датчика положения, при этом согласно изобретению разворачивают ротор двигателя на угол, при котором сигнал с синусной выходной обмотки датчика положения равен нулю, подают сигнал смещения на дополнительный вход усилителя синусного канала, при котором остаточный сигнал на выходе усилителя равен нулю, измеряют пусковой момент косинусного канала двигателя и по отношению момента к управляющему напряжению на входной обмотке датчика положения определяют коэффициент передачи косинусного канала. Аналогичным образом определяют коэффициент передачи синусного канала. Затем устанавливают сопротивления регулировочных резисторов усилителей косинусного и синусного каналов так, чтобы отношение сопротивлений регулировочных резисторов косинусного и синусного каналов было равно обратному отношению коэффициентов передачи этих каналов. 3 ил.

Формула изобретения

Способ настройки вентильного электродвигателя, включающий установку двигателя в настроечный стенд, подачу управляющего напряжения на входную обмотку датчика положения (ДП), поворот статора ДП относительно статора бесколлекторного двигателя (ДБ) и фиксацию углового положения статора ДП, соответствующего максимуму пускового вращающего момента двигателя, отличающийся тем, что устанавливают ротор ДП в угловое положение, при котором сигнал с синусной выходной обмотки ДП равен нулю, подают сигнал смещения на дополнительный вход усилителя синусного канала, при котором остаточный сигнал на его выходе равен нулю, измеряют пусковой момент косинусного канала двигателя и по отношению момента к управляющему напряжению на входной обмотке ДП определяют коэффициент передачи косинусного канала, устанавливают ротор ДП в другое угловое положение, при котором сигнал с косинусной выходной обмотки равен нулю, подают сигнал смещения на дополнительный вход усилителя косинусного канала, при котором остаточный сигнал на его выходе равен нулю, измеряют пусковой момент синусного канала двигателя и по отношению момента к управляющему напряжению на входной обмотке ДП определяют коэффициент передачи синусного канала, и задают сопротивления регулировочных резисторов усилителей косинусного и синусного каналов так, чтобы отношение сопротивлений регулировочных резисторов косинусного и синусного каналов было равно обратному отношению коэффициентов передачи этих каналов.

Описание

[1]

Предлагаемый способ относится к электрическим машинам с бесконтактной коммутацией и предназначен для настройки в процессе изготовления и эксплуатации электрических машин, работающих в качестве исполнительных моментных электродвигателей с неограниченным углом поворота в составе электроприводов систем автоматического регулирования.

[2]

Вентильный электродвигатель содержит две электрические машины: бесколлекторный двигатель постоянного тока (ДБ) и датчик положения (ДП), роторы которых механически связаны между собой, а косинусные и синусные обмотки ДП и ДБ связаны между собой через соответствующие усилители косинусного и синусного каналов.

[3]

Известен способ настройки вентильного электродвигателя [1], заключающийся в развороте статора ДП двигателя относительно статора ДБ до достижения максимума вращающего момента настраиваемого двигателя. Для испытания моментных характеристик вентильного двигателя используется установка с пружинным компенсатором. Установка позволяет снимать зависимость момента от угла поворота ротора при постоянном входном сигнале и зависимость момента от входного сигнала при неизменном угловом положении ротора.

[4]

Недостатком способа является отсутствие операций по компенсации «неидентичности» каналов двигателя.

[5]

Известен способ настройки моментного вентильного электродвигателя, принятый за прототип и описанный в [2]. Двигатель ДП-ДБ, механически связанный с объектом управления, устанавливают в настроечный стенд, обеспечивающий поворот ротора ДП-ДБ и статора ДП, подачу питающего и управляющего напряжения, преобразование и измерение сигналов.

[6]

Способ позволяет повысить точность настройки и заключается в подаче управляющего напряжения на входную обмотку ДП (обмотку возбуждения), при этом на одну из обмоток управления ДБ подают пульсирующее напряжение, разворачивают ротор ДП-ДБ до положения, соответствующего нулевому значению ЭДС, наведенной в другой обмотке управления ДБ, разворачивают статор ДП на угол, при котором сигнал с одной из выходных обмоток ДП равен нулю, а напряжение с фазочувствительного выпрямителя усиленного сигнала с другой выходной обмотки ДП - положительно.

[7]

Способ настройки, описанный в [2], не выявляет неидентичность каналов вентильного электродвигателя, обуславливающую зависимость вращающего момента от угла поворота и, тем самым, влияющую на стабильность скорости вращения двигателя.

[8]

Задачей изобретения является обеспечение угловой стабильности момента двигателя.

[9]

Технический результат достигается тем, что вентильный электродвигатель устанавливают в настроечный стенд, подают управляющее напряжение на входную обмотку ДП, согласно изобретению, поворачивают ротор ДП в угловые положения, при которых сигналы с выходных обмоток ДП равны нулю, при этом подают на соответствующие дополнительные входы усилителей косинусного и синусного каналов сигнал смещения, обеспечивая нулевые значения сигналов на косинусном и синусном каналах усилителя, измеряют пусковые моменты ДБ, по отношению этих моментов к входному сигналу определяют коэффициенты передачи, затем сопротивления регулировочных резисторов R3c(k) усилителей выбирают так, чтобы отношение сопротивлений регулировочных резисторов косинусного и синусного каналов было равно обратному отношению коэффициентов передачи этих каналов.

[10]

На фиг. 1 приведена схема вентильного электродвигателя, используемого для реализации заявленного способа, где приняты обозначения: 1 - обмотка возбуждения ДП, 2 - ротор ДП, 3 - ротор ДБ, 4 (5) - синусная (косинусная) выходная обмотка ДП, 6 (7) - синусная (косинусная) обмотка управления ДБ (ОУс(к)). Каждый из усилителей косинусного и синусного каналов представляет собой последовательное соединение усилителя-преобразователя и усилителя мощности: 8 (9) - усилитель-преобразователь синусного (косинусного) канала (УПс(к)), 10 (11) - усилитель мощности синусного канала (УМс(к)).

[11]

Сигнал переменного тока Uдп поступает на обмотку возбуждения ДП, с выходных (сигнальных) обмоток снимаются напряжения Uдпс и Uдпk, соответственно, пропорциональные синусу и косинусу электрического угла поворота ротора ДП. Эти напряжения подаются на УПс и УПk, где они усиливаются по напряжению, выпрямляются и поступают в ОУс и ОУk через усилитель мощности УМс и УМk. Токи iдбс и iдбk, протекающие в обмотках двигателя, взаимодействуют с магнитным полем ПМ и создают вращающий момент на неограниченном угле поворота ротора ДБ.

[12]

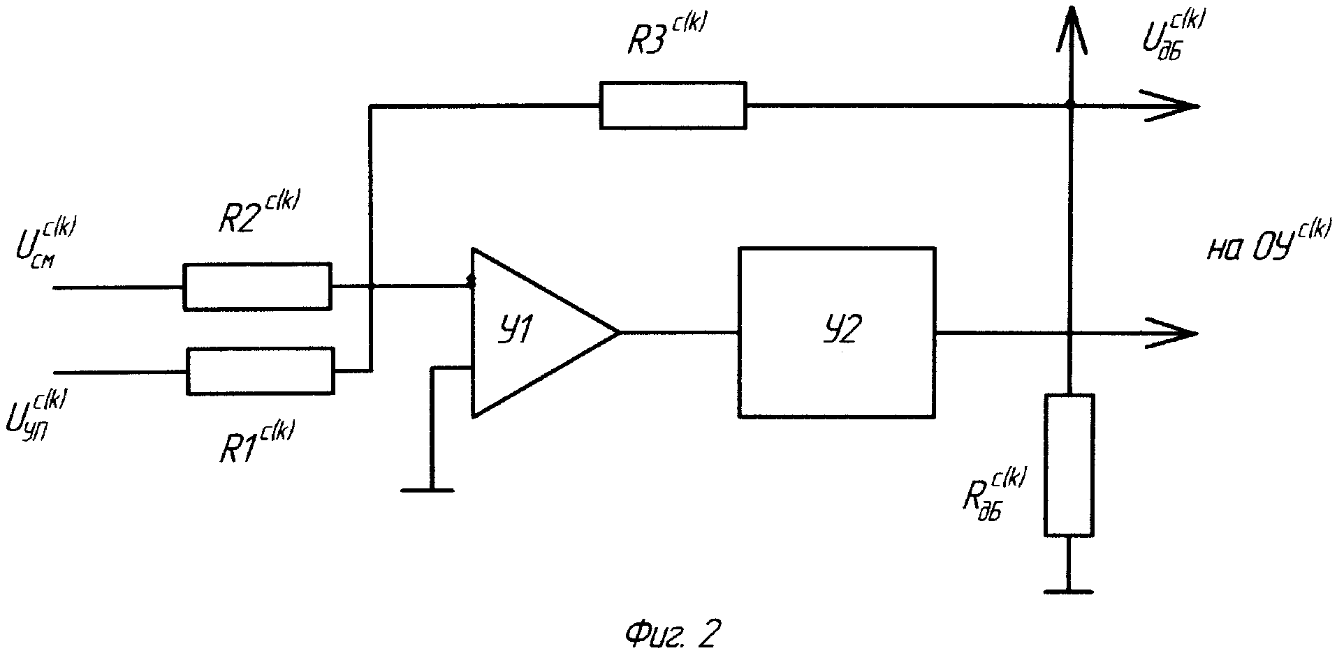
На фиг. 2 приведена схема УМс (УМk), выходом соединенного с выводами ОУс (ОУk). УМ каждого канала содержит усилитель У1, инвертирующим входом через резистор R1 соединенный с выходом УП соответствующего канала. Выход усилителя У1 через усилитель У2 (эмиттерный повторитель по схеме Дарлингтона) соединен с началом ОУс (ОУk), конец которой соединен через резистор Rдбс (Rдбk) с общей шиной, а через регулировочный резистор R3 - с инвертирующим входом усилителя У1, соединенного через резистор R2 с дополнительным входом УМс (УМk), являющимся дополнительным входом усилителя синусного (косинусного) канала, подключенным к источнику сигнала смещения Uсмс(Uсмk).

[13]

Ток iдбс (iдбk) и напряжение Uдбс (Uдбk) на резисторе Rдбс (Rдбk) определяются по формулам

[14]

[15]

где Rдб<(R1 и R3), R3 - регулировочный резистор.

[16]

Такая система позволяет получить постоянный вращающий момент на неограниченном угле поворота ротора ДП-ДБ за счет подачи в ОУ токов, величина которых пропорциональна синусу и косинусу электрического угла поворота ротора ДП-ДБ и синусоидальному распределению индукции по расточке статора ДБ.

[17]

Однако, при различных коэффициентах передачи каналов и наличии смещения нуля в усилителях, имеют место пульсации вращающего момента и, тем самым, нестабильность скорости вращения ротора ДП-ДБ, сущность которой заключается в следующем:

[18]

При вращении ротора ДП-ДБ выполняется условие

[19]

[20]

при этом Мдвдп-дб·Uдп, где Мα - момент сопротивления, зависящий от скорости вращении ДП-ДБ, Кдп-дб - коэффициент передачи ДП-ДБ, Uдп - сигнал переменного тока на обмотке возбуждения ДП.

[21]

Из условия (3) следует, что если коэффициент Кдп-дб не постоянный, тогда при вращении двигателя должен изменяться момент Мα (скорость вращения) при постоянной амплитуде сигнала Uдп.

[22]

Непостоянство Кдп-дб при вращении ДП-ДБ обусловлено следующим:

[23]

Сигналы на выходных обмотках ДП описываются уравнениями

[24]

[25]

где Кдпc - коэффициент передачи синусной обмотки ДП, Кдпk - коэффициент передачи косинусной обмотки ДП, n - число пар полюсов на роторе ДБ, α - угол поворота ротора ДП-ДБ, nα - электрический угол поворота ротора ДП-ДБ.

[26]

Сигналы на статорных ОУ двигателя (ДБ) описываются уравнениями

[27]

[28]

где Купc - коэффициент передачи УПс, Купk - коэффициент передачи УПk, Кумc - коэффициент передачи УМс, Кумk - коэффициент передачи УМk.

[29]

Результирующий момент двигателя ДБ определяется из выражения

[30]

[31]

где Кдбс - коэффициент передачи синусной обмотки ДБ, Кдбk - коэффициент передачи косинусной обмотки ДБ.

[32]

Выражение (6) с учетом (4) и (5) имеет вид

[33]

[34]

При идентичности синусного и косинусного каналов вентильного двигателя выражение (7) принимает вид

[35]

[36]

Из выражения (8) следует, что при идентичности каналов момент Мдв не зависит от угла поворота ротора ДП-ДБ.

[37]

Однако из выражения (7) следует, что при различии коэффициентов передачи каналов Кдпдбс и Кдпдбk, момент Мдв зависит от угла поворота ротора ДП-ДБ. В этом случае, согласно условию (3), в отсутствии своевременного приращения сигнал Uдп изменяется скорость вращения двигателя, а именно составляющая момента Мα, зависящая от скорости.

[38]

Кроме того, если на выходе УМс и УМk (фиг. 1) есть остаточные сигналы, (Uдбс)о при Uдбс=0 и (Uдбk)о при Uдбk=0, а именно «нулевые» токи (1) в ОУ двигателя ДБ, выражение (7) принимает вид:

[39]

[40]

При этом с учетом выражений (1) и (2) имеем

[41]

[42]

где Kумс=R3cR1c - коэффициент передачи УМс, Kумk=R3kR1k - коэффициент передачи УМk, (Uупс)о - электрическое смещение нуля в синусном канале, приведенное к выходу УПс, (Uупk)о - электрическое смещение нуля в косинусном канале, приведенное к выходу УПk, Uсмс - сигнал смещения, подаваемый для обнуления (Uдбс)о, Uсмk - сигнал смещения, подаваемый для обнуления (Uдбk)о.

[43]

На фиг. 3 приведена структурная схема двухканального вентильного электродвигателя с учетом «неидентичности» каналов, а именно при различных коэффициентах передачи каналов (Кдпдбс и Кдпдбk) и наличии «нулевого» тока (1) в ОУ. Здесь: (Uупс)Σ=Uупc+(Uупс)о, (Uдбс)Σ=Uдбc+(Uдбс)о, (Uупk)Σ=Uупk+(Uупk)о, (Uдбk)Σ=Uдбk+(Uдбk)о

[44]

Предлагаемый способ настройки вентильного электродвигателя (ДП-ДБ) предусматривает проведение следующих операций:

[45]

1. Устанавливают ДП-ДБ в настроечный стенд, обеспечивающий заторможенный режим.

[46]

2. Подают питающее напряжение на усилители синусного и косинусного канала.

[47]

3. Подают управляющее напряжение Uдп на входную обмотку ДП, поворачивают статор ДП относительно статора бесколлекторного двигателя (ДБ) и фиксируют угловое положение статора ДП, соответствующее максимуму пускового вращающего момента двигателя.

[48]

4. Разворачивают ротор ДП на угол, при котором сигнал Uдпс=0.

[49]

5. Подают сигнал Uсмc на дополнительный вход усилителя УМс, при котором сигнал (Uдбс)о=0, и измеряют пусковой момент ДБ при неподвижном роторе.

[50]

6. Определяют коэффициент передачи косинусного канала Кдпдбk по отношению измеренного момента к напряжению Uдп.

[51]

7. Разворачивают ротор ДП на угол, при котором сигнал Uдпk=0.

[52]

8. Подают сигнал Uсмk на дополнительный вход усилителя УМс, при котором сигнал (Uдбk)о=0, и измеряют пусковой момент ДБ при неподвижном роторе.

[53]

9. Определяют коэффициент передачи синусного канала Кдпдбc по отношению измеренного момента к напряжению Uдп.

[54]

10. Задают сопротивления регулировочных резисторов усилителей косинусного и синусного каналов так, чтобы отношение сопротивлений регулировочных резисторов косинусного и синусного каналов было равно обратному отношению коэффициентов передачи этих каналов:

[55]

[56]

Таким образом, заявлен способ настройки вентильного электродвигателя, включающий установку двигателя в настроечный стенд, подачу управляющего напряжения на входную обмотку датчика положения (ДП), поворот статора ДП относительно статора бесколлекторного двигателя (ДБ) и фиксацию углового положения статора ДП, соответствующего максимуму пускового вращающего момента двигателя. Отличительная особенность способа заключается в том, что устанавливают ротор ДП в угловое положение, при котором сигнал с синусной выходной обмотки ДП равен нулю, подают сигнал смещения на дополнительный вход усилителя синусного канала, при котором остаточный сигнал на его выходе равен нулю, измеряют пусковой момент косинусного канала двигателя и по отношению момента к управляющему напряжению на входной обмотке ДП определяют коэффициент передачи косинусного канала, устанавливают ротор ДП в другое угловое положение, при котором сигнал с косинусной выходной обмотки равен нулю, подают сигнал смещения на дополнительный вход усилителя косинусного канала, при котором остаточный сигнал на его выходе равен нулю, измеряют пусковой момент синусного канала двигателя и по отношению момента к управляющему напряжению на входной обмотке ДП определяют коэффициент передачи синусного канала, и задают сопротивления регулировочных резисторов усилителей косинусного и синусного каналов так, чтобы отношение сопротивлений регулировочных резисторов косинусного и синусного каналов было равно обратному отношению коэффициентов передачи этих каналов.

[57]

Следовательно, заявленный способ позволяет устранить неидентичность каналов, обусловленную различием коэффициентов передачи каналов и электрическим смещением нуля в усилителях и тем самым устранить пульсации момента при вращении вентильного двигателя.

[58]

Источники информации

[59]

1. Столов Л.И., Зыков Б.Н. Моментные двигатели с постоянными магнитами. - М.: Энергия, 1977, стр. 98-100.

[60]

2. SU 1275677 А1. Опубл. 07.12.86. Способ настройки моментного вентильного электродвигателя.

Как компенсировать расходы
на инновационную разработку
Похожие патенты