патент
№ RU 2154889
МПК H02N11/00

РЕЛЬСОТРОННЫЙ УСКОРИТЕЛЬ

Авторы:
Кондратенко А.К.
Номер заявки
98123731/06
Дата подачи заявки
22.12.1998
Опубликовано
20.08.2000
Страна
RU
Как управлять
интеллектуальной собственностью
Чертежи 
7
Реферат

[31]

Ускоритель может быть применен для разгона твердого тела (якоря) относительно большой массы. Ускоритель содержит якорь, привод линейного движения, кинематически соединенный с дополнительным якорем, электроизоляционный корпус и несколько (N) пар токопроводных параллельных рельсов, образующих канал ускорителя и закрепленных в корпусе так, что первые рельсы всех пар и вторые рельсы всех пар разделены изоляционными промежутками. Якорь состоит из электрически изолированных друг от друга электропроводных перемычек по числу рельсов (N), установленных на общем изоляторе с возможностью скольжения по рельсам. Сериесные перемычки установлены в пределах калибра поперечного сечения канала рельсотронного ускорителя, внутри его полости. Сериесные перемычки могут быть закреплены на отдельном изоляторе и установлены в канале с возможностью скольжения по рельсам и перемещения вдоль канала в виде дополнительного якоря. На входе ускорителя установлен ограничитель обратного перемещения дополнительного якоря. Изобретение обеспечивает повышение надежности. 3 з.п.ф-лы, 8 ил.

Формула изобретения

1. Рельсотронный ускоритель, содержащий электроизоляционный корпус, якорь и несколько (N) пар токопроводных параллельных рельсов, образующих канал ускорителя и закрепленных в корпусе так, что первые рельсы всех пар и вторые рельсы всех пар разделены изоляционными промежутками, якорь включает электрически изолированные друг от друга электропроводные перемычки по числу рельсов (N), установленные на общем изоляторе с возможностью скольжения по рельсам, со стороны входа канала вторые рельсы i-й пары соединены с первыми рельсами N + 1 пары (где i = 1 ... N - 1) посредством сериесных электропроводных перемычек, а первый рельс первой пары и второй рельс N-й пары выведены для подключения к источнику питания, отличающийся тем, что сериесные перемычки установлены в пределах поперечного сечения канала рельсотронного ускорителя.

2. Рельсотронный ускоритель по п.1, отличающийся тем, что сериесные перемычки закреплены на отдельном изоляторе и установлены в канале с возможностью перемещения по рельсам вдоль канала в виде дополнительного якоря.

3. Рельсотронный ускоритель по пп.1 и 2, отличающийся тем, что на входе рельсотронного ускорителя установлен ограничитель обратного перемещения дополнительного якоря.

4. Рельсотронный ускоритель по пп.1 - 3, отличающийся тем, что введен привод линейного движения, кинематически соединенный с дополнительным якорем.

Описание

[1]

Изобретение относится к линейным электрическим двигателям и может быть применено для разгона твердого тела (якоря) относительно большой массы.

[2]

Известен рельсотронный ускоритель, содержащий канал, образованный тремя парами электрически изолированных параллельных рельсов, и ускоряемый якорь, содержащий три электрически изолированные друг от друга токопроводные перемычки, каждая из которых имеет скользящий электрический контакт с соответствующей парой рельсов. Якорь установлен с возможностью перемещения вдоль канала. Отдельные пары рельсов подключены к разным источникам электрической энергии. Использование трех пар рельсов позволяет получить необходимую ускоряющую силу при меньших значениях тока в каждой паре рельсов о соответствующих перемычках якоря, а следовательно снижает потери на активных сопротивлениях рельсов и перемычках якоря [1].

[3]

Недостатком такого устройства является усложнение конструкции источника электрической энергии и токопроводов для передачи электрической энергии от источников к ускорительному каналу.

[4]

Наиболее близким по технической сущности и достигаемому техническому результату и выбранный за прототип является рельсотронный ускоритель, содержащий ускорительный канал, образованный N одинаковыми парами электрически изолированных токопроводящих параллельных рельсов, установленных неподвижно в электроизоляционном корпусе так, что первые рельсы всех пар и вторые рельсы всех пар расположены с изоляционными промежутками соответственно друг над другом, якорь, содержащий N электрически изолированных друг от друга электропроводных перемычек, каждая из которых установлена неподвижно на изоляторе ускоряемого якоря и с возможностью скольжения по соответствующей паре рельсов. Кроме того, содержатся N-1 сериесные электропроводные перемычки соединяющие на входе вторые рельсы i-й пары с первыми рельсами (i+1)-й пары (где i=1...N-1) и огибающие по внешнему полупериметру поперечного сечения рельсотронного ускорителя, а первый рельс первой пары и второй рельс N-й пары выведены для подключения источника электрической энергии. Таким образом N пар рельсов соединены последовательно (сериесно) неподвижными перемычками. В данном рельсотронном ускорителе используется один источник электрической энергии, что позволяет упростить конструкцию токоподвода и снизить потери электрической энергии при передаче ее от источника к ускорителю.

[5]

Недостатком такого рельсотронного ускорителя является его относительно низкая надежность в связи с необходимостью использования более высоковольтного источника электрической энергии. Это связано с высоким значением начальной входной индуктивности. Входная индуктивность определяется индуктивностью сериесных перемычек и начальным участком рельсов. На начальной входной индуктивности возникают опасные перенапряжения при включении источника питания. В начале движения якоря необходимо преодолевать повышенную величину силы статического трения между контактными поверхностями рельсов и перемычек ускоряемого якоря при относительно низкой ускоряющей электромагнитной силе, в связи с малой величиной электрического тока источника питания непосредственно после включения. Это снижает эффективность ускорения якоря в начальный период работы. По мере движения ускоряемого якоря по каналу в ускорителе накапливается электромагнитная энергия, величина которой соизмерима с величиной кинетической энергии якоря. Эта энергия не используется, а следовательно, снижается коэффициент полезного действия ускорителя.

[6]

Техническим результатом настоящего изобретения является повышение надежности путем снижения входного напряжения и повышения эффективности ускорения якоря (повышения коэффициента полезного действия).

[7]

Для достижения указанного технического результата предложено усовершенствовать рельсотронный ускоритель, содержащий ускорительный канал, образованный N одинаковыми парами электрически изолированных токопроводных параллельных рельсов, установленных неподвижно в электроизоляционном корпусе (неподвижном электроизоляторе) так, что первые рельсы всех пар и вторые рельсы всех пар расположены с изоляционными промежутками соответственно друг над другом, якорь, содержащий N электрически изолированных друг от друга электропроводных перемычек, каждая из которых установлена на общем электроизоляторе ускоряемого якоря с возможностью скольжения по рельсам соответствующей пары и N-1 сериесные электропроводные перемычки, соединяющие со стороны входа вторые рельсы i-й пары с первыми рельсами i+1-й пары (где i=1. . .N-1). Усовершенствование заключается в том, что сериесные перемычки установлены в створе канала ускорителя (в пределах поперечного сечения канала рельсотронного ускорителя).

[8]

В предпочтительном варианте сериесные перемычки закреплены на отдельном изоляторе и установлены в канале в виде дополнительного якоря с возможностью скольжения по рельсам и перемещения вдоль рельсотронного ускорителя.

[9]

В третьем варианте на входе рельсотронного ускорителя установлен ограничитель обратного перемещения дополнительного якоря.

[10]

В четвертом варианте рельсотронный ускоритель снабжен приводом линейного движения, кинематически соединенный с дополнительным якорем.

[11]

Сущность предложенного изобретения поясняется прилагаемыми чертежами. На фиг. 1 показана электрическая схема рельсотронного ускорителя, содержащего N (в данном примере N=3) пар рельсов. На фиг. 2 - 4 показаны две проекции конструкции рельсотронного ускорителя в сечениях. На фиг. 5 и 6 показана конструкция рельсотронного ускорителя с дополнительным якорем. На фиг. 7 показана конструкция рельсотронного ускорителя с ограничителем обратного движения дополнительного якоря. На фиг. 8 показан рельсотронный ускоритель, снабженный приводом линейного перемещения дополнительного якоря.

[12]

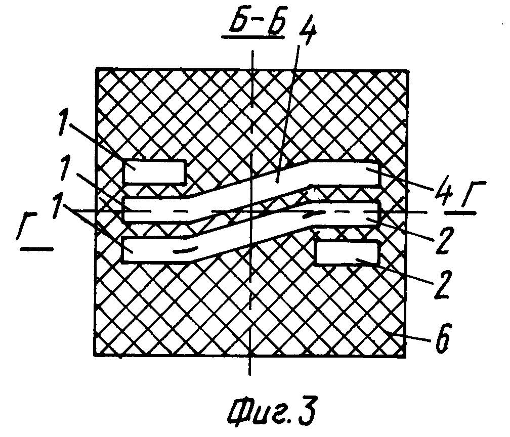
Схема рельсотронного ускорителя (фиг. 1) содержит ускорительный канал, образованный тремя парами рельсов 1 и 2, электропроводные перемычки 3 ускоряемого якоря установлены с возможностью скольжения по рельсам 1 и 2 соответствующей пары. Две сериесные перемычки 4, соединяющие начальные концы пар рельсов 1 и 2 последовательно и установленные в створе (в пределах поперечного сечения) канала рельсотронного ускорителя. Первый рельс 1 первой пары и второй рельс 2 третьей пары подключены к источнику электрической энергии 5. Электроизоляция рельсов, перемычек якоря и сериесных перемычек не показана. Стрелкой V указано направление движения ускоряемого якоря, а стрелками I - путь протекания электрического тока.

[13]

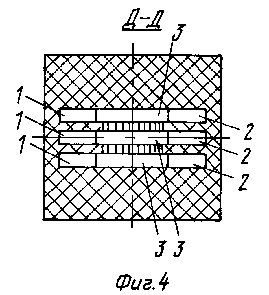
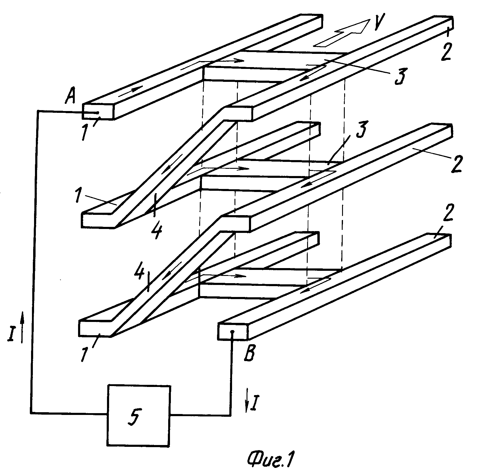
Конструкция рельсотронного ускорителя, показанная на фиг. 2 в продольном сечении Г-Г изоляционного корпуса 6, содержит канал ускорителя, образованный рельсами 1 и 2, перемычки 3 ускоряемого якоря, сериесные перемычки 4 и изоляционный корпус 6, в сечении выделенный двойной штриховкой. Стрелкой V указано направление движения ускоряемого якоря, содержащего перемычки 3. Литерами Б и Д отмечены места поперечных сечений канала, показанные соответственно на фиг. 3 и 4.

[14]

На поперечном сечении изоляционного корпуса канала в области сериесных перемычек (Б-Б, фиг. 3) обозначены рельсы 1 и 2, сериесные перемычки 4 и изоляционный корпус 6.

[15]

На поперечном сечении изоляционного корпуса канала в области ускоряемого якоря (Д-Д, фиг. 4) обозначены рельсы 1 и 2, перемычки 3 ускоряемого якоря, изоляционный корпус 6, изолятор ускоряемого якоря 7.

[16]

На продольном сечении изоляционного корпуса канала ускорителя (Е-Е, фиг. 5) показаны рельсы 1 и 2, перемычки 3 ускоряемого якоря, сериесные перемычки 4 дополнительного якоря, изоляционный корпус 6. Стрелкой V указано направление движения якоря.

[17]

На поперечном сечении Ж-Ж (фиг. 6) изоляционного корпуса канала ускорителя в области подвижных сериесных перемычек (дополнительного якоря) обозначены рельсы 1 и 2, сериесные перемычки 4, изоляционный корпус 6. Изолятор 8 сериесных перемычек 4 (дополнительного якоря) выделен вертикальной штриховкой.

[18]

На продольном сечении изоляционного корпуса канала ускорителя (фиг. 7) показаны рельсы 1 и 2, перемычки ускоряемого якоря 3, сериесные перемычки дополнительного якоря, изоляционный корпус 6, изоляционный промежуток 9 между перемычками 3 ускоряемого якоря и сериесными перемычками 4 дополнительного якоря и ограничитель обратного движения сериесных перемычек (дополнительного якоря) 10. Стрелкой V указано направление движения ускоряемого якоря. Штрихпунктирной линией отмечено исходное положение перемычек ускоряемого якоря. Указанный изоляционный промежуток 9 между перемычками якоря и сериесными перемычками (дополнительным якорем) может быть воздушным промежутком требуемой электрической прочности, диэлектрической прокладкой или являться частью изоляторов ускоряемого якоря или сериесных перемычек (дополнительного якоря).

[19]

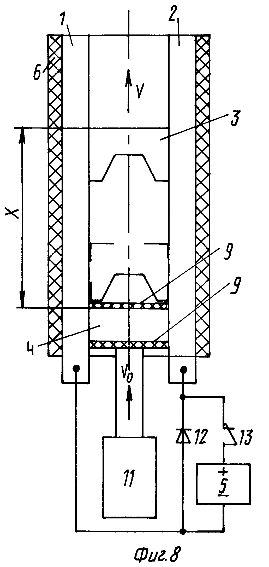
На фиг. 8 показана конструкция рельсотронного ускорителя в продольном сечении изоляционного корпуса, содержащая рельсы 1 и 2, перемычки ускоряемого якоря 3, сериесные перемычки (дополнительного якоря) 4, источник электрической энергии 5, изоляционный корпус 6, изолятор дополнительного якоря 9, привод линейного движения 11, обратный диод 12, коммутатор 13. Стрелкой V указано направление движения ускоряемого якоря. Стрелкой V0 - направление движения дополнительного якоря под воздействием привода линейного движения 11. Штрихпунктирной линией отмечено исходное положение перемычек якоря. Кроме того, показано расстояние X между ускоряемым якорем и сериесными перемычками (дополнительным якорем). Источник электрической энергии 5, обратный диод 12 и коммутатор 13 показаны для описания одного из режимов работы в качестве примера (в конструкцию рельсотронного ускорителя не входят).

[20]

Работа рельсотронного ускорителя, показанного на фиг. 1 - 4, осуществляется следующим образом. В исходное положение ускоряемый якорь установлен вблизи сериесных перемычек (на расстоянии менее длины перемычки) через выходное отверстие канала. Источник электрической энергии 5 подключен к выводам A и B токопроводных рельсов 1 и 2. При подаче электрической энергии на выводах A и B появляется напряжение, относительно низкое благодаря пониженной величине входного импеданса, что достигнуто малой входной индуктивностью благодаря размещению коротких сериесных перемычек в створе канала (пределах поперечного сечения канала) и коротким начальным участком рельсотрона, равным расстоянию между сериесными перемычками и ускоряемым якорем. По цепи, состоящей из начальных участков рельсов 1 и 2 перемычек 3 ускоряемого якоря каждой пары рельсов, соединенных последовательно сериесными перемычками 4, протекает электрический ток. В результате взаимодействия магнитных полей тока рельсов, сериесных перемычек и перемычек ускоряемого якоря с электрическим током возникает сила Ампера. Под воздействием этой силы ускоряемый якорь перемещается вдоль рельсов по стрелке V. По мере удаления ускоряемого якоря от сериесных перемычек влияние составляющей их магнитного поля снижается и при удалении на расстояние более четырех калибров рельсотрона им можно пренебречь. Таким образом, благодаря влиянию магнитного поля сериесных перемычек на начальном участке движения ускоряемого якоря, эффективнее преодолевается сила статического трения (сила трогания). По мере движения ускоряемого якоря в канале рельсотронного ускорителя накапливается энергия магнитного поля, равная
EB1 = 0, 5•k•N2•Lп•X•I2, (1)
где N - число пар рельсов;
Iп - погонная индуктивность одной пары рельсов;
X - расстояние от сериесных перемычек до перемычек ускоряемого якоря;
I - ток рельсотронного ускорителя;
k = 0,9-1,1 - коэффициент формы рельсов.

[21]

При этом напряжение на входе рельсотронного ускорителя равно
Uвх=(R+N2•Lп•V)•I, (2)
где R - суммарное активное сопротивление проводников рельсотронного ускорителя;
V - скорость ускоряемого якоря относительно неподвижных частей рельсотронного ускорителя.

[22]

В предпочтительном варианте, показанном на фиг. 5 и 6, работа рельсотронного ускорителя происходит аналогичным образом. Кроме того, в связи в тем, что сериесные перемычки входят в состав дополнительного якоря и установлены с возможностью скольжения по рельсам, под воздействием силы Ампера дополнительный якорь перемещается по каналу рельсотронного ускорителя в направлении, противоположном движению основного якоря. Скорость движения, а следовательно, и проходимый дополнительным якорем путь могут быть ограничены в случае необходимости увеличением его массы. Обратное движение дополнительного якоря снижает механическое воздействие отдачи на конструкцию рельсотронного ускорителя, что повышает его надежность. Кроме того, использование подвижного дополнительного якоря упрощает установку и взаимное позиционирование якорей, что необходимо при различных режимах работы рельсотронного ускорителя.

[23]

В третьем варианте реализации, показанном на фиг. 7, рельсотронный ускоритель работает аналогично описанным выше. Кроме того, введенный ограничитель 10 обратного движения дополнительного якоря позволяет ограничить перемещение дополнительного якоря длиной канала ускорителя. В простейшем случае указанный ограничитель может быть выполнен в виде неподвижной съемной заглушки.

[24]

В четвертом варианте реализации, показанном на фиг. 8, рельсотронный ускоритель содержит привод линейного перемещения дополнительного якоря вдоль канала рельсотронного ускорителя. В данном варианте реализации можно выделить два режима работы. В одном режиме включение источника электроэнергии и начало движения дополнительного якоря совпадают, а в исходном положении оба якоря установлены с минимальным изоляционным зазором, равным толщине диэлектрической прокладки 9. В этом случае под воздействием привода 11 оба якоря начинают двигаться одновременно с одинаковой скоростью V0. Под действием силы Ампера основной якорь движется ускоренно относительно дополнительного якоря. Напряжение на входе рельсотронного ускорителя в данном случае равно
Uвх=(R+Lп•V0+N2•Lп •Vотн)•I, (3)
где V0 - начальная скорость якорей;
Vотн - скорость ускоряемого якоря относительно скорости дополнительного якоря.

[25]

В этом случае скорость ускоряемого якоря относительно неподвижных частей ускорителя равна
V=V0+Vотн. (4)
Из уравнений (2), (3) и (4) можно сделать вывод, что при одинаковых скоростях ускоряемого якоря в данном варианте реализации по сравнению с первым вариантом, в котором сериесные перемычки неподвижны, входное напряжение рельсотронного ускорителя ниже на величину
ΔU = (N2 -1)•Lп•Vo•I. (5)
Таким образом, при реализации в данном варианте исполнения при высокой скорости ускоряемого якоря требуется более низкое напряжение питания по сравнению с прототипом и первым вариантом реализации и, тем самым, снижается вероятность электрического пробоя изоляции, а следовательно, достигается более высокая надежность. По мере движения ускоряемого и дополнительного якорей в канале рельсотронного ускорителя накапливается энергия магнитного поля, равная
EB2 =0,5•k•(V0• t•Lп+N2 •Xотн)•I2, (6)
где t - время движения якорей;
Xотн - расстояние между якорями.

[26]

Принимаем, что длина канала рельсотронного ускорителя равна
X=V0•t+Xотн. (7)
Из уравнений (1), (6) и (7) можно сделать вывод, что при одинаковой длине канала в данном варианте реализации по сравнению с прототипом и первым вариантом, в котором сериесные перемычки неподвижны, магнитная энергия, накапливаемая в канале рельсотронного ускорителя, ниже на величину
ΔE = 0,5•k•(N2-1)•Lп•Vo•t•I2. (8)
Следовательно, при достижении ускоряемым якорем конца канала рельсотронного ускорителя магнитная энергии канала, не используемая для ускорения якоря, ниже, чем в прототипе и первом варианте реализации при одинаковой длине канала. Поэтому в данном варианте реализации достигается более высокий коэффициент полезного действия.

[27]

Во втором режиме работы ускоряемый якорь установлен в исходном положении на расстоянии X (фиг. 8) от дополнительного якоря. При включении источника питания по рельсам 1 и 2, перемычкам 3 ускоряемого якоря и по сериесным перемычкам 4 дополнительного якоря протекает электрический ток. При достижении током величины I0 - тока начального возбуждения и соответствующей индукции магнитного поля B0, на участке канала, ограниченном якорями, дополнительный якорь начинает двигаться со скоростью V0 под воздействием привода 11. При этом источник питания отключают, например коммутатор 13, а входные зажимы закорачиваются через обратный диод 12. Движение дополнительного якоря приводит к "сжатию" магнитного поля в замкнутом N-витковом контуре, образованном рельсами 1 и 2 на участке X, перемычками якорей и замкнутой накоротко через обратный диод входной цепью. Это приводит к появлению электродвижущей силы в указанном N-витковом контуре, равной
E = N2•k•Lп•V0•I. (9)
В результате этого электрический ток, а следовательно, и индукция магнитного поля в канале рельсотрона возрастают. После достижения силой Ампера величины силы статического трения ускоряемого якоря последний начинает двигаться ускоренно вдоль канала по стрелке V. Этот режим можно рассматривать как режим работы линейного кондукционного генератора. При этом кинетическая энергия дополнительного якоря, преобразуемая в электрическую, может многократно превосходить энергию начального возбуждения. После достижения ускоряемым якорем скорости V= V0 работа рельсотронного ускорителя продолжается в предыдущем режиме, описанном выше.

[28]

Данное техническое решение позволяет повысить надежность рельсотронного ускорителя путем повышения электрической прочности конструкции. Это достигается снижением входной индуктивности рельсотронного ускорителя, а также снижением необходимого входного напряжения при высокой скорости ускоряемого якоря. Кроме того, обеспечивается повышенный коэффициент полезного действия. Использование предложенного устройства в последнем режиме при применении в качестве привода линейного перемещения дополнительного якоря компактного устройства (например, порохового ускорителя) позволяет снизить массогабаритные характеристики системы источник электрической энергии - рельсотронный ускоритель.

[29]

Литература
1. Antonios Challita, Brian L. Maas, David P. Bauer and Mark Heysе, IEEE Transactions on Magnetics vol. 29, N 1, January, 1993, p. 793.

[30]

2. James G. Moldenhauer and Gene E. Hauze, IEEE Transactions on Magnetics vol. MAG-20, N 2, January, 1984, p. 283.

Как компенсировать расходы
на инновационную разработку
Похожие патенты