патент
№ RU 2641651
МПК G21C15/00

Охлаждаемая стенка токамака

Авторы:
Захаренков Александр Валентинович Мясников Виктор Васильевич Комов Александр Тимофеевич
Все (5)
Номер заявки
2016147716
Дата подачи заявки
06.12.2016
Опубликовано
19.01.2018
Страна
RU
Как управлять
интеллектуальной собственностью
Чертежи 
1
Реферат

Изобретение относится к металлургии, ракетному двигателестроению, системам аварийного охлаждения атомных реакторов и, в частности, диверторам, лимитерам и бланкетам термоядерных реакторов типа токамак. Охлаждаемая стенка токамака содержит поверхность приема теплового потока и прилегающую к ней теплопроводящую зону, внутри которой расположена группа форсунок, причем каждая форсунка содержит камеру с осевым отверстием, соединенную с каналом подвода охлаждающей жидкости. В каждой форсунке выполнено сопло, расположенное соосно осевому отверстию. На внутренней поверхности сопла выполнено оребрение. Со стороны сопел установлен кожух для сбора пара. Технический результат заключается в повышении эффективности охлаждения стенок камер с высокой интенсивностью теплового потока из центра камер на периферию. 2 ил.

Формула изобретения

Охлаждаемая стенка токамака, содержащая поверхность приема теплового потока и прилегающую к ней теплопроводящую зону, группу форсунок, каждая из которых содержит камеру с осевым отверстием, соединенную с каналом подвода охлаждающей жидкости, отличающаяся тем, что она снабжена кожухом для сбора пара, при этом группа форсунок расположена внутри теплопроводящей зоны, причем в каждой форсунке выполнено сопло, расположенное соосно осевому отверстию, а на внутренней поверхности сопла выполнено оребрение, при этом кожух для сбора пара установлен со стороны сопел.

Описание

[1]

Изобретение относится к металлургии, ракетному двигателестроению, системам аварийного охлаждения атомных реакторов и, в частности, диверторам, лимитерам и бланкетам термоядерных реакторов типа токамак и может быть использовано для охлаждения стенок камер с высокой интенсивностью теплового потока из центра камер на периферию.

[2]

Известна термосиловая охлаждаемая конструкция стенки элемента высокотемпературного воздушно-газового тракта (патент РФ №2403491, публ. 10.11.2010, МПК F16L 59/07), содержащая каналы для прохождения охлаждающей жидкости, имеющие тепловой контакт со стенкой камеры сгорания.

[3]

Недостатком настоящего технического решения является ограниченный отвод энергии от горячей стенки, связанный с недопустимостью закипания охлаждающей жидкости в каналах и образованием эффекта «запаривания».

[4]

Известен порт-лимитер термоядерного реактора (Патент РФ №2267174, публ. 27.12.2005, МПК G21B 1/00), содержащий каналы для прохождения охлаждающей жидкости, имеющие тепловой контакт с поверхностью, воспринимающей тепловой поток от плазмы.

[5]

Недостатком данного технического решения также является ограниченный отвод энергии от горячей стенки.

[6]

Наиболее близкой по технической сущности к заявляемому изобретению является охлаждаемая стенка токамака, описанная в патенте РФ №2467416 «Система пассивной безопасности ядерной энергетической установки», публ. 20.11.2012, МПК G21C 15/18, и содержащая поверхность приема теплового потока и прилегаемую к ней теплопроводящую зону, группу форсунок, каждая из которых содержит камеру с осевым отверстием, каналы подвода охлаждающей жидкости. При этом на поверхности приема теплового потока расположены несколько слоев металлических шариков.

[7]

Недостатком настоящего технического решения является низкая степень охлаждения при высокой интенсивности теплового потока, обусловленная тем, что вода, попавшая на поверхность шариков, испаряется и по каналам между шариками вырывается наружу, образуя паровую подушку, препятствующую попаданию распыляемой из форсунок воды на охлаждаемую поверхность.

[8]

Технической задачей предлагаемого изобретения является повышение эффективности съема тепла с нагреваемой стенки.

[9]

Технический результат заключается в повышении эффективности охлаждения стенок камер с высокой интенсивностью теплового пока из центра камер на периферию.

[10]

Это достигается тем, что известная охлаждаемая стенка токамака, содержащая поверхность приема теплового потока и прилегающую к ней теплопроводящую зону, группу форсунок, каждая из которых содержит камеру с осевым отверстием, соединенную с каналом подвода охлаждающей жидкости, снабжена кожухом для сбора пара, при этом группа форсунок расположена внутри теплопроводящей зоны, причем в каждой форсунке выполнено сопло, расположенное соосно осевому отверстию, а на внутренней поверхности сопла выполнено оребрение, при этом кожух для сбора пара установлен со стороны сопел.

[11]

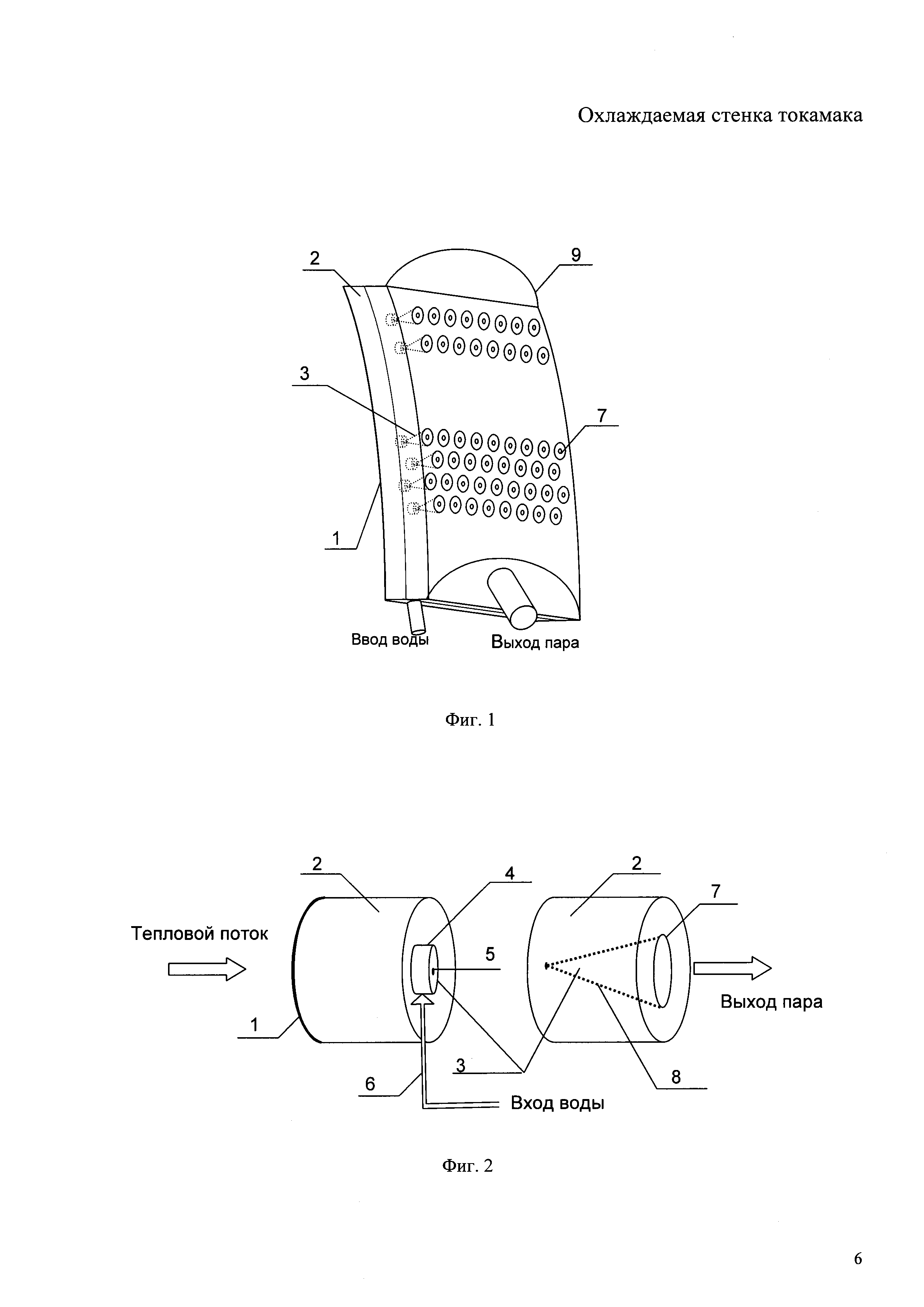
Изобретение поясняется чертежами, где на фиг. 1 изображена охлаждаемая стенка токамака, на фиг. 2 показан разрез форсунки.

[12]

Охлаждаемая стенка токамака содержит поверхность приема теплового потока 1 и прилегающую к ней теплопроводящую зону 2, внутри которой расположена группа форсунок 3, причем каждая форсунка 3 содержит камеру 4 с осевым отверстием 5, соединенную с каналом подвода охлаждающей жидкости 6. В каждой форсунке 3 выполнено сопло 7, расположенное соосно осевому отверстию 5. На внутренней поверхности сопла 7 выполнено оребрение 8. Со стороны сопел 7 установлен кожух 9 для сбора пара.

[13]

Охлаждаемая стенка токамака работает следующим образом.

[14]

Тепловой поток, излучаемый высокотемпературной плазмой, воспринимается поверхностью приема теплового потока 1 и за счет теплопроводности материала охлаждаемой стенки токамака нагревает камеры 4 и сопла 7 форсунок 3. По каналам подвода охлаждающей жидкости 6 к камерам 4 форсунок 3 тангенциально подводится охлаждающая жидкость, например вода. Поток жидкости закручивается и через осевое отверстие 5 в камере 4 выбрасывается на оребренные поверхности сопла 7, где испаряется и образует исходящую струю пара. Исходящий от стенки токамака пар с группы форсунок 3 собирается в полости, образованной кожухом 9, и может использоваться в энергетических целях.

[15]

Особенность предлагаемого технического решения заключается в том, что направление теплового потока и направление движения охлаждающей жидкости совпадают, и в месте их соприкосновения, т.е. внутри форсунок 3, не возникает паровой подушки, препятствующей контакту горячей стенки токамака и охлаждающей жидкости. За счет оребрения внутренних поверхностей сопел 7 увеличивается время контакта капель жидкости с горячей поверхностью, что приводит к полному испарению жидкости с поверхностей сопел 7, тем самым повышается эффективность охлаждения стенки токамака.

[16]

Пар, образующийся на оребренных поверхностях сопел 7, выносится из них в направлении, совпадающем с направлением теплового потока, и не препятствует новому контакту горячей стенки с распыляемой охлаждающей жидкостью. Тем самым, устраняется принципиальный недостаток форсуночного охлаждения, связанный с образованием паровой подушки, противодействующей эффективному охлаждению стенки.

[17]

Одним из технологических вариантов изготовления предлагаемой охлаждаемой стенки токамака является вариант типа «бутерброд». В первом слое фрезеруются каналы подвода охлаждающей жидкости 6 и камеры 4 форсунок 3. Во втором слое по оси камер 4 выполняются сопла 7 форсунок 3. Затем оба слоя пайком высокотемпературным припоем соединяются между собой.

[18]

Использование изобретения позволяет повысить эффективность охлаждения стенки токамака за счет улучшения ее контакта с распыляемой охлаждающей жидкостью.

Как компенсировать расходы
на инновационную разработку
Похожие патенты