патент
№ RU 2590228
МПК G01K11/22

ЧУВСТВИТЕЛЬНЫЙ ЭЛЕМЕНТ НА ПОВЕРХНОСТНЫХ АКУСТИЧЕСКИХ ВОЛНАХ ДЛЯ ИЗМЕРЕНИЯ ТЕМПЕРАТУРЫ

Авторы:
Сапожников Геннадий Анатольевич Анцев Иван Георгиевич Терехин Константин Владимирович
Все (4)
Номер заявки
2015117286/28
Дата подачи заявки
06.05.2015
Опубликовано
10.07.2016
Страна
RU
Как управлять
интеллектуальной собственностью
Чертежи 
5
Реферат

Изобретение относится к области измерительной техники и может быть использовано в приборостроении и машиностроении для измерения температуры. Чувствительный элемент на поверхностных акустических волнах (ПАВ) для измерения температуры включает две линии задержки (ЛЗ), каждая из которых образована пьезоплатой из ниобата лития, на поверхности которой сформированы не менее одного встречно-штыревого преобразователя и не менее двух отражающих структур, состоящих из секций, выполненных в виде системы канавок или штырей с переменным или постоянным периодом. Линии задержки выполнены на пьезоплатах, которые имеют разные срезы с различными температурными коэффициентами задержки. Отражающие структуры первой ЛЗ идентичны отражающим структурам второй ЛЗ, при этом отражающие структуры расположены таким образом, что начало отражающих структур на одной ЛЗ смещено на длину одной секции относительно отражающих структур на второй ЛЗ, обеспечивая соответствие минимальных значений импульсной характеристики одной ЛЗ во временной области максимальным значениям импульсной характеристики другой ЛЗ во временной области. ВШП могут быть соединены последовательно или параллельно. Технический результат - повышение точности измерения температуры, а также повышение дальности действия устройства. 2 з.п. ф-лы, 5 ил.

Формула изобретения

1. Чувствительный элемент на поверхностных акустических волнах (ПАВ) для измерения температуры, содержащий пьезоплату из ниобата лития, на поверхности которой сформированы не менее одного встречно-штыревого преобразователя (ВШП) и не менее двух отражающих структур, состоящих из секций, выполненных в виде системы канавок или штырей с переменным или постоянным периодом, образующих линию задержки (ЛЗ), отличающийся тем, что содержит вторую ЛЗ, выполненную в виде пьезоплаты из ниобата лития, на поверхности которой сформированы не менее одного ВШП, электрически соединенного с ВШП первой ЛЗ, и не менее двух отражающих структур, идентичных отражающим структурам первой ЛЗ, и состоящих из секций, выполненных в виде системы канавок или штырей с переменным или постоянным периодом, при этом линии задержки выполнены на пьезоплатах, которые имеют разные срезы с различными температурными коэффициентами задержки, а отражающие структуры расположены таким образом, что начало отражающих структур на одной ЛЗ смещено на длину одной секции относительно отражающих структур на второй ЛЗ, обеспечивая соответствие минимальных значений импульсной характеристики одной ЛЗ во временной области максимальным значениям импульсной характеристики другой ЛЗ во временной области.

2. Чувствительный элемент по п. 1, отличающийся тем, что встречно-штыревые преобразователи первой ЛЗ и второй ЛЗ соединены параллельно.

3. Чувствительный элемент по п. 1, отличающийся тем, что встречно-штыревые преобразователи первой ЛЗ и второй ЛЗ соединены последовательно.

Описание

[1]

Изобретение относится к области измерительной техники и может быть использовано в приборостроении и машиностроении для измерения температуры, а также в системах дистанционного мониторинга температуры в ортопедии, хирургии и других разделах медицины.

[2]

Известен чувствительный элемент на поверхностных акустических волнах (ПАВ) для измерения температуры, представляющий собой линию задержки на ПАВ (Wireless passive SAW identification marks and sensors. L. Reindl, 2-nd Int. Symp.Acoustic wave devices for future mobile communicstion systems, Chiba univ., 2004, p. 5-10), состоящий из двух встречно-штыревых преобразователей (ВШП), расположенных на пьезоплате напротив друг друга. В качестве информационного сигнала используется время задержки.

[3]

Недостатком этих чувствительных элементов на ПАВ для измерения температуры - линий задержки на ПАВ является низкая чувствительность и точность, вызванная сложностью дистанционного измерения фазы.

[4]

Известен также чувствительный элемент на ПАВ для измерения температуры, представляющий собой одновходовый резонатор на пластине из кварца (Зеленка И. Пьезоэлектрические резонаторы на объемных и поверхностных акустических волнах. М.: Мир, 1990, с. 388-389), состоящий из ВШП структуры и расположенных по обе стороны от ВШП металлизированных штыревых отражающих структур (ОС). В качестве информационного сигнала используется собственная (резонансная) частота резонатора.

[5]

Недостатком существующих чувствительных элементов на ПАВ для измерения температуры, представляющих собой резонатор на пластине из кварца, является малая девиация частоты и, как следствие, низкая чувствительность и точность, а также малая дальность применительно к дистанционному измерению.

[6]

Известен чувствительный элемент на ПАВ для измерения температуры, представляющий собой дисперсионную линию задержки (Wireless passive SAW identification marks and sensors. L. Reindl, 2-nd Int. Symp.Acoustic wave devices for future mobile communicstion systems, Chiba univ., 2004, p. 9-10), состоящий из ВШП и расположенных на пластине из ниобата лития с одной стороны от ВШП отражающих структур в виде системы канавок с переменным периодом, образующих дисперсионную структуру. В качестве информационного сигнала используется время задержки.

[7]

Причиной, препятствующей получению высокой точности при использовании для измерения температуры известного чувствительного элемента на ПАВ (дисперсионной линии задержки), является то, что абсолютное значение девиации времени задержки ограничено геометрическими размерами пьезоплаты, потерями на распространение ПАВ в материале, температурным коэффициентом задержки. Кроме того, абсолютное значение излучаемого чувствительным элементом импульса также ограничено потерями на распространение ПАВ в материале, что приводит к ограничению дальности действия устройства.

[8]

Наиболее близким по технической сущности к заявленному изобретению является чувствительный элемент на ПАВ, который используется в качестве температурного сенсора на основе рефлекторной линии задержки на ПАВ (Wireless passive SAW identification marks and sensors. L. Reindl, 2-nd Int. Symp. Acoustic wave devices for future mobile communicstion systems, Chiba univ., 2004, p. 4-6). Чувствительный элемент содержит пьезоплату из ниобата лития (LiNbO3), на поверхности которой сформирован встречно-штыревой преобразователь, и с одной стороны от ВШП расположены отражающие структуры. В качестве информационного сигнала используется время задержки.

[9]

Невысокая точность чувствительного элемента на ПАВ с одной линией задержки для измерения температуры (прототипа) обусловлена незначительным изменением импульсной характеристики при изменении температуры, а также сложностью дистанционного измерения фазы. Кроме того, в линии задержки используется однонаправленный преобразователь, который имеет меньшую эффективность по дальности. Низкая импульсная мощность выходного сигнала чувствительного элемента ограничивает дальность действия сенсора.

[10]

Недостатком перечисленных чувствительных элементов на ПАВ для измерения температуры является малое изменение времени задержки и, как следствие, низкая точность. Применительно к дистанционному измерению недостатком является малая дальность действия.

[11]

Техническим результатом настоящего изобретения является повышение точности измерения температуры, а также повышение дальности действия устройства.

[12]

Технический результат достигается тем, что в чувствительном элементе на ПАВ для измерения температуры, включающем две линии задержки (ЛЗ), каждая из которых образована пьезоплатой из ниобата лития, на поверхности которой сформированы не менее одного встречно-штыревого преобразователя и не менее двух отражающих структур, состоящих из секций, выполненных в виде системы канавок или штырей с переменным или постоянным периодом, линии задержки выполнены на пьезоплатах, которые имеют разные срезы с различными температурными коэффициентами задержки. Отражающие структуры первой ЛЗ идентичны отражающим структурам второй ЛЗ, при этом отражающие структуры расположены таким образом, что начало отражающих структур на одной ЛЗ смещено на длину одной секции относительно отражающих структур на второй ЛЗ, обеспечивая соответствие минимальных значений импульсной характеристики одной ЛЗ во временной области максимальным значениям импульсной характеристики другой ЛЗ во временной области. ВШП могут быть соединены последовательно или параллельно.

[13]

При изменении температуры время задержки одной ЛЗ чувствительного элемента для измерения температуры изменяется мало, что приводит к незначительным изменениям выходного сигнала и, соответственно, низкой точности измерений. При использовании в ЧЭ двух ЛЗ, выполненных на пьезоплатах, которые имеют разные срезы с различными температурными коэффициентами задержки, импульсные характеристики пьезоплат различны и форма совместного отраженного сигнала изменяется в значительно большей степени за счет совмещения минимального значения импульсной характеристики одной ЛЗ и максимального значения импульсной характеристики другой ЛЗ, которое возможно за счет того, что секции в отражающей структуре одной пьезоплаты смещены относительно начала секций отражающей структуры второй пьезоплаты на длину одной секции. Определение температуры по форме совмещенного отраженного сигнала, выражающей максимальное значение отклика, повышает точность измерения.

[14]

Важной характеристикой чувствительного элемента для дистанционного измерения является радиус действия ЧЭ, определяемый как максимальное расстояние между приемопередающим устройством и ЧЭ, на котором возможно считывание информации (измерение физической величины) с чувствительного элемента.

[15]

Так как радиус действия пропорционален импульсной мощности (энергии) сигнала, то с увеличением импульсной мощности выходного сигнала чувствительного элемента увеличится радиус действия (дальность) чувствительного элемента для дистанционного измерения.

[16]

В предлагаемом изобретении используется наиболее эффективный двунаправленный ВШП. Запросный сигнал поступает на два ВШП двух пьезоплат, которые включены последовательно или параллельно. На ВШП сигнал преобразуется в ПАВ, которая распространяется в две стороны от ВШП по пьезоплатам. Отражаясь от ОС, ПАВ возвращается обратно на ВШП. При этом, в соответствии с предложенной конструкцией, ПАВ от второй пьезоплаты приходит со сдвигом по времени, соответствующим первому минимуму в импульсной характеристике первой пьезоплаты. За счет этого обеспечивается непрерывность импульсной характеристики устройства в целом, что приводит к большей энергетической эффективности и, соответственно, увеличению дальности. Суммарный ответный сигнал с большей энергией обеспечивает большую дальность действия устройства, что имеет большое значение при использовании данного чувствительного элемента, например, в системах дистанционного мониторинга температуры в ортопедии, хирургии и других областях медицины.

[17]

Сущность предлагаемого технического решения поясняется графическими материалами и чертежами:

[18]

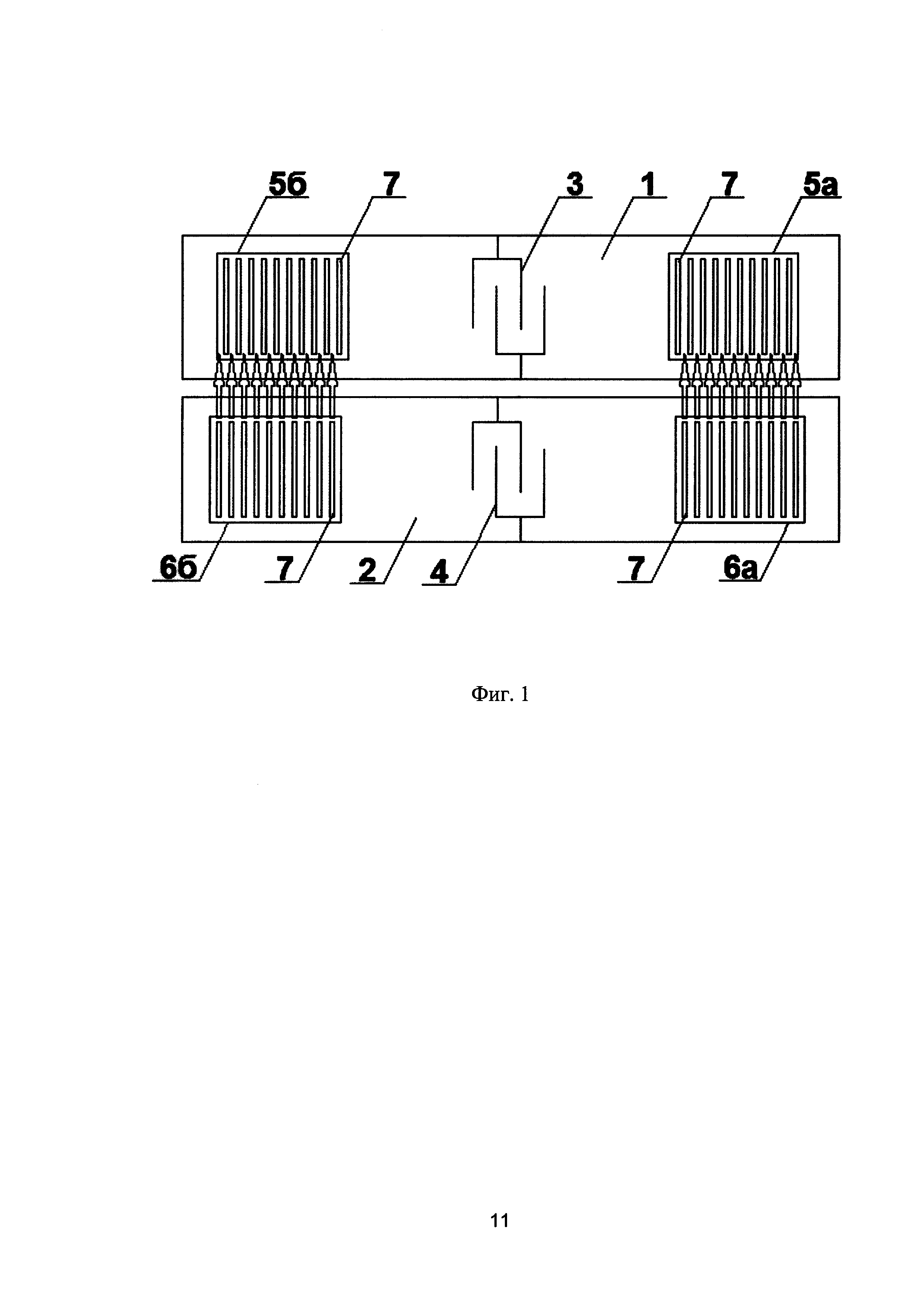
Фиг. 1 - структура чувствительного элемента на ПАВ со смещенными секциями отражателей;

[19]

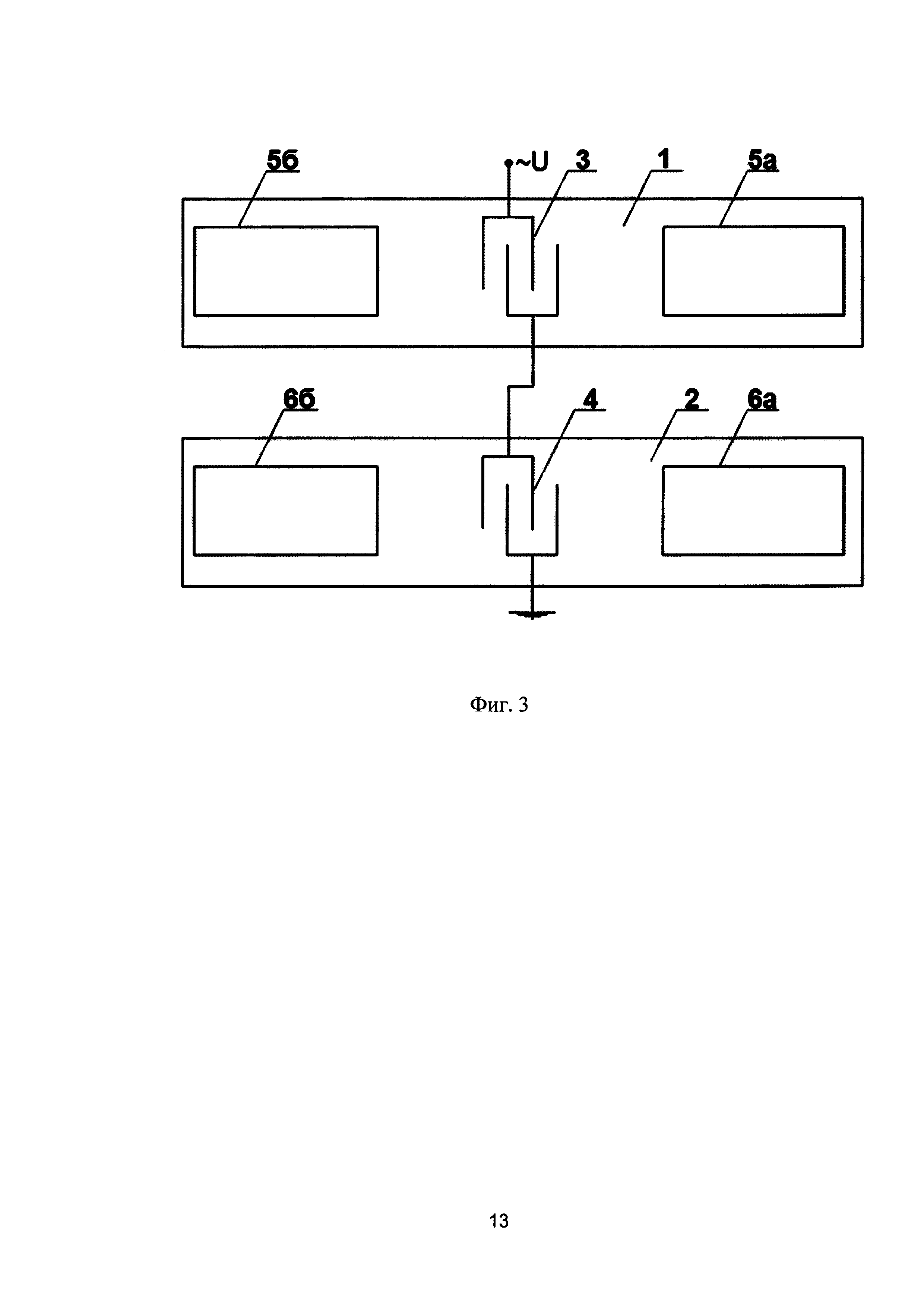
Фиг. 2 - структура чувствительного элемента на ПАВ для измерения температуры (параллельное соединение);

[20]

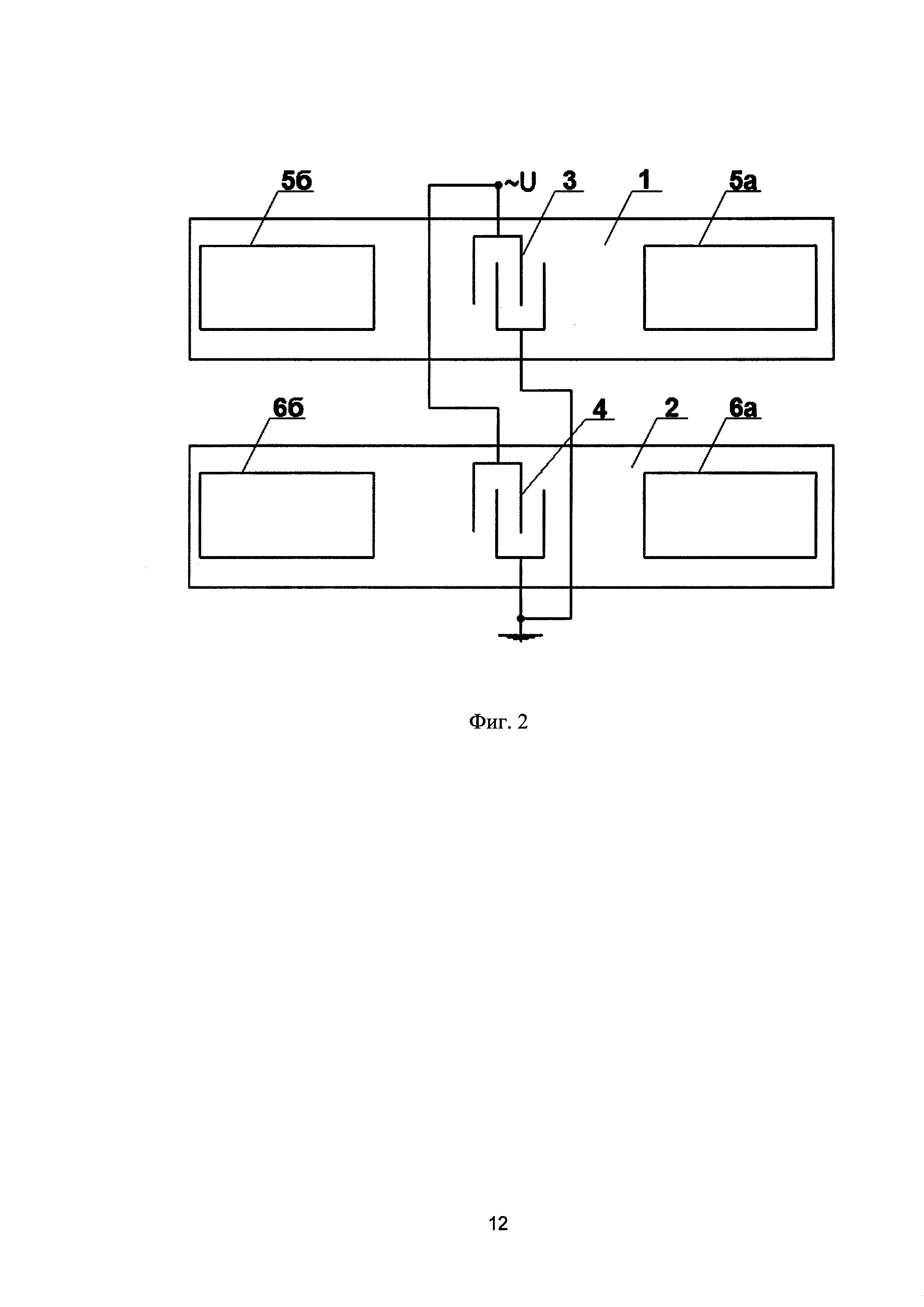
Фиг. 3 - структура чувствительного элемента на ПАВ для измерения температуры (последовательное соединение);

[21]

Фиг. 4 - осциллограмма импульсных характеристик первой и второй линий задержки чувствительного элемента на ПАВ для измерения температуры (при температуре 20°C);

[22]

Фиг. 5 - осциллограмма суммарной импульсной характеристики ответного сигнала чувствительного элемента на ПАВ для измерения температуры (при температуре 20°C).

[23]

Чувствительный элемент на ПАВ для измерения температуры (фиг. 1, фиг. 2, фиг. 3) состоит из пьезоплаты 1 и пьезоплаты 2. Пьезоплаты выполнены, например, из пьезоэлектрического материала: ниобат лития YZ - срез и ниобат лития 128 Y-X - срез. При этом каждый срез обладает различными температурными коэффициентами задержки. На рабочей поверхности каждой пьезоплаты сформировано не менее одного встречно-штыревого преобразователя - ВШП 3 и ВШП 4 соответственно и не менее двух отражающих структур - ОС 5а и ОС 5б на пьезоплате 1 и идентичные им ОС 6а и ОС 6б на пьезоплате 2. Отражающие структуры расположены с двух сторон от ВШП 3 и ВШП 4 и состоят из секций 7, выполненных в виде системы канавок или штырей с переменным или постоянным периодом. Пьезоплата 1 с ВШП 3 и отражающими структурами 5а и 5б образует первую ЛЗ, соответственно пьезоплата 2 с ВШП 4 и отражающими структурами 6а и 6б образует вторую ЛЗ. При этом отражающие структуры расположены таким образом, что начало отражающих структур на первой ЛЗ смещено на длину одной секции 7 относительно отражающих структур на второй ЛЗ.

[24]

ВШП 3 и ВШП 4 представляют собой систему металлических электродов и выполняют роль возбуждения и приема ПАВ. Формирование ВШП реализовано по технологии фотолитографии. Формирование канавок отражающих структур 5а, 5б, 6а, 6б реализовано по технологии травления через маску. Отражающие структуры в виде штырей могут быть выполнены методом фотолитографии.

[25]

Встречно-штыревые преобразователи первой ЛЗ и второй ЛЗ могут быть соединены последовательно (фиг. 2) или параллельно (фиг. 3) в зависимости от технологии изготовления чувствительного элемента на ПАВ, а также подключены к антенной системе для дистанционного измерения температуры.

[26]

Как показано на осциллограмме (фиг. 4), импульсные характеристики первой и второй линий задержки чувствительного элемента на ПАВ для измерения температуры различны, а минимальные значения импульсной характеристики одной ЛЗ во временной области (например, при температуре 20°C) соответствуют максимальным значениям импульсной характеристики другой ЛЗ во временной области, что обусловлено смещением на одну секцию отражающих структур одной ЛЗ относительно ОС другой ЛЗ.

[27]

Устройство работает следующим образом.

[28]

При изменении температуры пьезоплаты изменяется геометрический размер штырей (электродов) ВШП 3 и ВШП 4, расстояния между электродами, ширина и период следования канавок отражающих структур 5а, 5б пьезоплаты 1 и 6а, 6б пьезоплаты 2. В соответствии с изменением геометрических размеров изменяется время задержки отраженного сигнала.

[29]

При поступлении зондирующего электрического сигнала от внешнего источника (на фиг. 1, фиг. 2 и фиг. 3 не показан) на ВШП 3 пьезоплаты 1 и ВШП 4 пьезоплаты 2 под действием пьезоэлектрического эффекта формируется ПАВ. Сформированная ВШП 3 пьезоплаты 1 и ВШП 4 пьезоплаты 2 ПАВ распространяется от ВШП 3 пьезоплаты 1 и ВШП 4 пьезоплаты 2 к отражающим структурам 5а и 5б пьезоплаты 1 и ОС 6а и 6б пьезоплаты 2. Дойдя до отражающих структур 5а и 5б пьезоплаты 1 и отражающих структур 6а и 6б пьезоплаты 2, ПАВ отражается и возвращается на ВШП 3 и ВШП 4, соответственно формируя суммарный ответный сигнал другой формы (фиг. 5) с большей энергией, которая при излучении обеспечивает большую дальность действия устройства.

[30]

В случае если температура чувствительного элемента температуры с отражающими структурами в области расположения ВШП 3 пьезоплаты 1 и ВШП 4 пьезоплаты 2 и отражающих структур 5а, 5б пьезоплаты 1 и 6а, 6б пьезоплаты 2 постоянна, то разница времен задержки запросного сигнала от различных отражающих структур будет определяться направлением распространения ПАВ. Поскольку различные срезы пьезоэлектриков имеют различные температурные коэффициенты задержки, то при распространении ПАВ в различных направлениях разница времен задержки запросного сигнала будет пропорциональна разности температурных коэффициентов задержки.

[31]

Поскольку, как показано на осциллограмме (фиг. 4), минимальные значения импульсной характеристики одной линии задержки во временной области соответствуют максимальным значениям импульсной характеристики другой линии задержки во временной области, то при изменении скорости ПАВ ответный сигнал двух пьезоплат с разным временем задержки (фиг. 5), соединенных параллельно или последовательно, будет иметь различную форму при различных температурах.

[32]

Различная задержка запросного (зондирующего) сигнала, например длительностью 1,8 мкс, от различных линий задержки приведет к искажению формы сигнала, пришедшего на ВШП 3 пьезоплаты 1 и ВШП 4 пьезоплаты 2 от отражающих структур (5а, 5б и 6а, 6б) пьезоплаты 1 и пьезоплаты 2, соответственно форма ответного сигнала (двух ЛЗ вместе) будет отличаться от формы ответного сигнала, приведенного на фигуре 5.

[33]

В качестве информационного сигнала используется форма ответного сигнала, обеспечивающая максимальное значение отклика по амплитуде чувствительного элемента на ПАВ для измерения температуры.

[34]

На основе градуировочной зависимости (форма - температура) изменению формы можно соотнести величину температуры.

[35]

Таким образом, предложенный чувствительный элемент на поверхностных акустических волнах для измерения температуры является высокоточным устройством для измерения температуры с большой беспроводной дальностью действия.

[36]

Источники информации

[37]

1. Wireless passive SAW identification marks and sensors. L. Reindl, 2-nd Int. Symp. Acoustic wave devices for future mobile communicstion systems, Chiba univ., 2004

[38]

2. Зеленка И. Пьезоэлектрические резонаторы на объемных и поверхностных акустических волнах. М.: Мир, 1990, 584 с.

Как компенсировать расходы
на инновационную разработку
Похожие патенты