патент
№ RU 2694100
МПК B23P19/033

СПОСОБ РАЗБОРКИ СОЕДИНЕНИЯ ТИПА ВАЛ-ВТУЛКА

Авторы:
Сундуков Сергей Константинович Нигметзянов Равиль Исламович Фатюхин Дмитрий Сергеевич
Все (4)
Номер заявки
2018143485
Дата подачи заявки
07.12.2018
Опубликовано
09.07.2019
Страна
RU
Как управлять
интеллектуальной собственностью
Чертежи 
1
Реферат

Изобретение относится к области машиностроения и может быть использовано при разборке соединений типа вал-втулка, например распылителей форсунок. Способ включает установку разбираемого соединения на основание в упор, с расположением продольной оси соединения вертикально и отверстием втулки, направленным к основанию, и сообщение разбираемому соединению колебаний с ультразвуковой частотой, при этом колебания прикладывают в радиальном направлении относительно его продольной оси с обеспечением циклического воздействия на усилие натяжения между сопрягаемыми цилиндрическими поверхностями вала и втулки, при этом дополнительно осуществляют поджатие вала вдоль вертикально расположенной продольной оси с помощью упругого элемента. Изобретение позволяет повысить эффективность разборки соединений, осуществленных с натягом. 2 ил.

Формула изобретения

Способ разборки соединения типа вал-втулка, включающий установку разбираемого соединения на основание в упор, с расположением продольной оси соединения вертикально и отверстием втулки, направленным к основанию, и сообщение разбираемому соединению колебаний с ультразвуковой частотой, отличающийся тем, что колебания к разбираемому соединению прикладывают в радиальном направлении относительно его продольной оси с обеспечением циклического воздействия на усилие натяжения между сопрягаемыми цилиндрическими поверхностями вала и втулки, при этом дополнительно осуществляют поджатие вала вдоль вертикально расположенной продольной оси с помощью упругого элемента.

Описание

[1]

Предлагаемое изобретение относится к машиностроению, а именно, к способам разборки соединений типа вал-втулка, например, распылителей форсунок.

[2]

Известно устройство для разборки распылителя форсунки, в котором реализуется способ разборки, который состоит в том, что расположенные по вертикали соосно источник ультразвуковых колебаний, воздействующий с одной стороны на корпус разбираемого распылителя в сборе с иглой, имеющей хвостовик, и упор, контактирующий с корпусом распылителя с другой стороны, причем упор расположен над корпусом распылителя форсунки, а источник ультразвуковых колебаний - под корпусом распылителя, при этом распылитель в сборе ориентирован хвостовиком иглы вниз с обеспечением возможности свободного выхода последней из корпуса распылителя под собственным весом (патент РФ №15092, МПК В23Р 19/04, опубл. 2000 г.).

[3]

Наиболее близким к заявляемому способу по технической сущности является принятый в качестве прототипа способ разборки соединений типа вал-втулка, заключающийся в том, что разбираемое соединение размещают в жидкости и сообщают втулке осевые колебания с ультразвуковой частотой, а валу - осевые колебания, которые сообщают при помощи гидравлического удара (А.С. СССР №1468705, кл. В23Р 19/04, опубл. 1989).

[4]

Недостатком обоих описанных способов является недостаточно высокая эффективность разборки соединений типа вал-втулка. Этот недостаток обусловлен тем, что на соединение воздействуют лишь продольными механическими колебаниями, которые не оказывают влияния на величину натяга между разбираемыми деталями, т.е. величина сил сцепления в соединении типа вал-втулка не изменяется.

[5]

Технической задачей предлагаемого изобретения является повышение эффективности разборки соединений типа вал-втулка с учетом воздействия на соединения, осуществленные с натягом.

[6]

Решение поставленной технической задачи достигается тем, что в известном способе разборки соединений типа вал-втулка, заключающемся в том, что установленному на упор разбираемому соединению, ориентированному своей осью вертикально, а отверстием во втулке направленному вниз, сообщают колебания с ультразвуковой частотой,, согласно изобретению колебания к разбираемому соединению прикладывают в радиальном направлении, воздействуя циклически на усилие натяжения между сопрягаемыми цилиндрическими поверхностями вала и втулки, при этом дополнительно осуществляют поджатие вала вдоль вертикальной оси с помощью упругого элемента.

[7]

Решение поставленной технической задачи становится возможным за счет того, что в определенные промежутки времени, когда амплитуда колебаний внутренней поверхности втулки больше величины натяга, на границе вал-втулка будет полностью отсутствовать физический контакт, следовательно, сила трения на границе будет равна нулю, и извлекаемая внутренняя деталь, будет перемещаться вдоль оси системы под действием приложенной силы.

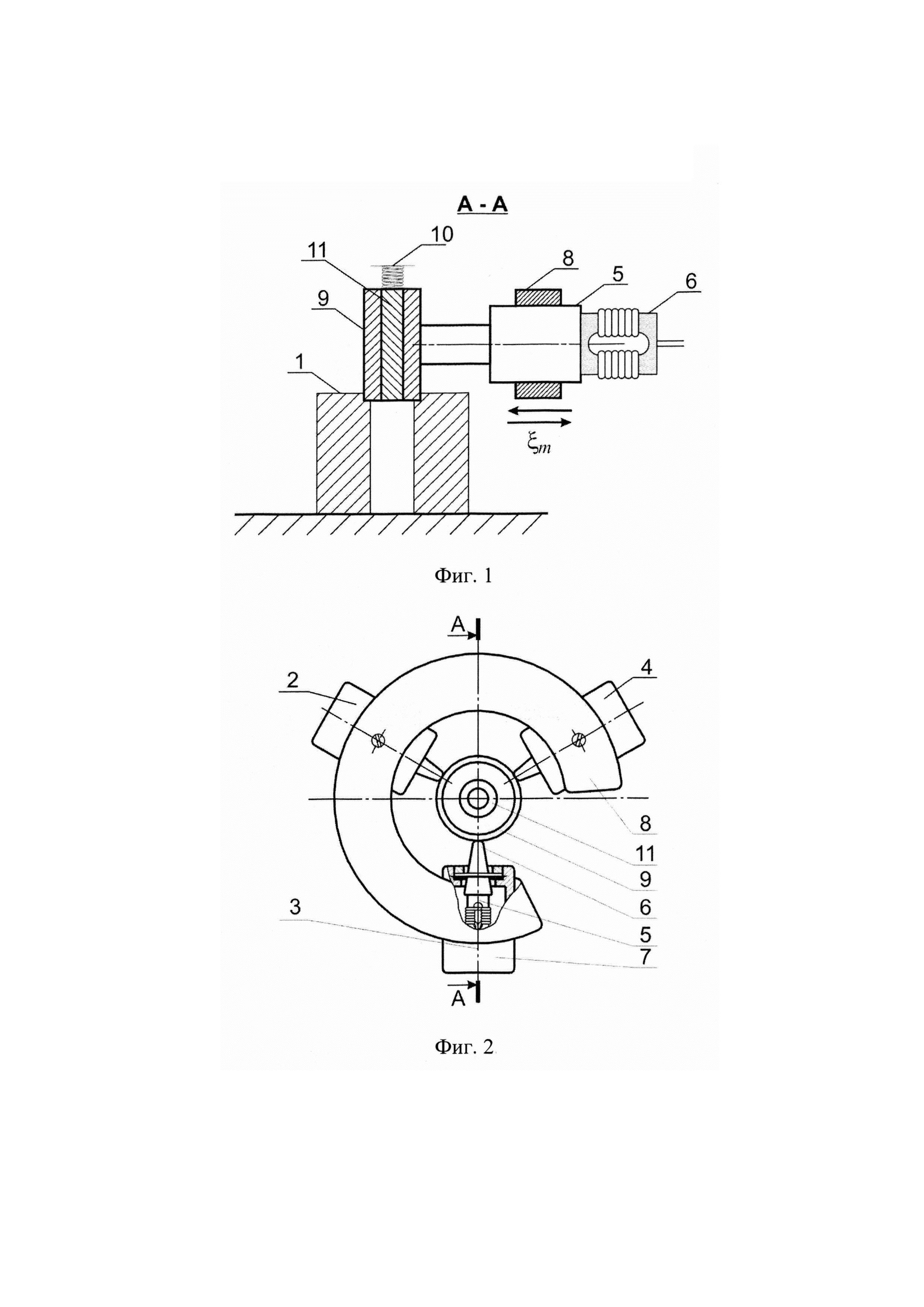
[8]

На фиг. 1 представлено устройство для реализации заявляемого способа разборки соединений типа вал-втулка - сечение А-А на фиг. 2, а на фиг. 2 показано устройство для подвода к разбираемому соединению ультразвуковых колебаний. На фиг. 1 принято обозначение: ξm - амплитуда ультразвуковых колебаний.

[9]

Способ разборки соединения типа вал-втулка заключается в том, что установленному на упор разбираемому соединению, например, распылителю форсунки, составные части которого установлены с натягом, сообщают колебания с ультразвуковой частотой. При этом ось разбираемого соединения ориентируют вертикально, а отверстие втулки направляют вниз. Согласно способу колебания с ультразвуковой частотой к разбираемому соединению прикладывают в радиальном направлении, воздействуя циклически на усилие натяжения между сопрягаемыми поверхностями вала и втулки. Причем дополнительно осуществляют поджатие вала вдоль вертикальной оси с помощью упругого элемента.

[10]

Устройство, в котором может быть реализован способ, содержит основание 1, три ультразвуковых колебательных системы 2, 3 и 4, состоящие каждая из магнитострикционного преобразователя 5, концентратора колебаний 6 и корпуса 7, соединенных при помощи скобы 8. Концентратор 6 колебаний взаимодействует с втулкой 9. Устройство снабжено пружиной 10 для извлечения вала 11.

[11]

Способ разборки соединений типа вал-втулка реализуют следующим образом.

[12]

Разбираемое соединение устанавливают на основание 1 и втулку 9 с внешней стороны, поджимают скобой 8 с ультразвуковыми колебательными системами 2, 3 и 4. Верхний торец вала 11 поджимается пружиной 10. При подаче на обмотку каждого магнитострикционного преобразователя 5 электрического тока в них в результате эффекта магнитострикции возникают колебания с ультразвуковой частотой, которые передаются через концентратор 6 колебаний на внешнюю поверхность втулки 9. В результате, в определенные промежутки времени, когда амплитуда колебаний ξm внутренней поверхности втулки больше величины натяга, на границе вал-втулка будет отсутствовать физический контакт, т.е. когда сила трения между втулкой 9 и валом 11 равна нулю. При этом вал 11 под действием силы тяжести и силы сжатия пружины 10 будет перемещаться вдоль оси системы до момента полной разборки.

[13]

Таким образом, изобретение позволяет повысить эффективность разборки соединений типа вал-втулка за счет уменьшения сил трения между элементами разбираемого соединения.

Как компенсировать расходы
на инновационную разработку
Похожие патенты