патент
№ RU 2685197
МПК A23B4/06

Способ длительного хранения мороженого мяса

Авторы:
Перекрестов Аршавир Петрович
Номер заявки
2018111871
Дата подачи заявки
02.04.2018
Опубликовано
16.04.2019
Страна
RU
Как управлять
интеллектуальной собственностью
Чертежи 
1
Реферат

Изобретение относится к мясоперерабатывающей промышленности, а именно к способам длительного хранения мороженого мяса в среде инертного газа. Способ предусматривает выдержку мяса в холодильной камере при низких температурах в течение 18-20 месяцев с последующим постепенным повышением температуры. В качестве хладагента используют гелий, который охлаждают путем детандирования. Выдерживание мяса и его охлаждение осуществляют в два этапа: в течение двух недель температуру понижают до -35°С, в течение последующих двух недель температуру понижают до -50°С, через 18-20 месяцев температуру постепенно повышают до -10°С в течение месяца. В течение всего процесса гелий отделяют от воздуха, снижая окислительные процессы в мясе, температуру внутри холодильной камеры регулируют, изменяя давление, создаваемое компрессором. За сутки до реализации температуру повышают до -8°С, отбирают гелий, заменяя его воздухом. Обеспечивается повышение срока хранения мяса без потери качества. 1 ил., 1 пр.

Формула изобретения

Способ длительного хранения мороженого мяса, предусматривающий выдержку мяса в холодильной камере при низких температурах в течение 18-20 месяцев с последующим постепенным повышением температуры, отличающийся тем, что в качестве хладагента используют гелий, который охлаждают путем детандирования, выдерживание мяса и его охлаждение осуществляют в два этапа: в течение двух недель температуру понижают до -35°C, в течение последующих двух недель температуру понижают до -50°C, через 18-20 месяцев температуру постепенно повышают до -10°C в течение месяца, в течение всего процесса гелий отделяют от воздуха, снижая окислительные процессы в мясе, температуру внутри холодильной камеры регулируют, изменяя давление, создаваемое компрессором, за сутки до реализации температуру повышают до -8°C, отбирают гелий, заменяя его воздухом.

Описание

[1]

Изобретение относится к холодильной технологии, а именно к способам длительного хранения мороженого мяса в среде инертного газа, при постоянной низкой температуре.

[2]

Известен способ хранения мяса путем его замораживания и выдержки при температуре (-18)-(-30)С° в течение 4-5 месяцев и последующем его хранении до реализации при температуре (-10)-(-12)С° (авторское свидетельство SU №544413, 1975 г.). Недостатком данного способа является сложность необходимого анализа на разных операциях способа и длительный период выдерживания при низких температурах.

[3]

Наиболее близким к предложенному решению является способ хранения мясной продукции предусматривающий выдержку его в камере при (-25)-(-30)С° с последующим повышением температуры (авторское свидетельство SU №1340712, 1984 г.). Недостатком данного способа является большие энергетические затраты на охлаждение и поддержание ледяных экранов.

[4]

Техническая задача - создание способа, обеспечивающего длительное хранение мороженого мяса путем поддержания низких температур и использования инертной среды внутри холодильной камеры.

[5]

Технический результат - повышение срока хранения мяса без потери качества.

[6]

Он достигается тем, что в известном способе, предусматривающем выдержку мяса в холодильной камере при низких температурах в течение 18-20 месяцев, с последующим постепенным повышением температуры, в качестве хладагента используют гелий, который охлаждают путем детандирования, выдерживание мяса и его охлаждение осуществляют в два этапа: в течение двух недель температуру понижают до (-35)°С, в течение последующих двух недель температуру понижают до (-50)°С, через 18-20 месяцев температуру постепенно повышают до (-10)°С в течение месяца, в течение всего процесса гелий отделяют от воздуха, снижая окислительные процессы в мясе, температуру внутри холодильной камеры регулируют, изменяя давление, создаваемое компрессором, за сутки до реализации температуру повышают до (-8)°С, отбирают гелий, заменяя его воздухом.

[7]

Гелий используют как среду для хранения мяса, с целью уменьшения его порчи вследствие его биоинертности и наименьшей химической активности. Применение детандирования, возвращающего часть затраченной работы, дает меньшие энергетические затраты. Выдерживание мяса при (-50)°С обеспечивает одновременную сохранность мяса и оптимальную поддерживаемую температуру гелия при охлаждении на детандерах. Отделение гелия от воздуха необходимо для обеспечения однородности среды внутри холодильной камеры.

[8]

Способ осуществляют следующим образом:

[9]

В морозильную камеру грузовместимостью 600 т загружают 581 т мороженого мяса с температурой в толще мышц в (-10)°С, используют гелий, который охлаждают путем детандирования, и в течение 1 месяца доводят температуру до (-50)°С в два этапа, в течение 2 недель температуру понижают до (-35)°С, затем в течение 2 недель до (-50)°С. Мясо в морозильной камере выдерживают в гелиевой среде в течение 18-20 месяцев при постоянной температуре (-50)°С. Через 18-20 месяцев температуру постепенно повышают до (-10)°С в течение месяца, в течение всего процесса гелий отделяют от воздуха, снижая окислительные процессы в мясе. За сутки до реализации температуру повышают до (-8)°С. Перед открытием холодильной камеры, отбирают гелий из холодильной камеры и системы охлаждения и заменяют его воздухом, замену производят через ресивер. Затем мясо изымают из морозильной камеры для реализации. Гелий, очищенный от примесей, может многократно использоваться для реализации способа

[10]

Пример осуществления способа:

[11]

После закладки 581 т. мяса в холодильную камеру грузовместимостью 600 т., в объем холодильной камеры подают гелий, который охлаждают путем детандирования. Охлажденный гелий, обеспечивает сохранность мяса внутри холодильной камеры, а охлаждение гелия за счет перепада давления на детандерах обеспечивает стабильность поддержания требуемой температуры внутри морозильной камеры. В течение 1 месяца выдержки температуру понижают до (-50)°С. в два этапа: в течение 2 недель температуру понижают до (-30)°С, затем в течение 2 недель до (-45)°С.

[12]

Через 18-20 месяцев, за месяц до реализации продукта, постепенно повышают температуру внутри холодильной камеры до (-10)°С, за счет уменьшения давления, создаваемого компрессором, в течение всего процесса гелий отделяют от воздуха, за счет этого снижая окислительные процессы в мясе.

[13]

Перед открытием холодильной камеры, отбирают гелий из холодильной камеры и системы охлаждения, заменяют его воздухом, замену производят через ресивер.

[14]

Затем в течение суток температуру внутри морозильной камеры повышают до (-8)°С. Затем мясо изымают из морозильной камеры для реализации.

[15]

Для осуществления способа используют газовые холодильные установки, оборудованные мембранным газоразделительным модулем.

[16]

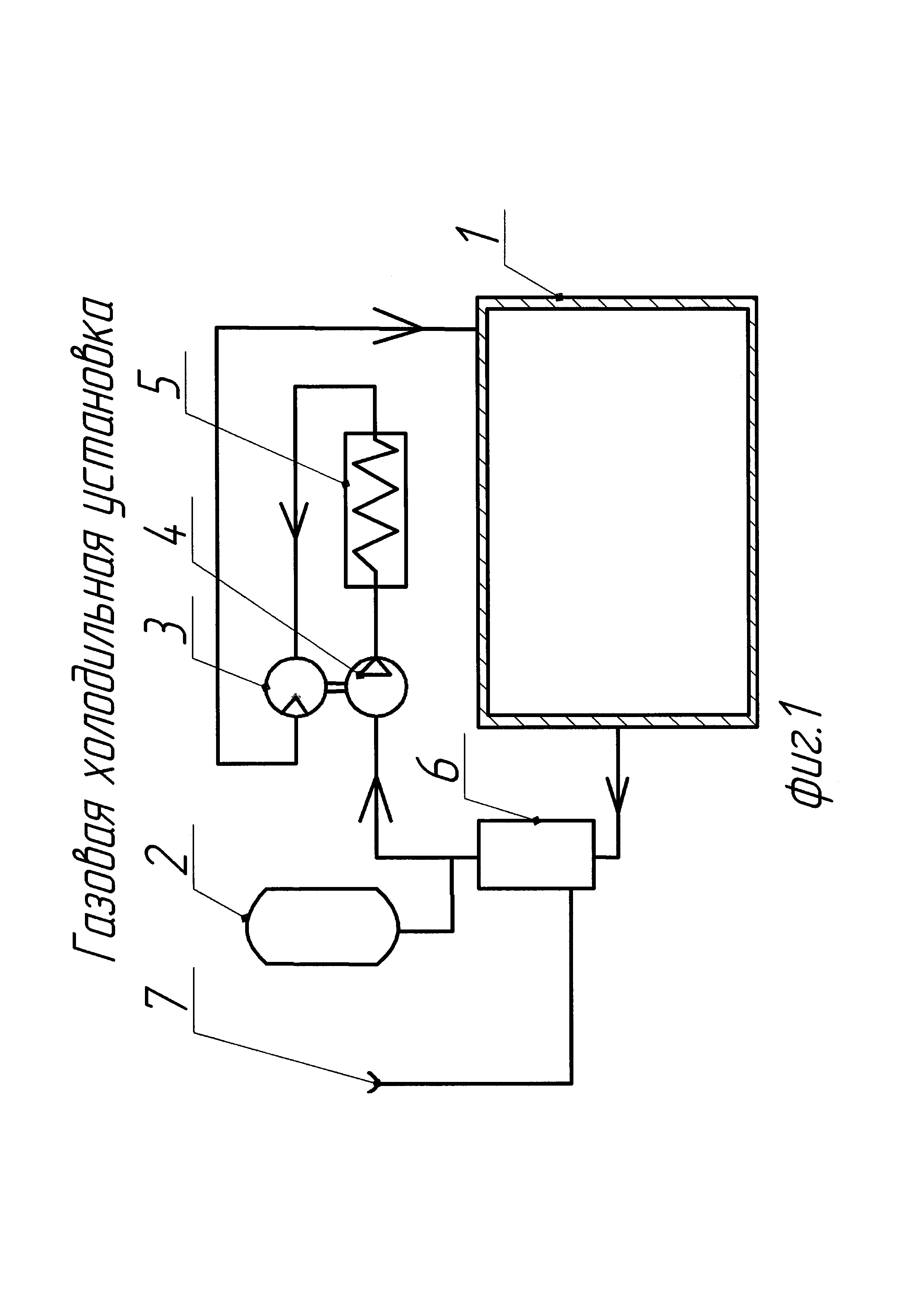
На чертеже схематически изображена холодильная камера для реализации предлагаемого способа.

[17]

Устройство, содержит газовую холодильную камеру 1, ресивер 2, детандер 3, компрессор 4, теплообменник 5, холодильная камера 1 дополнительно оборудована мембранным газоразделительным модулем 6, отделяющим гелий от воздуха. Мясо внутри холодильной камеры 1, охлаждается гелием, с помощью детандера 3 и давления, создаваемого компрессором 4.

[18]

Гелий из ресивера 2 поступает в компрессор 4, затем гелий сжимается в компрессоре 4 и, проходя через теплообменник 5 подается на детандер 3, где охлаждается, совершая работу за счет перепада давления, затем гелий поступает в холодильную камеру 1, охлаждая мясо, затем гелий из холодильной камеры 1 поступает в мембранный газоразделительный модуль 6, где отделяется от воздуха, и снова поступает в компрессор 4 и цикл повторяется. Воздух из мембранного газоразделительного модуля 6 сбрасывается в атмосферу через канал 7.

[19]

Низкая температура (-50)°С и низкая скорость циркуляции газа внутри холодильной камеры, а так же высокая степень загруженности холодильной камеры, уменьшает испарение влаги с поверхности мяса, уменьшая усушку мяса. Влагосодержание мяса за весь период хранения снизилась в среднем на 0,8-0,9%.

[20]

Групповой состав липидов мороженого мяса претерпевает незначительные изменения. При заморозке до (-35)°С и дальнейшем понижении температуры до (-50)°С снижается степень испарения влаги и миграции влаги к поверхности из глубинных слоев мяса.

[21]

Таким образом, с помощью охлаждения и содержания мороженого мяса в среде инертного газа (гелия), увеличивают продолжительность его хранения, с наименьшими энергетическими затратами.

[22]

Положительный эффект - предлагаемый способ повышает срок хранения мороженого мяса, позволяет максимально экономить инертный газ и требует малых затрат на работу необходимой установки.

Как компенсировать расходы
на инновационную разработку
Похожие патенты