патент
№ RU 2665030
МПК H02M5/42

Система электропитания

Авторы:
Берилов Андрей Вячеславович Мыцык Геннадий Сергеевич Румянцев Михаил Юрьевич
Все (4)
Номер заявки
2017138277
Дата подачи заявки
02.11.2017
Опубликовано
27.08.2018
Страна
RU
Как управлять
интеллектуальной собственностью
Чертежи 
1
Реферат

[18]

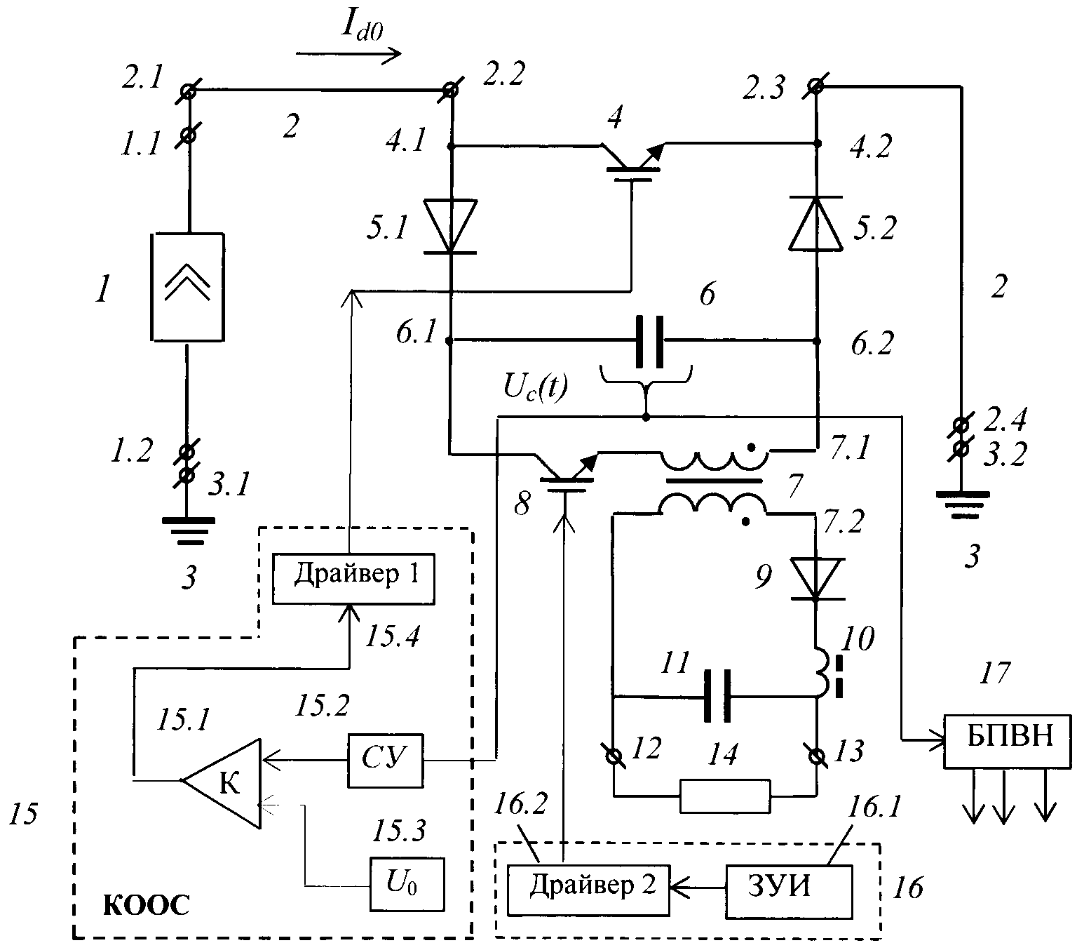
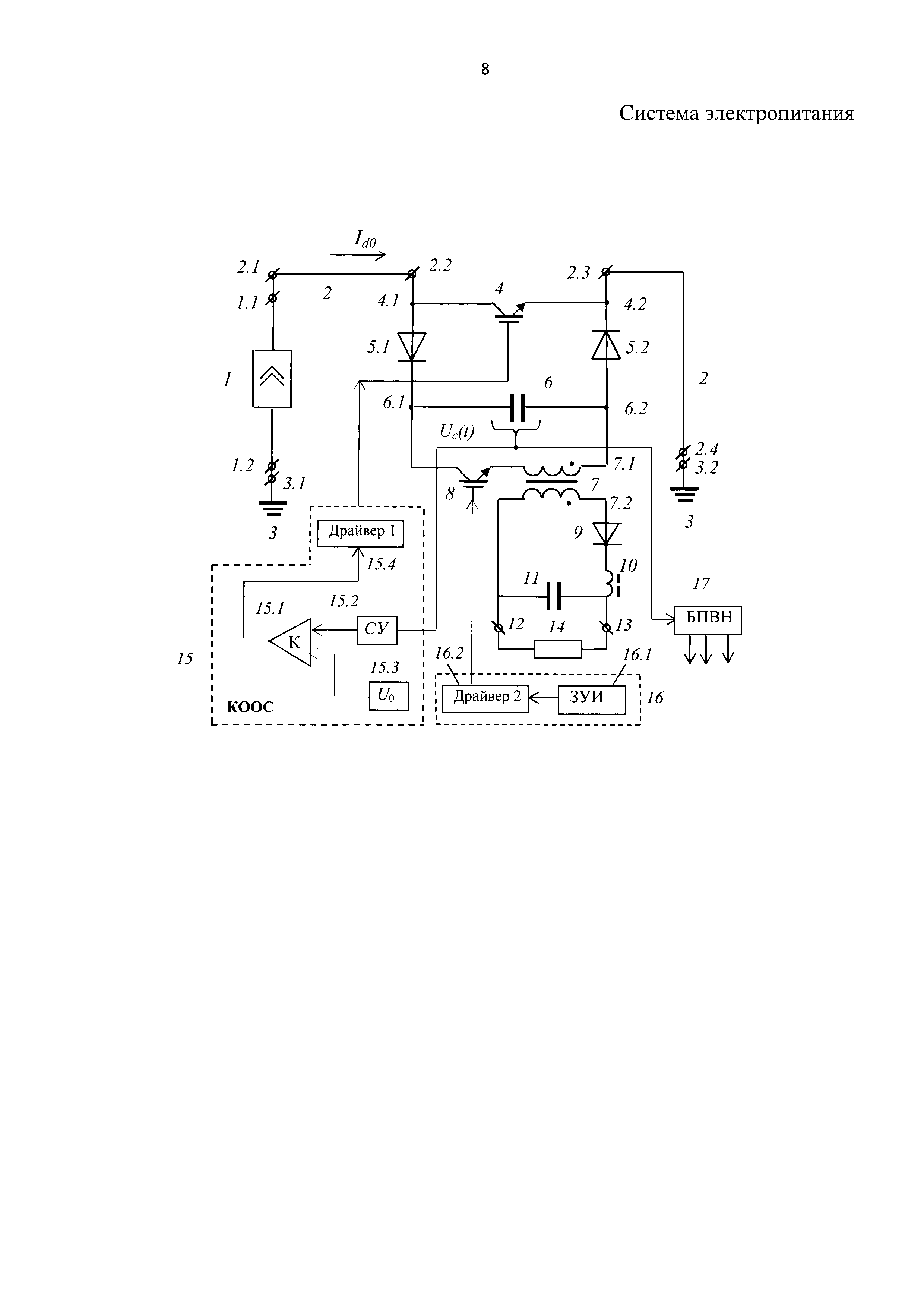
Изобретение относится к области электротехники, а именно силовой преобразовательной техники. Технический результат заключается в повышении точности стабилизации напряжения на выходных выводах преобразователя системы питания и достигается за счет того, что система электропитания содержит блок питания 1 со свойствами источника тока, линию 2 электропередачи (ЛЭП), представленную в виде двух отрезков 2.1-2.2 и 2.3-2.4. Один конец 2.1 ЛЭП 2 подключен к выводу 1.1 источника тока 1, второй вывод которого 1.2 подсоединен к заземленному выводу 3.1 заземлителя 3, а к выводу 3.2 последнего своим концом 2.4 подключена ЛЭП 2. Выводы 3.1, 3.2 с заземлителем 3 образуют «обратный провод», точнее обратную проводящую среду. Преобразователь выполнен на элементах 4÷11. Его силовой вход образован выводами 4.1 и 4.2 его транзистора 4, а выход - выводами 12, 13. К ним подключают потребитель 14. Транзисторы преобразователя 4, 8 получают управление от блоков управления (БУ) 15, 16, электропитание которых обеспечивает блок питания внутренних нужд (БПВН) - 17, который, в свою очередь, получает питание от накопительного конденсатора 6. БУ 15 представляет собой контур отрицательной обратной связи по напряжению (КООС) и осуществляет стабилизацию постоянной составляющей напряжения UC0 на конденсаторе 6. БУ 15 реализован на компараторе с гистерезисом 15.1. Сопрягающий узел (СУ) 15.2 обеспечивает функцию нормирования напряжения, поступающего от конденсатора (и при необходимости гальваническую его развязку). Блоком задания 15.3 задается уровень постоянной составляющей - UC0на конденсаторе 6. Инвертор (на элементах 7, 8) БУ 16 содержит задатчик управляющих импульсов (ЗУИ) 16.1 с соответствующей скважностью и драйвер 16.2. Транзистор 4 своими силовыми выводами включен в рассечку ЛЭП между ее выводами 2.2 и 2.3. Между этими же выводами подключена цепочка из последовательно соединенных диода 5.1, накопительного конденсатора 6 и диода 5.2. 1 ил.

Формула изобретения

Система электропитания, содержащая источник электропитания со стабилизированным в линии электропередачи током и N преобразователей, каждый из которых своими силовыми входными выводами последовательно включен в эту линию электропередачи и содержит двухобмоточный трансформатор с вторичной обмоткой, связанной с одним из N потребителей, отличающаяся тем, что выполнена в виде преобразователя переменного напряжения в постоянный стабилизированный ток, каждый из N преобразователей выполнен с полностью управляемым ключом, который своими силовыми выводами образует входные силовые выводы преобразователя, с цепочкой из последовательно соединенных диодов и накопительного конденсатора, подключенной между силовыми входными выводами, с инвертором напряжения, с блоком управления, который силовым входом подключен к обкладкам конденсатора, а выходом - к первичной обмотке двухобмоточного трансформатора с блоком управления, и с выпрямителем с выходным Г-образным LC фильтром, причем выпрямитель входом подключен к вторичной обмотке двухобмоточного трансформатора, а конденсатор С фильтра образует выходные выводы преобразователя, каждый из N преобразователей снабжен блоком управления указанным ключом и блоком для управления инвертора, причем блок управления ключом выполнен с контуром отрицательной обратной связи по напряжению на конденсаторе.

Описание

[1]

Изобретение относится к области силовой преобразовательной техники (силовой электроники) и может быть использовано при создании множества гальванически развязанных источников напряжения для группы N потребителей при электропитании их от протяженной линии со свойствами источника тока.

[2]

Такой принцип построения системы электропитания группы распределенных однотипных потребителей используется, например, в светосигнальных системах аэродромных взлетно-посадочных полос. По своим функциональным свойствам такая система относятся к системам «Преобразователь напряжения переменного тока в стабилизированный по уровню переменный ток другого уровня» или более коротко - к системам «Преобразователь напряжения в ток».

[3]

Наиболее близким по технической сущности является система электропитания, описанная в статье журнала «Вестник МЭИ», 2010, №5, с. 62 в. Она содержит преобразователь сетевого напряжения (промышленной частоты) в стабилизированный по уровню переменный ток в протяженной линии электропередачи (ЛЭП), от которой через N двухобмоточных трансформаторов тока, включенных в рассечку этой линии, питается группа однородного типа N число потребителей (ламп) неизменной мощности. Такая система электропитания используется при относительно коротких протяженностях линии электропередачи порядка 1 км. Использование такого способа построения ЛЭП при большой ее протяженности (в десятки и сотни километров), например, в системах мониторинга морей, океанов и при использовании в ней нерационально по двум причинам: во-первых, из-за больших значений индуктивности токопроводящей жилы кабеля, приводящих к неоправданно большим затратам ее меди; во-вторых, при питании от такой системы не возможна работа потребителей с изменяющейся в процессе работы мощностью (из-за изменения на ней напряжения). Объясняется это тем, что подавляющее число потребителей проектируется не на стабилизированный ток (и изменяющееся при изменениях тока напряжение), а на стабильное номинальное напряжение при изменяющемся токе.

[4]

Недостаток заключается в чрезмерно завышенной массе токопроводящего кабеля при протяженной ЛЭП, а также в том, что она не позволяет получить стабилизированное напряжение у потребителя при изменяющемся в нем токе.

[5]

Техническая задача изобретения направлена на создание стабилизированного напряжения у потребителя при изменяющемся в нем токе за счет перехода со стабилизированного в ЛЭП переменного тока на стабилизированный постоянный ток и последующего его преобразования в стабилизированное напряжение.

[6]

Техническим результатом изобретения является повышение точности стабилизации напряжения на выходных выводах преобразователя системы питания.

[7]

Это достигается тем, что известная система электропитания, содержащая, источник электропитания со стабилизированным в линии электропередачи током и N преобразователей, каждый из которых своими силовыми входными выводами последовательно включен в эту линию электропередачи, а также двухобмоточный трансформатор с вторичной обмоткой, связанной с одним из N потребителей, в ней источник электропитания выполнен с выходом постоянного тока, кроме того, каждый из N преобразователей снабжен полностью управляемым ключом, который своими силовыми выводами образует входные силовые выводы преобразователя, цепочкой из последовательно соединенных диодов и накопительного конденсатора, подключенной между этими выводами, инвертором напряжения, который своим силовым входом подключен к обкладкам этого конденсатора, а выходом - к первичной обмотке двухобмоточного трансформатора, и выпрямителем с выходным Г-образным LC фильтром, причем выпрямитель своим входом подключен к вторичной обмотке двухобмоточного трансформатора, а конденсатор С фильтра образует выходные выводы преобразователя, а также снабжен 1 -м блоком для управления указанным ключом и 2-м блоком для управления ключами инвертора, причем 1-й блок обеспечивает стабилизацию постоянной составляющей напряжения на накопительном конденсаторе, а 2-й - управление инвертором, обеспечивающим преобразование постоянной составляющей напряжения конденсатора в переменное напряжение.

[8]

Сущность изобретения поясняется чертежом, где представлена схема системы электропитания, в которой для упрощения изложения показан лишь один из N преобразователей системы, при этом все преобразователи через определенные отрезки ЛЭП включаются последовательно в рассечку ЛЭП аналогичным образом.

[9]

Система электропитания содержит блок питания 1 со свойствами источника тока, линию 2 электропередачи (ЛЭП), представленную в виде двух отрезков 2.1-2.2 и 2.3-2.4. Один конец 2.1 ЛЭП 2 подключен к выводу 1.1 источника тока 1, второй вывод которого 1.2 подсоединен к заземленному выводу 3.1 заземлителя 3, а к выводу 3.2 последнего своим концом 2.4 подключена ЛЭП 2. Выводы 3.1, 3.2 с заземлителем 3 образуют «обратный провод», точнее обратную проводящую среду. Преобразователь выполнен на элементах 4÷11. Его силовой вход образован выводами 4.1 и 4.2 его транзистора 4, а выход - выводами 12, 13. К ним подключают потребитель 14. Транзисторы преобразователя 4, 8 получают управление от блоков управления (БУ) 15, 16, электропитание которых обеспечивает блок питания внутренних нужд (БПВН) - 17, который в свою очередь получает питание от накопительного конденсатора 6.

[10]

БУ 15 представляет собой контур отрицательной обратной связи по напряжению (КООС) и осуществляет стабилизацию постоянной составляющей напряжения UC0 на конденсаторе 6. БУ 15 может быть реализован на компараторе с гистерезисом 15.1. Сопрягающий узел (СУ) 15.2 обеспечивает функцию нормирования напряжения, поступающего от конденсатора (и при необходимости гальваническую его развязку). Блоком задания 15.3 задается уровень постоянной составляющей - UC0 на конденсаторе 6. Драйвер 15.4 реализует все традиционно возлагаемые на него функции (усиления, гальванической развязки и защиты). При требовании повышенной точности стабилизации напряжения на выходных выводах 12, 13 преобразователя стабилизация напряжения должна осуществляться не на конденсаторе 6, а на конденсаторе 11.

[11]

Инвертор (на элементах 7, 8) БУ 16 может включать в себя задатчик управляющих импульсов (ЗУИ) 16.1 с соответствующей скважностью и драйвер 16.2.

[12]

Первый транзистор 4 своими силовыми выводами включен в рассечку ЛЭП между ее выводами 2.2 и 2.3. Между этими же выводами подключена цепочка из последовательно соединенных диода 5.1, накопительного конденсатора 6 и диода 5.2. В принципе (с целью упрощения) может использоваться лишь один из этих двух диодов. Параллельно обкладкам 6.1, 6.2 конденсатора 6 подключена цепочка из последовательно соединенных первичной обмотки 7.1 трансформатора напряжения 7 и второго транзистора 8. Переменное напряжение на вторичной обмотке 7.2 трансформатора 7 выпрямляется с помощью диода 9 и фильтруется Г-образным LC фильтром, состоящим из сглаживающего дросселя 10 и конденсатора 11. К выходным выводам 12, 13, образованным обкладками накопительного конденсатора преобразователя подключают потребитель 14.

[13]

В данном примере для преобразования напряжения постоянного тока на конденсаторе 6 в напряжение переменного тока использован простейший однотактный прямоходовой инвертор напряжения (на элементах 7, 8), а на его выходе однополупериодный выпрямитель с фильтром (элементы 9, 10, 11). Такое решение целесообразно при малых мощностях потребителей. При мощностях, больше сотен и единиц кВт целесообразно использовать двухтактные инверторы и двухполупериодные выпрямители. Для нейтрализации перенапряжений на транзисторе 8, обусловленных индуктивностью рассеяния первичной обмотки 7.1 трансформатора 7 используются известные средства, например, RCD цепочка, подключаемая параллельно этой обмотке.

[14]

Преобразователь системы электроэнергии работает следующим образом.

[15]

Источник тока 1 обеспечивает в системе электропитания (включающих в себя ЛЭП 2 и последовательно включенные в нее N преобразователей с N потребителями) протекание неизменного по значению тока Id0. Функция каждого преобразователя заключается в том, чтобы взять из ЛЭП 2 требуемую для потребителя мощность, при этом он должен обладать свойством источника напряжения, когда при изменении тока нагрузки напряжение на ней остается неизменным (с заданной точностью). Для этого в исходном состоянии напряжение на выходе преобразователя (на его выводах 12, 13) равно нулю. Этот (транзитный) режим обеспечивается включенным состоянием транзистора 4 (состояние компаратора 15.1 «1»). При этом ток ЛЭП 2 Id0 протекает через него, минуя конденсатор 6. Для отбора от ЛЭП 2 мощности транзистор 4 выключают (состояние компаратора 15.1 «0»), и через диоды 5.1, 5.2 током Id0 начинает заряжаться конденсатор 6. Нарастающее напряжение uC(t) на конденсатор 6 через сопрягающий узел (СУ) 15.2 поступает на один вход компаратора 15.1, на другой вход которого подается опорное напряжение UC0. При достижении равенства сигналов uC(t) и UC0 компаратор 15.1 срабатывает (перебрасывается из одного состояния «0» в другое «1») и выдает сигнал на отпирание транзистора 4. Ток Id0 изменяет свой путь, переходя с конденсатора 6 на транзистор 4, конденсатор 6 перестает заряжаться и при включенном состоянии транзистора 8 инвертора начинает разряжаться через первичную обмотку 7.1 трансформатора 7 на нагрузку (потребитель) 14. После снижения напряжения uC(t) на конденсаторе 6 до определенного уровня, определяемого гистерезисом компаратора 15.1, он перебрасывается из состояния «1» в состояние «0», транзистор 4 запирается, и начинается под-заряд конденсатора 6. Далее процессы повторяются.

[16]

БУ 15 реализует релейный принцип слежения за мгновенным значением напряжения uC(t) на конденсаторе 6, то есть с приемлемыми (допустимыми) пульсациями он воспроизводит заданное напряжение UC0. Такой принцип организации отрицательной обратной связи характеризуется изменяющейся частотой переключения транзистора 4. Например, при увеличении тока в нагрузке 14 конденсатор 6 будет разряжаться быстрее, и частота переключения ключа 4 будет возрастать. Для снижения значения этой частоты нужно увеличивать емкость конденсатора.

[17]

Использование изобретения обеспечивает повышение точности стабилизации напряжения на выходных выводах преобразователя системы питания.

Как компенсировать расходы
на инновационную разработку
Похожие патенты