Изобретение относится к техническим средствам для бурения и ремонта нефтяных и газовых скважин, а именно к турбобурам для привода породоразрушающего инструмента. Турбобур содержит вертикальный ряд турбинных секций, в корпусах которых размещены турбины статора и установленные на профильном полом валу турбины ротора, шпиндельную секцию, в корпусе которой размещен кинематически соединенный с валом турбинных секций полый вал, на котором закреплено долото. Устройство оснащено установленным над верхней турбинной секцией генератором колебаний давления, в стенках корпуса которого выполнены сквозные каналы-волноводы, внутри корпуса на полом валу установлен ротор с отверстиями, а в корпусе - статор с отверстиями, при этом профильный вал турбинной секции кинематически соединен с валом генератора для вращения и продольного перемещения по нему ротора, с возможностью периодического совмещения отверстий в роторе и статоре генератора и гидравлического соединения внутренней полости генератора со сквозными каналами-волноводами в корпусе генератора. Обеспечивается повышение надежности устройства и эффективности процесса бурения скважин. 3 ил.
Турбобур, содержащий вертикальный ряд турбинных секций, в корпусах которых размещены турбины статора и установленные на профильном полом валу турбины ротора, шпиндельную секцию, в корпусе которой размещен кинематически соединенный с валом турбинных секций полый вал, на котором закреплено долото, отличающийся тем, что над верхней турбинной секцией установлен генератор колебаний давления, в стенках корпуса которого выполнены сквозные каналы-волноводы, внутри корпуса на полом валу установлен ротор с отверстиями, а в корпусе - статор с отверстиями, при этом профильный вал турбинной секции кинематически соединен с валом генератора для вращения и продольного перемещения по нему ротора, с возможностью периодического совмещения отверстий в роторе и статоре генератора и гидравлического соединения внутренней полости генератора со сквозными каналами-волноводами в корпусе генератора.
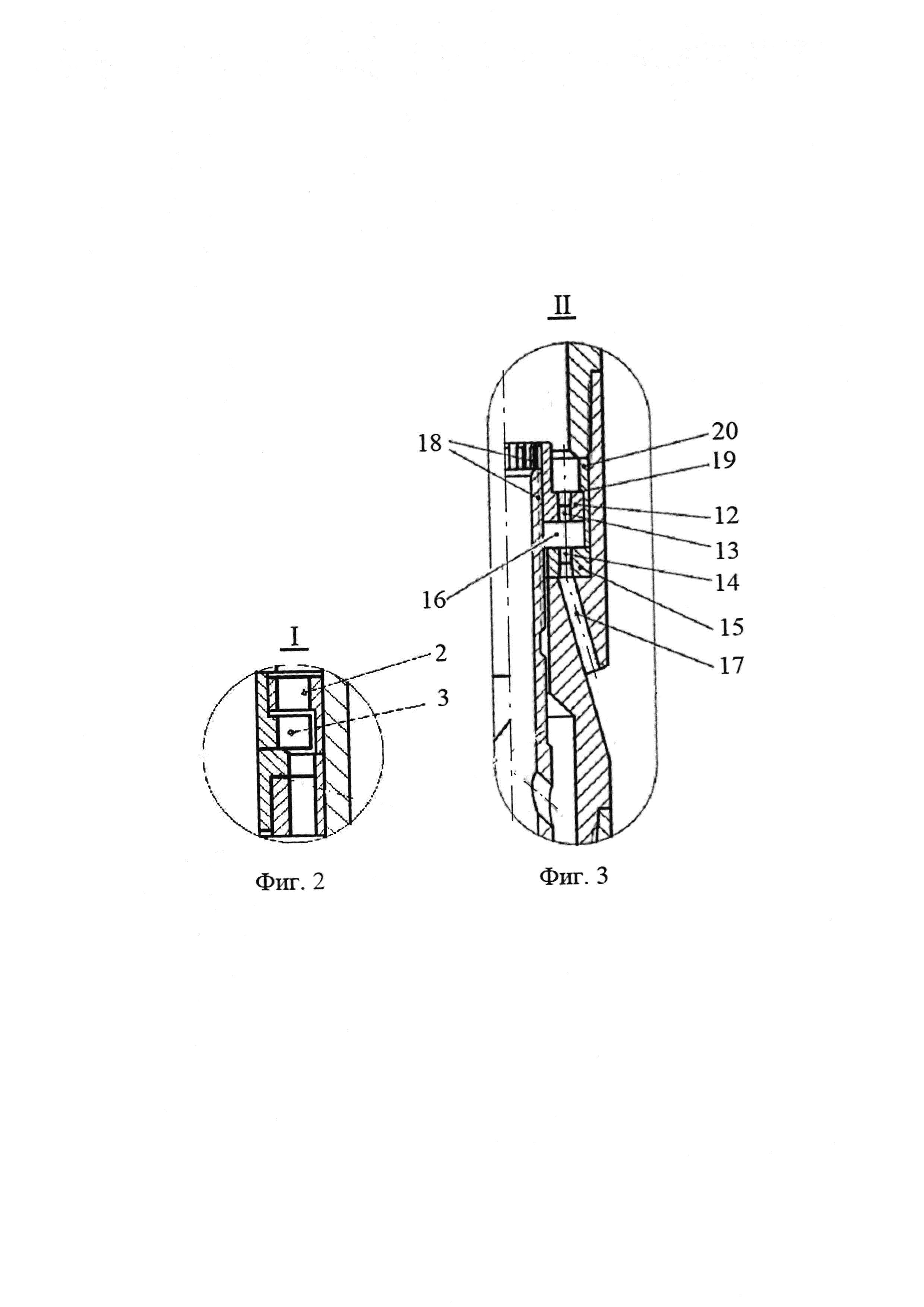
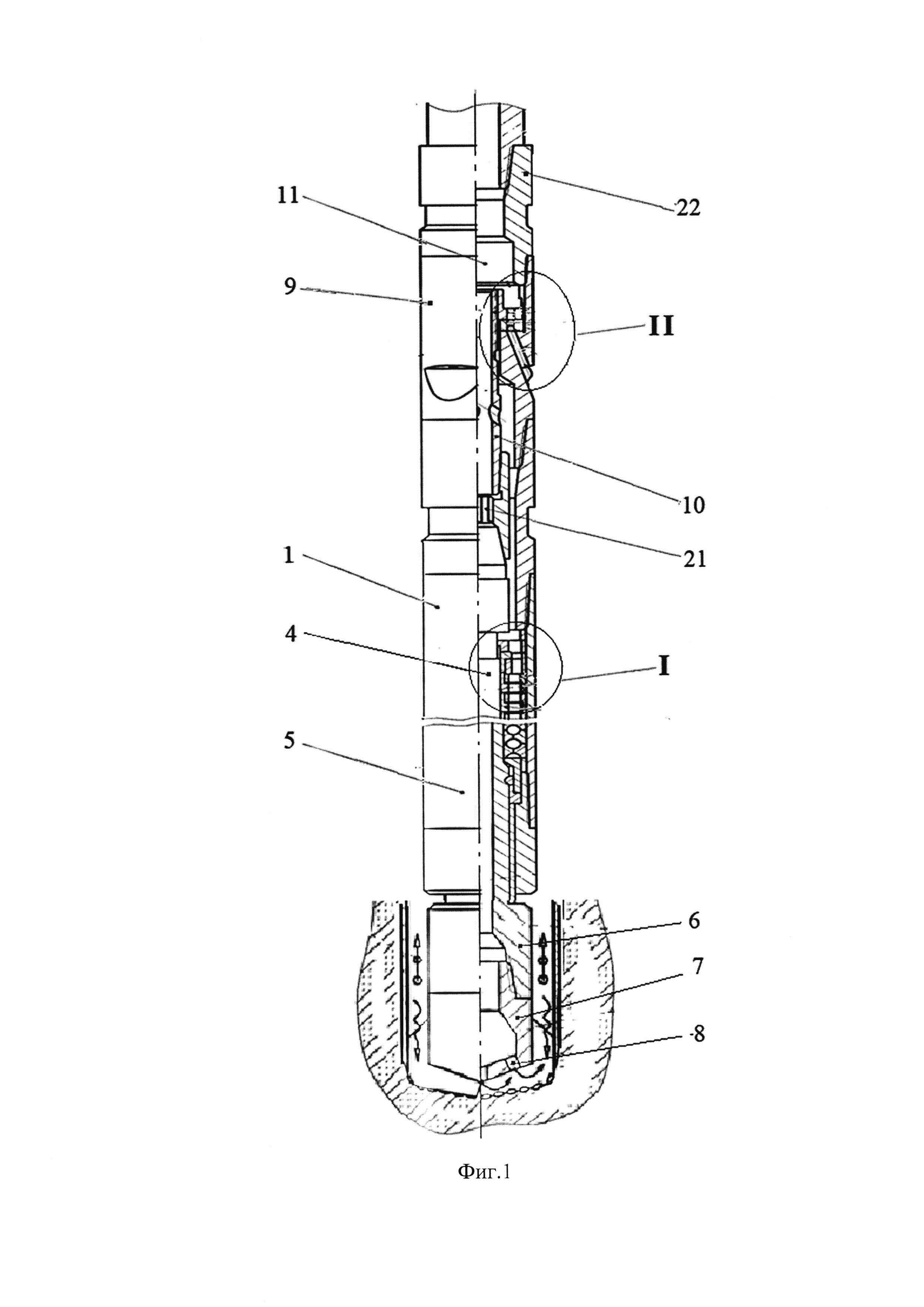
Изобретение относится к техническим средствам для бурения и ремонта нефтяных и газовых скважин, а именно к турбобурам для привода породоразрушающего инструмента. Известен турбобур, содержащий корпус с подводящими каналами, шпиндельную секцию, на валу которой установлено долото, и турбинную секцию, в которой размещен уступообразный в поперечном сечении ротор, причем уступы на роторе выполнены имеющими зазор с корпусом, а между уступами расположены выдвинутые относительно них в сторону корпуса полуцилиндрические участки. (См. Патент РФ №2610490, кл. Е21В 4/02, 2014 г.) В этом устройстве потоки рабочей жидкости через подводящие каналы корпуса поступают во внутреннюю полость турбинной секции, и одновременным приложением ударно-скоростного напора на уступы приводят во вращение ротор и кинематически связанное с ним долото. Устройство обеспечивает достижение стабильно высоких значений крутящего момента ротора за счет максимального использования потенциальной энергии рабочей жидкости. Недостатком известного турбобура является присутствие гидродинамических помех вращению ротора, что совокупно снижает энергетические характеристики турбобура. Этот недостаток преодолен в другом известном турбобуре, содержащем вертикальный ряд турбинных секций, в корпусах которых размещены турбины статора и установленные на профильном полом валу турбины ротора, шпиндельную секцию, в корпусе которой размещен кинематически соединенный с валом турбинных секций полый вал, на котором закреплено долото. (См. Патент РФ №2166604, кл. Е21В 4/02, 2002 г.) Данное устройство по технической сущности и достигаемому результату является наиболее близким аналогом предлагаемого изобретения. Сущность данного изобретения состоит в том, что конструкция турбобура позволяет доводить присоединенное к валу шпинделя долото до забоя скважины, вращая его ротором буровой установки через колонну бурильных труб. Недостатком этого устройство является то, что при проведении спускоподъемных операций в скважинах данная конструкция турбобура не обеспечивает надежного предотвращения его зашламовывания частицами разбуренной породы, не позволяет создать эффективный слой кольматации из твердой фазы бурового раствора, предотвращающий поглощения раствора и проявления (притоки) пластовых сред из высокопроницаемых пластов. Технический результат осуществления изобретения заключается в повышении надежности и эффективности работы турбобура, расширении его функциональных возможностей. Указанный результат достигается тем, что турбобур, содержащий вертикальный ряд турбинных секций, в корпусах которых размещены турбины статора и установленные на профильном полом валу турбины ротора, шпиндельную секцию, в корпусе которой размещен кинематически соединенный с валом турбинных секций полый вал, на котором закреплено долото, оснащен установленным над верхней турбинной секцией генератором колебаний давления, в стенках корпуса которого выполнены сквозные каналы-волноводы, внутри корпуса на полом валу установлен ротор с отверстиями, а в корпусе - статор с отверстиями, при этом профильный вал турбинной секции кинематически соединен с валом генератора для вращения и продольного перемещения по нему ротора, с возможностью периодического совмещения отверстий в роторе и статоре генератора и гидравлического соединения внутренней полости генератора со сквозными каналами-волноводами в корпусе генератора. Повышение эффективности работы устройства достигается за счет интенсификации процесса разрушения породы и создания из твердой фазы бурового раствора под воздействием колебаний давления малопроницаемого слоя кольматации в горной породе ствола скважины. Установка ротора генератора с возможностью ограниченного перемещения на полом валу генератора дает возможность перенаправить заполняющий бурильные трубы поток жидкости из закорпусного пространства при проведении спуско-подъемных операций в скважинах не через шпиндельную и турбинные секции, а через каналы-волноводы и отверстия статора и ротора, что повышает надежность работы устройства. Изобретение иллюстрируют чертежами. На фиг. 1 представлен общий вид турбобура; на фиг. 2 - выноска I на фиг. 1; на фиг. 3 - выноска II на фиг.1 . Турбобур (фиг. 1) содержит ряд вертикальных турбинных секций 1 (показана только верхняя секция), в корпусах каждой из которых размещены (см. выноску I на фиг. 2) турбины 2 статора и турбины 3 ротора, установленные на профильном валу 4, а также шпиндельную секцию 5, в корпусе которой размещен полый вал 6 шпинделя, на котором установлено долото 7 с промывочными отверстиями 8. Над верхней турбинной секцией установлен генератор 9 колебаний давления, в корпусе которого установлен полый вал 10, а во внутренней полости 11 генератора размещены (см. выноску II на фиг. 3) ротор 12 с отверстиями 13, выполненными с возможностью при вращении ротора периодического совмещения с отверстиями 14 статора 15 и с кольцевым каналом 16, связанным со сквозными каналами-волноводами 17 в корпусе генератора. Ротор генератора связан с валом генератора шлицевым соединением 18, обеспечивающим продольное перемещение ротора, которое ограничено буртом 19 упорной втулки 20, а возможность вращения ротора обеспечивается соединением вала ротора и профильного вала турбинной секции конусно-шлицевым зацеплением 21. Статор генератора фиксируется в корпусе генератора за счет его прижима упорной втулкой. Перед спуском устройства над генератором крепится колонна бурильных труб на переводник 22. Турбобур работает следующим образом. При спуске устройства в ствол скважины на колонне бурильных труб, закрепленных на переводнике 22, буровой раствор или скважинная жидкость из закорпусного пространства турбобура, через каналы-волноводы 17 и отверстия 14 статора 15 генератора 9 перемещает ротор 12 генератора по шлицевому соединению 18 полого вала 10 генератора до упора в бурт 19 упорной втулки 20, образуя при этом кольцевой канал 16. Из этого канала жидкость через отверстия 13 ротора генератора поступает во внутреннюю полость 11 и заполняет бурильные трубы. Тем самым предупреждается забивание турбинных секций устройства оставшимися в стволе частицами шлама разбуренной ранее породы и повышается надежность работы турбобура. При прокачивании бурового раствора через устройство основная часть потока поступает через полый вал генератора в турбинные секции 1, турбины 3 ротора которого начинают вращаться относительно турбин 2 статора, при этом профильные валы 4 передают вращающие моменты через конусно-шлицевое зацепление 21 и полый вал генератора на ротор генератора, а через полый вал 6 шпиндельной секции 5 на долото 7, зубки которого разрушают горную породу забоя ствола скважины. Буровой раствор, проходя через промывочные отверстия 8 в долоте, очищает забой от шлама породы и выносит его из скважины. В процессе вращении ротора генератора относительно статора генератора происходит периодическое совмещение осей одного или нескольких отверстий ротора и отверстий статора. При этом некоторая часть потока бурового раствора из внутренней полости генератора перетекает, соответственно, в один или несколько каналов-волноводов в корпусе генератора, порождая полуволну повышенного давления. Затем происходит закрытие ротором указанных отверстий, что создает в каналах-волноводах полуволну пониженного давления. Такие полуволны распространяются по всему пространству между стенками турбобура и скважины, способствуя созданию в породе ствола скважины слоя кольматации, изолирующего проявления пластовых сред в скважину из пластов с высоким пластовым давлением и поглощения буровых растворов пластами с низким пластовым давлением. Создаваемые генератором колебания давления обеспечивают усталостное развитие образованных долотом трещин и микротрещин в горной породе забоя скважины, снижают вредное влияния «угнетающего» давления бурового раствора на не отделившиеся частицы породы за счет ускорения процесса фильтрации жидкости через образуемые трещины при прохождении полуволны повышенного давления. Использование изобретения позволяет интенсифицировать процессы создания малопроницаемого слоя кольматации в стволе скважины и повысить эффективность бурения горной породы на ее забое.