патент
№ RU 2630330
МПК E21B43/24

Способ разработки залежи битуминозной нефти

Авторы:
Шайхутдинов Дамир Камилевич
Номер заявки
2016130909
Дата подачи заявки
26.07.2016
Опубликовано
07.09.2017
Страна
RU
Как управлять
интеллектуальной собственностью
Чертежи 
1
Реферат

Изобретение относится к области горного дела. Технический результат - увеличение коэффициента извлечения нефти с одновременным снижением затрат на прогрев продуктивного пласта за счет исключения прорыва теплоносителя в газовые шапки. Способ разработки залежи битуминозной нефти включает бурение горизонтальной добывающей скважины и расположенной над ней вертикальной нагнетательной скважины, закачку рабочего агента через нагнетательную скважину и отбор продукции пласта через добывающую скважину. До начала строительства производят исследования месторождения для выделения участков с наличием газовых шапок, при строительстве в скважинах располагают устройства контроля давления. Забой вертикальной скважины располагают на 5-10 м выше средней части горизонтальной скважины. Горизонтальные и вертикальные скважины вскрывают ниже газовой шапки. В качестве рабочего агента применяют водяной пар, который нагнетают при давлении, не превышающем давление в газовой шапке, сначала в обе скважины до создания проницаемой зоны между вскрытыми участками скважин, после чего горизонтальную скважину переводят под отбор продукции. 1 ил., 1 пр.

Формула изобретения

Способ разработки залежи битуминозной нефти, включающий бурение горизонтальной добывающей скважины и расположенной над ней вертикальной нагнетательной скважины, закачку рабочего агента через нагнетательную скважину и отбор продукции пласта через добывающую скважину, отличающийся тем, что до начала строительства производят исследования месторождения для выделения участков с наличием газовых шапок, при строительстве в скважинах располагают устройства контроля давления, при этом забой вертикальной скважины располагают на 5-10 м выше средней части горизонтальной скважины, горизонтальные и вертикальные скважины вскрывают ниже газовой шапки, а в качестве рабочего агента применяют водяной пар, который сначала нагнетают при давлении, не превышающем давление в газовой шапке, в обе скважины до создания проницаемой зоны между вскрытыми участками скважин, после чего горизонтальную скважину переводят под отбор продукции.

Описание

[1]

Изобретение относится к области горного дела и может быть использовано для разработки залежей углеводородных флюидов, в частности, при добыче высоковязкой нефти и природного битума.

[2]

Известен способ разработки залежей вязких нефтей и битумов (патент РФ №2199656, МПК Е21В 43/24, опубл. бюл. №6 от 02.27. 2003), включающий бурение рядов вертикальных нагнетательных скважин, бурение горизонтальных скважин вдоль рядов вертикальных скважин, периодическую закачку теплоносителя, например пара, в горизонтальные скважины и отбор нефти из вертикальных добывающих скважин, при этом в период прекращения закачки пара ведут отбор нефти из горизонтальных скважин, которые являются источником прорыва пара в вертикальные скважины. После выработки пласта в районе призабойных зон всех скважин переходят к площадной закачке вытесняющего агента, например воды, в вертикальные нагнетательные скважины. Одновременно отбирают нефть из остальных скважин. Перед площадной закачкой вытесняющего агента горизонтальные скважины, расположенные вблизи вертикальных нагнетательных скважин, заполняют изолирующим составом, например гелеобразующим.

[3]

Наиболее близким по технической сущности и достигаемому результату является способ разработки залежи высоковязкой нефти (патент РФ №2494242, МПК Е21В 43/243, опубл. бюл. №27 от 27.09.2013), включающий строительство горизонтальной и вертикальной скважин, закачку окислителя через вертикальную скважину и отбор продукции из горизонтальной скважины, при этом забой вертикальной скважины располагают в 28-32 м над горизонтальной скважиной и в 10-15 м от ее забоя в сторону устья, до закачки окислителя в горизонтальной и вертикальной скважинах устанавливают электронагреватели мощностью, достаточной для разогрева околоскважинного пространства до температуры 100-200°С, после чего начинают закачку окислителя в обе скважины для инициирования внутрипластового горения в залежи в призабойной зоне расположения обеих скважин, далее при превышении пластового давления в окрестности горизонтальной скважины величины уровня начального пластового давления более чем в 1,5 раза из горизонтальной скважины электронагреватель извлекается и в нее спускается насосное оборудование, с помощью которого осуществляют откачку продукции залежи, при снижении уровня жидкости в скважине до уровня от 100 до 90% уровня начального пластового давления отбор продукции прекращают, извлекают насосное оборудование, спускают электронагреватель, осуществляют закачку окислителя для инициирования внутрипластового горения, цикл отбора продукции и инициирования внутрипластового горения повторяют и прекращают при установлении гидродинамической связи между горизонтальной и вертикальной скважинами, после чего горизонтальная скважина эксплуатируется в режиме отбора продукции, причем электронагреватель, установленный в вертикальной скважине, отключают и извлекают из этой скважины после установления режима устойчивого высокотемпературного горения, после чего закачку окислителя продолжают.

[4]

Недостатками этого способа являются невозможность исследования месторождений для выделения участков с наличием газовых шапок, что приведет к неоптимальной закачке пара (теплоносителя) и, как следствие, к значительным энергетическим затратам и снижению прогрева и добычи высоковязкой нефти, так как при закачке пара в нагнетательную скважину будут происходить высокие теплопотери за счет утечки пара в газовую шапку; невозможность использования в пластах толщиной менее 30 метров. Также недостатком известного способа является неудовлетворительная эффективность (результативность) процесса извлечения нефти из нефтеносного пласта породы, сложность прогнозирования подземного распространения фронта горения из-за неопределенности границ и масштабов процесса, сложность контроля процесса горения и воздействия на процесс из-за неопределяемых объемов породы, одновременно в него (процесс) вовлеченных, затруднительность отбора нефти из-за непоследовательного (в хаотичной последовательности с неопределяемым и нерегулируемым местоположением) закоксовывания горизонтального участка ствола; невозможность регулирования и контроля температуры в горизонтальной скважине при повышении пластовой температуры в процессе внутрипластового горения приведет к выходу из строя глубинно-насосного оборудования.

[5]

Техническими задачами способа разработки залежей битуминозной нефти являются расширение функциональных возможностей за счет применения на залежах с наличием газовых шапок и снижение затрат на прогрев продуктивного пласта за счет исключения прорыва теплоносителя в газовые шапки, что в совокупности приводит к экономии энергетических ресурсов и увеличению коэффициента извлечения нефти (КИН), а также контроль распространения теплового воздействия по битуминозной залежи.

[6]

Технические задачи решаются способом разработки битуминозной нефти, включающим бурение горизонтальной добывающей скважины и расположенной над ней вертикальной нагнетательной скважины, закачку рабочего агента через нагнетательную скважину и отбор продукции пласта через добывающую скважину.

[7]

Новым является то, что до начала строительства производят исследования месторождения для выделения участков с наличием газовых шапок, при строительстве в скважинах располагают устройства контроля давления, при этом забой вертикальной скважины располагают на 5-10 м выше средней части горизонтальной скважины, горизонтальные и вертикальные скважины вскрывают ниже газовой шапки, а в качестве рабочего агента применяют водяной пар, который сначала нагнетают при давлении, не превышающем давление в газовой шапке, в обе скважины до создания проницаемой зоны между вскрытыми участками скважин, после чего горизонтальную скважину переводят под отбор продукции.

[8]

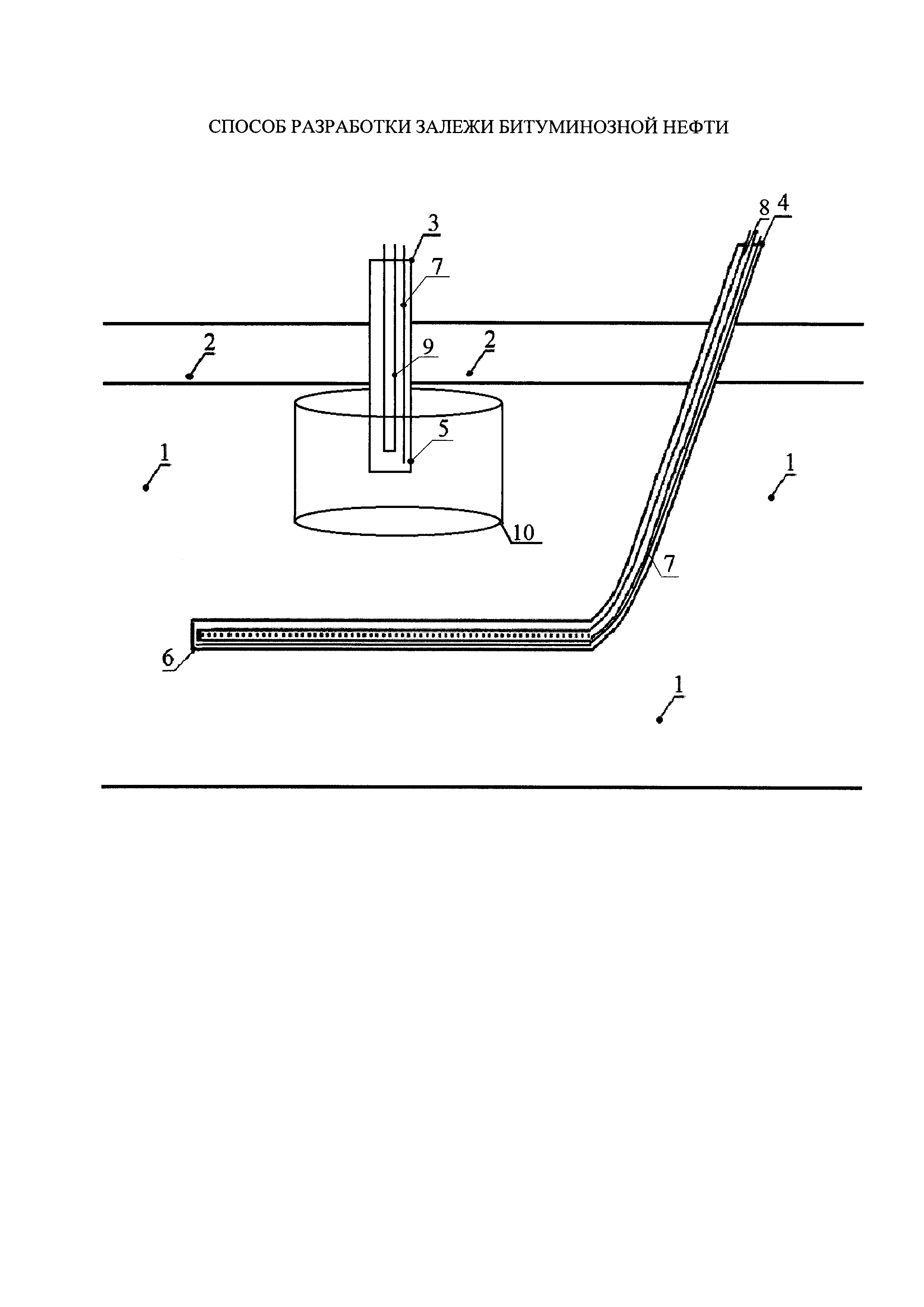
На чертеже изображена схема реализации способа разработки залежи битуминозной нефти.

[9]

Способ реализуется в следующей последовательности.

[10]

Исследуют залежь 1 для выделения участков с наличием газовых шапок 2 при помощи промыслово-геофизических методов, например импульсного нейтрон-нейтронного каротажа. На участке залежи 1 с наличием одной из газовых шапок 2 производят строительство расположенных друг над другом нагнетательной 3 и добывающей 4 скважин с соответствующими вскрытыми вертикальными 5 и горизонтальными 6 участками, расположенными в залежи 1 ниже газовой шапки 2. При строительстве в скважинах 3 и 4 располагают устройства 7 контроля давления и температуры. Забой вертикальной скважины 3 располагают над средней частью горизонтальной скважины 4 на 5-10 м выше. Закачку теплоносителя сначала производят через колонны труб 8 и 9 соответствующих добывающей 4 и нагнетательной 3 скважин с прогревом продуктивного пласта залежи 1 и созданием паровой камеры 10. Производят закачку в нагнетательную 3 и добывающую 4 скважины при давлении в призабойной зоне скважин 3 и 4, меньшем, например, на 10-15%, чем давление в газовой шапке 2, не допуская утечку закачиваемого пара через кровлю нефтеносного продуктивного пласта залежи 1 в газовую шапку 2. Создают гидродинамическую связь между вертикальным 5 и горизонтальным 6 участками скважин 3 и 4. После создания гидродинамической связи между скважинами 3 и 4 производят отбор продукции за счет парогравитационного дренажа через добывающую скважину 4 и контроль за состоянием паровой камеры 10 при помощи наблюдательных скважин (не показаны) и аэрофотосъемки, а также снятия термограммы в горизонтальном участке 6 добывающей скважины 4 с определением зон наименьшего прогрева (не показаны). При превышении температуры в добывающей скважине 4 выше допустимой температуры более 120°С для отбирающего глубинно-насосного оборудования (не показано), которую определяют устройством контроля 7 давления и температуры, приводящей к прорыву пара к забою добывающей скважины 4, закачку теплоносителя в нагнетательную скважину 3 снижают. В качестве теплоносителя используется перегретый пар или пар с инертным газом. Закачку пара производят при давлении в нагнетательной скважине 3, меньшем, чем давление в газовой шапке 2. Расположение забоя скважины 3 над центральной частью скважины 4 дает увеличение охвата прогревом продуктивного пласта залежи 1, так как расширение паровой камеры 10 от нагнетательной скважины 3 происходит примерно равномерно во все стороны. Паровая камера 10 распространяется равным радиусом от вертикальной нагнетательной 3 скважины, поэтому для увеличения нефтеотдачи наиболее эффективным способом является расположение ее над центральной – средней - частью горизонтальной добывающей скважины 4. За счет стекания разжиженной нагревом нефти вниз вокруг нагнетательной скважины 3 будет увеличиваться дебит высоковязкой нефти в горизонтальной добывающей скважине 4.

[11]

Пример конкретного выполнения

[12]

Предложенный способ разработки залежи углеводородных флюидов был рассмотрен на Улановском поднятии Ново-Елховского месторождения, исследования которой определили участок со следующими геолого-физическими характеристиками:

[13]

- глубина залегания - 148 м;

[14]

- средняя общая толщина пласта - 30 м;

[15]

- нефтенасыщенная толщина пласта - 18 м;

[16]

- значение начального пластового давления - 0,9 МПа;

[17]

- начальная пластовая температура - 8°С;

[18]

- плотность нефти в пластовых условиях - 1,01 т/м3;

[19]

- коэффициент динамической вязкости нефти в пластовых условиях - 480140,5 мПа⋅с;

[20]

- коэффициент динамической вязкости воды в пластовых условиях - 1,3 мПа⋅с;

[21]

- значение средней проницаемости по керну в пласте - 296 мкм2;

[22]

- значение средней пористости по керну в пласте - 0,16 д. ед.;

[23]

- средняя толщина газовой шапки на разрабатываемом участке - 7 м;

[24]

- давление в газовой шапке составляет - 0,9 МПа.

[25]

Исследуют залежь 1 для выделения участков с наличием газовых шапок 2. Газонасыщение в газовой шапке 2 составляло 73%. Расположили добывающую скважину 4 в нефтяной залежи 1. Над добывающей скважиной 4 на расстоянии 5 м расположили нагнетательную скважину 3 с соответствующими вертикальным 5 и горизонтальным 6 участками. Скважины 3 и 4 оборудовали устройством контроля температуры и давления 7. Вертикальный участок 5 скважины 3 вскрыли ниже газовой шапки 2 на 4 метра. После обустройства нагнетательной 3 и добывающей 4 скважин через колонну труб 9 нагнетательной скважины 3 производили закачку рабочего агента в объеме 5 тыс. т. В качестве теплоносителя использовался пар с температурой 191°С и сухостью 0,9 д. ед. Также производили закачку пара через колонну труб 8 в добывающую скважину 4 для создания гидродинамической связи между скважинами 3 и 4. После прогрева призабойной зоны вертикальной нагнетательной скважины 3 горизонтальная добывающая скважина 4 была переведена под добычу, а вертикальная нагнетательная скважина 3 - под постоянную закачку для создания и расширения паровой камеры 10.

[26]

При повышении температуры до 120°С в добывающей скважине 4 объем закачиваемого пара снижали на 20,5% во избежание прорыва пара к добывающей скважине и для поддержания паровой камеры, контролируя с помощью устройства 7 контроля давления и температуры. Тепло от пара снизило вязкость тяжелой нефти, что способствовало ее продвижению к горизонтальному стволу 6 добывающей скважины 4. Производили закачку из вертикальной части 5 нагнетательной скважины 3 при давлении в призабойной зоне нагнетательной скважины 3, меньшем на 12,7% (0,8 МПа), чем давление (0,9 МПа) в газовой шапке 2, не допуская утечку закачиваемого пара через кровлю нефтеносной залежи 1 в газовую шапку 2 залежи 1.

[27]

При исследовании выявлены преимущества способа перед наиболее близким аналогом: снижение неэффективной закачки пара в 3,8 раза, снижение процента обводненности добываемой продукции из пласта на 14%, уменьшение вероятности прорыва теплоносителя в добывающую скважину, увеличение накопленной добычи нефти более чем на 6,2%.

[28]

Предложенный способ позволяет решать поставленные технические задачи, такие как увеличение КИН на 0,10 д. ед., увеличение продолжительности эксплуатации месторождения, а также снижение затрат на прогрев пласта на 28%.

[29]

Пример осуществления предлагаемого изобретения показывает его эффективность для разработки разведанных, но неэксплуатируемых (из-за высокой стоимости извлечения вязкого флюида) месторождений углеводородного сырья для повышения рентабельности разрабатываемых месторождений высоковязкой нефти и природных битумов.

[30]

Предлагаемый способ разработки залежей битуминозной нефти позволяет расширить функциональные возможности за счет применения на залежах с наличием газовых шапок и снизить затраты на прогрев продуктивного пласта за счет исключения прорыва теплоносителя в газовые шапки, что в совокупности приводит к экономии энергетических ресурсов и увеличению КИН.

Как компенсировать расходы
на инновационную разработку
Похожие патенты