Изобретение относится к электротехнике и может быть использовано в радиосвязи в контурных системах мощных передатчиков. Технический результат состоит в сокращении времени перестройки передатчика с одной частоты на другую. Вариометр содержит витки первой и второй катушек, размещенных таким образом, что каркас первой катушки расположен внутри каркаса второй катушки. Катушки установлены с возможностью поворота первой катушки вокруг оси. Каркасы первой и второй катушек размещены на одной оси с возможностью встречного поворота влево или вправо. Ось вращения выполнена из изоляционного материала и закреплена одним концом в основании вариометра, а другим - к дополнительно введенной, огибающей каркас второй катушки балке, фиксирующей положение вариометра. Перед настройкой на частоту передатчика витки первой и второй катушек принимают исходное положение перпендикулярно друг другу. К одной балке П-образной формы прикреплены несколько вариометров, выполненных с возможностью одновременного перемещения поворотов катушек. 2 з.п. ф-лы, 2 ил.
1. Вариометр, содержащий витки первой и второй катушек, размещенных таким образом, что каркас первой катушки расположен внутри каркаса второй катушки, и установленных с возможностью перемещения поворота первой катушки вокруг оси, отличающийся тем, что каркасы первой и второй катушек размещены на одной оси с возможностью встречного поворота влево или вправо, при этом ось вращения выполнена из изоляционного материала и закреплена одним концом в основании вариометра, а другим к дополнительно введенной, огибающей каркас второй катушки, балке, фиксирующей положение вариометра, причем перед настройкой на частоту передатчика витки первой и второй катушек принимают исходное положение перпендикулярно друг другу. 2. Вариометр по п. 1, отличающийся тем, что к одной балке прикреплены несколько вариометров, выполненных с возможностью одновременного перемещения поворотов катушек. 3. Вариометр по п. 1, отличающийся тем, что балка выполнена П-образной формы.
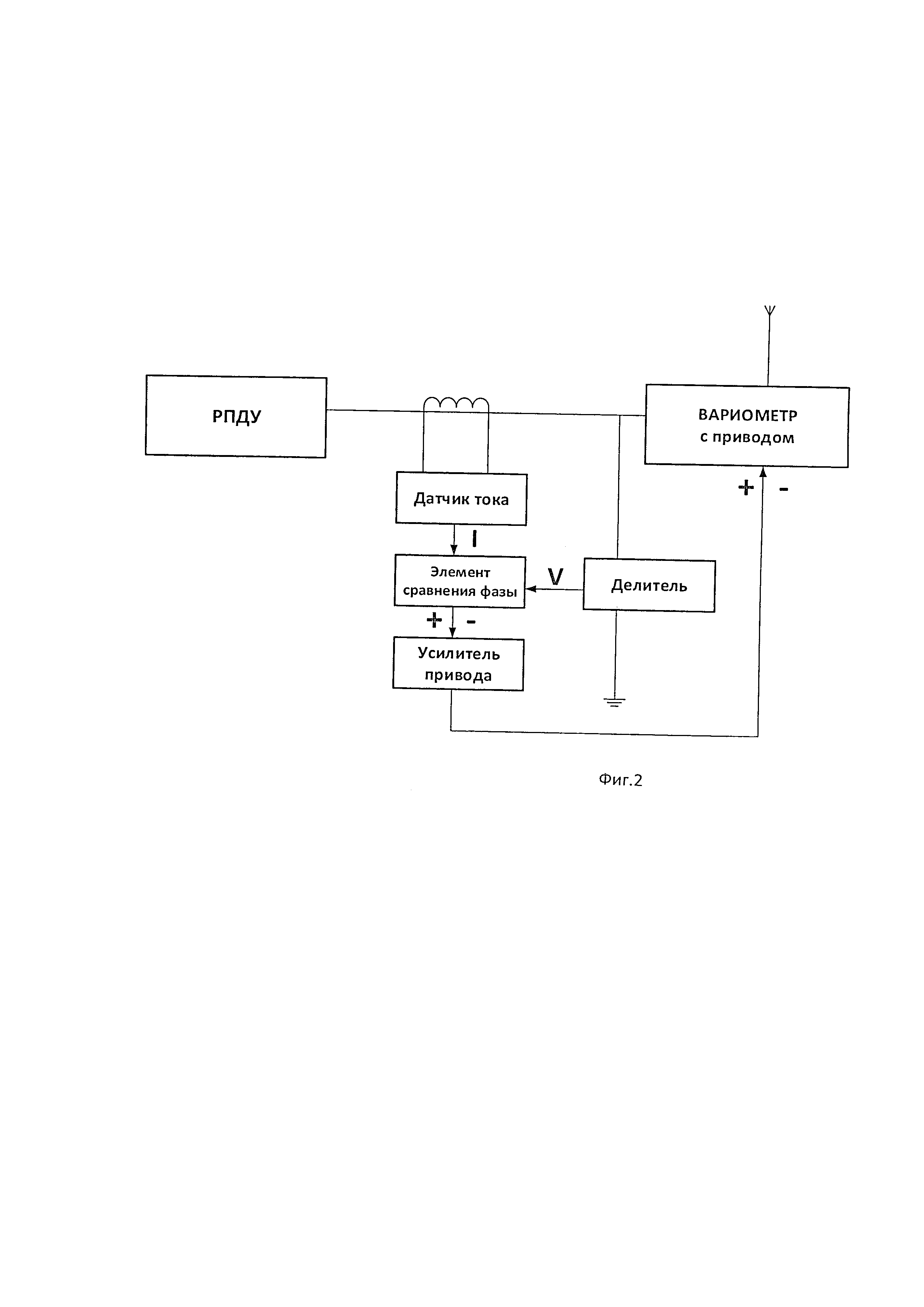
Изобретение относится к технике радиосвязи и может быть использовано в контурных системах мощных передатчиков. Известен вариометр, содержащий ротор и статор, каждый из которых выполнен с магнитными системами, на которых расположены обмотки из последовательно соединенных секций. Известный вариометр состоит из двух круглых дисков из магнитного материала с П-образным сечением. На этих дисках расположена восьмерочная намотка, которая создает в них магнитные потоки, направленные от одного полюсного выступа к другому. При расположении дисков, когда эти потоки направлены от одного выступа к другому. При расположении дисков, когда эти потоки совпадают, общая индуктивность минимальна [1]. Недостатком устройства является то, что обмотки ротора и статора не имеют магнитной экранировки и подвергаются наводкам, что приводит к низкой помехоустойчивости устройства. Наиболее близким к предлагаемому устройству является вариометр, содержащий ротор в виде катушки, размещенной на каркасе, и статор в виде катушки, размещенной на каркасе, ротор установлен внутри статора с возможность вращения внутри статора, причем ось вращения катушки ротора и ось вращения катушки статора взаимно перпендикулярны [2]. Недостатком устройства-прототипа является большое время перестройки с одной частоты на другую. Задача изобретения - сокращение времени перестройки передатчика с одной частоты на другую. Поставленная задача достигается тем, что вариометр, содержащий витки первой и второй катушек, размещенных таким образом, что каркас первой катушки расположен внутри каркаса второй катушки, и установленных с возможностью перемещения поворота первой катушки вокруг оси, согласно изобретению каркасы первой и второй катушек размещены на одной оси с возможностью встречного поворота влево или вправо, при этом ось вращения выполнена из изоляционного материала и закреплена одним концом в основании вариометра, а другим к дополнительно введенной, огибающей каркас второй катушки, балке, фиксирующей положение вариометра, причем перед настройкой на частоту передатчика витки первой и второй катушек принимают исходное положение перпендикулярно друг другу. Балка может быть выполнена любой формы, например П-образной. К одной балке могут быть прикреплены несколько вариометров, выполненных с возможностью одновременного перемещения поворотов катушек. На фиг. представлена предлагаемая конструкция вариометра, содержащая основание 1, каркас первой катушки 2, витки первой катушки 3, каркас второй катушки 4, витки второй катушки 5, ось 6, балка 7. Предлагаемое устройство работает следующим образом. Перед настройкой передатчика на частоту осуществляется коммутация элементов высокочастотного тракта передатчика в соответствии с таблицей настройки на заданную частоту, при этом витки первой 3 и второй 5 катушек вариометра, обеспечивающие согласование выхода передатчика с антенной, устанавливаются в среднее, исходное положение - перпендикулярно друг другу. В этом случае переменная индуктивность вариометра приобретает среднее значение. С подачей мощности в антенну с токового трансформатора («датчик тока») и делителя напряжения («делитель») поступают сигналы на вход фазоиндикатора («элемент сравнения фазы»), где происходит сравнение фаз тока и напряжения. В случае если фаз тока и фаза напряжения согласованы, разносный сигнал равен «0», то на фазоиндикаторе стрелка указывает на «0», а это значит, что передатчик настроен в резонанс с антенной. Если по фазам ток и напряжение не согласованы, образуется разность фаз, стрелка прибора фазоиндикатора антенны отклоняется вправо или влево от «0». В этом случае разностный сигнал со знаком «+» или «-» поступает на «усилитель привода» и далее усиленный сигнал с соответствующим знаком поступает на вход привода вариометра, поворачивая встречно вправо или влево каркасы первой и второй катушек, уменьшая или увеличивая индуктивность вариометра до согласования передатчика с антенной в резонанс. Как только антенна настроена в резонанс, разносный сигнал пропадает и стрелка фазоиндикатора устанавливается на «0» (см. блок-схему, фиг. 2). Отличительной особенностью предлагаемой заявки от прототипа является то, что для настройки передатчика в резонанс с помощью вариометра в рассматриваемом патенте необходимо подстраивать индуктивность вариометра в приделах минимальных и максимальных значений, поворачивая ротор в вариометре относительно статора до 180°, что занимает много времени, порядка 20÷25 секунд. В предлагаемой заявке, при начальном среднем положении двух катушек вариометра, настройка передатчика в резонанс с антенной осуществляется встречным поворотом этих катушек вправо или влево на угол, не превышающий 45°, при этом время настройки передатчика в резонанс с антенной сокращается в 4 раза и составляет не более 3÷5 секунд. Антенна занимает площадь порядка 600 гектар и представляет собой огромное мачтовое сооружение с антенным полотном, прикрепленным к мачтам высотой до 300 метров. Из-за погодных условий: дождь, снег, ветер и гололед, в том числе из-за сезонных изменений, антенна постоянно меняет свои электрические параметры. Поэтому приходится при перестройке с частоты на частоту постоянно подстраивать антенный контур передатчика. Наиболее быстро можно проводить с помощью предложенного вариометра плавную настройку. Источники информации 1. Волгов В.А. Детали и узлы радиоэлектронной аппаратуры. М.: «Энергия», 1967 г., с. 247, рис. 4-40. 2. А.с. №1675956, H01F 21/04, опубл. 07.09.2992 г., бюл. №33.